BeBa_25885 Top Fix Soft Close Toilet Seat
User Manual
Thank you for choosing Better Bathrooms. Please read this manual before installing your product and keep for future reference.
- Single-person assembly
- Tools required
- We always recommend using professional tradespeople to install your product
Congratulations on your purchase
And welcome to our growing gang of savvy shoppers
We’re on a mission to bring you extraordinary bathroom products, for less. From modern to traditional style ceramics, plus the gorgeous fixtures, fittings and furniture to match. So, you can fall in love with your space every single day.
As one of the UK’s largest independent bathroom stores, we’ve received countless awards; including the National Business Awards UK, the Digital Entrepreneur Awards and being placed on The Sunday Times Fast Track 100.
We hope your new product exceeds your highest expectations. However, if you experience any problems, please:
- call our friendly UK call centre on 0871 244 0935 (9am-7pm Monday to Friday, or 10am-4pm Saturday and Sunday), or
- send us a message via [email protected]
Important information
- Please read these instructions thoroughly and retain for future reference
- Manufactured to BS EN 1254 – Specification for WC seats (plastics)
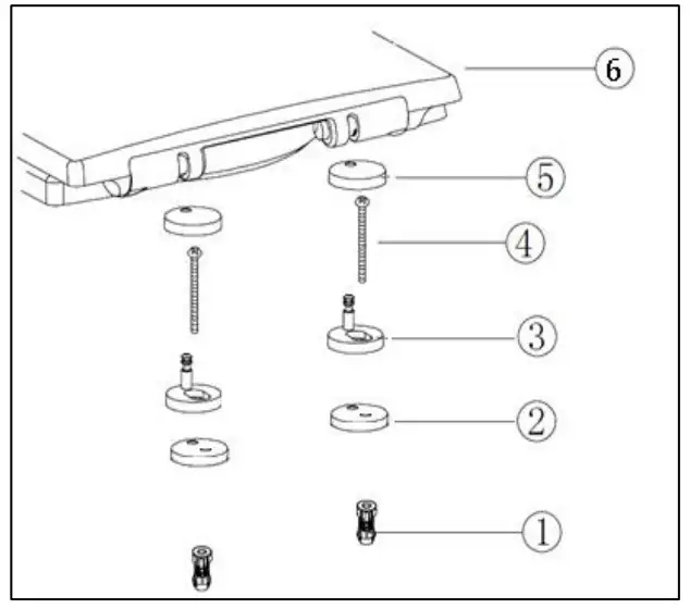
Parts

Please note that Parts are for illustrative purposes only and may differ slightly to the actual product
- Expanding Plug
- Gasket
- Fitting Peg
- Fixing Screw
- Fitting Cover
- Seat/Lid Assembly
Tools required
Screwdriver
Installation
- Push the expanding plugs (part 1) into the holes on the toilet pan then place the gaskets (part 2) between fitting pegs (part 3) and toilet pan. Next, place the long screws (part 4) through the fitting pegs and gaskets and screw into the expanding plug (part 1).
Please note: Fit the screws loosely and do not fully tighten at this stage - Turn the fittings on the toilet so that they align with the holes on the seat, then push the seat onto the pegs until it clicks into place. Gently move the seat so that it aligns on the toilet pan.

- Once the seat is aligned, tighten the screws into the fittings (as below) then once the seat is secured, remove it by pressing both buttons and lifting away.

- Place the fitting covers over the fixed fittings then push the seat onto the fitting pegs and click into position

Using
During use do not force the seat closed as this will damage the soft close mechanism.
Pull the seat and/or lid towards you slightly until it reaches the point at which it will fall under its own weight, then release.
Do not stand on the toilet seat.
Cleaning
To maintain the surface of your product, wipe with a clean damp cloth and wipe dry, do
not use any abrasive cleaning agents or materials.
It is recommended to wipe the seat and fittings on a regular basis.
Troubleshooting
Seat becomes loose after a period of use
Remove the seat and re-tighten the fittings.
Soft close mechanism stops working
The mechanism cannot be replaced, replace the seat and lid, however, the fittings can remain fitted. Removal of seat/lid is advised in Maintenance (below).
Seat is short or overhangs the toilet pan
Align the seat lid with the front edge of the toilet pan, the fittings are adjustable.
Maintenance
- To remove the seat/lid, press the two buttons at the rear of the seat and pull the seat/lid away from the fitting pegs. When replacing ensure it clicks into place.

- To access the fixing screws, remove the lid/seat as above, then pull off the covers.

For more information
- visit betterbathrooms.com
- email [email protected]
- call 0871 244 0935
- write to Trident Business Park, Neptune Way, Huddersfield, HD2 1UA
Part of the BuyltDirect Group
Please note: Fit the screws loosely and do not fully tighten at this stage


















