USER MANUAL
Thank you for choosing Better Bathrooms.
Please read this manual before installing your product and keep for future reference
BeBa_25878 Frame and chrome flush plate in one box
BeBa_26872 Frame Only – Flush plates sold in separate box
Separate flush plate codes:
BeBa_28669 Chrome Flush Plate
BeBa_28670 Matte Black Flush Plate
BeBa_28671 Brushed Brass Flush Plate 
Please note: Image is for illustrative purposes only and may differ slightly to the actual product
- Multi -person assembly
- Tools required
- We always recommend using professional tradespeople to install your product V3 27.10.22
Congratulations on your purchase
And welcome to our growing gang of savvy shoppers
We’re on a mission to bring you extraordinary bathroom products, for less. From modern to traditional style ceramics, plus the gorgeous fixtures, fittings and furniture to match. So, you can fall in love with your space every single day.
As one of the UK’s largest independent bathroom stores, we’ve received countless awards; including the National Business Awards UK, the Digital Entrepreneur Awards and being placed on The Sunday Times Fast Track 100.
We hope your new product exceeds your highest expectations. However, should any problems occur, please:
- log in to your account and contact our customer services team via your self-serve portal — betterbathrooms.com/CustomerAccount/Login contact us via betterbathrooms.com/content/contact-us
Important information - Please read these instructions thoroughly and retain for future reference.
- Weight limit of the frame is 400kg
- Always check for pipes and cables before drilling cees


Dimensions

Parts

| 1. 1/2″ male end inlet connection – Pre-fitted 2. Stop valve – Pre-fitted 3. Flush plate fitting box 4. Flush plate housing 5. Flex pipe – Pre-fitted 6. Inlet valve 7. Syphon | 8. Air tubes 9 . Flush pipe and bung 10. Pan connector assembly 11. Wall brackets and fixings 12. Frame 13. Toilet fixings 14. Adjustable foot | 15. Floor fixings 16. Flush pipe protector, use during installation 17. Pan connector protector, use during installation 18. Fixing bar sleeves, use during installation 19. Flush plate fixing bracket including screws 20. Flush plate fixing rods 21. Flush plate |
Tools required
- Screwdriver
- Spanner
- Pencil
- Drill
- Sprit Level
- 10mm Drill Bit
- Hacksaw
Installation
Please note: Whenever possible and when safe to do so, it is recommended to carry out leak tests during the installation process
Fitting Pan Connector
If using a straight connector through the wall, you can position as required.
Each option below will give you the minimum dimension from the wall to the front of the fixing foot.
Please note: The desired location should be checked before drilling, that no pipes or wires can be damaged
Option 1: Pan connector to be installed into the floor
Position the connector into the frame clip in the position shown below left, located in the rear recess, then close the clip.

Option 2: Pan connector to be installed to the side
Position the connector into the frame clip in the position shown below left, located in the front recess, then close the clip.

Below show the fixing width dimensions for the wall and floor screws, and the distance from the centre of the pan connector.

Adjusting Frame Height
Once the pan connector is in place, the height of the frame can be adjusted as required along with the depth of the frame from the wall.
- To do this loosen the nuts and bolts in the fixing brackets and adjust as required.
- Check the frame is level and then tighten the nuts and bolts.
- Once the frame is set to the required height and depth, mark the drill holes on the wall, and on the floor. Now you’re ready to secure the frame.

Securing the Frame
- Drill the holes using a 10mm drill bit; it is recommended to place tape over the drill mark if you are drilling into tiles to prevent any slippage.
- Once drilled, if fixing to a solid wall and floor, push the wall plug into the hole.
- Secure the wall bracket to the wall and then position the frame into the required location.
- Tighten the frame to the wall bracket and tighten the nut and bolt.
- Secure the foot into position using the screws provided.

Flush Plate Location & Fitting Protective Covers
Before building the wall, and tiling around the frame, the location of the flush plate needs to be decided then the protective covers need to be fitted to the flush plate housing, flush pipe and pan connector, and the fixing bars fixed into place.
- Fit the flush plate fixing bracket to the location where the flush plate will NOT be fitted, then fit the flush plate fitting box to the required location, using the screws provided (see below).

Please note: The location depends on the required location of the flush plate (see above instruction)
- Push on the flush pipe and pan connector covers.
- Screw the threaded bars into the frame, as below, ensuring these are in the correct hole to match the holes in the toilet, then push on the sleeves.

Water Connection
- Make the connection between the water supply and the cistern tank, using a suitable sealing method as shown below.
Please note: The cistern has its own built in stop valve - Once water is connected you’re ready to build the partition wall. Use the guidance below and construct as required then tile as required.

Installation once wall is constructed
- Once the wall is constructed and tiled to the required depth, cut the flush plate box to the finished wall surface.
- Insert the fixing rods into the holes within the frame flush box and twist to secure.

- Secure the flush plate bracket to the screw holes in the fitted rods.
- Pull out the pneumatic tubes from inside the tank for connection to the flush plate.

- Remove the pan connector and flush pipe protective covers.
- Push the straight pan connector, flush pipe and remaining parts into the holes in the frame.
- Mark a line at the finished wall surface.

- Remove from the frame and connect them to the flush hole and waste spigot on the rear of the toilet pan (Apply a small amount of washing up liquid to assist).
- Once fully connected, mark the measurements and cut as shown below.

- Prepare the flush pipe and pan connector ends removing any rough edges and create a small chamfer.

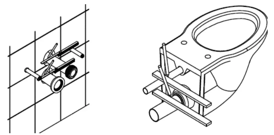
Connecting and Hanging the Toilet
- Push the pan connector into the frame then push the flush pipe into the toilet
- Remove the threaded bar sleeves.
- Unscrew the threaded bars, so they extend by dimension A depth of the toilet wall +25mm.
Please note: You will require two people for this section of the installation - Lift the toilet pan onto the threaded bars.
- Finally, check that the toilet is level, connect the fixings in the order shown below and tighten until the toilet pan is secured.

Connecting the Flush Plate
- Connect the pneumatic tubes to the rear of the flush plate, with the full flush button connected to the clear tube and the half flush connected to the blue tube.
- Attach the flush plate and click into position.
- Test the function by pressing the button.

Please note: Once installation is completed a full commissioning of the product should be carried out to check the installation is safe and stable, check for leaks and check function
Troubleshooting
Cistern tank not filling at all or to the required level
- Check the water supply has been turned back on and is reaching the cistern.
- Adjust the fill level on the cistern as required.
- The filter on the inlet valve could be blocked.
- If none of these resolve the issue replace the inlet valve.
Flush volume into the pan, not sufficient
- Adjust the flush volume level on the syphon.
- Check that the syphon is opening correctly.
- Check that the tubes are connected to the correct inlet on the flush plate.
- If none of these resolve the issue replace the syphon.
Water running into the pan continually after flushing
- Establish if the water level in the cistern is reaching the overflow on the syphon, if it does, adjust the inlet valve.
- If this continues, replace the inlet valve.
- If the water level does not reach the overflow on the syphon, remove the top section of the syphon and check the washer for damage.
- If damaged replace.
Maintenance
The maintenance measures below require you to gain access to the internals of the cistern tank, and for the water supply to be turned off.
- Once you have gained access, turn the adjustment screw in the required direction to adjust the tank fill volume.
- If you need to replace the inlet valve, disconnect the water supply pipe and remove the retaining nut, which holds the inlet valve to the tank and pull the inlet valve from the tank.
- To clear the filter, unscrew the filter section from the inlet valve as shown and run under warm water using a brush to clean away any blockage.

- It is recommended to remove the pneumatic tubes from the syphon to carry out maintenance.
- To do this, pull each tube from the inlet on the top of the syphon, do not allow these to drop back into the tank.
- To remove the syphon, you will only need to remove the top section, which requires you to twist and lift.
- To adjust the flush volume, move the slider as shown below.
- To remove the washer, turn the syphon upside down and the washer from the housing.

Part of the BuyltDirect Group
For more information
« visit betterbathrooms.com – call 0330 390 3062
« write to Trident Business Park, Neptune Way, Huddersfield, HD2 1TUA
Please note: The cistern has its own built in stop valve





















