
Cosmos HP
User Manual


1. Before You Begin
What Is Included
- Cosmos HP
- Power cable
- Hanging bracket
- Quick Reference Guide
Unpacking Instructions
Carefully unpack the product immediately and check the container to make sure all the parts are in the package and are in good condition.
Claims
If the box or the contents (the product and included accessories) appear damaged from shipping, or show signs of mishandling, notify the carrier immediately, not Chauvet. Failure to report damage to the carrier immediately may invalidate a claim. In addition, keep the box and contents for inspection.
For other issues, such as missing components or parts, damage not related to shipping, or concealed damage, file a claim with Chauvet within 7 days of delivery.
Text Conventions
Convention | Meaning |
1-512 | A range of values |
50/60 | A set of values of which only one can be chosen |
Settings | A menu option not to be modified |
<ENTER> | A key to be pressed on the product’s control panel |
ON | A value to be entered or selected |
Symbols
Symbol | Meaning |
| Critical installation, configuration, or operation information. Not following these instructions may make the product not work, cause damage to the product, or cause harm to the operator. | |
| Important installation or configuration information. The product may not function correctly if this information is not used. | |
| Useful information. |
Safety Notes
- ALWAYS:
♦ Connect to a grounded circuit.
♦ Connect to operating voltages as specified on the product’s spec sticker.
♦ Disconnect from power before replacing the fuse.
♦ Disconnect from its power source during periods of inactivity.
♦ Use a safety cable when suspending overhead.
♦ Heed all restrictions and warnings on the spec sticker.
♦ Mount in a location with at least 20 in (50 cm) of ventilation.
♦ Replace the fuse with the same type and rating.
♦ Use a clamp with a captive bolt when a single hanging bracket is used. - In the event of a serious operating problem, stop using immediately.
- DO NOT:
♦ Open this product or attempt any repairs. It contains no user-serviceable parts.
♦ Look at the light source when the product is on.
♦ Use if the power cord is crimped or damaged.
♦ Disconnect by pulling on the power cord.
♦ Allow flammable materials close to the product when it is operating.
♦ Touch the housing when it is on.
♦ Block any ventilation holes/slots in the housing.
♦ Connect to a dimmer or rheostat.
♦ Carry the product by its power cord.
♦ Operate in temperatures higher than 104°F (40°C).
♦ Expose to environments that exceed the Ingress Protection (IP) rating.
♦ Expose to rain or moisture.
♦ Use outdoors.
♦ Expose to corrosive environmental conditions such as temperature, humidity, salinity, pressure, radiation, or shock.
♦ Set this product on a flammable surface.
Disclaimer
Chauvet believes that the information contained in this manual is accurate in all respects. However, Chauvet assumes no responsibility and specifically disclaims any and all liability to any party for any loss, damage or disruption caused by any errors or omissions in this document, whether such errors or omissions result from negligence, accident or any other cause. Chauvet reserves the right to revise the content of this document without any obligation to notify any person or company of such revision, however, Chauvet has no obligation to make, and does not commit to make, any such revisions. Download the latest version from www.chauvetdj.com.
The works of authorship contained in this manual, including, but not limited to, all design, text and images are owned by Chauvet.
© Copyright 2023 Chauvet & Sons, LLC. All rights reserved.
Electronically published by Chauvet in the United States of America.
CHAUVET, the Chauvet logo, and Cosmos HP are registered trademarks or trademarks of Chauvet & Sons LLC (d/b/a Chauvet and Chauvet Lighting) in the United States and other countries. Other company and product names and logos referred to herein may be trademarks of their respective companies.
Keep this User Manual for future use. If the product is sold to someone else, be sure that they also receive this document.
2. Introduction
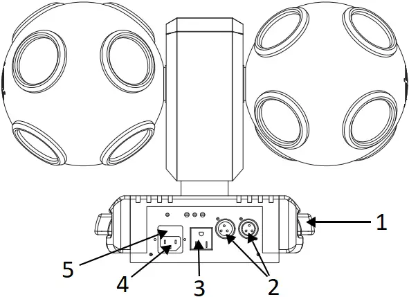
Product Overview

- Microphone
- IR sensor
- Display
- Menu buttons
- LED Indicators

- Carry handle
- DMX in/out
- Power out
- Power in
- Fuse holder
Product Dimensions


3. Setup
AC Power
The Cosmos HP has an auto-ranging power supply, and it can work with an input voltage range of 100 to 240 VAC, 50/60 Hz.
To determine the product’s power requirements (circuit breaker, power outlet, and wiring), use the current value listed on the label affixed to the product’s back panel, or refer to the product’s specifications chart. The listed current rating indicates the product’s average current draw under normal conditions.
![]()
- Always connect the product to a protected circuit (a circuit breaker or fuse). Make sure the product has an appropriate electrical ground to avoid the risk of electrocution or fire.
- To eliminate unnecessary wear and improve its lifespan, during periods of non-use completely disconnect the product from power via breaker or by unplugging it.
![]()
Never connect the product to a rheostat (variable resistor) or dimmer circuit, even if the rheostat or dimmer channel serves only as a 0 to 100% switch.
Fuse Replacement
- Disconnect the product from power.
- Using a Phillips-head screwdriver, unscrew the fuse holder and pull it straight out.
- Remove the blown fuse from the holder and replace with a fuse of the exact same type and rating.
- Re-insert the fuse holder and reconnect power.
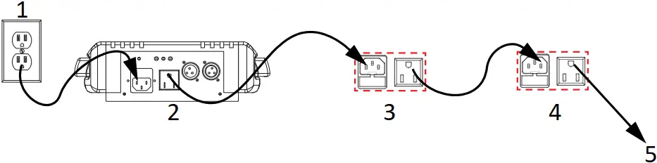
Power Linking
The product provides power linking via the outlet located in the back of the product. See the diagram below for further explanation.
Power Linking Diagram

- Power source
- 1st product
- 2nd product
- 3rd product
- Additional products
![]()
It is possible to link up to 50 Cosmos HP products on 120 VAC or up to 95 products on 230 VAC.
The power linking diagram shown above corresponds to the North American version of the product ONLY! If using the product in other markets, consult with the local Chauvet distributor as power-linking connectors and requirements may differ by country or region.
Mounting
Before mounting the product, read and follow the safety recommendations indicated in the Safety Notes.
Orientation
The Cosmos HP may be mounted in any position; however, make sure adequate ventilation is provided around the product.
Rigging
- Before deciding on a location, always make sure there is easy access to the product for maintenance and programming.
- Make sure adequate ventilation is provided around the product.
- Mount the product on a structure or surface that can support the product’s weight (see the Technical Specifications).
- Always use a safety cable when mounting the product overhead. Mount the product securely to a rigging point, such as an elevated platform or a truss.
- Use a mounting clamp of appropriate weight capacity when rigging the product onto a truss
- When power linking multiple products, mount the products close enough for power-linking cables to reach.
Mounting Diagram

- Mounting clamp
(such as CLP-15N from Chauvet) - Mounting bracket
- Safety cable
(such as CH-05 from Chauvet)
4. Operation
Control Panel Operation
To access the control panel functions, use the four buttons located underneath the display. Refer to the Product Overview to see the button locations on the control panel.
Button | Function |
<MENU> | Exits from the current menu or function |
<UP> | Navigates upwards through the menu list or increases a selected numeric value |
<DOWN> | Navigates downwards through the menu list or decreases a selected numeric value |
<ENTER> | Enables the currently displayed menu or sets a selected value into the selected function |
Refer to the Cosmos HP product page on www.chauvetdj.com for the latest menu map.
Mode | Programming Levels | Description | |
DMX Mode | 6Ch | A001-512 | 6-channel DMX mode |
23Ch | 23-channel DMX mode | ||
Programs | P– | P 1-6 | Automatic programs |
Auto Speed | S– | S001-100 | Program speed for P 1-6 |
Motor | Mot | M000-100 | Standalone motor speed |
Static Colors | C– | C001-015 | Static colors |
Sound Mode | Snd | bo | Sound-active program, blackout without sound |
SLoU | Sound-active program, slow down without sound | ||
Sensitivity | SEnS | u001-100 | Sets sound sensitivity |
Infrared Mode | SEt | on | Turns infrared on or off |
oFF | |||
Configuration (DMX)
Set the product in DMX mode to control with a DMX controller.
- Connect the product to a suitable power outlet.
- Connect a DMX cable from the DMX output of the DMX controller to the DMX input socket on the product.
DMX Personality and Starting Address
When selecting a starting DMX address, always consider the number of DMX channels the selected DMX mode uses. If the starting address is set too high, access to some of the product’s channels could be restricted.
The Cosmos HP uses up to 23 DMX channels in a 23Ch DMX mode, which defines the highest recommended address to 490.
For information about the DMX protocol, download the DMX Primer from www.chauvetdj.com.
To select the starting address, do the following:
- Press <MENU> repeatedly until 6Ch or 23Ch shows on the display.
- Press <ENTER> and A001-512 will show on the display.
- Use <UP> or <DOWN> to select the starting address.
- Press <ENTER>.
DMX Channel Assignments and Values
6Ch | 23Ch | Function | Value | Percent/Setting |
1 | 1 | Auto programs | 000 | No function |
006 | Auto program | |||
251 | Sound-active program | |||
2 | 2 | Program speed (when Ch1 is 006 | 001 | Automatic program speed, slow to fast |
| Sound Sensitivity (when Ch1 is 251 | 001 | Sound sensitivity, low to high | ||
– | 3 | Head 1, red 1 | 000 | 0-100% |
– | 4 | Head 1 green 1 | 000 | 0-100% |
– | 5 | Head 1 Blue 1 | 000 | 0-100% |
– | 6 | Head 1 White 1 | 000 | 0-100% |
– | 7 | Head 1 red 2 | 000 | 0-100% |
– | 8 | Head 1 green 2 | 000 | 0-100% |
– | 9 | Head 1 Blue 2 | 000 | 0-100% |
– | 10 | Head 1 White 2 | 000 | 0-100% |
– | 11 | Head 2 red 1 | 000 | 0-100% |
– | 12 | Head 2 green 1 | 000 | 0-100% |
– | 13 | Head 2 Blue 1 | 000 | 0-100% |
– | 14 | Head 2 White 1 | 000 | 0-100% |
– | 15 | Head 2 red 2 | 000 | 0-100% |
– | 16 | Head 2 green 2 | 000 | 0-100% |
– | 17 | Head 2 Blue 2 | 000 | 0-100% |
– | 18 | Head 2 White 2 | 000 | 0-100% |
3 | – | Color macros | 000 | No function |
016 | Red | |||
032 | Green | |||
048 | Blue | |||
064 | White | |||
080 | Green and yellow | |||
096 | Red and blue | |||
112 | Red and white | |||
128 | Green and blue | |||
144 | Green and white | |||
160 | Blue and white | |||
176 | Red, green, and blue | |||
192 | Red, green, and white | |||
208 | Red, blue, and white | |||
224 | Green, blue, and white | |||
240 | Red, green, blue and white | |||
4 | 19 | Strobe | 000 | No function |
006 | Strobe, slow to fast | |||
5 | 20 | Dimmer | 000 | 0-100% |
6 | – | All motors rotation | 000 | No function |
006 | Rotation, fast to slow | |||
128 | No function | |||
136 | Reverse rotation, slow to fast | |||
251 | Sound mode | |||
– | 21 | Center motor rotation | 000 | No function |
006 | Rotation, fast to slow | |||
128 | No function | |||
136 | Reverse rotation, slow to fast | |||
251 | Sound mode | |||
– | 22 | Head 1 rotation | 000 | No function |
006 | Rotation, fast to slow | |||
128 | Stop | |||
136 | Reverse rotation, slow to fast | |||
251 | Sound mode | |||
– | 23 | Head 2 rotation | 000 | No function |
006 | Rotation, fast to slow | |||
128 | No function | |||
136 | Reverse rotation, slow to fast | |||
251 | Sound mode |
Configuration (Standalone)
Set the product in the standalone mode to control without a DMX controller.
![]()
Never connect a product that is operating in any standalone mode to a DMX string connected to a DMX controller. Products in standalone mode may transmit DMX signals that could interfere with the DMX signals from the controller.
Automatic Program
To run a program on the Cosmos HP, follow the instructions below.
- Press <MENU> repeatedly until P– shows on the display.
- Press <ENTER>.
- Use <UP> or <DOWN> to select an automatic program, from P 1-6.
- Press <ENTER>.
Auto Program Speed
To adjust the auto program speed on the Cosmos HP, do the following:
- Press <MENU> repeatedly until S– shows on the display.
- Use <UP> or <DOWN> to increase or decrease the program speed, from S. 001-100.
- Press <ENTER>.
Motor Rotation Speed
To set the motor rotation speed for programs and static colors, follow the instructions below:
- Press <MENU> repeatedly until Mot shows on the display.
- Press <ENTER>.
- Use <UP> or <DOWN> to increase or decrease the rotation speed, from M000-100.
- Press <ENTER>.
Static Color Mode
To run the Cosmos HP on a static color, follow the instructions below.
- Press <MENU> repeatedly until C– shows on the display.
- Press <ENTER>.
- Use <UP> or <DOWN> to select a static color, from C001-015.
- Press <ENTER>.
Sound-Active Programs
To run the Cosmos HP with a sound-active program, follow the instructions below.
- Press <MENU> repeatedly until Snd shows on the display.
- Press <ENTER>.
- Press <ENTER> to select how the product will respond when no sound is detected, from bo (blackout), or SLoU (slow down).
- Press <ENTER>.
Sound Sensitivity
To set the sound sensitivity on the Cosmos HP, do the following:
- Press <MENU> repeatedly until SenS shows on the display.
- Use <UP> or <DOWN> to increase or decrease the sound sensitivity, from U.0-100.
- Press <ENTER>.
IRC-6 Infrared Remote Control
The Cosmos HP is compatible with the IRC-6 infrared remote control from Chauvet.
To enable or disable IRC-6 functionality, do the following:
- Press <MENU> repeatedly until SEt shows on the display.
- Press <ENTER> to select from on (enable), or oFF (disable).
- Press <MENU> repeatedly until P– shows on the display.
- Use <UP> or <DOWN> to select an automatic program, from P 1-6.
- Press <ENTER>.
Consult the table below to operate the Cosmos HP with the IRC-6.
IRC-6 | Button | Function |
![]() | <AUTO> | Press to activate automatic mode, then use <+> or <-> to change auto program |
<SOUND> | Press to activate sound-active mode, then use <+> or <-> to increase or decrease sensitivity | |
<STROBE> | Press to activate strobe, then use <+> or <-> to increase or decrease strobe speed | |
<SPEED> | Press to activate rotation speed, then use <+> or <-> to increase or decrease strobe speed | |
<%> | Press then use <+> or <-> to increase or decrease the dimmer | |
<+> | Press to increase speed, sensitivity, or the dimmer | |
<-> | Press to decrease speed, sensitivity, or the dimmer | |
<0> | Sets colors to white | |
<1> | Sets color to red | |
<2> | Sets color to red and green 1 | |
<3> | Sets color to red and green 2 | |
<4> | Sets color to green | |
<5> | Sets color to green and blue | |
<6> | Sets color to blue | |
<7> | Sets color to red and blue 1 | |
<8> | Sets color to red and blue 2 | |
<9> | Sets color to red and green 3 | |
<BLACK OUT> | Press to turn off all the lights until the button is pressed again. NOTE: The IRC-6 will not respond to any inputs when Black Out is activated. If the product does not respond when a button is pressed, try pressing <BLACK OUT>. Black Out may have been activated. |
Master/Slave Mode
The Master/Slave mode allows a single Cosmos HP product (the “master”) to control the actions of one or more Cosmos HP products (the “slaves”) without the need of a DMX controller. The master product will be set to operate in either standalone mode or with the IRC-6, while the slave products will be set to operate in slave mode. Once set and connected, the slave products will operate in unison with the master product. Configure the products as indicated below.
Slave products:
- Press <MENU> repeatedly until 6Ch shows on the display.
- Press <ENTER>.
- Use <UP> or <DOWN> to set the starting address to A001.
- Press <ENTER>.
- Connect the DMX input of the first slave product to the DMX output of the master product.
- Connect the DMX input of the subsequent slave products to the DMX output of the previous slave product.
- Finish setting and connecting all the slave products.
Master product:
- Set the master product to operate in standalone mode or with the IRC-6.
- Make the master product the first product in the DMX daisy chain.
![]()
- Configure all the slave products before connecting the master to the daisy chain.
- Never connect a DMX controller to a DMX string configured for Master/Slave operation because the controller may interfere with the signals from the master.
- Do not connect more than 31 slaves to the master.
5. Maintenance
Product Maintenance
Dust build-up can cause overheating and mechanical wear. To maintain optimum performance and minimize wear, clean all products at least twice a month. However, be aware that usage and environmental conditions could be contributing factors to increase the cleaning frequency.
To clean the product, follow the instructions below:
- Unplug the product from power.
- Wait until the product is at room temperature.
- Use a vacuum (or dry compressed air) and a soft brush to remove dust collected on the external surface/vents.
- Clean all transparent surfaces with a mild soap solution, ammonia-free glass cleaner, or isopropyl alcohol.
- Apply the solution directly to a soft, lint-free cotton cloth or a lens-cleaning tissue.
- Softly drag any dirt or grime to the outside of the transparent surface.
- Gently polish the transparent surfaces until they are free of haze and lint.
Always dry the transparent surfaces carefully after cleaning them.
6. Technical Specifications
Dimensions and Weight
Length | Width | Height | Weight |
| 8 in (203 mm) | 21.5 in (546 mm) | 11.5 in (292 mm) | 13.7 lb (6.21 kg) |
Note: Dimensions in inches are rounded.
Power
Power Supply Type | Range | Voltage Selection |
| Switching (internal) | 100 to 240 VAC, 50/60 Hz | Auto-ranging |
Parameter | 120 V, 60 Hz | 230 V, 50 Hz |
| Consumption Operating current Power-linking current (products) Fuse | 149 W 2.2 A 8 A (50 products) F3 A, 250 V | 141 W |
Power I/O | U.S./Worldwide | UK/Europe |
| Power input connector Power output connector Power cord plug | powerCON® compatible powerCON® compatible Neutrik | powerCON® compatible |
Light Source
Type | Color | Quantity | Power | Current | Lifespan |
| LED | Quad-color RGBW | 16 | 4W | 1 A | 50,000 hours |
Photometrics
Strobe Rate | Coverage Angle |
| 0 to 20 Hz | 360° |
Thermal
Maximum External Temperature | Cooling System |
| 104 °F (40 °C) | Convection |
DMX
I/O Connector | Channel Range |
| 3-pin XLR | 6 or 23 |
Ordering
Product Name | Item Code | UPC Number |
| Cosmos HP | 07052058 | 781462224066 |

Contact Us
| General Information | Technical Support |
| Chauvet World Headquarters | |
Address: 3360 Davie Rd. | Voice: (844) 393-7575 Website: www.chauvetdj.com |
| Chauvet U.K. | |
Address: Pod 1 EVO Park | Email: [email protected] Website: www.chauvetdj.eu |
| Chauvet Benelux | |
Address: Stokstraat 18 | Email: [email protected] Website: www.chauvetdj.eu |
| Chauvet France | |
Address: 3, Rue Ampère | Email: [email protected] Website: www.chauvetdj.eu |
| Chauvet Germany | |
Address: Bruno-Bürgel-Str. 11 | Email: [email protected] Website: www.chauvetdj.eu |
| Chauvet Mexico | |
Address: Av. de las Partidas 34 – 3B | Email: [email protected] Website: www.chauvetdj.mx |
Warranty & Returns
For warranty terms and conditions and return information, please visit our website.
For customers in the United States and Mexico: www.chauvetlighting.com/warranty-registration.
For customers in the United Kingdom, Republic of Ireland, Belgium, the Netherlands, Luxembourg, France, and Germany: www.chauvetlighting.eu/warranty-registration.
Cosmos HP User Manual Rev. 4




















