Instruction Manual
COUNTERBALANCE MONITOR ARM
With RGB Lighting

Read the entire instruction manual before you start installation and assembly. If you have any questions regarding any of the instructions or warnings, please contact your local distributor for assistance.
CAUTION: Use with products heavier than the rated weights indicated may result in instability causing possible injury.
- Please closely follow the assembly instructions. Improper installation may result in damage or serious personal injury.
- Safety gear and proper tools must be used. This product should only be installed by professionals.
- Make sure that the supporting surface will safely support the combined weight of the equipment and all attached hardware and components.
- Use the mounting screws provided and DO NOT OVERTIGHTEN mounting screws.
- This product contains small items that could be a choking hazard if swallowed. Keep these items away from children.
- This product is intended for indoor use only. Using this product outdoors could lead to product failure and personal injury.
IMPORTANT: Ensure that you have received all parts according to the component checklist prior to installation. If any parts are missing or faulty, contact your place of purchase for a replacement.
MAINTENANCE: Check that the product is secure and safe to use at regular intervals (at least every three months).
![]() | ![]() |
![]() | ![]() |

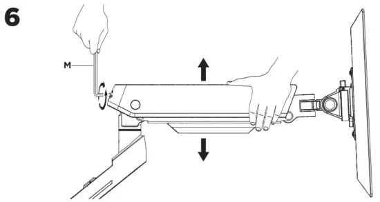
To properly balance the arm with monitors mounted, adjust the spring tension using the supplied Allen Key as follows:
First, position and firmly hold the arm horizontally as shown. Ask for assistance should you require it. 
CAUTION: To avoid damage to monitors or mounts, always keep the arm in a horizontal position while making adjustments. Again, ask for assistance if required.
If the arm drops, turn the adjustment screw clockwise until it stays in a horizontal position.
If the arm rises, turn the adjustment screw counter-clockwise until it stays in a horizontal position.
CAUTION:
DO NOT over-tighten the screws.
8
9.
Note: If the display does not stop at your desired position, tighten the screws as shown.
Note: If the display does not stop at your desired position, tighten the screws as shown.
- The remote control is provided for lighting control.
- Stick the remote control to the magnet pad on the monitor arm when not in use.
Note: Finish step 0 before connecting USB to your appliances.
Note: Remove the plastic battery insert prior to using the remote.
- On/Off
- Effect Speed +/-
- Effect Mode +/-
- Short Press 1 Time: automatic effect show
Short Press 5 Times: 7 single-color light show - Brightness +/-
- Lock/Unlock The Remote
Long press 5 seconds remote control one to one match, again press 5 seconds to cancel the match. - Set
At automatic playback mode, press the “Set” button once, then the “Lock” button to capture the current effect loop play. - Steady Single Colors
Remote Control: QB-LDT54-RF-433
Battery: 2xAAA 3V
Operating Frequency: 433.92MHz![]()
This device complies with Part 15 of the FCC Rules. Operation is subject to the following two conditions:
- This device may not cause harmful interference.
- This device must accept any interference received, including interference that may cause undesired operation.
Note: The grantee is not responsible for any changes or modifications not expressly approved by the party responsible for compliance. Such modifications could void the user’s authority to operate the equipment.
Note: This equipment has been tested and found to comply with the limits for a Class B digital device, pursuant to part 15 of the FCC Rules. These limits are designed to provide reasonable protection against harmful interference in a residential installation.
This equipment generates uses and can radiate radio frequency energy and, if not installed and used in accordance with the instructions, may cause harmful interference to radio communications. However, there is no guarantee that interference will not occur in a particular installation. If this equipment does cause harmful interference to radio or television reception, which can be determined by turning the equipment off and on, the user is encouraged to try to correct the interference by one or more of the following measures:
- Reorient or relocate the receiving antenna.
- Increase the separation between the equipment and receiver.
- Connect the equipment into an outlet on a circuit different from that to which the receiver is connected.
- Consult the dealer or an experienced radio/TV technician for help.























