mti Tayla 410 Mineral Composite Tubs Freestanding Soaker and Airbath Systems User Manual
Installer: This booklet must be given to the product owner.
Please include important information below:
| Distributor Name |
| Model Number |
| Manufacturer’s Date |
| Serial / Registration Number |
Thank you for purchasing an MTI Baths product.
The instructions in this booklet will provide you with the information needed to install and maintain this unit. The ease of cleaning and the elegant look will provide you with many years of pleasure. This information is also available on mtibaths.com.
Our customer service department is available to answer any additional questions you may have pertaining to installation and care of your MTI product. Please call 800-783-8827 to speak to our Service Department or email [email protected].
Important Safety Instructions
This manual contains information and instructions for proper operation and maintenance of the MTI bathtub. Failure to follow these instructions could result in personal injury, electrical shock or fire.
INSTRUCTIONS PERTAINING TO RISK OF FIRE, ELECTRIC SHOCK, OR INJURY TO PERSONS.
WARNING: When using electrical products, basic precuations should be followed including the following:
- Do not permit children to use this unit unless they are closely supervised by an adult at all times. Supervision is also required when bath is used by an elderly or handicapped individual.
- Never leave a full or filling bath unattended.
- Use this unit only for its intended use as described in this manual. Do not use attachments not recommended by the manufacturer. Never drop or insert any object into any opening.
- The water in a bath should never exceed 40˚ C (104˚ F). Water temperatures between 38˚ C (100˚ F) and 40˚ C (104˚ F) are considered safe for a healthy adult. Use time should be limited to approximately 10 minutes, followed by a shower to cool down. Longer exposures may result in hyperthermia, which can be fatal. The symptoms of this condition are nausea, dizziness and fainting. Lower water temperatures are recommended for extended use (exceeding 10 – 15 minutes) and for young children.
- Since excessive water temperatures have a high potential for causing fetal damage during the early months of pregnancy, pregnant or possibly pregnant women should limit water temperatures to 38˚ C (100˚ F).
- The use of drugs or alcoholic beverages before or during bathing may lead to unconsciousness with the possibility of drowning. Never use the bath while under the influence of alcohol, anticoagulants, stimulants, antihistamines, vasoconstrictors, vasodilators, hypnotics, narcotics or tranquilizers.
- Persons using medication should consult a physician before using a bath since medication may induce drowsiness while other medications may affect heart rate, blood pressure and circulation.
CAUTION: Do not use harsh abrasives or solvents for cleaning this unit.
DANGER: To reduce the risk of injury, enter and exit the bath slowly.
WARNING: Never operate electrically connected devices in or within 5′ of the bath. Never drop or insert any object into any opening within the bath.
DANGER: Risk of electric shock. Connect only to circuits protected by a Ground Fault Circuit Interrupter (GFCI). Such a device should be installed by a licensed electrician and should be tested on a regular basis (at least monthly). To test the GFCI push the TEST button. The GFCl should interrupt the power. Push the RESET button and the power should be restored. If the GFCI fails to operate in this manner there is the possibility of an electric shock. DO NOT USE. Disconnect the unit and have the problem corrected by a qualified service technician. To avoid the possibility of personal injury and discoloration of the surface material, the inlet water temperature should not exceed 60˚ C (140˚ F).
DANGER: Disconnect power before servicing.
INSTALLER/OWNER BEARS ALL RESPONSIBILITY TO COMPLY WITH ALL STATE AND LOCAL CODES WHEN INSTALLING THIS PRODUCT.
SAVE THESE INSTRUCTIONS
Installation Instructions
Read all instructions before installing tub. MTI recommends using a professional installer for this product. Installer/product owner is responsible for complying with all state and local codes. Handle this tub with extreme caution. Dropping this product, even from several inches, may cause cracking and permanent damage. Rubber gripped gloves may make it easier to handle the mineral composite bath
WARNING: Certain cleaning products will permanently damage the mineral composite surface. Read product label carefully before using any cleaning product. Never use anything abrasive, aerosol sprays or any product that is described as “scrubbing bubbles.” Please see ‘Care & Cleaning Instructions.
Before Installing
- Inspect tub thoroughly.
- Damage from shipping or delivery must be reported to carrier immediately. Do not install damaged tub. MTI is not responsible for damage occuring during transit.
- Factory defect must be reported to factory before tub is installed. Defects or damage claimed after installation will be excluded from warranty.
- Measure tub on site carefully. Specifications are subject to change without notice. MTI is not responsible for any preparatory labor or materials.
Please note: Blemishes, air holes or casting marks on the underside of the bath are not considered defects and do not affect the performance or quality of the bath.
Always protect the tub from construction damage by using a protective cover. Damage, including chips and scratches incurred at the jobsite are excluded from warranty, but may be repaired by a qualified technician at the owner’s expense. Do not stand in the tub or store materials in the tub during construction. Tubs are intended for indoor use. Tubs are warrantied for indoor installation in a climate controlled environment only.
Never leave a full or filling bath unattended.
Warranty Cards & CERTIFICATION Labels

IMPORTANT: Locate and note the serial number on the cover of this manual for any future service needs.
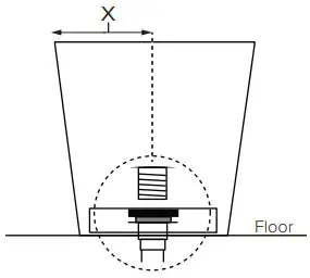
Drain Rough-In Dimensions for Freestanding Tubs with Integral Overflow
MTI mineral composite freestanding tubs may be installed with the overflow postiioned in the rear or the front of the tub, however, rough-in dimensions provided below are from center of drain to the top outside edge as shown on the product specification sheet. See product specs for line drawing of each tub model.
| Model No. | Measurement X |
| 400 | 16″ |
| 401 | 15½” |
| 402 | 8¼” |
| 403 | 15½” |
| 404 | 16″ |
| 405 | 9″ |
| 406 | 8″ |
| Model No. | Measurement X |
| 407 | 16⅓” |
| 408 | 16″ |
| 409 | 19¾” |
| 550 | 15½” |
| 552 | 8¾” |
| 553 | 12″ |
The toe tap drain kit for these tub models includes a straight PVC fitting for weld adhesive connection to the drain pipe directly underneath the tub drain. A 6” brass tailpiece is available, sold separately. When installing to brass, use the provided brass nut in lieu of the PVC fitting to secure the assembly to the threaded drain body.¹

Distance from the bottom of the drain to the finished floor will vary with each tub model. Adjust leveling feet to ensure tub is level. Before trimming rough-in pipe, measure the distance from the bottom of the tub to finished floor. Weight of the tub should not rest on the drain; damage may result.¹
¹ MTI does not warrant leaks or damages associated with improper drain installation and will not be responsible for any costs related to improper installation. If you need assistance, please call the MTI Service Department at 800.783.8827.
Installation Instructions – Tubs with Integral Overflow
The integral overflow tubs by MTI Baths require only the waste to be installed. The P-trap will be located directly below the drain (see tub specification sheet). The tub comes equipped with a toe tap drain and PVC drain fitting.
MTI Recommends using clear 100% silicone sealant. Do Not use plumber’s putty.
With Access From Ceiling Below
- Install drain on tub using clear silicone under waste flange and both sides of the rubber gasket. Use a small amount of clear silicone on the threads of the PVC drain fitting to act as a thread sealant. Tighten until it seats, plus one half turn.
Do not overtighten and do not exceed 7 ft-lbs maximum. Product damage will occur. - Adhere tub to a level, finished floor using ½-inch bead of clear silicone1. Align tub drain with box-out in floor.2
- Finish drain installation from below. Use PVC cement to connect PVC drain fitting to P-trap.
- Allow time for silicone to cure and water test for leaks. Refer to product label for details.
Without Access From Below
- Stub out drain and P-trap with 1 1/2 schedule 40 PVC pipe at least 1” above finished floor. Because the height will vary slightly from tub to tub, box out around the pipe to allow trimming this pipe below grade upon installing the MTI supplied fitting. The fitting is approximately 3” in diameter.
- Determine gap between underside of tub (at drain) and the floor. Shorten 1 1/2 inch pipe to allow for the PVC fitting and gasket above the finished floor. Glue fitting to pipe with PVC cement; remember to allow for the thickness of the rubber gasket. Make sure that the top of the flange is level.
- Secure rubber gasket to top of fitting with clear silicone. Apply bead of silicone on top of gasket. Use silicone on the threads of PVC drain fitting to act as a thread sealant.
- Adhere tub to a level, finished floor using ½-inch bead of clear silicone1. Align tub drain with rough-in.2
- Place a small bead of silicone under waste flange; thread into PVC drain fitting. Tighten until it seats, plus 1-quarter turn.
Do not overtighten and do not exceed 7 ft-lbs maximum. Product damage will occur. - Allow time for silicone to cure and water test for leaks. Refer to product label for details.

Tub must be level in order to drain properly. Do not adhere tub to a floor that is not level. Some models come equipped with leveling feet to adjust for a finished floor that is not level. Fill any gaps with color-matched caulk.
MTI does not warrant leaks or damages associated with improper drain installation and will not be responsible for any costs related to improper installation. If you need assistance, please call the MTI Service Department at 800.783.8827.
Installation Instructions – Airbath
To maintain optimal perfomance and easy operation, the following conditions must be met.
Electrical installation instructions
See Important Safety Information on pg. 4 of this manual and Electrical Specifications below. This circuit must be connected to a supply that is protected by a ground fault circuit interrupter (GFCI). Such a GFCI should be provided by the installer and accessible for testing on a routine basis.
Testing The GFCI:
Push the TEST button. The GFCI should interrupt power.
Push the RESET button. Power should be restored
WARNING: If the GFCI fails to operate in this manner, there is a ground current flowing, indicating the possibility of electric shock.
DO NOT use this unit. Disconnect the unit and have the problem corrected by a qualified service representative before using.
Every MTI air blower is supplied with a 29” grounded cord and NEMA plug to be plugged into a grounded receptacle*. Do not remove this plug. If a wall mount switch is desired to control use of the unit, the switch should control the receptacle. Under no circumstance should you alter the provided supply cord.
Before servicing unit, shut off all electrical outlets as more than one outlet may be energized.
*Air blowers do not require a bonding conductor.
Electrical Specifications
Air Blower…………………………………………………………………9.5 AMP
System components supplied with MTI tubs intended for installation within the U.S. & Cananda are limited to 110V. Check the order details when installing outside of these territories.
Airbath Installation Instructions
Read all installation instructions before beginning install.
The blower and check valve must be remotely located within 8’ of the tub (Fig. 1, pg. 10). A common location is a closet or cabinet.
The check valve must be 2” above the height of the top of the tub rim and can be mounted to the framing or wall with pipe hanger, pipe clamp, metal straps or wire ties. MTI Cosmopolitan Collection airbaths come with a remote control and optional keypad.
Blower Installation
- Installation location of the blower must be properly ventilated to keep it from overheating and climate controlled to avoid the impact of cold ambient air on the performance of the blower and guard against humidity that can be corrosive to the electronics.
- 14” x 16” access must be provided for future servicing.
- The blower requires approximately 2ft3 of space and 1” x 4” vent for proper circulation. Do not use insulation within 8” of the blower, and never wrap insulation around the blower as this will cause the equipment to fail.
- Secure blower using wood screws through the mounting feet.
- Within 2 ft. of the blower, there must be a GFCI electrical outlt on a 110 VAC that is the recommended size for the air system. The GFCI outlet must be accessible for future servicing.
Note: MTI does not recommend locating the blower more than 8’ from the tub to prevent heat loss from the blower to the tub. 1” schedule 40 PVC pipe and pipe insulation may be used to help retain the warmth of air from the blower.
Check Valve And Airline Installation
- The remote check valve MUST be mounted at least 2″ above the top rim of the tub. Use 1″ PVC flexible pipe or rigid schedule 40 to connect the remote check valve to the manifold (factory installed underneath the tub) or to the gray air hose at the manifold. Connect the check valve to the blower using the gray hose. Make sure ring clamps are secure on both end of the gray hose(s).
- NOTE: Depending on remote check valve location and site conditions, the air hose that is attached to the manifold can remain within the pedestal or run under the floor to connect to the roughed in airline in the floor, or exit the tub through the side of the pedestal base for an above-the-floor airline installation. When running gray hose under the floor, use a heat resistant adhesive to secure connection from hose to pipe and use care not to crush or restrict the airflow in the line in any way.
IMPORTANT: Side exit from the pedesal would require onsite drilling through the pedestal and should only be considered when there is no subfloor access to run the airline. MTI does not recommend an above-the-floor airline, unless the tub and outlet in pedestal are very close the wall or the airline can be concealed with nearby or surrounding cabinetry. Onsite modification to the pedestal is performed at the risk of the installer. MTI does not pre-drill the pedestal base for side exit (Photo A).
Water Sensor, Remote Control & Keypad Installation
- The water sensor wire, factory installed to posts under the tub on either side of the tub drain (Photo B), will connect to a port on the side of the blower (Fig. 2, pg. 10). Do not attempt to remove the sensor wires from the tub. To extend this wire, splice in 18 gauge, low voltage wire. Be sure to save the two pin connector to allow connection to the blower.
- Use the 12″ ethernet cable to connect the radio frequency (RF) receiver module to the blower (Fig. 2, pg. 10). The keypad comes synchronized to the blower from the factory. Synchronization instructions are provided with the remote control.
- The keypad is optonal and can be mounted convenient to the bather or in an inconspicuous location to use as a secondary option for system control. Use the 6’ ethernet cable to connect keypad to secondary jack on radio receiver module (Fig. 2, pg. 10).
Test
- Plug the blower into the outlet and test for operation. After the airbath is turned off and water drains from the tub, the LED light on the keypad will flash continuously, indicating the purge cycle is activated.
- NOTE: All air baths are equipped with an automatic drying cycle. Approximately 7 minutes after the bath is drained, the blower will turn on for 1-2 minutes. This drying cycle cannot be cancelled. Any attempt to cancel this cycle resets the countdown timer. When the purge cycle is complete, the LED light will cease flashing.

Remote Installation Of Air Blower
The following illustration is referenced in the instructions on pg. 8.

Remote Installation Of Air System Components

IMPORTANT! Never under any circumstances modify the power cords.
Operation Instructions
Airbath


Airbath Remote Control
AIRBATH
1st Press: The blower starts. LED indicator light on.
2nd Press: The blower stops. LED indicator light off.
NOTE: Blower automatically stops after 20 minutes.
THERAPY CONTROL
Use arrow buttons to gradually adjust airbath intensity.
AIR MASSAGE MODE
1st Press (Wave): Speed varies gradually from maximum to minimum. LED indicator light is on.
2nd Press (Pulse): Speed alternates quickly between minimum and maximum. LED indicator light will flash.
3rd Press (Max): Returns to maximum speed. LED indicator light off.
Automatic Purge / Drying Cycle
MTI airbaths are equipped with an automatic drying cycle designed to purge residual water from air jets installed on the floor of the bath.
Drying cycle is programmed to come on 7 minutes after the airbath is turned off and any time water is introduced, then drained from the tub. Water sensors on either side of the tub drain prevent activation of the drying cycle, until water is drained from bath. The sensors will activate the purge/drying cycle upon bathing or cleaning the bathtub.
- The purge cycle starts approximately 7 minutes after the bath is drained and runs for 1 minute.
- To delay the automatic purge for another 7 minutes, once it begins, press
. Press again to completely cancel the automatic purge.
MTI does not recommend canceling the purge regularly, as the drying cycle is designed to help maintain optimal performance of the airbath.
Alternate 24-hour purge cycle programming overrides default settings, allowing the purge cycle to run once every 24 hours at the time the cycle is first programmed.
To program 24-hour purge cycle:
- Hold
on the keypad for 5 seconds. The indicator light next to the airbath button
flashes once when programmed successfully. - Press and hold
again for 5 seconds to restore the default setting. The indicator light flashes twice when default setting is restored.
Manual Stop
Press airbath button
during the 1-minute drying cycle, to stop the cycle. Purge/Drying cycle will restart 24 hours later at the programmed time.
In the event of a power disruption or brown out, the purge/drying cycle will return to default setting. Manually reprogram as needed.
Care and Cleaning Instructions
About the Mineral Composite Shell
Mineral composite has a stain-resistant, non-porous surface. With normal use, this surface will retain its appearance with a minimal amount of care.
When Cleaning
- Remove dust and dry dirt with a soft, damp cloth.
- Apply common household, non-abrasive cleaner in accordance with manufacturer’s directions and precautions. (i.e., a mild dishwashing detergent such as Ivory Liquid). Do not use unless the product label specifically states that it is safe for acrylic or plastic.
- Rinse well and dry with a soft, clean cloth. Scouring pads will deteriorate the finish.
- Never use any type of “scrubbing bubbles” or aerosol spray cleaners on the mineral composite product.
- Never use bleach, ammonia or organic solvents, such as lacquer, alcohol, acids or alkalis to come into contact with the product surface.
- Never use abrasive cleansers. If any product feels gritty when rubbed between your fingers, do not use on the mineral composite surface or system controls as permanent damage will occur.
WARNING: Check cleaning and bathing product labels. Do not use unless the product label specifically states that it is safe for acrylic or plastic. Some non-abrasive products damage the surface over time.
General Care
- Do not allow the mineral composite surface to come into contact with nail polish, nail polish remover, Wintergreen oil, dry cleaning solution, lacquer thinners, gasoline, pine oil, etc.
- Avoid using razor blades or other sharp objects that might scratch the surface.
- MTI strongly recommends a professional surface repair person for deep scratches, chips or gouges.
- Damage occurring to the unit during installation is the responsibility of the installer, and after installation, the responsibility of the user.
![]()


![]()
![]()
![]()
![]()
![]()
![]()


















