seasons SP07H2-20 Heat Pump

IMPORTANT NOTE:
Before using your air conditioner, please read this manual carefully and keep it for future reference.
Exclusively Distributed By:
HD Supply Facilities Maintenance, Ltd. Atlanta, GA 30339
© 2022
Made in China
To Reorder:
1-800-431-3000 hdsupplysolutions.com
Read This Manual
Inside you will find many helpful hints on how to use and maintain your air conditioner properly. Just a little preventive care on your part can save you a great deal of time and money over the life of your air conditioner. You’ll find many answers to common problems in the chart of troubleshooting tips. If you review our chart of Troubleshooting Tips first, you may not need to call for service at all.
CAUTION
- This appliance can be used by children aged from 8 years and above and persons with reduced physical, sensory or mental capabilities or lack of experience and knowledge if they have been given supervision or instruction concerning use of the appliance in a safe way and understand the hazards involved. Children shall not play the appliance. Cleaning and user maintenance shall not be made by children without supervision. ( be applicable for the European Countries )
- This appliance is not intended for use by persons (including children) with reduced physical , sensory or mental capabilities or lack of experience and knowledge, unless they have been given supervision or instruction concerning use of the appliance by a person responsible for their safety. (be applicable for other countries except the European Countries )
- Children should be supervised to ensure that they do not play with the appliance.
- If the supply cord is damaged, it must be replaced by the manufacturer, its service agent or similarly qualified persons in order to avoid a hazard.
- The appliance shall be installed in accordance with national wiring regulations.
- Do not operate your air conditioner in a wet room such as a bathroom or laundry room.
- The appliance with electric heater shall have at l east 1 meter space t o t he combustible materials.
- Contact the authorised service technician for repair or maintenance of this unit.
- Contact the authorised installer for installation of this unit.
When there are wide differences between USER S MANUAL and Remote controller Illustration on function description,the description on USERS MANUAL shall prevail. - If the air conditioner is knocked over during use, turn off the unit and unplug it from the main power supply immediately. Visually inspect the unit to ensure there is no damage. If you suspect the unit has been damaged, contact a technician or customer service for assistance. In a thunderstorm, the power must be cut off to avoid damage to the machine due to lightning. To reduce the risk of fire or electric shock, do not use this fan with any solid-state speed control device.
- Do not run cord under carpeting. Do not cover cord with throw rugs, runners, or similar coverings. Do not route cord under furniture or appliances. Arrange cord away from traffic area and where it will not be tripped over.
SAFETY PRECAUTIONS
To prevent injury to the user or other people and property damage, the following instructions must be followed. Incorrect operation due to ignoring of instructions may cause harm or damage. The seriousness is classified by the following indications.
WARNING
This symbol indicates the possibility of death or serious injury.
CAUTION
This symbol indicates the possibility of injury or damage to property.
Meanings of symbols used in this manual are as shown below.
- Never do this.
- Always do this.
WARNING
- Plug in power plug properly.
- Otherwise, it may cause electric shock or fire due to excess heat generation.
- Do not operate or stop the unit by inserting or pulling out the power plug.
- It may cause electric shock or fire due to heat generation.
- Do not damage or use an unspecified power cord.
- It may cause electric shock or fire.If the power cord is damaged, it must be replaced by the manufacturer or an authorised service centre or a similarly qualified person in order to avoid a hazard.
- Do not modify power cord length or share the outlet with other appliances.
- It may cause electric shock or fire due to heat generation.
- Do not operate with wet hands or in damp environment.
- It may cause electric shock.
- Do not direct airflow at room occupants only.
- This could damage your health.
- Always ensure effective earthing.
- Incorrect earthing may cause electric shock.
- Do not allow water to run into electric parts.
- It may cause failure of machine or electric shock.
- Always install circuit breaker and a dedicated power circuit.
- Incorrect installation may cause fire and electric shock.
- Unplug the unit if strange sounds, smell, or smoke comes from it.
- It may cause fire and electric shock.
- Do not use the socket if it is loose or damaged.
- Do not open the unit during operation.
- It may cause electric shock.
- Keep firearms away.
- It may cause fire.
- Do not use the power cord close to heating appliances.
- It may cause fire and electric shock.
- Do not use the power cord near flammable gas or combustibles, such as gasoline, benzene, thinner, etc.
- It may cause an explosion or fire.
- Ventilate room before operating air conditioner if there is a gas leakage from another appliance.
- It may cause explosion, fire and, burns.
- Do not disassemble or modify unit.
- It may cause failure and electric shock.
CAUTION
- When the unit is to be cleaned, switch off, and turn off the circuit breaker.
- Do not clean unit when power is on as it may cause fire and electric shock, it may cause an injury.
- Do not put a pet or house plant where it will be exposed to direct air flow.
- This could injure the pet or plant.
- Do not use for special purposes.
- Do not use this air conditioner to preserve precision devices, food, pets, plants, and art objects.It may cause deterioration of quality, etc.
- Stop operation and close the window in storm or hurricane.
- Operation with windows opened may cause wetting of indoor and soaking of household furniture.
- Hold the plug by the head of the power plug when taking it out.
- It may cause electric shock and damage.
- Turn off the main power switch when not using the unit for a long time.
- It may cause failure of product or fire.
CAUTION
- Do not place obstacles around air-inlets or inside of air-outlet.
- It may cause failure of appliance or accident.
- Ensure that the installation bracket of the outdoor appliance is not damaged due to prolonged exposure.
- If bracket is damaged, there is concern of damage due to falling of unit.
- Always insert the filters securely. Clean filter once every two weeks.
- Operation without filters may cause failure.
- Do not use strong detergent such as wax or thinner but use a soft cloth.
- Appearance may be deteriorated due to change of product color or scratching of its surface.
- Do not place heavy object on the power cord and ensure that the cord is not compressed.
- There is danger of fire or electric shock.
- Do not drink water drained from air conditioner.
- It contains contaminants and could make you sick.
- Use caution when unpacking and installing. Sharp edges could cause injury.
- If water enters the unit, turn the unit off at the power outlet and switch off the circuit breaker. Isolate supply by taking the power-plug out and contact a qualified service technician.
- Clean the evaporator once every three months by professional people.
- Otherwise it may cause failure of electric heating feature.
IMPORTANT SAFETY INSTRUCTIONS
NOTE The power supply cord with this air conditioner contains a current detection device designed to reduce the risk of fire.
Please refer to , the section Op, eration of Current Device for details.
In the event that the power supply cord is damaged, it cannot be repaired-it must be replaced with a cord from the Product Manufacturer.
WARNING For your safety
- Do not store or use gasoline or other flammable vapors and liquids in the vicinity of this or any other appliance.
- Avoid fire hazard or electric shock.
- Do not use an extension cord or an adaptor plug.
- Do not remove any prong from the power cord.
WARNING Electrical Information
- Be sure the electrical service is adequate for the model you have chosen. This information can be found on the serial plate, which is located on the side of the cabinet and behind the grille.
- Be sure the air conditioner is properly grounded. To minimize shock and fire hazards, proper grounding is important. The power cord is equipped with a three-prong grounding plug for protection against shock hazards.
- Your air conditioner must be used in a properly grounded wall receptacle. If the wall receptacle you intend to use is not adequately grounded or protected by a time delay fuse or circuit breaker, have a qualified electrician install the proper receptacle.
- Ensure the receptacle is accessible after the unit installation. Do not run air conditioner without side protective cover in place. This could result in mechanical damage within the air conditioner.
- The appliance shall be installed in accordance with national wiringregulations.
- Do not use an extension cord or an adapter plug.
NOTE:
The shape may be different according to its model:
Operation of Current Device(optional)
The power supply cord contains a current device that senses damage to the power cord. To test your power supply cord do the following:

- Plug in the Air Conditioner.
- The power supply cord will have TWO buttons on the plug head. Press the TEST button, you will notice a click as the RESET button pops out.
- Press the RESET button, again you will notice a click as the button engages.
- The power supply cord is now supplying electricity to the unit.
(On some products this it also indicated by a light on the plug head.)
NOTES:
- Do not use this device to turn the unit on or off.
- Always make sure the RESET button is pushed in for correct operation.
- The power supply must be replaced if it fails reset when either the TEST button is pushed, or it cannot be reset. A new one can be obtained from the product manufacturer.
- If power supply cord is damaged, it cannot be repaired. It MUST be replaced by one obtained from the product manufacturer.
- When 265V units are to be installed, the power supply must be permanent wiring. Permanent wiring may be done through the accessory subbase. An exposed cord connection on 265V units are not permitted.
AIR CONDITIONER FEATURES
This unit has many featrues. The servicer must be familiar with these features in order to properly service the unit.
- Compressor Restart Delay
This feature extends the overall life of compre-ssor by preventing the short-cycling of the air conditioner.When the compressor restarts,the unit is designed to give a minimum of three minutes to have a time of equalizing the refrig-erant pressures for optimizing cycling. - Memory
The unit has memory .If power is lost,all of the control settings(mode,fan speed,on/off and configuration) are remembered.So when power is restored,the unit will start back up in the mode (and configuration) it was in,when power was lost.
Automatic Evaporator Freeze Protection Automatically to keep the evaporator from freezing,the compressor is tuuned off and the indoor fan is turned on when the evaporator temperature is too lower.If the evaporator temperature is not too lower this function is off. - Automatic Quick Warm-up (for heat pump models only)
If the room temperature falls to 4.5 C/8OOF below the set point temperature,the reverse cycle heat is shut off and the electric strip heat is turned on for one cycle,until heating is satisfied. - LED Indicators and Buttons
The touch pad has buttons for MODE,FAN, POWER,SETPOINT UP and SETPOINT DOWN. It also has LEDs that correspond to the mode, fan speed,power and setpoint operation,to indicate the unit s status.LEDs for HIGH,MED and LOW indicate the, fan speed that is selected. LEDs for FAN,COOL and HEAT indicate what operating mode is active.LED for POWER is the unit ON/OFF status LED.If the unit is in ON mode, the LED will be green.If the unit is OFF,the LED will be off. - High Temperature Protection In Heating Operation
The compressor and(or) electric heater will be switched off to prevent damage in high indoor blow air temperature or error indoor temperature sensor. - Unit Configuration
F or OOC The unit can display in either F or OOC.
CONTROL PANEL OPERATION
The control panel keypad will look like the following Fig.1. For some models with REMOTE SIGNAL RECEPTOR, the unit can be controlled by the control panel alone or by the remote. NOTE: Some models have no REMOTE SIGNAL RECEPTOR.
Fig.1
POWER
- Press the POWER button to turn the unit on or off.
MODE
- Push this button to cycle through the modes from COOL-HEAT-FAN-COOL. The indicator light beside the “MODE” option will illuminate, identifying the mode selected.
- COOL:. Cooling begins automatically when the room temperature is above the set point, and stops when the room temperature is 2 C(4OOF) below the set point. But the compressor will run 5 minutes at least in COOL mode before stoping.
- HEAT: The maximum temperature can be set up to 29 C/84OOF. For heat pump models, the unit can alternate to run between in reverse cycle heat mode and electric heater mode according to the difference between the setting temperature and the room temperature.
The fan motor cycles with the compressor stop.
NOTE:
The reverse cycle and electric heater cannot be run at the same time. In following cases, it is normal that the reverse cycle does not operate.
- When the outdoor temperatrue is lower than 4 C/40OOF or the room temperature falls to 4.5 C/8OOF below the set point temperature.
- There is a 3-minute minimum compressor run time at any setting to prevent short cycling. The indoor fan motors starts before the compressor and stops after the compressor cycles off.
- Push the S1 on the DIP SWITCHES to UP (ON) position.
- When frost builds up to the evaporator coils ,the unit will defrost automatically and the compressor will cycle off.
FAN: Fan operation only without heating and cooling. Note: If the unit has DIP SWITCHES feature,the temperature range can be setted is controlled by DIP SWITCHES. See DIP SWITCHES CONFI-GURATIONS on page 8 for details.
- UP/DOWN BUTTONS (
- Push the UP (or DOWN) button to increase (or decrease) the set temperature of the unit in cooling or heating mode.The temperature can be set by increments of 1 C (1OOF).The setting temperature appears in the display.
- FAN (FAN SPEED)
- Every time you push this button,the fan speed cycles through the settings as follows:HIGH-MED- LOW-HIGH.
- CONSTANT FAN
- In cooling mode, press the button to turn on or off the constant fan function. When the function is turned on, the constant fan light will illuminate, identifying the fan continuous run for cooling. When the function is turned off, the constant fan light will go out, identifying the fan cycle run with compressor stop.
NOTE: Every time the unit is turned on, the function will work as the DIP SWITCHES CONFIGURATIONS DISPLAYS: - Shows the set temperature in C or OOF. While on Fan only mode,it shows the room temperature. Control code (on some models):
LC-Pads on the control panel is not available. The unit can be settled by using wire controller only. FC-Pads on the control panel and wire controller are not available. The unit can be settled by
using FRONT DESK CONTROL only.
Error codes:
AS-Room temperature sensor error;
ES-Evaporator temperature sensor error;
CS-Condenser temperature sensor error;
OS-Outside temperature sensor error;
HS-Exhaust temperature sensor error;
LE-Wire cotroller error;
NOTE: When error occurs,unplug the unit and plug it back in.If error repeats, call for service. Other codes:
LO-Room temperature is lower than 0 C/32OOF; HI-Room temperature is higher than 37 C/99OOF; FP-Low temp. Protection.
NOTE:
All the illustrations in this manual are for explanation purpose only. Your air conditioner may be slightly different. The actual shape shall prevail.
NOTE: This air conditioner is designed to be operated under condition as follows:
Note: Performance may be reduced outside of these operating temperatures.
Accessory

NOTE:When the unit displays LC (Pads on the control panel is not available.The unit can be setted by using wire cotroller only.) You can install the Accessory on the control panel.
NOTE: For some models, there is corresponding operation happened after 3 seconds when pressing any button.
NOTE: When there are wide differences between
| Cooling operation | Outdoor temp: | 18-43OC/64-109OF (18-52OC/64-125OF for special tropical models) |
| Indoor temp: | O O 17-32 C/62-90 F | |
| Heating operation | Outdoor temp: | O O -5-24 C/23-76 F |
| Indoor temp: | O O 0-27 C/32-80 F |
USERS MANUAL and Remote controller Illustration on function description, the description on USERS MANUL shall prevail.
DIP SWITCHES CONFIGURATIONS (Optional)
REMOVING THE FRONT PANEL

- Dip switches controls are located behind front panel, through an opening below the control panel. To access,remove front panel.See Fig.2.
- Dip switches are accessible without opening the control box.See Fig.3.
- Unit must be powered OFF to effectively change their status.
DIP SWITCHES CONFIGURATIONS

- See Table 1 and Fig.4 for Dip Switches configurations and functions of each dip switch position.
- Pull out at the bottom to release it from the tabs
- Then lift up

Table 1 DIP SWITCHES CONFIGURATIONS
| No . | UP(ON) | DOWN(OFF) | Remarks |
| S1 | Electric Heat Only | Electric Heat and Pump Heat | For Heat Pump unit only |
| S2 | Temperature Display in OF | Temperature Display in OC | |
| S3 | Wall Thermostat Enable | Control Panel Enable | |
| S4*S5 | UP*UP:61OF~86OF(16OC~30O C); UP*DOWN:65OF~78OF(18OC~26O C); DOWN*UP:63OF~80OF(17OC~27O C); DOWN*DOWN:68OF~75OF(20OC~24O C); | Two configurations (S4*S5) combine to select set point range. | |
| S6 | Fan Continuous Run for Heating Fan Cycle for Heating | ||
| S7 | Fan Continuous Run for Cooling | Fan Cycle for Cooling | |
| S8 | Low temp. Protection enable | Low temp. Protection disable | Optional |
| S9 (S3 UP) | Use some types of wall Thermostat | Use PTAC other Wall Thermostat | you can consult with the sales agency or manufacturer for details |
| S9 (S3 DOWN) | Use Control Panel only | Use Control Panel or some types of wall Thermostat | Use control Panel or some types of wall Thermostat, the other one must be turned off |
| Sw11 | Load delay for 3 seconds | Normal | Optional |
NOTE: On heating mode, the setting temperature can not be higher than 29 C/84 F.
- Wall Thermostat Enable
- A wired wall thermostat can be connected to the unit .If it is,this dip switch must be moved to the Wall Thermostat Enable Position,before the wall thermostat will begin control.
- Low temp. Protecton(optional)
If unit senses a room temperature below 32 F turn on and warm the room to 40 F(4.4 C). The fan stops a short time after the temperature is satisfied. - Electric Heat Only (for heat pump unit only)
- This setting is typically used for Emergency Heating. Heat and Cool Fan CON/CYC Dip-switches
- Allows the fan to operate in continuous or cycle modes while the unit is in heating and cooling mode. CON(Continuous)
- Allows fan to run continuously,circulating air even when the temperature setting has been satisfied.This switch helps to maintain the room temperature closer to the thermostat setting.
CYC(Cycle)
- This setting allows the fan to cycle on and off with the compressor or electric heater.The fan stops a short time after the temperature setting is satisfied.
Setpoint Temperature Limits
- Provides a restricted range of temperature control.
DIP SWITCHES CONFIGURATIONS by PANEL CONTROL (Optional)

- DIP SWITCHES CONFIGURATIONS by PANEL CONTROL
- Turn off the unit.
- Press the up ( ) and down ( ) buttons together for 3 seconds to activate the dip switches configurations by panel control (see Fig.4).
- See Table 1 for Dip Switches configurations and functions by panel control.
NOTE: Press the up ( ) and down ( ) buttons together for 3 seconds again or no operation within 30 seconds to exit the dip switches configurations by panel control and the unit will save the last settings. - Display function settings with 2 digitals in LED display window, high (left) for dip switches,
low (right) for functions (see Fig.4). - Press up ( ) button to set the dip swithces, press down ( ) button to set the functons.
Table 1 DIP SWITCHES CONFIGURATIONS by PANEL CONTROL
| No . | High(left) | Low(right) | Remarks | |
| / | 0 | 1-by panel control | 0-by dip switches | |
| S1 | 1 | 1-electric heat only | 0-electric heat and pump heat | For Heat Pump unit only |
| S2 | 2 | 1-tmperature display in OF | 0-temperature display in OC | |
| S3*S9 | 3 | 3- use control panel or some types of wall thermostat; 2-use some types of wall thermostat; 1-use PTAC other wall thermostat; 0-control panel enable. | You can consult with the sales agency or manufacturer for details | |
| S4*S5 | 4 | 4-62OF~86OF(17OC~30OC); 3-61OF~86OF(16OC~30OC); 2-65OF~78OF(18OC~26OC); 1-63OF~80OF(17OC~27OC); 0-68OF~75OF(20OC~24OC); | ||
| S6 | 6 | 1-fan continuous run for heating | 0-fan cycle for heating | Not available for use PTAC other wall thermostat . |
| S7 | 7 | 1-fan continuous run for cooling | 0-fan cycle for cooling | |
| S8 | 8 | 1-low temp. protection enable | 0-low temp. protection disable | Optional |
| SW7 | A | 1-front desk control disable | 0-front desk control enable | Optional |
| Sw11 | B | 1-Load delay for 3 seconds | 0-normal | Optional |
NOTE:
- The LED display window will show 00 when you first enter the setting mode, only when you set 01 you can start the next settings.
- To activate front dest control function, you need to pull the dip switch SW7 to DOWN(OFF) , and then set the panel control to A0 .
- After all set, press up (+ ) and down (- ) buttons together for 3 seconds to exit the operation interface and cut off the power. When re-power on, the settings are activated.
WALL THERMOST AT TERMINAL (Optional)
IMPORTANT: Only trained, qualified personnel should access electrical panel on unit and install electrical accessories. Please contact your local electrical contractor, dealer, or distributor for assistance.
Thermostat Wire Routing
Thermostat wire is field supplied. Recommended wire gauge is 18 to 20 gauge solid thermostat wire. NOTE: It is recommended that extra wires are run to unit in case any are damaged during installation. Thermostat wire should always be routed around
or under, NEVER through, the wall sleeve. The wire should then be routed behind the front panel to the easily accessible terminal connector.

THERMOSTAT WIRE ROUTING
(UNDER SLEEVE, BEHIND FRONT PANEL)
Fig. A – Proper Wire Routing Beneath Unit
NOTE: Refer to thermostat installation instructions for details on installing wall thermostat.
Installation instruction of some types of wall Thermostat (you can Consult with the sales agency or manufacturer for details)
- Pull the dip switch to the DOWN(OFF) position as shown below.
- Insert the wire connector of the wall thermostat into the relevant terminal according to different shapes as shown below.

Installation instruction of PTAC other Wall Thermostat
- Remove the two screws as shown below and take the cover panel down.
Terminal of PTAC other Wall Thermostat(MODE A)
| TERMINAL | DESIGNATION |
| FC(L) | Front desk control terminal L |
| FC(N) | Front desk control terminal N |
| LOW-FAN | Low fan speed |
| HI-FAN | High fan speed |
| 4-WAY | 4-way valve; Reverse cycle (Energized in Heat) For heat pump models |
| HEAT2 | Electrical heater 2 |
| HEAT1 | Electrical heater 1 |
| COMP | Compressor |
| 24V(N) | 24VAC terminal N(Neutral),Common |
| 24V(L) | 24VAC terminal L |
WALL THERMOSTA T TERMINAL (Optional)
Terminal of PTAC other Wall Thermostat(MODE B)
CAUTION
UNIT DAMAGE HAZARD
- Failure to follow this caution may result in equipment damage or improper operation.
Improper wiring may damage unit electronics.Common busing is not permitted. Damage or erratic operation may result.
NOTE:
- Use terminal 4-way for heat pump connection only.
- Suggest set the compressor protection time morn than 3 minutes in wall thermostat. If set less than 3 minutes, the compressor will restart delay 3 minutes still.
- Wall thermostat must be heating changeover
4-way valve. - For thermostats that have only one fan speed output (on or auto),the fan speed is determined by how the terminal connector is wired. If Low fan is desired, wire the G output from the thermostat to (LOW-FAN) on the units terminal block. If High fan is desired, wire the G output from the themostat to (HI-FAN) on the units terminal block.
- The range of set tempreture of Wall thermostat must be in consonance with the range of DIP switch setting.
- Wall thermostat must be set the type properly in consonance with the unit type : heat pump or no heat pump.
- If the Wall thermostat has only one electrical heater output, connect the two terminals of HEAT 1 and HEAT 2, the unit can operate two electrical heaters(only for the unit has two electrical heaters). Otherwise operate one electrical heater.
- Please do not remove the control panel.
FRONT DESK CONTROL
The controller can handle a switch signal from FC(L) and FC(N) input, called front desk control. Input must be 24VAC. If system doesn’t receive a 24VAC signal, it will turn unit off; otherwise, the unit runs in normal control.
- – The DIP switch can control the FRONT DESK CONTROL feature. The DIP switch is on the DOWN position, the unit will be turn off; otherwise,the unit runs in normal control. See FigB.

INSTALLATION
HOW TO INSTALL THE UNIT
CAUTION
- There are sharp edges that can cause serious cuts.
- When lifting the air conditioner,it is HEAVY.Use 2 people to lift.
- For existing sleeve,you should measure the wall sleeve dimensions.
- Install the new air conditioner according to these installation instructions to achieve the best performance. All wall sleeves used to mount the new air conditioner must be in good structural condition and have a rear grille that securely attaches to the sleeve or the flange of the sleeve to secure the new air conditioner.
- To avoid vibration and noise,make sure the unit is installed securely and firmly.
- When installing the sleeve,make certain there is nothing within 20 of the back that would interfere with heat radiation and exhaust air flow. (See Fig.5)

Fig.5
PREPARATION OF SLEEVE ASSEMBLY(optional)
- Refer to the installation instruction of sleeve assembly for details.
PREPARATION OF REAR GRILLE ASSEMBLY (optional)
- Refer to the installation instruction of rear grille assembly for details.
UNIT INSTALLATION
- Carefully remove shipping tapes from the front panel.(See Fig.6)
- Remove the front panel. (See Fig.7)
- Remove the shipping screw from the vent door.(See Fig.8)


- Pull out at the bottom to release it from the tabs
- Then lift up

UNIT INSTALLATION (CONTINUED)
- Rotate the vent control lever to either open or close the vent door.(See Fig.9)

Fig.9
NOTE: When vent control lever set at CLOSE, only the air inside the room is circulated and filtered. When set at OPEN,some outdoor air will be drawn into room. This will reduce heating or cooling efficiency.
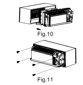
- Lift unit level and slide unit into wall sleeve until firmly against front of wall sleeve and secure with 4 screws and washers (supplied in the SLEEVE ASSEMBLY ) through the unit flange holes.
(See Fig.10 and Fig.11)

- Reinstall front panel.(See Fig.12)

Place tabs over top rail Place tabs over top rail . Push Inward at bottom
CAUTION
- Do not put obstacles around air-inlet or inside of air-outlet of the unit, such as window curtain etc.
- Always insert the filter securely, clean filter once every two weeks as required.
CARE AND CLEANING
FRONT PANEL AND CASE
- Turn unit off and disconnect power supply. To clean, use water and a mild detergent.DO NOT use bleach and abrasivers.Some commercial cleaners may damage the plastic parts.
OUTDOOR COIL
- Coil on outdoor side of unit should be checked regularly.Unit will need to be removed to inspect dirt build-up that will occur on the inside of the coil. If clogged with dirt and soot ,coil should be professionally cleaned.Clean inside and outside of outdoor coils regularly.
NOTE: Never use a high-pressure spray on coil.
CAUTION
UNIT DAMAGE HAZARD
Failure to follow this caution may result in equipment damge or improper operation. Airflow restriction may cause damage to the unit.
AIR FILTERS
IMPORTANT:TURN UNIT OFF BEFORE CLEANING.
CAUTION
UNIT DAMAGE HAZARD
Failure to follow this caution may result in equipment damge or improper operation. Do not operate unit without filters in place.If a filter becomes torn or damaged, it should be replaced immediately. Operating without filters in place or with damaged filter will allow dirt and dust to reach indoor coil and reduce cooling, heating,airflow and efficiency of unit. Airflow restriction may cause damage
to unit.
- The most important thing you can do to maintain unit efficiency is to clean the filters once every two weeks as required.
Clogged filters reduce cooling,heating and airflow. - Keeping filters clean will:
Decrease cost of operation.
Save energy.
Prevent clogged indoor coil.
Reduce risk of premature component failure. - To Clean Air Filters:
Vacuum off heavy soil.
Run water through filter.
Dry thoroughly before replacing.

VENT DOOR FILTER
IMPORTANT:TURN UNIT OFF BEFORE CLEANING.
- If the vent door is open,access requires the removal of the unit from the wall sleeve.Clean the vent filter twice a year or as required.
- Make sure to remove the shipping screw from the vent door.(See.Fig.8)
- Rotate the vent control lever to open the vent door.(See. Fig.15)
- Remove four screws from the vent door filter. (See.Fig.15)
- First pull out the vent door steel wire from the hole of the vent door, then take off the vent door and filter.(See.Fig.15)
- Clean the filter.Dry thoroughly before replacing.
- Replac the vent door and filter,reinstall the four screws.
- Reinsert the vent door steel wire into the hole of the vent door.

TROUBLESHOOTING
| POSSIBLE CAUSES | SOLUTONS |
| UNIT DOES NOT START Unit may have become unplugged Fuse may have blown Circuit breaker may have been tripped Unit may be off Unit may be in a protection mode. | Check that plug is plugged securely in wall receptacle. Note:Plug has a test/reset button on it.Make sure that the plug has not tripped. Replace the fuse.See Note 1. Reset circuit breaker.See Note 1. Turn unit on (bottom right button on keypad). |
| UNIT NOT COOLING/HEATING ROOM Unit air discharge section is blocked Temperature setting is not high or low enough Note:Setpoint limits may not allow the unit to heat or cool the room to the temperature desired.Check section on dipswitch settings. Unit air filters are dirty. Room is excessively hot or cold when unit is started. Vent door left open. Unit may be in a protection mode. Compressor is in time delay. | Make sure that curtains,blinds or furniture are not restricting or blocking unit airflow. Reset to a lower or higher temperature setting. Remove and clean filters. Allow sufficient amount of time for unit to heat or cool the room. Start heating or cooling early before outdoor temperature,cooking heat or gatherings of people make room uncomfortable. Close vent door. Check dipswitch and wall thermostat settings for desired comfort. Wait approximately 3 minutes for compressor to start. |
| DISPLAY HAS STRANGE NUMBERS/ CHARACTERS ON IT | The unit may be in a protection mode. The unit may be set for OC (instead of OF). |
| UNIT MAKING NOISES | Clicking,gurging and whooshing noises are normal during operation of unit. |
| WATER DRIPPING OUTSIDE | If a drain kit has not been installed,condensation runoff during very hot and humid weather is normal.See Note 2.If a drain kit has been installed and is connected to a drain system,check gaskets and fittings around drain for leaks and plugs. |
| WATER DRIPPING INSIDE Wall sleeve is not installed level | Wall sleeve must be installed level for proper drainage of condensation .Check that installation is level and make any necessary adjustments. |
| POSSIBLE CAUSES | SOLUTONS |
| ICE OR FROST FORMS ON INDOOR COIL Low outdoor temperature Dirty filters | When outdoor temperature is approximately 55OF or below,frost may form on the indoor coil when unit is in Cooling mode.Switch unit to FAN operation until ice or frost melts. Remove and clean filters. |
| COMPRESSOR PROTECTION Power may have cycled,so compressor is in a restart protection. | Random Compressor restart-Whenever the unit is plugged in,or power has been restarted,a random compressor restart will occur. After a power outage,the compressor will restart after approximately 3 minutes. Compressor Protection-To prevent short cycling of the compress or, there is a random startup delay of 3 minutes and a minimum compressor run time of 3 minutes. |
| ELECTRIC HEATING FAILURE | Clean the evaporator once every three months by professional people. |
NOTES:
- If circuit breaker is tripped or fuse is blown more than once,contact a qualified electrician.
- If unit is installed where condensation drainage could drip in an undesirable location,an accessory drain kit should be installed and connected to drain system.
LIMITED WARRANTY
YOUR PRODUCT IS PROTECTED BY THIS WARRANTY:
NORMAL RESPONSIBILITIES OF THE CONSUMER* The consumer is responsible for the items listed below:
| WARRANTY PERIOD | COVERAGE: | THE CONSUMER WILL BE RESPONSIBLE FOR: | |
| FULL TWO-YEAR WARRANTY | Two years from original purchase date. | Pay all costs for repairing or replacing parts of this appliance which prove to be defective in materials or workmanship. | Costs of service calls that are listed under NORMAL RESPONSIBILITIES OF THE CONSUMER* |
| LIMITED 3rd-5th YEAR WARRANTY (sealed system) | Third through fifth years from original purchase date. | Repair or replace any parts in the Sealed Refrigeration System (compressor, condenser, evaporator, and tubing) proves to be defective in materials workmanship. | Diagnostic, removal and reinstallation costs required because of service. Costs for labor, parts other than with respect to the Sealed Refrigeration System. |
- Proper use of the appliance in accordance with instructions provided with the product.
- Proper installation by an authorized service professional in accordance with instructions provided with the appliance and in accordance with all local plumbing, electrical and/or gas codes.
- Proper connection to a grounded power supply of sufficient voltage, replacement of blown fuses, repair of loosen connections or defects in house wiring.
- Expenses for making the appliance accessible for servicing.
- Damages to finish after installation.
EXCLUSIONS
This warranty does not cover the following:
- Failure caused by damage to the unit while in your possession (other than damage caused by defect or malfunction), by its improper installation, or by unreasonable use of the unit, including without limitation, failure to provide reasonable and necessary maintenance or to follow the written Installation and Operating Instruction.
- Damages caused by services performed by persons other than authorized services; use of parts other than Midea replacement parts; obtained from persons other than such Midea customer service; or external causes such as abuse, misuse inadequate power supply.
- Products without original serial numbers or products that have serial numbers which have been altered or cannot be readily determined.
Note: some states do not allow the exclusion or limitation of incidental or consequential damages. So this limitation or exclusion may not apply to you.
To contact a customer service representative, call HD Supply Warranty Solutions. 1-800-782-4154
Exclusively Distributed By:
HD Supply Facilities Maintenance, Ltd. Atlanta, GA 30339
© 2022
Made in Chin
To Reorder:
1-800-431-3000 hdsupplysolutions.com


















