
Goodman GPHM52441AA GPHM5 Residential Package Heat Pump Instruction Manual

GPHM52441AA
GPHM53041AA
GPHM53641AA
GPHM54241AA
GPHM54841AA
This manual is to be used by qualified technicians only.
Important Information
Views shown are for parts illustrations only, not servicing procedures.
Text Codes:
AR – As Required
NA – Not Available
NS – Not Shown
00000000 – See Note
QTY – Quantity Example (QTY 3) (If Quantity not shown, Quantity = 1)
M – Model Example (M1) (If M Code not shown, then part is used on all Models)
Expanded Model Nomenclature:

Goodman Manufacturing Company, L.P. is not responsible for personal injury or property damage resulting from improper service. Review all service information before beginning repairs.
Warranty service must be performed by an authorized technician, using authorized factory parts. If service is required after the warranty expires, Goodman Manufacturing Company, L.P. also recommends contacting an authorized technician and using authorized factory parts.
Goodman Manufacturing Company, L.P. reserves the right to discontinue, or change at any time, specifications or designs without notice or without incurring obligations.
For assistance within the U.S.A. contact:
Homeowner Support
Goodman Manufacturing Company, L.P.
19001 Kermier Road
Waller, Texas 77484
877-254-4729-Telephone
713-863-2382-Facsimile
Company, L.P.
7401 Security Way
Houston, Texas 77040
For assistance outside the U.S.A. contact:
International Division
Goodman Manufacturing Company, L.P.
19001 Kermier Road
Waller, Texas 77484
713-861-2500-Telephone
713-863-2382-Facsimile
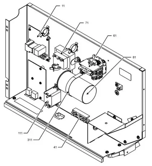
Functional Parts


TOP PANEL AND CABINET ASSEMBLY



PARTITION ASSEMBLY


TUBING ASSEMBLY




BLOWER ASSEMBLY



CONTROL BOX ASSEMBLY


Read More About This Manual & Download PDF:















