
Mini Cam
QUICK GUIDE
EN Smart Indoor Wi-Fi Camera

Compatible with Amazon Alexa & Google Assistant
QUICK START GUIDE
- Packing list
- Product description
- Installation
- Product configuration
- Legal notice
PACKING LIST






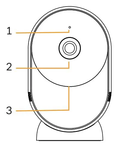
PRODUCT DESCRIPTION


- Microphone
- Lens
- LED indicator
- Speaker
- Type-C port
- Reset
- SD card slot
Notice
To reset the device, press and hold the reset button for 5s. The camera beeps when the operation is complete.
LED indicator of camera:
Flashing red light (slow) | Wait for network config |
Flashing red light (fast) | Connecting the network |
Fixed red light | Network is malfunctional |
Fixed blue light | Camera is working correctly |
INSTALLATION
1 Stick the 3M tape in the middle of camera bottom.

2 Put the camera on the clean plane

PRODUCT CONFIGURATION
Step 1 Turn on your camera.
Step 2 Connect your smartphone to the Wi-Fi network.
Step 3 Download Arenti app from the App Store or Google Play depending on your device.
Step 4 Launch the App and sign up for the first use.
Step 5 Follow the on-screen instructions to add your camera.
For more information, scan the QR code.

Notice
If you have multiple cameras, please follow step 5 again to add devices one by one.
To change Wi-Fi network, please restore the camera to factory settings and follow step 5 to add the camera.
SPECIFICATIONS
| Sensor type | 1/3″ CMOS |
| Min. brightness | Color [email protected] |
| Black and white [email protected] | |
| Resolution | 2 Mega pixels |
| Lens | 3.6 mm F2.0 |
| Shutter | 1/15-1/10,000 per second |
| Infrared | High power LED with ICR |
| Infrared distance | 10 meters |
| Video compression | H.264 |
| Bit rate | 32Kbps – 2Mbps |
| Max resolution | 1920 x 1080 |
| Framerate | 1-25 per second |
| Picture settings | Support HD/SD; support flip |
| Storage | SD card (Max 256GB) |
| Audio | Two-way audio |
| Protocols | HTTP, DHCP, DNS, RTSP |
| WiFi standard | IEEE802.11b/g/n/ac |
| Frequency | 2.4 GHz; 5GHz |
| WiFi encryption | WPA-PSK/WPA2-PSK |
| Security | AES128 |
| Working temperature | -20℃~40℃ |
| Power | DC5V,1A |
| Consumption | 2.5W MAX |
| Size(mm) | 143x57x36 |
| Model | TPA-67F050100VU01 |
| Input voltage | 100~240V AC |
| Input frequency | 50~60Hz |
| Output voltage | 5V DC |
| Output current | 1A |
| Output power | 5W |
| Efficiency | 73.62% |
| No-load consumption | < 0.1W |
LEGAL NOTICE
SUPPORT
SYMBOLS
Direct current (DC)

Don’t throw batteries or out of order products with the household waste (garbage). The dangerous substances that they are likely to include may harm health or the environment. Make your retailer take back these products or use the selective collect of
garbage proposed by your city.

Hereby, Laxihub, declares that the radio equipment type ‘MiniCam’ is in compliance with the Directive 2014/53/EU
The full test of the EU declaration of conformity is available at the following Internet address: www.laxihub.com

For indoor use only




















