INSTALLATION INSTRUCTIONS
Z7835
24VDC MORTISE LOCK
A. Door Preparation:
- Measure desired height from finished floor, mark a horizontal line on door and door edge.
- Align template on edge of the door with the applicable horizontal at height line. Check the chart for drilling trim holes on the template and mark only holes for lock function is installed.

- Mortise door edge according to measurements on installation template and drill proper holes for trim.
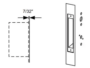
- Recess for faceplate, the dimension is: L 8-1/32″ x W 1-5/16″ x D 7/32″.
OPTIONAL
DOOR CORE DRILLING GUIDE
#7000-DG
Any suggestions or comments to this instruction or product are welcome. Please contact us through our website or email [email protected]
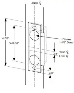
Strike Installation:
- Align strike template on the jamb. Be sure to keep a 3/8″ distance between lock centerline and strike centerline. Recess 5/32″ for a flush fit of strike and dust box.
- Mortise jamb according to the measurement of strike template. Then fit strike and dust box into the frame and secure into place with supplied screws.

Install Lock case
Instructions for changing latch bolt handing:
- Change latch bolt handing
If the hand of the latch bolt doesn’t match the door hand, remove the fixing screw and pull the latch bolt out from the lock case. Turn the latch bolt 180 ° to change the handling. Position latch bolt back, into the case and fasten it.
- Connect wires as shown on the lock cover diagram.
- Insert lock case into mortise cut-out and fasten screws to door.

Install Spindles
- Insert spindles as shown

Install Lever trim
- Place the reversible spring cage onto the ferrules with an arrow pointing in direction of lever rotation.
- Install outside trim with mounting posts through door and position lever onto the spindle.
- Install inside spring cage onto the spindle with the arrow pointing in the direction of inside lever rotation.
- Install inside mounting plate onto the spindle. Tighten with the provided screw.
- Cap inside rose over mounting plate.

- Screw inside lever into position and tighten lever collar with a supplied spanner wrench.

Install Cylinder and Armor Face Plate
- Screw cylinder into the threaded hole of the lock case.

- Tighten the set screw against cylinder(s) by turning clockwise as shown.
- Install faceplate onto lock case front and fasten with supplied screws.

INSTALLATION WIRE DIAGRAM
Model Z7835 Series 24VDC ONLY

P:\INST INSTRUCTIONS\ELECTRIFIED LOCKSETS\INST-Z7835-C REF G 02-21
SECURITY DOOR CONTROLS ■ WWW.SDCSECURITY.COM
[t] 800.413.8783 ■ 805.494.0622 ■ E-mail: [email protected]
■ 801 Avenida Acaso, Camarillo, CA 93012
■ PO Box 3670, Camarillo, CA 93011

OPTIONAL
























