A25 Sensor Control Panel
User Manual

This user’s manual is a main operating document intended for technical, maintenance, and operating staff.
The manual contains information about the purpose, technical details, operating principle, design, and installation of the A25 unit and all its modifications.
Technical and maintenance staff must have theoretical and practical training in the field of ventilation systems and should be able to work in accordance with workplace safety rules as well as construction norms and standards applicable in the territory of the country.
SAFETY REQUIREMENTS
- Please read the user’s manual carefully prior to installing and operating the unit.
- All user’s manual requirements, as well as the provisions of all the applicable local and national
- construction, electrical, and technical norms and standards, must be observed when installing and operating the unit.
- The warnings contained in the user’s manual must be considered most seriously since they contain vital personal safety information.
- Failure to follow the rules and safety precautions noted in this user’s manual may result in an injury or unit damage.
- After a careful reading of the manual, keep it for the entire service life of the unit.
- While transferring the unit control, the user’s manual must be turned over to the receiving operator.
UNIT MOUNTING AND OPERATION SAFETY PRECAUTIONS
| • Disconnect the unit from power mains prior to any installation operations. | • Do not operate the unit outside the temperature range stated in the user’s manual. • Do not operate the unit in aggressive or explosive environments. | ||
| • Do not lay the power cable of the unit in close proximity to heating equipment. • Do not change the power cable length at your own discretion. | • While installing the unit follow the safety regulations specific to the use of electric tools. | ||
| • Do not bend the power cable. • Avoid damaging the power cable. • Do not put any foreign objects on the power cable. | • Unpack the unit with care. | ||
| • Do not use damaged equipment or cables when connecting the unit to power mains. | • When the unit generates unusual sounds, odors, or emits smoke disconnect it from the power supply and contact the Seller. | ||
| • Do not touch the unit controls with wet hands. • Do not carry out the installation and maintenance operations with wet hands. | • Do not wash the unit with water. • Protect the electric parts of the unit against the ingress of water. | ||
| • Do not allow children to operate the unit. | • Disconnect the unit from power mains prior to any technical maintenance. |
THE PRODUCT MUST BE DISPOSED OF SEPARATELY AT THE END OF ITS SERVICE LIFE.
DO NOT DISPOSE OF THE UNIT AS UNSORTED DOMESTIC WASTE.
PURPOSE
THE UNIT SHOULD NOT BE OPERATED BY CHILDREN OR PERSONS WITH REDUCED PHYSICAL, MENTAL, OR SENSORY CAPACITIES, OR THOSE WITHOUT THE APPROPRIATE TRAINING.
THE UNIT MUST BE INSTALLED AND CONNECTED ONLY BY PROPERLY QUALIFIED PERSONNEL AFTER THE APPROPRIATE BRIEFING.
THE CHOICE OF UNIT INSTALLATION LOCATION MUST PREVENT UNAUTHORISED ACCESS BY UNATTENDED CHILDREN.
The wall control panel with a sensor display is designed for controlling industrial and domestic supply and exhaust ventilation units as well as other air handling units.
The control panel is not designed for standalone operation. It is rated for continuous operation.
TECHNICAL DATA
| Current at 24 VDC [A] | 0.1 |
| Power cable (10 m) [type] | 4х0.25 mm2 |
| Ambient air temperature [°C] | +10…+45 |
| Humidity range [%] | 10-80 (without condensation) |
| Weight [g] | 195 |
| Ingress Protection | IP20 |
OVERALL AND CONNECTING DIMENSIONS [mm]

INSTALLATION, CONNECTION TO POWER MAINS, AND SET-UP
CUT OFF POWER SUPPLY BEFORE ANY OPERATIONS ARE PERFORMED.
DO NOT LAY THE CABLE IN CLOSE PROXIMITY TO THE CONTROL PANEL CABLE!
WHILE ROUTING THE CONTROL PANEL CABLE DO NOT COIL THE EXTRA LENGTH.
All devices must be connected to an RS-485 network in a multidrop bus.
A single RS-485 network supports up to 16 simultaneous AHU and up to 16 control panel connections (for example, the integration of one air handling unit and several control panels over an RS-485 network allows managing the AHU from distributed control panels installed in different rooms).
- Avoid using cables over 200 m long for RS-485 bus connections.
- Avoid connecting more than 32 devices (e.g. AHUs, external sensors, smart home systems,s, etc.) to a single RS-485 bus.
ATTENTION! COMBINING +24 V POWER LINES FROM SEVERAL AIR HANDLING UNITS IS STRICTLY PROHIBITED!
Example 1

ATTENTION! CONNECTING MORE THAN 3 CONTROL PANELS TO A SINGLE AHU REQUIRES AN EXTERNAL POWER SUPPLY UNIT.
Example 2

CONTROL PANEL WALL SURFACE MOUNTING
- Route the necessary wires and cables to the control panel mounting location.

- Use a screwdriver to carefully press on the latch on the unit casing end face and separate the casing halves.
• Rocker 1 must be set to OFF. This rocker is to be only used by service engineers for programming the control panel.
• Rocker 2 must be set to ON if the control panel is the first or the last device on an RS-485 bus. This rocker activates or de-activates the terminal resistor.
The temperature sensor is an optional device that measures the temperature in the room. If physically present in the panel configuration, select the “Sensors in control panel” item in the control panel menu.
Main page
Menu
Engineering menu
Sensors
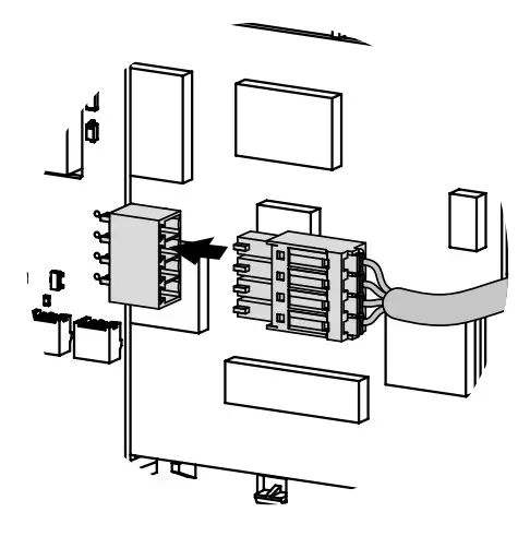
- Route the cable through a round hole in the backside of the panel and attach the panel to the mounting surface. Insert the connector into the bracket.

- Connect the power supply cable wires according to the diagram of the electrical connections.

- Remove the connector with the cable from the bracket and connect it to the female connector on the circuit board.

- Match the prongs of the lower part of the front panel with the slots in the lower part of the back panel at 45° and join the halves until they lock in place.

NETWORK SETUP
An RS-485 network is based on a multi-master principle:
- Slave devices — all the AHUs.
- Master devices — all the control panels, external sensors, a smart home system, etc.
RS-485 network factory settings:
- Controller address: 1.
- Data transfer rate: 115200 baud.
- Stop bits: 2.
- Parity: none.
ATTENTION!
The RS-485 network parameters for the AHU controller are set up via the mobile application.
The factory settings enable control of a single AHU with address 1 using a single control panel with address 1.
To use several control panels to control a single AHU or use a single panel to control several AHUs, integrate the AHUs and the control panels in use into an RS-485 network and set it up:
- Use the mobile application to assign a unique address from 1 to 16 for each AHU.
- Go to the Connection window in the control panel and assign a unique address to each control panel and then select the address of the AHU to be controlled.
Main page
Menu
Engineering menu
Connection

Engineering menu password: 1111 (default).
Controller address: from 1 to 16 — a unique address of the AHU to be controlled.
Control panel address: from 1 to 16 — a unique address for each control panel.
Note: the control panels and the AHUs are addressed independently.
The RS-485 network parameters (Baud rate, Stop bits, Parity) set for the AHU controller and the control panel must be identical.

If the RS-485 network parameters are set incorrectly or if there is a problem with the cable, the display will show a warning (“No communication with the device. Check the connection”).
— button for quick access to the network connection window — Connection.
— screen lock button.
CONTROL
Main page

Buttons:
— unit ON/OFF (Standby mode activation).
— press the arrows as many times as necessary to select the desired pre-set speed.
— manual speed selection mode (from the minimum permissible pre-set value to 100 %).
— displayed upon pressing
, adjust the speed (up/down) by pressing the arrows as many times as necessary. To revert to the preset speeds, press the percentage icon
.
ON/OFF — timer activation/de-activation, to adjust the timer settings go to the Timer window.
ON/OFF — weekly schedule activation/de-activation, to adjust the settings to the Schedule window.
Indicators:
— Warning. The current warnings are shown in the Alarms window (see Main page
Menu
Alarms
Current alarms).
— Filter replacement alert (see Main page
Menu
Basic settings
Filter ).
— Fireplace mode (see Main page
Menu
Engineering menu
Temperature).
— Boost mode (see Main page
Menu
Engineering menu
Temperature).
— Electric preheater or reheater blowing prior to air handling unit shutdown.
— Return the water heater prior to AHU activation in winter.
Sensors:
— current temperature readings from the selected sensor in the supply air duct, extract air duct or in the room.
— current readings from the humidity, CO2, PM2.5, or VOC sensor respectively.
If the AHU is configured with both the main and external sensors, the control panel shows the readings from the main sensor only.
Sensor set-up: Main page
Menu
Basic settings
Air quality
Sensor activation/de-activation: Main page
Menu
Engineering menu
Sensors
Sensor indicator color:
- Grey — no sensor detected.
- Blue—sensor readings below the pre-set value.
- Red — sensor readings exceed the pre-set value.
MAIN MENU

— screen lock button.
BASIC SETTINGS MENU
Main page
Menu
Basic settings

Main page
Menu
Basic settings
Temperature

— set the desired temperature in the room and select from the list of air temperature control options:
Ventilation — the unit only works in the heat recovery mode.
Heating — the unit automatically warms the air to a pre-set level by activating the heater or using the outdoor air heat.
Cooling — the unit automatically cools the air to a pre-set level by using the air cooler or the outdoor air cold.
Auto — the unit automatically maintains a pre-set air temperature (heating/ cooling).
Main page
Menu
Basic settingsv
Air quality
![]()
Set threshold values for the humidity, CO2, PM2.5, and VOC sensors.
The unit will automatically maintain the user values by smoothly increasing or decreasing the fan speed.
Main page
Menu
Basic settings
Timers
Once the Main timer is enabled via the Main page menu, the air handling unit temporarily switches to the following settings:
— pre-set speed selection: 0 (Standby), 1, 2, 3 …
— timer set-up.
— select the desired temperature control level:
0 (off), +15 °C…+30 °C. If off is selected, temperature control is disabled for the duration of Timer operation.
Boost switch-off delay: setting the period of time (0–60 min) for the Boost mode deactivation delay after the discrete input starts receiving no signal (Boost switch).
Boost switch-on delay: setting time (0-15 min) for the Boost mode activation delay after the discrete input (Boost switch) receives a signal.
To enable the discrete input (Boost switch), go to Engineering menu
Sensors. To set up the airflow rate, go to the Engineering menu
Airflow.
Main page
Menu
Basic settings
Schedule

The weekly schedule contains four time periods for each day of the week.
Once the weekly schedule is enabled in the Main page window, the air
handling unit will run to a schedule using the following parameters:
— pre-set speed selection: 0 (Standby), 1, 2, 3 …
6 : 0 –
:
— setting the end for the selected time period. The first time period always begins at 00:00 while the following periods begin when the previous ones end. The final time period always ends at 24:00.
— control temperature selection: 0 (off), +15 °C…+30 °C. If the off is selected, temperature control is disabled for the selected time period.
Main page
Menu
Basic settings
Date and time

To enable weekly schedule operation, set the current date and time in the respective fields.
Main page
Menu
Basic settings
Filter

Setting the filter maintenance timer: upon elapsing of a pre-set period of time (70–365 days) the main page will show a filter replacement alert while the Alarms window will display the respective information about the necessary filter change. To disable the filter timer (e.g. if the unit is equipped with pressure switches), set the value to 0 days.
ALARMS MENU
Main page
Menu
Alarms

Main page
Menu
Alarms Current
alarms

— number of current alarms. Indicates a serious malfunction. The unit is forced to shut down. The alarms must be reset manually.
— a number of current warnings. The unit is not forced to shut down. Warnings are reset automatically once the causes have been addressed.
— Code 5 — current alarm/warning code. The malfunction codes are detailed below.
— this button resets the current alarms.
Main page
Menu
Alarms
Alarm history

Each entry to the Alarms history contains the alarm/warning code and its date and time. The warning and alarm codes are detailed below.
Main page
Menu
Language

Interface language selection.
Main page
Menu
Display

Sound: on-screen button sounds.
Screen brightness: selectable in the range of 1–64 (1–100 %).
Auto-lock time: time to automatic screen lock (0–300 s).
Unlock password:
— Enable/disable the screen unlock password.
— Password change. The password length is 1 to 4 characters. The default password is 1111. The factory password (in case the user password is lost) is 2604.
If the unlock password is enabled, the screen will show the authorization window after unlocking.
Main page
Menu
Engineering menu

To access the Engineering Menu, enter the password (set to 1111 by default).
The password can be changed via the Engineering menu. To reset the password, set the air handling unit to the Setup mode using the buttons on the AHU casing (see the AHU user’s manual), enter the temporary password (1111) in the Engineering menu, and replace it with a permanent one.
Note: the engineering menu requires expert skills. Changes in the menu parameters seriously affect the unit operation.
Main page
Menu
Engineering menu
Airflow

This menu enables setting the airflow rate for pre-set speeds 1, 2, 3.. as well as the Standby, Boost, and Fireplace modes.
If the airflow value selected for the Standby mode is larger than 0 %, the temperature control function for this model according to the setpoint selected (only +15 °С temperature is maintained provided the AHU is equipped with a heater and the Heating or Auto mode is selected in the Basic settings Temperature menu) as well as the air quality control function will be disabled. This does not affect the operation of all the existing protective functions or heat recovery which remain enabled.
Main page
Menu
Engineering menu
Temperature

Current temperature:
— Intake air temperature.
— Supply air temperature.
— Extract air temperature upstream of the heat exchanger.
— Exhaust air temperature downstream of the heat exchanger.
— Room temperature. This remote sensor can be contained inside the control panel or a special device connected via RS-485, Wi-Fi, or Ethernet.
— return water temperature.
Sensor selection — select the sensor used for temperature control. The sensor readings are displayed on the main page.
Note: if the user selects a room sensor that is physically missing, the temperature control function will rely on the sensor in the supply air duct while the panel screen will show the respective warning.
Min. supply air temp. — controls the minimum temperature of the supply air to prevent cold outdoor air from entering the room. If the temperature drops below the pre-set minimum and fails to increase within 10 minutes, the AHU performs a forced shutdown.
Changeover winter/summer — the setpoint for changeover between the winter and summer modes. The changeover affects the water heater and cooler operation. During the winter the cooler is disabled while the water heater warms up the water coils before each start of the unit.
Main page
Menu
Engineering menu
Sensors

Main (RH/CO2/VOC/PM2.5) sensor — a wired sensor connected to the control circuit board.
External (RH/CO2/VOC/PM2.5) sensor — a remote sensor that can be contained inside the other control panel or a special external device connected via RS-485, Wi-Fi or Ethernet. Once the respective main sensor or external sensor is enabled, the unit starts responding to it. Activation of a sensor physically missing from the configuration will cause a respective message to appear in the Alarms menu.
Sensors in control panel — built-in temperature sensor activation. Upon activation, the control panel starts sending room temperature readings to the air handling unit. Note: in case of more than one control panel connected to the AHU make sure to enable a sensor only on a single panel or otherwise the temperature reading will be inaccurate.
Measurement range — available for the main CO₂ and the PM2.5 sensors. This setting defines the sensor signal limit value which corresponds to 10 V at the analog input.
Boost switch — if this input is enabled, the Boost mode is enabled on receiving a signal (On) to this input.
Fireplace switch — if this input is enabled, the Fireplace mode is activated on receiving a signal (On) to this input.
Note: the Fireplace mode is not available if the AHU is configured to heat exchanger freeze protection by the supply fan or by the bypass with the heater disabled.
0-10 V control device. If this input is enabled, the AHU stops responding to pre-set speeds 1,2,3… and will respond to an external pot resistor connected to the control circuit board. To enable this control option, the AHU must be in any mode other than Standby.
When enabling the fire alarm system sensor make sure that it is connected. A loss of signal at this input (Off) triggers an alarm condition and causes the AHU to shut down. This input is normally closed (NC).
Once the water pressure sensor is enabled, the AHU starts to control the water pressure in the system. While the water heater is active a loss of signal at this input (Off) triggers an alarm condition and causes the AHU to shut down. This input is normally closed (NC).
If this sensor is enabled, the AHU control system monitors the heat-transfer flow. While the water heater is active a loss of signal at this input (Off) triggers an alarm condition and causes the AHU to shut down. This input is normally closed (NC).
Supply/Exhaust fan rpm — current fan speed.
Supply/Exhaust filter contamination control: Off—filter OK, On — replace the filter.
Preheater/Main heater thermostat — if the respective heater is active, a loss of signal at these inputs (Off) triggers an alarm condition and causes the AHU to shut down. These inputs are normally closed (NC).
Battery voltage — if the battery drops below 2 V, replace it.
Main page
Menu
Engineering menu
Main heater

Select the heater type and set up its parameters.
Note: if the water heater is active, prior to disabling it make sure that the heat-transfer medium supply has been disconnected and that the circuit has been drained to avoid damaging the water heater by disabling it during the cold season.
Also prior to enabling either heater make sure that all the necessary sensors are physically present to avoid triggering an alarm condition and causing the AHU to shut down.
Min. valve position — setpoint for the minimum position (0-100 %) of the water heater valve in winter.
Max. start-time — setpoint for the time (2-30 min) for the unit to determine a return water underheating alarm before the AHU starts in winter.
Max. start temp. — the final value of the return water temperature required for the AHU start in winter at outdoor temperature <= -30 °C.
Min. start temp. — initial value of the return water temperature required for the AHU start in winter at outdoor temperature >= +10 °C.
Max. alarm temp. — the final value of the return water temperature for the AHU shutdown was caused by a freeze alarm in winter at outdoor temperature <= -30 °C.
Min. alarm temp. — initial value of the return water temperature for the AHU shutdown was caused by a freeze alarm in winter at outdoor temperature <= -10 °C.
Start temperature range: +30 °C…+60 °C.
Alarm temperature range: +10 °C…+30 °C.
The temperature setpoints for the return water temperature are calculated automatically at outdoor temperature -30 °C…+10 °C.
Standby temp. = alarm temperature +5 °C.
Return water temperature in winter in Standby — while the AHU is on in winter this setpoint prevents the return water temperature from dropping to the alarm temperature level at a low setpoint of the supply air duct temperature or with the heater disabled.

Main page
Menu
Engineering menu
Cooler

Select the cooler type (discrete/analog) and its operation mode.
Min. time before OFF — the minimum time for the cooler operation before deactivation.
Min. time before ON — the minimum time for the cooler idling before re-activation.
Cooler hysteresis — only available for coolers with discrete control.
Main page
Menu
Engineering menu
Heat recovery
Bypass/rotary heat exchanger control mode

Depending on the particular AHU configuration use this window to select the necessary control mode for the bypass/rotary heat exchanger with discrete or analog control.
Main page
Menu
Engineering menu
Heat recovery
Freeze protection

Freeze protection — a type of heat exchanger freeze protection.
Note: disable protection at your own risk (the respective warning is also displayed on the screen).
While selecting protection by preheater make sure that the preheater is connected to the AHU to avoid triggering an alarm condition and causing the AHU to shut down.
Main page
Menu
Engineering menu
Sensor correction

The sensor readings are corrected by entering values with horizontal arrow keys in the range from -50.0 °C to +50.0 °C.
Main page
Menu
Engineering menu
Firmware

This window displays the information about the firmware installed on the AHU and the control panels.
Main page
Menu
Engineering menu
Factory settings

The reset may cause a temporary loss of connection to the device as it affects the Wi-Fi, RS-485, and Ethernet settings.
If necessary, repeat the Wi-Fi, RS-485, and Ethernet parameter setup using the mobile application (see the “Wireless control system” manual).
ALARM AND WARNING CODES
| Code | Description |
| 0 | Alarm! Supply fan malfunction. •Determined depending on a specific configuration. •By rpm: if the supply fan speed drops below 300 rpm for 30 seconds (configurable within a 5 to the 120-second range). •By discrete input: if the discrete input (TAHO MI) remains open for 30 seconds (configurable within a 5 to the 120-second range) provided that the supply fan must be running. |
| 1 | Alarm! Extract fan malfunction. Determined depending on a specific configuration. •By rpm: if the extract fan speed drops below 300 rpm for 30 seconds (configurable within a 5 to the 120-second range). •By discrete input: if the discrete input (TAHO M2) remains open for 30 seconds (configurable within a 5 to the 120-second range) provided that the extract fan must be running. |
| 2 | Alarm! No outdoor air temperature sensor was detected. Determined if the heat exchanger freeze protection is active or the unit is configured with a bypass, a rotary heat exchanger, a cooler, or a water heater. |
| 3 | Alarm! Short circuit of the outdoor air temperature sensor. Determined if the heat exchanger freeze protection is active or the unit is configured with a bypass, a rotary heat exchanger, a cooler, or a water heater. |
| 4 | Alarm! No supply air temperature sensor was detected. Determined in any unit configuration. |
| 5 | Alarm! Short circuit of the supply air temperature sensor. Determined in any unit configuration |
| 6 | Alarm! No sensor of the extract air temperature upstream of the heat exchanger was detected. Determined if the extract air temperature sensor is selected as the master sensor for temperature control provided that the main heater or condensing unit is enabled. The alarm will also be determined irrespective of which sensor is selected for temperature control if the bypass or rotary heat exchanger is enabled. |
| 7 | Alarm! Short circuit of the extract air temperature sensor. Determined if the extract air temperature sensor is selected as the master sensor for temperature control provided that the main heater or condensing unit is enabled. The alarm will also be determined irrespective of which sensor is selected for temperature control if the bypass or rotary heat exchanger is enabled. |
| 8 | Alarm! No sensor of the exhaust air temperature downstream of the heat exchanger was detected. Determined if the heat exchanger freeze protection is active. |
| 9 | Alarm! Short circuit of the exhaust air temperature sensor. Determined if the heat exchanger freeze protection is active. |
| 10 | Alarm! Preheater protective thermostat activated. Determined if the preheater is selected for protecting the heat exchanger from freezing (NKP IN). |
| 11 | Alarm! Main heater protective thermostat activated. Determined if electric or water heater is enabled as the main heater and the discrete input (NKD IN) is open. |
| 12 | Alarm! Preheating cannot provide heat exchanger freezing protection. Determined if the preheater is selected for protecting the heat exchanger from freezing and freezing danger warning has been active for 30 minutes. |
| 13 | Warning! Main humidity sensor not detected. Determined if the main humidity sensor is activated and Its signal value is O. |
| 14 | Warning! Main CO2 sensor not detected. Determined if the main CO, the sensor is activated and its signal value is O. |
| 15 | Warning! Main PM2.5 sensor not detected. Determined if the main PM2.5 sensor is activated and its signal value is O. |
| 16 | Warning! Main VOC sensor not detected. Determined if the main VOC sensor is activated and its signal value is O. |
| 17 | Warning! External humidity sensor not detected. Determined if the sensor has sent no feedback to the controller for 20 seconds while being active. |
| 18 | Warning! External CO, sensor not detected. Determined if the sensor has sent no feedback to the controller for 20 seconds while being active. |
| 19 | Warning! External PM25 sensor not detected. Determined if the sensor has sent no feedback to the controller for 20 seconds while being active. |
| 20. | Warning! External VOC sensor not detected. Determined if the sensor has sent no feedback to the controller for 20 seconds while being active. |
| 21 | Warning! Indoor air temperature not detected! The air temperature is controlled by using the feedback from the temperature sensor in the supply air duct downstream of the heat exchanger. Determined if no sensor data has been communicated from the control panel to the controller for 20 seconds if the sensor is selected as the temperature control master sensor provided that the main heater, the bypass, the rotary heat exchanger or the condensing unit are enabled. |
| 22 | Warning! Heat exchanger freezing danger. Determined if the supply fan is enabled, the outdoor temperature drops below -3 ‘C and remains below -1 ‘C, and the exhaust air temperature downstream of the heat exchanger drops below 2’C and remains below 3 ‘C. |
| 23 | Warning! The battery Is low. The weekly schedule function will work incorrectly. Determined if no battery is detected or its voltage level drops below 2 V. The battery voltage level is monitored every 5 minutes. |
| 24 | Warning! Replace the supply air filter. Determined if the pressure switch is triggered by closing the discrete input (FILTER IN SU). |
| 25 | Alarm! Fire alarm activated. Determined if the fire alarm sensor is triggered by opening the discrete input (13). This alarm causes the fans to shut down immediately overriding any prior electric heater blowing commands. |
| 26 | Alarm! Low supply air temperature. Determined if the minimum supply air temperature control function is enabled (the default setpoint is +10 °C configurable within a +5 °C to +12 °C range), and the supply air temperature remains below the control setpoint for 10 minutes with the condensing unit disabled and the bypass closed. |
| 27 | Alarm! Return water temperature sensor not detected. Determined if the water heater is enabled as the main heater. |
| 28 | Alarm! Short circuit of the return water temperature sensor. Determined if the water heater is enabled as the main heater. |
| 29 | Warning! Replace the extract air filter. Determined if the pressure switch is triggered by closing the discrete Input (FILTER IN EXH). |
| 30 | Alarm! No water pressure was detected. Determined if no water pressure is detected provided that the water heater and the water pressure sensor are enabled. |
| 31 | Alarm! No water flow was detected. Determined if no water flow is detected provided that the water heater and the water flow sensor are enabled. |
| 32 | Alarm! Low return water temperature. |
| 33 | Alarm! The supply fan cannot provide heat exchanger freezing protection. Determined if the supply fan is selected for protecting the heat exchanger from freezing and the freezing danger warning has been active for 30 minutes. |
| 34 | Alarm! Bypass cannot provide heat exchanger freezing protection. Determined if the bypass is selected for protecting the heat exchanger from freezing and the freezing danger warning has been active for 30 minutes. |
| 35 | Warning! Freeze protection is disabled. This may cause the heat exchanger to freeze! Determined if the rotary heat exchanger is not enabled and the freeze protection is deactivated. |
| 36 | Warning! The main heater is operated in manual mode. |
| 37 | Warning! The cooler is operated in manual mode. |
| 38 | Warning! The bypass is operated in manual mode. |
| 39 | Warning! The rotary heat exchanger is operated in manual mode. |
| 40 | Warning! The filter timer countdown is completed. Please, replace the filter. |
| 41 | Warning! Incorrect operation of the rotary heat exchanger. |
| 42 | Warning! The preheater is operated in manual mode. |
| 43 | Alarm! Return water temperature failed to reach the setpoint in due time before AHU started. |

V206EN-01
www.ventilation-system.com

• Rocker 1 must be set to OFF. This rocker is to be only used by service engineers for programming the control panel.
The temperature sensor is an optional device that measures the temperature in the room. If physically present in the panel configuration, select the “Sensors in control panel” item in the control panel menu.






















