USER’S MANUAL
KV TwinFresh WI-FI
Sensor control panel with integrated Wi-Fi
A22 Sensor Control Panel with Integrated Wi-Fi
This user’s manual is a main operating document intended for technical, maintenance, and operating staff.
The manual contains information about purpose, technical details, operating principle, design, and installation of the KV TwinFresh Wi-Fi unit and all its modifications.
Technical and maintenance staff must have theoretical and practical training in the field of ventilation systems and should be able to work in accordance with workplace safety rules as well as construction norms and standards applicable in the territory of the country.
SAFETY REQUIREMENTS
All user’s manual requirements as well as the provisions of all the applicable local and national construction, electrical, and technical norms and standards must be observed when installing and operating the unit.
Disconnect the unit from the power supply prior to any connection, servicing, maintenance, and repair operations.
Only qualified electricians with a work permit for electrical units up to 1000 V are allowed for installation and maintenance. The present user’s manual should be carefully
read before beginning work.
Check the unit for any visible damage to the impeller, the casing, and the grille before starting installation. The casing internals must be free of any foreign objects that can damage the impeller blades.
While mounting the unit, avoid compression of the casing! Deformation of the casing may result in motor jams and excessive noise.
Misuse of the unit and any unauthorized modifications are not allowed.
Do not expose the device to adverse atmospheric agents (rain, sun, etc.).
Transported air must not contain any dust or other solid impurities, sticky substances, or fibrous materials.
Do not use the unit in a hazardous or explosive environment containing spirits, gasoline, insecticides, etc.
Do not close or block the intake or extract vents in order to ensure efficient airflow.
Do not sit on the unit and do not put objects on it.
The information in this user’s manual was correct at the time of the document’s preparation.
The Company reserves the right to modify the technical characteristics, design, or configuration of its products at any time in order to incorporate the latest technological developments. Never touch the unit with wet or damp hands. Never touch the unit when barefoot.
This appliance is not intended for use by persons (including children) with reduced physical, sensory or mental capabilities, or lack of experience and knowledge unless they have been given supervision or instruction concerning the use of the appliance by a person responsible for their safety. Children should be supervised to ensure that they do not play with the appliance.
The connection to the supply mains must be made through a means of disconnection, which is incorporated in the fixed wiring in accordance with the wiring rules, and has a
contact separation in all poles that allows for full disconnection under overvoltage category III conditions.
If the supply cord is damaged, it must be replaced by the manufacturer, its service agent, or similarly qualified persons in order to avoid a safety hazard.
THE PRODUCT MUST BE DISPOSED SEPARATELY AT THE END OF ITS SERVICE LIFE.
DO NOT DISPOSE OF THE UNIT AS UNSORTED DOMESTIC WASTE.
PURPOSE
The sensor control panel is designed to control the TwinFresh Expert (from version V.2) and TwinFresh Style Wi-Fi series ventilators.
DELIVERY SET
| NAME | NUMBER |
| Control panel | 1 pc. |
| Mounting box | 1 pc. |
| User’s manual | 1 pc. |
| Packing | 1 pc. |
TECHNICAL DATA
| Supply voltage, 50 (60) Hz [V] | 110-230 |
| Maximum current [A] | 0.012 |
| Cable type | 2×0.35 mm’ |
| Temperature range [°C] | from +10 up to +45 |
| Humidity range [%] | 10-80 (without condensation) |
| Casing material | Plastic |
| Sensor surface material | Glass |
| SEC class | IP30 |
| Weight [g] | 190 |
DIMENSIONS

Wi-Fi data
| Standard | IEEE 802.11 b/g/n |
| Frequency band [GHz 2.4] | 2.4 |
| Transmission power [mW] (dBm) | 100 (+20) |
| Network | DHCP |
| WLAN safety | WPA, WPA2 |

MOUNTING, CONNECTION AND SETUP
CUT OFF POWER SUPPLY BEFORE ANY OPERATIONS ARE PERFORMED
THE CONTROL PANEL MUST BE INSTALLED BY A QUALIFIED EXPERT ONLY, PROPERLY
TRAINED AND HAVING THE REQUIRED TOOLS AND MATERIALS CHOOSING LOCATION FOR CONTROL PANEL INSTALLATION
Examples of wireless alternatives and system operation scenarios
Example 1: direct control panel connection to master ventilator without using a router.
The control panel must be installed within the range of the Wi-Fi access point built into the master ventilator.

- Set the ventilator to Wi-Fi access point master mode (see the ventilator user’s manual).
- Install the control panel within the range of the Wi-Fi access point built into the ventilator.
- Pair the control panel with the ventilator (see below).
Note: the limitations specific to the number of devices that can be connected to the ventilator in the Wi-Fi access point mode are detailed in the ventilator user’s manual.
Example 2: connection via a router with a single Wi-Fi access point.
The control panel can be installed outside the range of the Wi-Fi access point built into the master ventilator.

- Connect the router to the access point built into the router (see the ventilator user’s manual).
- Bring the control panel within the range of the Wi-Fi access point built into the ventilator.
- Pair the control panel with the ventilator (see below).
- Install the control panels within the range of the WiFi access point built into the ventilator.
Example 3: connection via a router connected to several Wi-Fi access points.

- Connect the router to one of the Wi-Fi access points (see ventilator user’s manual).
- Pair the ventilator with the first group of panels.
- Connect the ventilator to the other Wi-Fi access point (see ventilator user’s manual).
- Pair the ventilator with the other group of panels.
ATTENTION: IRRESPECTIVE OF THE SELECTED CONNECTION PATTERN THE PANEL MUST BE WITHIN THE RANGE OF THE WI-Fl ACCESS POINT BUILT INTO THE VENTILATOR DURING THE PARING OF THE CONTROL PANEL WITH THE MASTER VENTILATOR.
PAIRING CONTROL PANEL WITH MASTER VENTILATOR
- Set the ventilator to the Setup mode.
For more details see the ventilator user’s manual. r - Set the control panel to the Setup mode.
Press and hold the
button for at least 5 seconds until the
, buttons start blinking simultaneously. Pairing success is confirmed by double blinking of all the control panel buttons. Upon successful pairing, the control panel will exit the Setup mode immediately. If the pairing process fails to complete within 3 minutes, the panel automatically exits the Setup mode without altering the initial settings. - Exit the ventilator Setup mode.
For more details see the ventilator user’s manual.
ATTENTION: THE PAIRING PROCESS MUST BE REPEATED AFTER EVERY CHANGE OF THE WI-Fl PARAMETERS AND VENTILATOR PASSWORD (SEE VENTILATOR USER’S MANUAL).
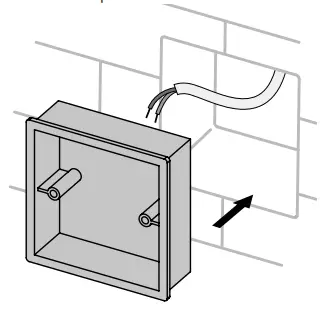
- Install the mounting box.
Installation inside a wall: make a niche in the wall, route the necessary wires and cables to the control panel mounting location and secure it in place.
- Connect the control panel according to the diagram of the electrical connections.
Installation on a wall surface: route the necessary wires and cables to the control panel mounting location, drill holes, and secure the box to the wall with self-tapping screws
(purchased separately).
- Unfasten gently the latches on the lower part of the glass control panel using a screwdriver. Take off the control panel. Then disconnect the sensor board from the connector on the casing.

- Fasten the control panel casing to the mounting box with screws.
The screws used for fastening the panel to the mounting box are included with the unit.
- Fasten the sensor board to the casing, and then the glass panel by pressing it until it clicks into place.

CONTROL
The master ventilator is controlled by means of the buttons on the touch-sensitive control panel.
| Ventilator connection status indicator. The indicator glows steadily while the ventilator connection is live. | |
| These buttons are used to enable/disable the ventilator, and select speed 1, 2, or 3. The buttons remain dark in the Standby mode. The buttons glow steadily while speed 1, 2, or 3 is enabled. The indicators blink intermittently if the Manual Speed Setup mode is selected. | |
| This button activates the Heat recovery mode. | |
| This button activates the Ventilation mode. | |
| This button activates the Party mode (speed 3 enabled by the timer set to 4 hours by default) or the Night mode (speed | |
| 1 enabled b the timer set to 8 hours by default). To activate the Party mode, press the | |
| press the | |
| The filter contamination indicator activates automatically after 90 hours of unit operation. Respond to the alert by replacing or cleaning the filters. After re-lacing filters in all the ventilators reset the filter timer. | |
| To reset the timer, press and hold the | |
| The indicator blinks if the (Master) ventilator connection is down. This button starts to glow steadily in case of an emergency motor shutdown. To reset the alarm, press and hold the button for 5 seconds. After that, all the buttons blink twice to alert the user that the button can be released. |
STORAGE AND TRANSPORTATION REGULATIONS
- Store the unit in the manufacturer’s original packaging box in a dry closed ventilated premise with a temperature range from +5 °C to + 40 °C and relative humidity up to 70 %.
- Storage environment must not contain aggressive vapors and chemical mixtures provoking corrosion, insulation, and sealing deformation.
- Use suitable hoist machinery for handling and storage operations to prevent possible damage to the unit.
- Follow the handling requirements applicable for the particular type of cargo.
- The unit can be carried in the original packaging by any mode of transport providing proper protection against precipitation and mechanical damage. The unit must be transported only in the working position.
- Avoid sharp blows, scratches, or rough handling during loading and unloading.
- Prior to the initial power-up after transportation at low temperatures, allow the unit to warm up at operating temperature for at least 3-4 hours.
MANUFACTURER’S WARRANTY
The product is in compliance with EU norms and standards on low voltage guidelines and electromagnetic compatibility. We hereby declare that the product complies with the provisions of the Electromagnetic Compatibility (EMC) Directive 2014/30/EU of the European Parliament and of the Council, Low Voltage Directive (LVD) 2014/35/EU of the European Parliament and of the Council and CE-marking Council Directive 93/68/EEC. This certificate is issued following a test carried out on samples of the product referred to above. The manufacturer hereby warrants normal operation of the unit for 24 months after the retail sale date provided the user’s observance of the transportation, storage, installation, and operation regulations. Should any malfunctions occur in the course of the unit operation through the Manufacturer’s fault during the guaranteed period of operation, the user is entitled to get all the faults eliminated by the manufacturer by means of warranty repair at the factory free of charge. The warranty repair includes work specific to the elimination of faults in the unit operation to ensure its intended use by the user within the guaranteed period of operation. The faults are eliminated by means of replacement or repair of the unit components or a specific part of the such unit component.
The warranty repair does not include:
- routine technical maintenance
- unit installation/dismantling
- unit setup
To benefit from a warranty repair, the user must provide the unit, the user’s manual with the purchase date stamp, and the payment paperwork certifying the purchase. The unit model must comply with the one stated in the user’s manual. Contact the Seller for warranty service.
The manufacturer’s warranty does not apply to the following cases:
- User’s failure to submit the unit with the entire delivery package as stated in the user’s manual including submission with missing component parts previously dismounted by the user.
- Mismatch of the unit model and the brand name with the information stated on the unit packaging and in the user’s manual.
- User’s failure to ensure timely technical maintenance of the unit.
- External damage to the unit casing (excluding external modifications as required for installation) and internal components caused by the user.
- Redesign or engineering changes to the unit.
- Replacement and use of any assemblies, parts, and components not approved by the manufacturer.
- Unit misuse.
- Violation of the unit installation regulations by the user.
- Violation of the unit control regulations by the user.
- Unit connection to power mains with a voltage different from the one stated in the user’s manual.
- Unit breakdown due to voltage surges in power mains.
- Discretionary repair of the unit by the user.
- Unit repair by any persons without the manufacturer’s authorization.
- Expiration of the unit warranty period.
- Violation of the unit transportation regulations by the user.
- Violation of the unit storage regulations by the user.
- Wrongful actions against the unit are committed by third parties.
- Unit breakdown due to circumstances of insuperable force (fire, flood, earthquake, war, hostilities of any kind, blockades).
- Missing seals if provided by the user’s manual.
- Failure to submit the user’s manual with the unit purchase date stamp.
- Missing payment paperwork certifying the unit purchase.
CERTIFICATE OF ACCEPTANCE
| Unit Type | Sensor control panel with integrated Wi-Fi |
| Model | KV TwinFresh Wi-Fi |
| Serial Number | |
| Manufacture Date | |
| Quality Inspector’s Stamp |
SELLER INFORMATION
| Seller | |
| Address | |
| Phone Number | |
| Purchase Date | |
| This is to certify acceptance of the complete unit delivery with the user’s manual. The warranty terms are acknowledged and accepted. | |
| Customer’s Signature | |

INSTALLATION CERTIFICATE
| The KV TwinFresh Wi-Fi unit is installed pursuant to the requirements stated in the present user’s manual. | ||
| Company name | ||
| Address | ||
| Phone Number | ||
| Installation Technician’s Full Name | ||
| Installation Date: | Signature: | |
| The unit has been installed in accordance with the provisions of all the applicable local and national construction, electrical and technical codes and standards. The unit operates normally as intended by the manufacturer. | ||
| Signature: | ||

WARRANTY CARD
| Unit Type | Sensor control panel with integrated Wi-Fi |
| Model | KV TwinFresh Wi-Fi |
| Serial Number | |
| Manufacture Date | |
| Purchase Date | |
| Warranty Period | |
| Seller |

www.ventilation-system.com
http://vents.ua/
V133-2EN-03

Installation on a wall surface: route the necessary wires and cables to the control panel mounting location, drill holes, and secure the box to the wall with self-tapping screws






















