Dr ger AirPack 2 Airline Breathing Air Supply System Instruction Manual
For your safety
General safety statements
- Before using this product, carefully read the Instructions for Use.
- Strictly follow the Instructions for Use. The user must fully understand and strictly observe the instructions. Use the product only for the purposes specified in the Intended Use section of this document.
- Do not dispose of the Instructions for Use. Ensure that they are retained and appropriately used by the product user.
- Only fully trained and competent users are permitted to use this product.
- Comply with all local and national rules and regulations associated with this product.
- Only trained and competent personnel are permitted to inspect, repair and service the product. Dräger recommend a Dräger service contract for all maintenance activities and that all repairs are carried out by Dräger.
- Properly trained service personnel must inspect and service this product as detailed in the Maintenance section of this document.
- Use only genuine Dräger spare parts and accessories, or the proper functioning of the product may be impaired.
- Do not use a faulty or incomplete product, and do not modify the product.
- Notify Dräger in the event of any component fault or failure.
- The air supply shall meet the requirements for breathing air according to EN 12021.
Definitions of alert icons
Alert icons are used in this document to provide and highlight text that requires a greater awareness by the user. A definition of the meaning of each icon is as follows:
WARNING
Indicates a potentially hazardous situation which, if not avoided, could result in death or serious injury.
CAUTION
Indicates a potentially hazardous situation which, if not avoided, could result in physical injury or damage to the product or environment. It may also be used to alert against unsafe practices.
Description
Product overview
The Dräger PAS AirPack 2 is a robust trolley-mounted air supply system that uses breathing air inputs to provide a medium-pressure output (independent air supply) for breathing apparatus wearers.
Breathing air inputs are from high and/or medium-pressure sources. The high-pressure input is from one or two breathing air cylinders – the equipment has storage capacity for two K-sized (50 litre) cylinders. The medium-pressure input is a regulated external supply from a factory airline or compressor.
The PAS AirPack 2 is available with one or two pneumatic systems, each comprising a cylinder, a hose reel and a pneumatic assembly (swept out in Fig 1). Each pneumatic system is completely separate from the other, and can supply air to one or two breathing apparatus wearers. Variants with one pneumatic system can supply up to two breathing apparatus wearers; variants with two pneumatic systems can supply up to four breathing apparatus wearers.
Referring to Fig 1, the features and components of the PAS AirPack 2 pneumatic system are:
- The high-pressure input connectors (9) are standard cylinder-type threaded connectors.
- The medium-pressure input connector (5) is a male quick connector which has an internal non-return valve.
- There is a medium-pressure output connector on each hose reel (12), and on the body of each pneumatic assembly (7). Each is a female quick connector, which has a valve that self-seals when disconnected.
- A high-pressure gauge (2) indicates cylinder pressure.
- A medium-pressure gauge (3) indicates output pressure.
- A high-pressure whistle (10) sounds to indicate low cylinder pressure.
- A medium-pressure whistle (4) sounds to indicate low output pressure. If the PAS AirPack 2 is using an external medium-pressure supply, the\ whistle indicates that the external supply pressure is low.
- An internal pressure reducer converts the high-pressure input to a\ medium-pressure output.
- A relief valve (6) in the medium-pressure system and a bleed valve (8) on each high-pressure connector release air from the system when operated.
- Each hose reel has 50 m of hose on a rotating drum. The drum has an inertia brake that prevents overrun of the drum as the hose is pulled out.
The features and components of the trolley are:
- Two wheels are on a fixed axle, and two are swivelling jockey wheels for manoeuvrability. One of the jockey wheels has a foot operated brake (11).
- Some of the variants have a lifting eye (1) on the centre column of the trolley. The lifting eye is proof load tested, and the lifting eye arm is stamped by an approved authority. The safe working load (SWL) is 250 kg. A Certificate of Conformance is included with the product.
- The lever (Fig 2, Item 1) operates a frame lock to allow lifting the cylinder frame to a vertical position (as shown in Fig 2) for cylinder fitting and removal.

Intended use
The PAS AirPack 2 is used with breathing air cylinders and an external breathing air supply (factory airline or compressor) to provide a medium-pressure output. When used with approved airline equipment, it supplies breathing air to breathing apparatus wearers.
It is intended to be used with only the air cylinders connected (self-contained use), or with the air cylinders and an external medium-pressure supply connected (external-supply use). When it is used with an external supply the cylinders provide a backup air supply.
The breathing apparatus and other accessories used with this product must be assembled in an approved configuration. See Section 10 for the compatible airline equipment and configurations. Dräger do not supply K-sized cylinders, either individually or assembled to the PAS AirPack 2. It is the responsibility of the user to ensure that the selected cylinder is approved to PED97/23/EC and/or TPED1999/36/EC and/or to national regulations. Contact Dräger for details of approved cylinders and further information.
Approvals
The European standards, guidelines, and directives according to which this product is approved are specified in the declaration of conformity (see declaration of conformity or www.draeger.com/product-certificates).
Use in potentially explosive atmospheres
- The PAS AirPack Series is type tested as suitable for use in potentially explosive atmospheres. The combinations are suitable for use in hazardous areas of Zone 1 and 2 for explosion group IIA and IIB and for Zone 21 and 22.
Special conditions for safe use
The Airline Systems shall not be used in the vicinity of processes where high charges are generated if explosive atmospheres are present (for example, where rapid filling processes are carried out – big bag filling – or many actions of fast limit surface separation are done). In such cases, hazardously high charges of the Airline Systems may occur due to electrostatic induction.
The breathing apparatus and the compressed air cylinders which are used in combination with the Airline Systems each have to meet the applicable requirements of the equipment categories and explosion groups relevant to the respective Airline System.
The Airline Systems have to be moved manually inside explosive atmospheres by the user (pushing or pulling). It is mandatory to use floors in Zone 1 and Zone 21 that are able to discharge electricity where dusts of minimum ignition energies < 10 mJ are present.
If air supply hoses are used with a total length > 50 m, then the couplings which are connected to the hoses in a conductive manner have to be provided with an additional earth contact (after a hose length of 50 m) and integrated into the operating eqipotential bonding.
- Do not charge the cylinder in a potentially explosive atmosphere.
Explanation of marking and symbols
Refer to the relevant authority for explanation of approval body symbols and markings. Examples of other marking on the product:
- BRBA-1359 – Dräger serial number
- 08/09 – Month and year of manufacture
- 3353261 – Dräger part number
- HP – High pressure
- MP – Medium pressure
– Relief valve
– Unlock and lock (cylinder frame)
Where appropriate, the marking “F” on the apparatus and CAST (compressed-air supply tube) indicates that both can be used where flammability may be a risk. Marking on the compressed-air supply tube indicates that the tube is heat resistant (H) and/or antistatic (S).
Use
WARNING
The cylinder and airline air quality shall meet the requirements for breathing air according to EN 12021. Do not use oxygen or oxygen-enriched air. The moisture content of breathing air should be controlled within the EN 12021 limits to avoid freezing the apparatus.
Carry out a risk assessment of the workplace to ensure that it is not possible to connect to any airline supply other than breathable air (e.g. Nitrox).
Before using airline equipment, ensure that the air supply meets the air quality requirements, and complies with the airline pressure, flow and hose requirements (see Section 8 and Section 10), and has been issued with a permit for use if necessary.
Position the PAS AirPack 2 in a safe and uncontaminated area where it cannot be damaged, and apply the brake.
Dräger recommend that the user carries out a risk assessment to establish local procedures to be followed in the event of failure of the air supply.
CAUTION
Impact damage to the PAS AirPack 2 may prevent cylinder valve connection or cause an air leak. Handle the equipment with care.
If there is requirement to lift the PAS AirPack 2, the organization must have a formal lifting equipment management system. Lifting equipment users must have the required competencies and comply with established lifting equipment and work practices.
When remote wearers are connected to the PAS AirPack 2, a controller must be appointed to monitor the gauges and whistles of the product throughout the operation. The controller must maintain the air supply to the wearers and must ensure that any precautionary or emergency signals are conveyed to the remote wearers in line with local procedures and these Instructions for Use.
Preparation for use
- Carry out a visual inspection (see Section 3.4.1).
- Fit the air cylinder or cylinders (see Section 3.4.2).
- Carry out a full functional test (see Section 3.4.5)
WARNING
Incorrect airline equipment configurations may result in insufficient air flow to breathing apparatus wearers or increase the possibility of air supply failure. See Section 10 for the compatible airline equipment and configurations.
Prepare the breathing apparatus for use (see the Instructions for Use supplied with the breathing apparatus). Observe the safety information and carry out all preparation and functional testing tasks before use.
Do not use either of the PAS AirPack 2 pneumatic systems to supply air to more than two breathing apparatus wearers at any time. If a controller is appointed, and is required to wear breathing apparatus and to connect to the equipment then only one other user is permitted.
If the PAS AirPack 2 has two pneumatic systems, carry out the following steps for each pneumatic system as required. - Pull out the hose as required and connect the airline equipment to the output connector on the hose reel (Fig 1, Item 12). Use the output connector on the pneumatic assembly (Fig 3) for connecting the controller if required.

- Depending on the required use, do one of the following:
- Self-contained use – Fully open the cylinder valve.
- External-supply use – Connect the external supply (see Section 3.4.4).
Ensure that the cylinder valve is fully closed.
- Put on the breathing apparatus and connect to the airline equipment (Fig 4 shows a typical breathing apparatus connector).

During use
WARNING
An appointed controller or the breathing apparatus wearers must monitor the PAS AirPack 2 gauges and whistles during use. Procedures to warn and evacuate remote users must be in place.
The effective working duration of the equipment is dependent on the initial air supply available and the breathing rate of the wearers. Do not commence any operation using a cylinder that is less than 80 percent full.
At very high work rates the pressure in the face mask of a breathing apparatus wearer may become negative at peak inhalation flow
- Breathe normally and proceed to the work area taking care with any airline equipment.
- On receipt of an evacuation signal, withdraw immediately to a safe area (see local instructions for full evacuation procedures).
- When the task is complete, withdraw to a safe area before removing the breathing apparatus.
- The high-pressure and medium-pressure whistles indicate that there is low pressure in the associated system. If a warning whistle sounds, carry out the necessary actions depending on the configuration of the PAS AirPack 2 (see Section 3.2.1 or 3.2.2).
Medium-pressure whistle sounds
During external-supply use – Fully open the cylinder valve, and disconnect the external supply from the PAS AirPack 2. Continue the task as a self-contained use task.
During self-contained use – Breathing apparatus wearers must proceed in line with breathing apparatus Instructions for Use and local procedures.
High-pressure whistle sounds during self-contained use
Breathing apparatus wearers must proceed in line with breathing apparatus Instructions for Use and local procedures.
After use
WARNING
Do not remove the breathing apparatus until in a safe breathing environment.
- Once in a safe area, remove all breathing equipment.
- Disconnect the external supply from the PAS AirPack 2 and fully close all cylinder valves.
- Pull the handle of the relief valve (Fig 1, Item 6) to vent all air from the system.
- Disconnect any airline equipment from the PAS AirPack 2 and fit all protection caps.
- Carefully rewind the hose reel if necessary. Clean the hose (see Section 5.3) during rewinding.
- Disconnect and remove the air cylinders if necessary (see Section 3.4.3).
- Carry out the after use maintenance tasks in the maintenance table (see Section 5.1).
Common user tasks
Visual inspection
Check that the PAS AirPack 2 is clean and undamaged, paying particular attention to pneumatic components, hoses and connectors. Typical signs of damage that may affect the operation of the PAS AirPack 2 include impact damage, abrasion, cutting, corrosion and discolouration. Report damage to service personnel or Dräger and do not use the PAS AirPack 2 until faults are rectified.
If the PAS AirPack 2 has a lifting eye (Fig 1, Item 1) inspect and, if necessary, load test in accordance with the relevant guidelines and regulations.
Fitting air cylinders
WARNING
Do not attempt to fit or remove the cylinders on your own. Observe the relevant manual handling and safety procedures when moving the cylinders.
CAUTION
When lifting the cylinder frame to the vertical position, ensure the frame, cylinders and cylinder valves will not collide with other objects and structures.
Only fit fully charged cylinders that are approved for use, fully serviceable and in date. Use K-sized (50 litre), 200 bar or 300 bar, breathing air cylinders with compatible connectors (see Section 8). If the PAS AirPack 2 has two pneumatic systems, always connect the cylinder to the appropriate pneumatic assembly (i.e. left to left and right to right).
- Place the trolley in a suitable position and apply the brake.
- Unlock and then lift the cylinder frame to the vertical position (Fig 2).
- Disconnect the cylinder chains from the connectors (Fig 1, Item 13).
- Fit the cylinder on to the trolley and reconnect both cylinder chains.
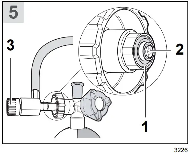
- Check the outlet port of the air cylinder, and ensure that the O-ring (Fig 5, Item 1) and the sintered filter (Fig 5, Item 2) in the input connector are clean and undamaged.
- Align the input connector (Fig 1, Item 9) with the cylinder ensuring a smooth curve of the high-pressure hose. Tighten the hand wheel hand tight. Do not use tools or over tighten.
- Close the cylinder bleed valve (Fig 5, Item 3) (turn it fully clockwise).
- Carefully lower the cylinder frame on to the trolley and lock the frame lock.

Removing air cylinders
WARNING
High-pressure air release may cause injury to the user or other personnel near the breathing apparatus. Close the cylinder valve and fully vent the system before attempting to disconnect an air cylinder.
- Place the trolley in a suitable position and apply the brake.
- Unlock and then lift the cylinder frame to the vertical position (Fig 2).
- Disconnect the cylinder chains from the connectors (Fig 1, Items 13).
- Close the cylinder valve and then open the bleed valve.
- Disconnect the high-pressure input connector from the cylinder valve.
- Remove the cylinder and reconnect both cylinder chains.
- Carefully lower the cylinder frame on to the trolley and lock the frame lock.
Connecting an external supply
CAUTION
The cylinder valves must remain fully closed during external-supply use. If cylinder valves are open, air from the cylinders will be used.
A compatible external air supply is a regulated medium-pressure input of breathing air (see Section 8 and Section 10).
- Select a suitable air supply and adaptor hose.
- Check that the supply outlet, adaptor hose, and input connector are clean and undamaged.
- Connect the external supply to the medium-pressure input connector of the PAS AirPack 2 (Fig 6).
- Check that the pressure indicated on the medium-pressure gauge (Fig 1, Item 3) is 6 bar to 10 bar. If necessary, adjust the pressure-regulating device of the external supply (the nominal setting is 8 bar). (If the pressure is below 8 bar, a low whistle or hiss may be heard from the high-pressure whistle during use. This is normal operation for the unit, and does not affect the functionality of the product.)

Functional testing
WARNING
If the breathing equipment fails to meet any of the standards or parameters described in the functional tests, or if an immediate leak is evident, there is a system fault. Report the fault to trained service personnel or contact Dräger. Do not use the breathing equipment until the fault condition is rectified
If the PAS AirPack 2 has two pneumatic systems, carry out the test below for each pneumatic system.
- Ensure that the cylinder valve and bleed valve are fully closed.
- Fully open the cylinder valve.
- Check the pressures indicated on the pressure gauges:
- The high-pressure gauge must indicate at least 80% of the cylinder maximum pressure.
- The medium-pressure gauge must indicate 6 bar to 10 bar.
- Fully close the cylinder valve.
- Wait one minute and then observe the high-pressure gauge and reopen the cylinder valve. The gauge must not show an increase in pressure of more than 10 bar. If there is any leak, investigate and repair the leak before use (see Section 4). If necessary, use a soapy solution to locate the leak.
- Fully close the cylinder valve again.
- Pull the handle of the relief valve (Fig 1, Item 6) to vent the air very slowly and observe the high-pressure gauge. The high-pressure whistle must commence in the range 60 bar to 50 bar.
- Release the handle of the relief valve immediately when the whistle commences. Allow the whistle to fully vent the high-pressure side of the reducer.
- Again pull the handle of the relief valve to vent the air very slowly and observe the medium-pressure gauge. The medium-pressure whistle must commence in the range 5 bar to 4 bar.
- Pull the handle of the relief valve to fully vent the system.
Troubleshooting
Disconnect or replace any associated equipment and retest before referring to the troubleshooting table.
Contact service personnel or Dräger when the remedy information indicates a service task, or if the symptom remains after all remedy actions have been attempted.
| Symptom | Fault | Remedy |
| High-pressure or medium-pressure air leak | Loose/damaged connector or faulty seal | Reconnect or tighten connectors and retest. |
| Pressure reducer or hose leak | Service task | |
| High or low medium-pressure | Pressure reducer out of specification | Service task |
| Poor sounding whistle | Dirt | Clean and retest |
| Whistle not functioning correctly | Defective activation mechanism | Service task |
Maintenance
Maintenance table
Service and test the PAS AirPack 2, including out-of-use equipment, in accordance with the table below. Record all maintenance in the equipment log book. See also the maintenance information for any associated breathing equipment.
Additional inspection and testing may be required in the country of use to ensure compliance with national regulations.
| Component/ System | Task | After use | Every month | Every year | Every six years |
| Complete equipment | Visual inspection (see Note 1 and Section 3.4.1) | ||||
| Functional test (see Section 3.4.5) | |||||
| High-pressure input connectors | Renew the O-ring and sintered filter (see Note 2) | ||||
| Pressure reducer | Overhaul. Contact Dräger for the Repair Exchange (REX) service | ||||
| Cylinder | Charge to correct pressure (see Section 5.2) | ||||
| Check the initial test date stamped on the cylinder | |||||
| Cylinder pressure test and recertification | Carry out in line with national regulations | ||||
| Cylinder valve | Basic overhaul | During cylinder pressure test or on condition | |||
Notes
- Dräger recommendations
- Clean the equipment if it is dirty. If it the equipment has been exposed to contaminants, disinfect any components that come into direct and prolonged contact with the skin.
- These maintenance tasks may only be carried out by Dräger or trained service personnel. Details of the tests are contained in the technical manual which is issued to service personnel that have attended a relevant Dräger maintenance course.
Air cylinder charging
WARNING
Air quality for compressed-air cylinders must conform to requirements of EN 12021.
- Refer also to the instructions supplied with the cylinder and the charging unit for recharging the cylinder.
- Only charge compressed-air cylinders which:
- Conform to national standards.
- Feature the original manufacturer’s test date and test mark.
- Have not exceeded the test date indicated on the cylinder by the last testing station.
- Are not damaged.
- To prevent ingress of moisture into the cylinder, ensure that the cylinder valve remains closed until connected to the charging unit.
- Recharge to the rated working pressure of the cylinder. Dräger recommend a charge rate of 27 bar/minute (rapid charging will increase the temperature resulting in an incomplete charge).
- To prevent overcharging of the cylinder, Dräger recommend using a pressure-limiting device on the charging compressor.
Cleaning and disinfecting
CAUTION
Do not immerse the PAS AirPack 2 in water or cleaning solutions and do not place the PAS AirPack 2 in a heated drying facility.
For information about suitable cleaning and disinfecting agents and their specifications refer to document 9100081 on www.draeger.com/IFU.
Refer also to the cleaning and disinfecting requirements for any associated breathing equipment.
- Use only clean lint-free cloths
- Clean the PAS Airpack 2 manually using a cloth moistened with cleaning solution to remove excess dirt.
- For information about suitable cleaning and disinfecting agents and their specifications refer to document 9100081 on www.draeger.com/IFU.
- Rinse all components thoroughly with clean water to remove all cleaning and disinfecting agents.
- Dry all components using a dry cloth, or in air.
- Contact service personnel or Dräger if disassembly of pneumatic or electronic components is required.
Storage
Store the equipment between -15 °C and +25 °C. Ensure that the environment is dry, free from dust and dirt, and does not subject the equipment to wear or damage due to abrasion. Do not store the equipment in direct sunlight.
Disposal
When required, dispose of the PAS AirPack 2 in accordance with national or local regulations for waste disposal.
Technical data
Operating conditions
- Temperature: -30 to +60 °C.
- Usage area: suitable for indoor and outdoor use
High pressure
- Input connector: 200 bar or 300 bar, standard G5/8” connector as per EN 144-2.
- Input: K-sized (50 litre), 200 bar or 300 bar, breathing air cylinder
Medium pressure
- Input and output connectors: Dräger quick connectors (compatible with CEJN 344 and Rectus 95KS series).
- Input and output: 6 bar to 10 bar (8 bar nominal) breathing air at a flow rate of >600 litres/min. Important note: do not exceed 10 bar.
Whistle operation
- High-pressure whistle commences in the range: 60 bar to 50 bar.
- Medium-pressure whistle commences in the range: 5 bar to 4 bar.
- Whistles cease in the range: 1.75 bar to 0 bar.
- Whistle volume: >90 dBA.
Compatible airline equipment and configurations
| Breathing air supply equipment | |
![]() | External medium-pressure supply (see Section 8 for specification and connector type) |
![]() | High-pressure supply (see Section 8 for specification and connector type) |
| Dräger supply, control and monitoring equipment | |
![]() | Dräger PAS AirPack 2 |
| Airline equipment (approved to the relevant EN standard) | |
| Extension hose (lengths ranging from 3 m to 50 m available from Dräger) | |
![]() | Y-piece |
![]() | Hose reel (Dräger hose reel has 50 m of hose) |
![]() | Airline filter unit |
![]() | In-line medium-pressure whistle |
| Breathing apparatus | |
![]() | Airline set (EN 14593-1) |
| Escape/airline set with automatic switch-over valve (ASV) and airline connector (EN 402/EN 14593-1) | |
| Working set with automaticswitch-over valve (ASV) and airline connector (EN 137/EN 14593-1) | |
Airline equipment configurations
WARNING
Airline equipment must allow the input pressure and flow specified in the breathing apparatus instructions to be met. Incorrect configurations may result in insufficient air flow to breathing apparatus wearers or increase the possibility of air supply failure.
Dräger airline equipment and breathing apparatus
No more than five connections are permitted per line on the output side of the PAS AirPack 2 (a Y-piece is treated as two connections). Additionally, the maximum combined length of the extension hoses is 100 m. The figures below (not to scale) show some examples of the maximum number of connections (C1 to C5) and maximum hose lengths that are permissible in an output configuration using Dräger equipment.
One breathing apparatus wearer (with integral hose reel)
Two breathing apparatus wearers (with integral hose reel)
Two breathing apparatus wearers (using the pneumatic assembly outlet and a stand-alone hose reel)
Input with extension hose
Input with Dräger airline filter unit





























