Kogan ELDUALMTWHA Dual Motor Standing Desk

SAFETY & WARNINGS
Ensure to read all instructions and warnings in this user guide prior to assembly. Retain this user guide for future reference.
- This desk can be used by children aged from 8 years and above and persons with reduced physical, sensory, or mental capabilities or lack of experience and knowledge if they have been given supervision or instruction concerning use of the desk in a safe way and understand the hazards involved.
- Do not allow children to play with the desk.
- This desk supports voltages between 100–240V and frequencies of 50Hz and 60Hz. Ensure the socket matches this.
- The operating temperature of this desk is 0–40°C.
- The maximum load capacity of this desk is 100kg. Do not exceed this.
- Ensure the power cord is unplugged when not in use.
- Take care with the packaging to avoid potential hazards for children (for example, plastic bags, small components).
- Ensure there are no hazards or obstacles in the operating environment.
- Do not to allow water or any other liquids to enter the internal parts or connections.
- The control box contains electronic components, metals, plastics, and wires. If disposed, ensure it is done in an environmentally responsible manner in accordance with local regulations.
- Be familiar with all functions and program settings of the desk before first use.
- It is normal for slight noise to be caused by the belt or brake system. This does not affect the desk’s performance.
- Cleaning and user maintenance should not be performed by children without adult supervision.
- If the power cord is damaged, stop use immediately and contact help.Kogan.com for assistance.
- Keep the original packaging of the equipment if necessary in the case of future transportation of the desk.
COMPONENTS
- Tabletop (x1)

- Side bracket (x2)

- Leg (x2)

- Foot (x2)

- Control box (x1)

- Supporting beam (x1)

- Cable management tray (x1)

- Power cord (x1)

- Control panel (x1)

Hardware
- A 12mm flat M6 screw (x4)

- B 10mm M6 screw (x4)

- C 16mm M6 screw (x8)

- D 12mm rounded M6 screw (x12)

- E 19mm ST4.2 screw (x16)

- F Allen key (x1)

- G 25mm ST4.2 screw (x2)

OVERVIEW

Control panel

ASSEMBLY
Step 1: Installing the side brackets
Using the Allen key (F), attach the side brackets (2) to the ends of the supporting beam (6) with four 12mm flat M6 screws (A).
Step 2: Installing the legs
Insert the legs (3) into the ends of the supporting beam (6). Using the Allen key (F), secure the legs (3) with eight 12mm rounded M6 screws (D).
Step 3: Installing the feet
Place the feet (4) on the bottom of the legs (3). Using the Allen key (F), secure the feet (4) with eight 16mm M6 screws (C).
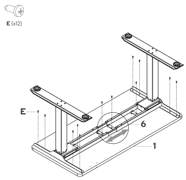
Step 4: Installing the tabletop
Pull the supporting beam (6) to the desired length. Using a Phillips head drill (not supplied), secure the tabletop (1) with twelve ST4.2 screws (E).

To make further adjustments, use the Allen key (F) to loosen the screws. Adjust the length of the supporting beam (6) then retighten the screws.
Step 5: Installing the control panel
Using a Phillips head drill, secure the control panel (9) with two 25mm ST4.2 screws (G).
Note:
The control box (5) comes attached to the tabletop (1).

Step 6: Connecting the cables
Connect the end of the power cord (8), cables on the control panel (9), and legs (3) into the control box as shown.
Step 7: Securing the cable management tray
Notes:
- If the supporting beam is shorter than 1720mm, follow method one.
- If the supporting beam is longer than 1720mm, follow method two.
Method one
Using the Allen key (F), rotate four 10mm M6 screws (B) loosely into the supporting beam (6). Do not fully tighten.
Clip one side of the cable management tray (7) into the 10mm M6 screws, then repeat on the other side. Using the Allen key (F), tighten the 10mm M6 screws.
Method two
Using the Allen key (F), rotate the 10mm M6 screws (B) and 12mm M6 screws (D) loosely into the supporting beam (6). Do not fully tighten.
Clip one side of the cable management tray (7) into the screws (B, D), then repeat on the other side. Using the Allen key (F), tighten the screws (B, D).
Note:
When the supporting beam is longer than 1720mm, ensure the cable management tray (7) is mounted in the middle of the supporting beam (6).
OPERATION
Note:
Check carefully to ensure correct and complete assembly before using.
Powering on/off
Plug the power cord into a socket and turn the socket on.
To turn off, switch off the socket and unplug the power cord.
Height adjustment
Press the up or down button to adjust to the desired height of the desk. The LED display will show the current height.
Height memory button
This desk allows users to save up to three height levels, making it easier to adjust the desk to commonly used heights.
- Press the up or down button to adjust to the desired height of the desk. Press the height memory button and the LED display will show ‘5-’.
- Press the position 1, 2, or 3 button to save the current height to the corresponding button. This will be reflected on the LED display as ‘5-1’, ‘5-2’, or ‘5-3’ respectively.
- Press the position 1, 2 or 3 button to automatically adjust the desk to the saved height mapped to the button.
Posture timer button
Sitting at a desk for continuous periods may lead to slouched posture. This desk features an alarm that can be set to ring after a specified period to remind users to correct their posture.
To set the timer:
- Press the posture timer button and the LED display will show ‘On’.
- After two seconds, the LED display will start flashing. Press the up and down buttons to adjust the time interval for the alarm to ring (default is 45 minutes). This will be reflected on the LED display.
- After adjusting, either press any button on the control panel, or wait for five seconds to save.
- When the timer has elapsed, the alarm will sound for ten seconds and the LED display will show ‘000’. Press any button on the control panel within these ten seconds to reset the timer.
Alternatively, press and hold the posture timer button for three seconds to manually turn off the timer. The LED display will show ‘Off’.
• If no buttons are pressed within the ten seconds, the alarm will ring again in another five minutes.
• If no buttons are pressed when the alarm rings again, the timer will turn off.
Note:
If any buttons are pressed after the timer is set, the timer will reset.
Anti-collision function
This function allows the desk to rebound during height adjustment if it makes contact with any surface, avoiding damage. There are four settings with this function as listed below.
| LED display shows | Description |
| A-0 | Function disabled |
| A-1 | Low sensitivity |
| A-2 | Medium sensitivity |
| A-3 | High sensitivity, default setting |
To adjust the sensitivity of this function:
- Press and hold the up and down buttons for five seconds. The LED display will show ‘A-3’.
- Press the up and down buttons to adjust to the desired sensitivity level. This will be reflected on the LED display.
CLEANING & CARE
Ensure the desk is turned off and the power cord is unplugged before cleaning.
Wipe any dust on the surface with slightly damp cloth.
Note:
Do not use corrosive or abrasive detergents to clean this desk.
TROUBLESHOOTING
| Problem | Solution |
| There is no response when the holding down the up or down buttons. |
|
| When adjusting, the desk is rising at a slow speed. |
|
| The motor is not moving as instructed. | Stop use immediately and contact help.Kogan.com for assistance. |
| The desk height can be adjusted downwards but not upwards. |
|
| The desk is slanted. |
|
| The desk needs to be repositioned frequently. |
|
| The desk has been overworked and stopped working. |
|
| The desk is insufficiently raising or lowering. |
If the problem persists, contact help.Kogan.com for assistance. |
Error codes
| LED display shows | Solution |
| E01 | Turn off the desk and reuse after 13 minutes |
| E02 | The desk has overheated. Turn off the desk and reuse after 25 minutes. |
| E03, E04, or E09 | Ensure the desk is not loading more than 100kg. If so, reduce the loading weight.
|
| E07, E08, E20, E21, E22, or E23 | Ensure all cables are properly connected.
|
If the fault encountered is not listed or rectified in the list below, contact help.Kogan.com for assistance.
SPECIFICATIONS
Column stages 2
Maximum weight capacity 100kg
Dimensions 140 x 70 x (69–118cm)
Disposal
This marking indicates that this appliance should not be disposed with other household wastes. To prevent possible harm to the environment or human health from uncontrolled waste disposal, recycle it responsibly to promote the sustainable reuse of material resources.
FRAME DIMENSIONS

Need more information?
We hope that this user guide has given you
the assistance needed for a simple set-up.
For the most up-to-date guide for your product,
as well as any additional assistance you may require,
head online to help.kogan.com

































