ELSTADSPNWA Standing Split Desk
User Guide
SAFETY & WARNINGS
Ensure to read all instructions and warnings in this user guide prior to assembly and first use. Retain this user guide for future reference.
- This desk can be used by children aged 8 years and above and persons with reduced physical, sensory or mental capabilities or lack of experience and knowledge if they have been given supervision or instruction concerning the use of the desk in a safe way and understand the hazards involved.
- Do not allow children to play with the desk as this may lead to potential injuries.
- The power used by this desk is AC 220-240V at a frequency of 50-60Hz. Ensure the power socket used supports this.
- When the desk is static, the control box is powered with DC 29V.
- The maximum load capacity of this desk is 60kg.
- The operating environment of this desk is 0-40°C.
- Throw the plastic packaging away after assembling as the plastic bags used may lead to a choking hazard to children.
- Be aware and remove any potential hazards around the area when the desk will be used.
- Do not allow water or any other liquid into the internal parts of the desk.
- The electric box contains electronic components, metals, plastics, and wires. If disposing of, do not throw the electric box into the general rubbish. Follow the local regulation when disposing of electricals.
- There may be slight noises that emit from the braking system when using the desk.
This is normal and should not raise any concern. - Ensure the power cord is turned off and unplugged before cleaning.
- Do not use corrosive or abrasive materials when cleaning the desk.
- Cleaning and user maintenance shall not be made by children without supervision.
- If the power cord is damaged, stop use immediately and contact help.Kogan.com for assistance.
- Once assembled and before use, double-check the desk has been assembled correctly.
- Keep the original box in the case for future transportation.
COMPONENTS LIST
WARNING:
The drawings below are for guidance only and they may differ slightly from the product and fittings received. 

Hardware

OVERVIEW

ASSEMBLY
Step 1: Using the 5mm Allen key (H3), attach and tighten the pedestals (5) to the left and right columns (3, 4) with 30mm M6 screws (D).

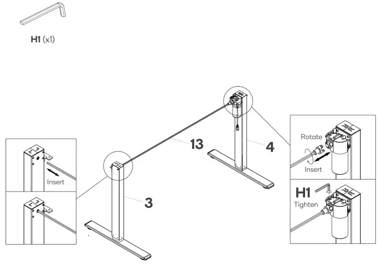
Step 2: Insert one end of the transmission rod (13) onto the left column (3). Insert then rotate the other end of the transmission rod (13) into the right column (4). Tighten using the 2.5mm Allen key (H1).
Notes:
- Do not rotate the transmission rod more than 120°.
- Ensure the transmission rod is straight and level between the two columns.

Step 3: Using the 5mm Allen key (H3), secure the beam (12) to the left and right columns (3, 4) with MS screws (E).

Step 4: Using the 5mm Allen key (H3), secure the back of the front left and right brackets (8, 9) to the left and right columns (3, 4) with 16mm M6 screws (C). Using the 4mm Allen key (H2), secure the side of the front left and right brackets (8, 9) to the left and right columns (3, 4) with 12mm M6 screws (B).
Note:
Do not tighten the screws all the way. Leave a 4mm gap between the screw and bracket. 
Step 5: Align and insert the holes on the rear left and rear right brackets (6, 7) into the gap between the 16mm M6 screws (C) created in the previous step on the front left and right brackets (8, 9).
Slide the rear left and rear right brackets (6, 7) down then using a 4mm Allen key (H2), tighten the 16mm M6 screws (C). 
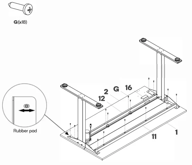
Step 6: Hang the adapter holder (16) over the beam (12). Align the rear and front tabletops (1, 2) then using a drill (not supplied), secure the rear and front tabletops (1, 2) to the assembly with ST 4.8 screws (G).
Align the rear support beam (11) with the rear tabletop (1). Using a drill, secure with ST 4.8 screws (G).
Note:
When aligning the tabletops, the rubber pads on the brackets can be moved left and right for finer adjustments.
Step 7: Using a drill, connect the control box (18) to the front tabletop (2) with ST 4.2 screws (F). Insert the adapter (15) into the adapter holder (16).
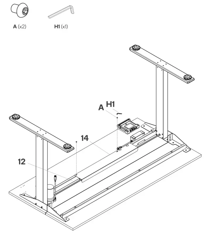
Step 8: Using the 2.5mm Allen key (H1), secure the baffle (14) to the beam (12) with M4 screws(A). 
Step 9: Plug one end of the switch cord (19) into the DC port on the control box (18) and plug the other end into the adapter (15). Plug one end of the power cord (17) into the adapter and the other end into a power socket.
Plug one end of the extension cord (20) into the M1 port on the control box (18). Plug the other end into the cable attached to the motor.
Use the cable tie (I) to keep the cables on the tabletop organised.
Note:
Do not turn the power on if the cables are not connected.
The table is now assembled. Use the steps on the following pages if you would like to table to have a split setup. 
SPLIT SETUP ASSEMBLY
Step 1: Using the 4mm Allen key (H2), slightly loosen the 12mm M6 screws (B) on the rear left and right brackets (6, 7). Lift and detach the front left and right brackets (8, 9) along with the rear tabletop (1). This detaches the rear tabletop assembly.
Step 2: Further loosen the 12mm M6 screws (B) to a clearance of 6mm. Slide the desk splitting brackets (10) onto the 12mm M6 screws (B) to the appropriate hole position you would like the height of the split section of the desk to be.
Step 3: Using the 4mm Allen key (H2), secure the desk splitting brackets (10) with 12mm M6 screws (B), leaving a 4mm clearance between the 12mm M6 screws (B) and desk splitting brackets (10). 
Step 4: Place and slide the rear tabletop assembly onto the desk splitting brackets (10). Using the 4mm Allen key (H2), tighten the rear tabletop assembly onto the desk splitting brackets (10) with the 12mm M6 screws (B) left with a clearance from the previous step.

OPERATION
Switch on the power at the power socket.
Control box
The control box features six buttons. The buttons and their functions are listed below.
| Name | Icon | Description |
| Up button | ▲ | •Pressing this buttoli adjusts the desk height up. •The height of the desk will be shown on the LED display. |
| Down button | ▼ | •Pressing this button adjusts the desk height down. •The height of the desk will be shown on the LED display. |
| Height save buttons | 1 | Saves the height of the user’s choice. Four save profiles available (1-4) |
| 2 | ||
| 3 | ||
| 4 |
Saving the height
The height of the desk can be saved using the four height save buttons to allow for easy height readjustment.
- To save a height, press and hold height save button 1 for three seconds. The display will then show •5-1′ indicating the current height of the desk has been saved successfully.
- Height save buttons 2, 3, and 4 all have the same function. Once saved the display will show’
‘ respectively. This allows for up to 4 height profiles to be saved onto the desk. - To activate a saved height, press the corresponding height save button and the desk will adjust to the saved height.
Anti-collision
This desk features anti-collision which prevents the desk from damaging nearby objects. If the desk makes contact with an object when adjusting, the desk will automatically rebound to prevent damage.
The sensitivity of the anti-collision function can be adjusted to four levels. These levels will be reflected on the LED display:
| Display shows | Description |
| The anti-collision function is turned off. Low sensitivity Medium sensitivity High sensitivity |
The desk will come default with high sensitivity. To adjust the sensitivity, simultaneously press and hold the up (▲) and down (▼) buttons for 5 seconds.
Reset
Resetting the desk will remove all saved heights and anti-collision settings.To reset the desk:
- Press and hold the height save 3 and 4 buttons for at least 3 seconds. The display will then show ·9f:
- Press and hold the down button (▼) until the desk reaches its lowest position and rebounds.
- Release the down button (▼) and the desk will be reset.
CLEANING & CARE
Ensure the desk is turned off and the power cord is unplugged before cleaning.
Using a cloth dampened with water, wipe off the dust on the surface of the desk.
Notes:
- Do not allow water to drop into the electrical parts of the desk.
- Do not use corrosive or abrasive materials when cleaning the desk.
TROUBLESHOOTING
| Problem | Solution |
| There is no response while pressing and holding the down button to reset. | • Check if all cables are connected welt. • Stop use and contact help.Kogan.com for assistance. |
| There is no response when pressing the up and down buttons whilst switched on. | • Check if all the cables are connected welL • Stop use and contact help.Kogan.com for assistance. |
| The speed of the height adjustment is slower than usual. | • Ensure the desk is not overloaded (holding more than 60kg). • Contact help.Kogan.com for assistance. |
| The motor is not moving correctly. | Stop use and contact help.Kogan.com for assistance. |
| The desk can go down but not up. | • Reset the desk. • Contact help.Kogan.com for assistance. |
| The desk is moving down. | •Ensure the desk is not overloaded (holding more than 60kg). •Contact help.Kogan.com for assistance. |
| Overworking, height adjustment not working. | •Turn off the power and restart after 18 minutes. •Contact help.Kogan.com for assistance. |
| The display is showing ‘E01’. | Turn off the power and restart after 18 minutes. |
| The display is showing ‘E02’. | |
| The display is showing `E03′. | •Follow the steps to reset the desk then turn off the power at the socket for at least 10 seconds before switching back on. ‘RV’ should then be displayed. •If not, stop use and contact help.Kogan.com for assistance. |
| The display is showing 1E05′. | |
| The display is showing ‘E07’. |
Disposal
![]() | This marking indicates that this appliance should not be disposed with other household wastes. To prevent possible harm to the environment or human health from uncontrolled waste disposal, recycle it responsibly to promote the sustainable reuse of material resources. |
SPECIFICATIONS
| Lifting mechanism stages | 2 |
| Power | 220-240V |
| Adjustable height range | 730-1230mm (including desktop) |
| Maximum load capacity | Rear: 15kg (rear) Total: 60kg (total) |
| Height differences available between split desks | 0, 80, 105,130mm |
| Tabletop dimensions | Front tabletop: 1200 x 350 x 16mm Rear tabletop:1200 x 250 x 16mm |
NOTES
Need more information?
We hope that this user guide has given you
the assistance needed for a simple set-up.
For the most up-to-date guide for your product,
as well as any additional assistance you may require,
head on line to help.kogan.com
kogan.com


















