ERGOLUX Dual Motor 3 Section LEG Standing Desk User Guide
SAFETY & WARNINGS
- Read all instructions before use and retain this user guide for future reference.
- Read all following safety precautions carefully before use.
- Your equipment is intended for use in cool, dry conditions. You should avoid storage in extreme cold, hot or damp areas as this may lead to corrosion and other related problems. Operating temperature 0-40°C
- If the power cord is damaged, cease use immediately and contact Kogan.com for support.
- Unplug the power cord before cleaning. Wipe the dust from the surface using a slightly damp cloth. Ensure any water does not come in contact with any internal parts or connectors.
- Do not use any corrosive or abrasive materials to clean the product.
- The control box contains electronic components, metals, plastics, wires etc. ensure it is disposed of in accordance with your local environmental legislation. Do not dispose with general household waste.
- Ensure this product is completely and correctly assembled before use.
- Be familiar with all functions and program settings of the product before first use.
- The desk will emit a slight noise caused by the V-ribbed belt or brake system. This is completely normal and will not affect the product’s operation or performance.
- This product can be used by children aged from 8 years and above and persons with reduced physical, sensory or mental capabilities or lack of experience and knowledge if they have been given supervision or instruction concerning use of the appliance in a safe way and understand the hazards involved.
- Children should not be allowed play with this product.
- Cleaning and user maintenance should not be performed by children without supervision.
- Retain the original packaging where possible, to use for any future transportation of this product.
COMPONENTS
Lay all components out on a clean floor and ensure all parts are included. If any pieces are missing, check all packaging thoroughly, then contact help.Kogan.com for assistance.
- Feet (x2)

- Lifting column (x2)

- Connection rod

- Left support beam

- Right support beam

- Short beam (x2)

- Side bracket (x2)

- Power adapter

- Power adapter bracket

- Handset

- Control box

- Power cord

- Power adapter cable

Hardware list
- M6 (x4)

- M6 (x8)

- M6 (x8)

- Self-tapping screw (x6)

- Cable tie (x6)

- Self-tapping screw (x16)

- Allen key

ASSEMBLY
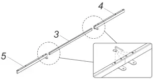
Step 1: Installing the supporting beam and the side bracket.
- Connect the connection rod (3) to the left support beam (4) and right support beam
(5) and tighten using with the Allen key (G).
Note: If the connecting rod cannot be inserted into the supporting beam, loosen the screws on the beam. - Using M6 screw (A) attach the side brackets (6) to the left supporting beam (4) and the right supporting beam (5) and tighten using the Allen key (G).
- M6 (x4)

- Allen key



- M6 (x4)
Step 2: Installing the lifting columns.
Use the M6 screw (B) to attach the lifting column (2) to the left supporting beam (4) and the right supporting beam (5) and tighten them using the Allen key (G).
- M6 (x8)

- Allen key


Step 3: Installing the feet.
Attach the feet (1) to the lifting column (2) using the M6 screws (C) and tighten using the Allen key (G).
- M6 (x8)

- Allen key


Step 4: Installing the power adapter bracket.
- Using the Allen key (G) adjust the distance of the supporting beams (4) to suit the tabletop.
- Attach the power adapter bracket (9) in between the tabletop and supporting beam (4)
- Allen key


- Allen key
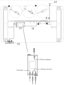
Step 5: Installing the tabletop, handset, control box and adapter.
- Attach the tabletop to the standing desk using the self-tapping screws (F).
- Attach the control box (11) to the tabletop in the position shown using the self-tapping screws (F).
- Attach the handset (10) to the tabletop using the self-tapping screws (F) and insert the power adapter (8) into the power adapter bracket (9).
- (x14)

- Drill or impact driver


- (x14)
Step 6: Connecting the control box.
- Following the diagram below, connect the lifting column connectors to the control box (9).
- Connect the handset connector (10) to the control box (11).
- Connect the power adapter cable (13) to the control box (11).
- Connect the power adapter cable (13) to the power adapter (8).
- Connect the power cord (12) to the power adapter (8).

Step 7: Cable management.
- Remove the adhesive backing and attach the supplied cable ties (E) to the underside of the tabletop.
- Tidy up and secure all the cables in place using the cable ties (E).
- Cable ties (x6)


- Cable ties (x6)
OPERATION
Handset Controls
Button | Description |
▲ | Raise the desk height |
▼ | Lower the desk height |
| 1 | First user defined height position |
2 | Second user defined height position |
3 | Third user defined height position |
M | Memory button |
| A | Alarm button |
Functions
Adjusting the height:
Press the ▲ or ▼ buttons to adjust the height of the desk. The LED display will show the current height.
Memory function:
- Once the desk has been set to the desired height, press the “Memory” button to save the height. The LED will display
. - Press “1”, “2” or “3” to save the height to the corresponding button. The LED will display
or
. - Pressing “1”, “2” or “3” will automatically adjust the desk to the height you saved.
Stand up alarm:
- Pressing the “Alarm” button will enable the stand up alarm function. The LED will display
or
. - After 2 seconds the LED display will flash. By default the stand up alarm timer is set to 45 minutes. Use the ▲ or ▼ buttons to adjust the timer to the desired length. Press any of the other buttons or wait 5 seconds to save the timer.
- During the countdown, any operation will reset the timer. When the countdown reaches the set time the LED will display
and a 10 second alarm tone will play. Pressing any button within the 10 seconds will reset the stand up alarm timer. If no buttons are pressed within the 10 seconds, a follow up alarm tone will play in 5 minutes. If no buttons are pressed during the follow up alarm, the stand up alarm function will be deactivated. - To deactivate the stand up alarm, press and hold the “Alarm” button for 3 seconds. The LED will display
or
.
Anti-collision adjustment:
This desk features an anti-collision function. During height adjustment if the tabletop comes in contact with an object it will stop and reverse to avoid damage.
- By default, the anti-collision sensitivity is set to A-3 (high). Press and hold ▲ ▼ buttons simultaneously for 5 seconds to change the sensitivity levels of the anti- collision function.
Note: If the LED does not display any codes after pressing the ▲ ▼ buttons, the desk does not feature the anti-collision function. - Each time you press and hold the ▲ ▼ buttons the sensitivity level will cycle in the following order: A-3, A-2, A-1, A-0. Refer to the table below for sensitivity levels.
Setting
Sensitivity level A-3 High
A-2
Medium A-1 Low
A-0
Off
SPECIFICATIONS
Column stage: 3
Rated voltage: AC 100V-240V, 50/60Hz
Max. weight capacity: 100KG
Height range: 620-1270mm (without tabletop)
Width range: 1100-1700mm
TROUBLESHOOTING
The following tips will help you detected and eliminate some common faults and errors. If the problem cannot be fixed or the fault is not listed below, please contact help.Kogan.com for support.
Problem | Solution |
| No response after pressing and holding the down arrow. | Check if all the cables be connected well. |
No response after pressing up or down arrow. | Check if all the cables be connected well. |
| Rising speed is low. | Check if overloaded, max loading: 100kg. |
Desk will go down but up. | Check the area for any obstructions. |
| The desk is sliding down on its own. | Check if overloaded, max loading: 100kg. |
Controls are unresponsive after lots of use. | Disconnect the power and wait for 18mins before re-connecting the power. |
| Not enough up & down height. | Press and hold the “M” and “3” buttons together until you hear two beeps. This will restore factory settings. |
LED displays | Press and hold the ▼ button. The desk will move into the lowest position and then reverses until it comes to a stop. When the LED displays the height number, release the ▼ button. If the desk doesn’t operate normally and the LED displays “E01” or “E02” after the reset, check all the cable connections, turn off the power outlet for 10 seconds and try again in 18 minutes. If it still doesn’t operate normally contact help.Kogan.com for support. |
Disposal
This marking indicates that this appliance should not be disposed with other household wastes. To prevent possible harm to the environment or human health from uncontrolled waste disposal, recycle it responsibly to promote the sustainable reuse of material resources.
Need more information?
We hope that this user guide has given you the assistance needed for a simple set-up. For the most up-to-date guide for your product, as well as any additional assistance you may require, head online to help.kogan.com.
























































