ERGOLUX ELGCHRFBRA Reaper Gaming Chair

COMPONENTS
Lay all components out on a clean floor and ensure all parts are included. If any pieces are missing, check all packaging thoroughly, then contact www.help.Kogan.com for assistance.




ASSEMBLY
Step 1:
Step 2:
Step 3:
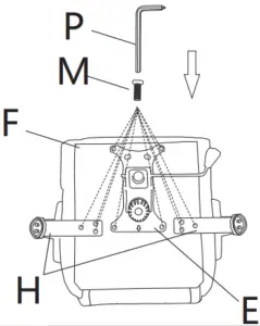
Step 4:
Step 5:
Step 6:
NOTES
__________________________________________________________________________________________________________________________________________________________________________________________________________________________________________________________________________________________________________________________________________________________________________________________________________________________________________________________________________________________________________________________________________________________________________________________________________________________________
Need more information?
We hope that this user guide has given you the assistance needed for a simple set-up. For the most up-to-date guide for your product, as well as any additional assistance you may require,
head online to www.help.kogan.com
















