USER GUIDE
KEVLAR GAMING CHAIR
ELGCHRPUR1A, ELGCHRPUB1A, ELGCHRPUBBA, ELGCHRPUBGA, ELGCHRPUBEA & ELGCHRPUPWA
COMPONENTS
Lay all components out on a clean floor and ensure all parts are included. If any pieces are missing, check all packaging thoroughly, then contact help.Kogan.com for assistance.

ASSEMBLY
Step 1:
Step 2:
Step 3:
Step 4:
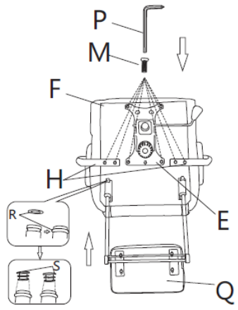
Step 5:
Step 6:
NOTES
Need more information?
We hope that this user guide has given you the assistance needed for a simple setup. For the most up-to-date guide for your product, as well as any additional assistance you may require, head online to help.kogan.com
kogan.com
















