kogan ELDMSHCHHBA Ergolux Designer High Back Mesh Office Chair

COMPONENTS
ASSEMBLY
Step 1: Attach the caster wheels (G) to the base (C).
Step 2: Place the gas strut (E) onto the base assembly.

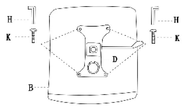
Step 3:

Step 4:

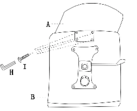
Step 5: Fit the armrests (L) onto the chair seat using the Allen key (H) to secure the 6x screws (I).
Step 6: To finish the assembly, lift the seat assembly up and lower it into position onto the gas strut and base assembly. Press down firmly. When weight is applied to the chair, it will attach to the base.






















