RVERHBBPL2M02AA321ZZ Versa High Back Mesh Chair

User Manual
- WARRANTY CARD (Register Now)
- ASSEMBLY INSTRUCTIONS
- USER MANUAL
PARTS


STEP 1

STEP 2

STEP 3
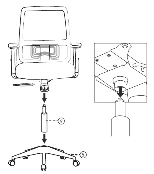
Fix Gas-Lift and Base

USER MANUAL



ACTIVATE YOUR 3 YEAR WARRANTY NOW
Register within 7 days after receiving the product to validate warranty
Scan the below QR code to register

OR
www.featherlitestore.com/register
Use the code LOYAL to get a 7.5% discount on your next purchase on the official website.
080-4719-1010


















