SNAN TF-3333C2 Adirondack Chair User Manual
ASSEMBLY INSTRUCTIONS
Before You Begin:
Please identify all component parts and hardware pieces required before you begin. Carefully remove all of the components from the packaging and set aside for assembly. Assemble on a soft surface to prevent scratching during assembly.
Caution:
Tighten all components securely before use. Failure to do so may result in personal injury. DO NOT use any sharp objects to open plastic wrapped components as damage to product or components may result.
Warning:
CHOKING HAZARD – Small Parts. Adult Assembly Required.
Injury may result from tipping furniture. You must install the Tipping Restraint Hardware with the unit to prevent the unit from tipping and causing any accidental injury, instability, death or damage. The tipping restraint is intended only as a safety measure, it is not a substitute for proper adult supervision.
This tipping restraint is not an earthquake restraint. If you wish to add the extra security of earthquake restraints, they must be purchased and installed separately.
Serious or fatal crushing injuries can occur from furniture tipping over. To prevent furniture from tipping over it must be permanently fixed to the wall. Fixing devices for the wall are not included since different wall materials require different types of fixing devices. Use fixing devices suitable for the walls in your home.
Failure to detach this restraint before moving furniture may result in injury or damage. DO NOT ALLOW CHILDREN TO CLIMB ON FURNITURE
Product Overview

Parts









HARDWARE INCLUDED
Note: Hardware not shown to actual size
- AA

- BB

- CC

- DD

- EE

- FF

- GG

- HH

Part | Description | Quantity |
AA | Screw(3.5X40) | 6 |
BB | Bolt(M6X60) | 2 |
CC | Bolt(M6X70) | 2 |
DD | Bolt(M6X60) | 6 |
EE | Bolt(M6X45) | 4 |
FF | Bolt(M6X30) | 1 |
GG | Screwdriver | 1 |
HH | Screwdriver | 1 |
- Attach the rear seat slat (H) to the seat (B) with screws (AA).

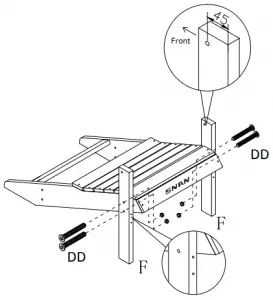
- Attach the front legs (F) onto the seat (B) with bolts (DD).

- Attach vertical back support (E) onto the seat (B) with bolts (EE).

- Attach the armrest (C) and (D) on the legs (F) with bolts(DD)

- Attach the back (A) bottom slat to the seat (B) with bolts (BB).

- . Attach the armrests (C&D) to the back supports with bolts (CC).

- Attach the cross beam (G) to the front legs (F) with bolts (AA).

- Attach the cup holder (I) to the right armrest (D) with bolts (FF).

- Please tighten all screws and bolts except the cup holder

Aukey Technology Co.,Ltd
E-mail: [email protected]
Room 102, Building9, Huanan Avenue No.1 Huanan City International Printing paper packaging Logistics Zone (a), Pinghu Town Longgang District, Shenzhen, Guangdong, China 518000
































