Operation Instructions
Please do not assemble until receiving the complete 2 packages. If you have not received the complete 2 packages, please be sure to contact us.
![]()

PP199691 & PP199692
Lift Chair
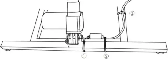
NOTE

Please don’t cut the white plastic ribbon.
ELECTRIC LIFTING & RECLINING

Operation Instructions
- Plug the direct current end of the cord into the AC Adapter outlet, then insert the AC adapter plug into a wall outlet for power.
- Press the button
to recline the chair back and foot-rest. - Press the button
to return the chair back and foot-rest to their original position. Push the button
a second time to lift the entire chair. - Press the button
to lower the chair and return it to the original position.
PRODUCT FEATURES
- Power Reclining
- Power Lifting
IMPORTANT SAFETY INSTRUCTIONS
When using an electrical appliance, basic precaution should always be followed, including:
- Always unplug the lift chair from the power source after use, and before cleaning.
- Do not touch lift chair if large amounts of liquid have spilled on it. Unplug immediately.
- The chair should never be left unattended when plugged in. Unplug from the outlet when not in use or before putting on or taking off parts or attachments.
- Do not use outdoors.
- Do not carry this appliance by the attached power cord; do not use it as a handle.
- Keep the cord away from heated surfaces.
- Close supervision is necessary when this appliance is used by or near children, invalid or disabled persons.
- This unit is not a toy. Children should not use or play with it.
- Do not operate where aerosol (spray) products are being used or where oxygen is being administered.
- Do not use near eyes or other highly sensitive areas.
- To disconnect, press the OFF button, make sure all functions are stopped, then remove the plug form the outlet.
- Use this appliance only for its intended use as described in this manual. Do not use attachments that haven’t been provided with the unit. This appliance is not intended use for persons (including children) with reduced physical, sensory or mental capabilities or, lack of experience and knowledge, unless they have been given supervision or instruction concerning use of the appliance by a person responsible for their safety, children should be supervised to ensure that they do not play with the appliance.
HEALTH CAUTION
- If you have any concerns regarding to your health, consult your doctor before using this product.
- Individuals with pacemakers should not use this product.
- If you have pain in a muscle or joint after using for a prolonged period of time, discontinue using and consult your doctor. Persist pain could be a symptom of a more serious condition.
MAINTAINANCE INSTRUCTIONS
TO STORE:
Place unit in its box or safety dry and cool place. Avoid putting chair in contact with sharp edges or pointed objects which might cut or puncture the fabric. Do not wrap attached power cord around the unit. DO NOT pull the unit by power cord.
TO CLEAN:
- Ensure the unit is unplugged from the power source, and allow the unit to cool down before cleaning.
- Do not use any liquid to clean. Clean fabric cover by wiping with a damp sponge, using a mild detergent or suds. Pat with clean, dry cloth.
- Do not use any abrasive cleaners, brushes, gasoline, kerosene, glass furniture polish, paint thinner or water hotter than 120°F to clean the unit.
OPERATING INSTRUCTION

Press the
button to make the sofa lifted.

Press the
button to recline the sofa.
TECHNICAL SPECIFICATIONS
Model: PP038818
Rated Voltage: 100V-240V~
Rated Frequency: 50Hz/60Hz
Assembly Instructions

Please read the following instructions prior to assembling this product:
- To avoid damage, assemble this production a non-abrasive surface such as carpet.
- Make sure all bolts are tightly fastened before use.
- For home use or light commercial use only.
- Please make sure you have all parts before assembly.
GENERAL ASSEMBLY INFORMATION GUIDE
Parts List (BOX: PP199691)
D![]() | B
| C![]() |
| QTY 1 pc | QTY 1 pc | QTY 1 pc |
| Parts List (BOX: PP199691) | ||
A![]() | E
| F![]() |
| QTY 1 pc | QTY 4 pcs | QTY 4 pcs |
G![]() | H
| I
|
| QTY 1 pc | QTY 1 pc | QTY 1 pc |
J![]() | ||
| QTY 2 pc | ||
Step 1
- Place the Seat (A) on its back on a flat smooth surface. Take out the bag which holds a rectangle box.
- Take out the transformer (G 4pcs) & wire plug (H 4pcs) universal wheel with bolts (L 2pcs) from the bottom of the seat.

Step 2
Place the main seat(A) on it’s back, and fixing the two universal wheel with bolts as below:

Step 3
Attach handrest (B&C) to seat (A) by aligning the metal grooves on handrest to brackets on the sides of the seat (A) as shown. Ensure the handrest (B&C) slides down fully over the brackets on the right side and left side of the seat (A) respectively.

Step 4
Ensure the backrest (D) slides down fully over the brackets on the seat (A).

Warnings
- Sit down in the chair gently. To avoid tipping over, do not throw yourself into the chair. Move the chair into the reclining position slowly, making sure that no children or pets are in close proximity. Do not allow children to play on or around the chair, particularly when it is in an open position.
- Close the recline completely before getting out of it.
- Never sit on the footrest when it is open, even if it is a child.
- To eliminate the risk of tipping over, do not sit on the arms or footrest of the chair.
- This chair is designed to be used by 1 adult at a time.
- Maximum weight capacity is 330 LBS, Do not allow any person who over 330 LBS to sit on the recliner.
- Please forbid people with the following ailments from using this sofa:
Those people with severe symptoms of heart disease, high blood pressure, cerebral thrombosis and others who are sensitive to heat or completely insensitive to heat, those with brittleness or have issues with waist support pregnant women, children and others where it has been determined they are not suitable to use this product under the guidance of doctors. - To fully recline the sofa, ensure the sofa well, you need to put the sofa at least 100 cm away from the wall or any other obstacle.
- Product cannot touch water, fire, etc. Product can also not come in contact with sharp objects (knives, nails, etc.)
Maintenance Manual Instructions
- To avoid dropping, you should carry the sofa carefully.
- If you find dirt and or stains on the chair, spray the sofa with a sofa specific cleaner then use a sponge or cloth to wipe the dirt away. Do not use water, soapy water or cleaner with waxed wooden areas. Take care to wipe the sofa carefully and gently.
- Do not put the sofa in an area with direct sunlight and do not put the sofa directly in front of an air conditioner, this will fade the upholstery and make it brittle.
How to Disassemble
Please find a strong tool top rod the small piece of metal grooves, then the backrest will be pulled out. The tool is not included.






























