
Item # 000-000
Model #VSCMWE11S2SW-10
USE AND CARE GUIDE
______________________
Microwave Oven

Questions, problems, missing parts? Before returning to the store, call VISSANI Customer Serive
8 a.m -8 p.m., EST, Monday-Friday, 8 a.m.-6 p.m., EST, Saturday
1-855-VISSANI
THANK YOU
We appreciate the trust and confidence you have placed in Vissani through the purchase of this microwave. We strive to continually create quality products designed to enhance your home. Visit us online to see our full line of products available for your home improvement needs.
Thank you for choosing Vissani
Safety Information
WARNING: Precautions to Avoid Possible Exposure to Excessive Microwave Energy
- Do not attempt to operate this oven with the door open since open-door operation can result in harmful exposure to microwave energy. It is important not to defeat or tamper with the safety interlocks.
- Do not place any object between the oven front face and the door or allow soil or cleaner residue to accumulate on sealing surfaces.
- Do not operate the oven if it is damaged. It is very important that the oven door close properly and that there is no damage to the
a) Door (including any dents),
b) Hinges and latches (broken or loosened),
c) Door seals and sealing surfaces.
The oven should not be adjusted or repaired by anyone except qualified service personnel.
CALIFORNIA PROPOSITION 65 WARNING
WARNING: Cancer and Reproductive Harm-WWW.P65Warnings.ca.gov.
General Warning
To reduce the risk of burns, electric shock, fire, injury to persons or exposure to excessive microwave energy:
- Read all instructions before using the appliance.
- Read and follow the specific “PRECAUTIONS TO AVOID POSSIBLE EXPOSURE TO EXCESSIVE MICROWAVE ENERGY” on page 2. This appliance must be grounded. Connect only to properly grounded outlet. See “GROUNDING INSTRUCTIONS ” on page 4.
- Do not operate the oven when empty. Install or locate this appliance only in accordance with the provided installation instructions.
- Some products such as whole eggs and sealed containers -for example, closed glass jars- are able to explode and should not be heated in this oven.
- Use this appliance only for its intended use as described in this manual. Do not use corrosive chemicals or vapors in this appliance. This type of oven is specifically designed to heat, cook, or dry food. It is not designed for industrial or laboratory use.
- As with any appliance, close supervision is necessary when used by children.
- To reduce the risk of fire in the oven cavity:
1. Do not overheat the liquid. Carefully attend to the appliance when paper, plastic, or other combustible materials are placed inside the oven to facilitate cooking.
2. Remove wire twist-ties from paper or plastic bags before placing bag in oven.
3. If materials inside the oven should ignite, keep oven door closed, turn oven off using the circuit breaker panel, and call emergency services. - Do not use the cavity for storage purposes. Do not leave paper products, cooking utensils or food in the cavity when not in use.
- Liquids, such as water, coffee, or tea are able to be overheated beyond the boiling point without appearing to be boiling due to surface tension of the liquid. Visible bubbling or boiling when the container is removed from the microwave oven is not always present. This could result in very hot liquids suddenly boiling over when a spoon or other utensil is inserted into the liquid.
- To reduce the risk of injury to person:
1. Do not overheat the liquid.
2. Stir the liquid both before and halfway through heating it.
3. Do not use straight-sided containers with narrow necks.
4. After heating, allow the container to stand in the microwave oven for a short time before removing the container.
5. Use extreme care when inserting a spoon or other utensil into the container. - Do not heat oil or fat for deep-frying. It is difficult to control the temperature of oil in microwave oven.
- Do not cover or block any openings on the appliance.
- Do not operate this appliance if it has a damaged cord or a plug, if it is not working properly or if it has been damaged or dropped.
- Do not immerse cord or plug in water. Keep cord away from heated surface. Do not let cord hang over edge of table or counter.
- This appliance should be serviced only by qualified service personnel. Contact nearest authorized service facility for examination, repair, or adjustment.
- When cleaning surfaces of door and oven that comes together on closing the door, use only mild, non-abrasive soaps, or detergents applied with a sponge or soft cloth.
- Oversized food or oversized metal utensils should not be inserted in a microwave/toaster oven as they may create a fire or risk of electric shock.
- Do not store or use this appliance outdoors. Do not use this product near water, for example, near a kitchen sink, in a wet basement, near a swimming pool, or similar locations.
- Do not clean with metal scouring pads. Pieces can burn off the pad and touch electrical parts involving a risk of electric shock.
- Do not use paper products when appliance is operated in the toaster mode.
- Do not store any materials, other than manufacturer’s recommended accessories, in this oven when not in use.
- Do not cover turntables, pans or any other part of the oven with metal foil. This will cause overheating of the oven.
- This equipment has been tested and found to comply with Part 18 of the FCC Rules. Operation is subject to the following two conditions: (1) This device may not cause harmful interference, and (2) this device must accept any interference received, including interference that may cause undesired operation.
CAUTION: Changes or modifications not approved by the party responsible for compliance could void the user’s authority to operate the product. This equipment generates, uses and can radiate radio frequency energy and, if not installed and used in accordance with the instructions, may cause harmful interference to radio communications. However, there is no guarantee that interference will not occur in a particular installation.
If this equipment does cause harmful interference to radio or television reception, which can be determined by turning the equipment off and on, the user is encouraged to try to correct the interference by one or more of the following measures:
- Reorient or relocate the receiving antenna.
- Increase the separation between the equipment and receiver.
- Connect the equipment into an outlet on a circuit different from that to which the receiver is connected.
- Consult the dealer or an experienced radio/TV technician for help.
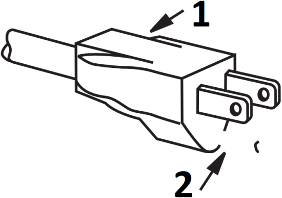
IMPORTANT: Important Grounding Instructions
This appliance must be grounded. In the event of an electrical short circuit, grounding reduces risk of electric shock by providing an escape wire for the electric current. This appliance is equipped with a cord having a grounding wire with a grounding plug. The plug must be plugged into an outlet that is properly installed and grounded.
Consult a qualified electrician or serviceman if the grounding instructions are not completely understood, or if doubt exists as to whether the appliance is properly grounded. If it is necessary to use an extension cord, use only a 3-wire extension cord that has a 3-blade grounding plug and a 3-slot receptacle that will accept the plug on the appliance. The marked rating of the extension cord shall be equal to or greater than the electrical rating of the appliance.


- 3-Pronged Plug
- Ground Plug
- 3-Prong Receptacle
Electrical Requirements
The electrical requirements are a 120 volt 60 Hz, AC only, 20 amp. It is recommended that a separate circuit serving only the oven be provided. The oven is equipped with a 3-prong grounding plug. It must be plugged into a wall outlet properly installed and ground.
Power Cord
- A short power supply cord is provided to reduce the risks resulting from becoming entangled in or tripping over a longer cord.
- Longer cord sets or extension cords are available and may be used if care is exercised in their use.
- If long cord or extension cord is used:
a) The marked electrical rating of the cord set or extension cord should be at least as great as the electrical rating of the appliance.
b) The extension cord must be a grounding-type 3-wire cord, and the longer cord should be arranged so that it will not drape over the countertop or tabletop where it can be pulled on by children or tripped over accidentally.
Installation
Make sure that all the packing materials are removed from the inside of the door.
This microwave oven must be placed on a flat, stable surface.
For correct operation, the oven must have sufficient airflow. Allow minimum 8 in (20.32cm) of free space necessary above the top surface of the oven and 2 in. (5.08cm) at both sides. Do not cover or block any openings on the appliance. Do not remove feet.
Only use the appliance on a countertop over 3 ft. (91.6cm) above the floor.
Do not place the oven where heat, moisture, or high humidity is generated, or near combustible materials.

Make sure that the power cord is undamaged and does not run under the oven or over any hot or sharp surface.
The socket must be readily accessible so the microwave oven can be easily unplugged in an emergency.
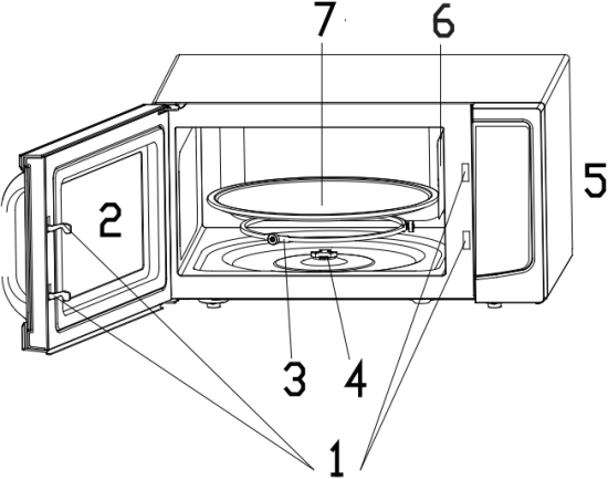
NOTE: Hardware not shown to actual size.

| Part No. | Description | Quantity |
| 1 | Safety Interlock System | 1 |
| 2 | Observation Window | 1 |
| 3 | Roller Ring | 1 |
| 4 | Plastic Shaft | 1 |
| 5 | Control Panel | 1 |
| 6 | Wave Guide Cover | 1 |
| 7 | Glass Turntable | 1 |
Control Panel Operation

AUTO COOK
Use to set the automatic sensor cook programs (See Page 8).
TIMER
The TIMER function can be used alone, even in the process of cooking.
POWER LEVEL
Use to set microwave power levels.
CLOCK
Press to set the clock function
TIME DEFROST
Press to set defrosting time.
TIME COOK
Use for multi-stage cooking. It enables cooking at multiple power/time settings.
WEIGHT DEFROST
Touch to set the weight of the food to be defrosted.
Number Pad 1-6
Express cooking, press 1-6 to automatically begin cooking between 1 and 6 minute increments.
STOP/CLEAR/LOCK
Press to clear all previous settings before cooking starts. Press once to pause current cooking program or press twice to cancel the program. Or press and hold 3 seconds for child lock.
START/+30 SEC
Press to start a cooking program. It is also used to set quick start function or to increase cooking time during cooking.
Operation Instruction
1. Setting The Clock
This is 12 and 24 hour clock, and you can select which by pressing CLOCK pad. During cooking, the current time can be seen by touching CLOCK pad.
EXAMPLE: How to set the oven clock time at 8:30.
1) In standby mode, touch CLOCK pad once to select 12 hour clock.
2) Use the number pads to enter the time (touch number pads 8,3,0 in order to enter 8:30).
3) Press START/+30SEC to confirm.
2. Setting The Kitchen Timer
In standby state or during cooking, touch TIMER pad to set kitchen timer.
Example: How to set 30 minutes timer.
1. Touch TIMER pad once.
2. Use the number pads to enter time. The longest time is 99 minutes 99 seconds.
3. Touch START/+ 30 SEC pad.
NOTE: The TIMER function can be used in any cooking process. You can check the countdown time by pressing TIMER pad, but if STOP/CLEAR pad is pressed when the display shows the time, the function is cancelled.
3. Start/ Add 30 Sec
1) Touch once and cooking will start at full power level immediately for 30 seconds. Touching this button repeatedly will add 30 seconds each time.
2) During the time cook and time defrost, you can add 30 seconds for each push.
This function will not work for auto cooking menus and defrost program.
4. Cooking Program
1) Touch the TIME COOK pad.
2) Touch the number pad to enter desired cooking time. The maximum number can be entered is 99 min. 99 sec.
3) Touch the POWER LEVEL pad.
4) Use the number pads to enter the power level as shown in the table below.
Power Level Chart:
| Power Level | Display |
| 100% | P100 |
| 90% | P-90 |
| 80% | P-80 |
| 70% | P-70 |
| 60% | P-60 |
| 50% | P-50 |
| 40% | P-40 |
| 30% | P-30 |
| 20% | P-20 |
| 10% | P-10 |
Touch START/+30 SEC pad to start.
5. Setting Time Defrost
1) Touch the TIME DEFROST pad.
2) Enter desired defrosting time by touching the correct number pads. The longest time you can set is 99 min. 99 sec.
3) Touch the START/+30 SEC pad.
NOTE: During defrosting program, the system will pause and sound beeps to remind user to turn food over, and then touch START/+30SEC pad to resume.
6. Setting Weight Defrost
1) In standby mode, touch the WEIGHT DEFROST pad to defrost food by weight.
2) Enter food using the number pad, and touch START/+30 SEC pad to start.
Maximum weight is 64oz.
NOTE: During defrosting program, the system will pause and sound beeps to remind user to turn food over, and then touch START/+30SEC pad to resume.
7. AUTO Cooking Program
For the following foods or cooking operation, you do not need to input cooking power and time. It is sufficient to indicate the type of food that you want to cook as well as the weight or servings of this food.
1. In standby mode, press the corresponding menu button once.
2. Press the button repeatedly to enter food weight or servings.
3. The oven starts cooking automatically 3 seconds later.
Auto Program Food Chart
| Menu | Weight/Serving | Time |
| POTATO | 1 Pot (8oz/serving) | 4:00 |
| 2 Pot | 7:00 | |
| POPCORN | 3.5oz | 2:00 |
| PIZZA | 6 oz | 0:40 |
| 11 oz | 1:10 | |
| 16 oz | 1:40 | |
| BEVERAGE | 1-pc (200ml/serving) | 1:20 |
| 2-pc | 2:20 | |
| 3-pc | 3:20 | |
| FROZEN DINNER | 9 oz | 5:00 |
| 18 oz | 9:00 | |
| REHEAT | 7 oz | 1:20 |
| 11 oz | 1:50 | |
| 14 oz | 2:20 | |
| 18 oz | 2:50 | |
| 21 oz | 3:20 | |
| 25 oz | 3:50 | |
| 28 oz | 4:20 |
8. Express Cook
Cooking will start immediately after touching the number pad (1-6). For example. if you want to set the express cooking time to 6 minutes.
1) Touch the 6 pad.
2) 6:00 minutes displays.
3) Cooking automatically starts and runs for 6 minutes.
| Touch Number Pad | Time Minutes |
| 1 | 1 Minute |
| 2 | 2 Minutes |
| 3 | 3 Minutes |
| 4 | 4 Minutes |
| 5 | 5 Minutes |
| 6 | 6 Minutes |
9. Multi-stages Cooking
Some recipes require different stages of cooking at different temperatures.
SET STAGE 1:
1) Place food into oven and close it. Touch TIME COOK pad.
2) Use the number pads to set a cooking time.
3) Touch the POWER LEVEL pad.
4) Use the number pads to enter the power level.
SET STAGE 2:
5) Touch TIME COOK pad.
6) Use the number pads to set a cooking time.
7) Touch the POWER LEVEL pad.
8) Use the number pads to enter the (lower) power level.
9) Touch START/+30 SEC to start.
10. Child Lock
The child lock prevents unsupervised operation by children.
To set, in standby mode, press and hold STOP/CLEAR for 3 seconds. “Loc” is indicated on the display.
To cancel, press and hold STOP/CLEAR for 3 seconds. “Loc” indication disappears.
Care and Cleaning
- Turn off the oven and unplug the power cord from the wall when cleaning.
- Keep the inside of the oven clean. When food splatters or spilled liquids adhere to oven walls, wipe with a damp cloth. Mild detergents may be used if the oven gets very dirty. Avoid using spray or other harsh cleaners. They may stain, streak or dull the door surface.
- The outside of the oven should be cleaned with a damp cloth. To prevent damage to the operating parts inside the oven, water should not be allowed to seep into the ventilation openings.
- Wipe the door and window on both sides, the door seals and adjacent parts frequently with a damp cloth to remove any spills or spatters. Do not use abrasive cleaner.
- Do not allow the control panel to become wet. Clean with a soft, damp cloth. When cleaning the control panel, leave oven door open to prevent oven from accidentally turning on.
- If steam accumulates inside or around the outside of the oven door, wipe with a soft cloth. This may occur when the microwave oven is operated under high humidity condition. This is normal.
- It is occasionally necessary to remove the glass tray for cleaning. Wash the tray in warm sudsy water or in a dishwasher.
- The roller ring and oven floor should be cleaned regularly to avoid excessive noise. Simply wipe the bottom surface of the oven with mild detergent. The roller ring may be washed in mild, soapy water or in a dishwasher. When removing the roller ring, be sure to replace it in the proper position.
- Remove odors from your oven by combining a cup of water with the juice and skin of one lemon in a microwaveable bowl. Microwave for 5 minutes. Wipe thoroughly and dry with a soft cloth.
- If the light bulb burns out, please contact customer service to have it replaced.
- The oven should be cleaned regularly and any food deposits should be removed. Failure to maintain the oven in a clean condition could lead to deterioration of surface that could adversely affect the life of the unit and could possibly result in a hazardous situation.
- Please do not dispose of this appliance into the municipal waste bin; it should be disposed to the particular disposal center provided by the municipalities.
Warranty
This warranty applies to microwave ovens under the brand name Vissani sold by The Home Depot, in the U.S (“Vissani Products”). This warranty is in lieu of any other warranty and expressly applies to the individual product only. Vissani products are warranted to be free from any defects in material and workmanship resulting from noncompliance with the legal standards for one year from the date of the consumers’ first purchase. In addition, the magnetrons (parts only) of Vissani Products are warranted to be free from defects in material and workmanship for a period of eight years from the date of the consumers’ first purchase. Nevertheless, the consumer is responsible for all labor and transportation expenses related to the diagnosis and replacement of the magnetron after the initial one-year warranty expires. In the event the unit requires replacement or refund under the terms of this warranty, the consumer is responsible for all transportation expenses to return the unit to our factory prior to receiving a replacement unit or refund.
Please save your receipt as proof of purchase is required to make a warranty claim. If a covered defect occurs during the one-year warranty period, we agree, at our own discretion, to repair, replace, or pay the consumer the reasonable cost of repairing or replacing the defective item. The warranty can not be transferred through resale, including the resale through a 3rd party unauthorized retailer and is only bestowed upon the original consumer who purchases from an authorized retailer. This warranty does not cover, and excludes, damage or defects caused by: Consumer misuse Abuse Neglect including the failure to clean and/or provide adequate regular maintenance as outlined in the user manual, Commercial use, Subjecting the product to any voltage outside the specified range, Loss of parts, The affixing of any attachments not provided with the product, Loss or damage caused by acts of God, including but not limited to fire, explosion, smoke, water escape, changes that are not reasonably foreseeable in the level of underground water table, glass breakage, windstorm, hail, lightning, falling trees, aircraft, vehicles, flood, and earthquakes. Use in a manner not intended and outlined in the user manual. Failure of the consumer to take timely action to minimize loss or damage or failure of the consumer to give us timely notice of the defect.
Any subsequent damages caused by the above listed exclusions will not be covered and any claims determined to meet the above exclusions will be denied. All liability is limited to the purchase price and does not include any: Retail offered extended warranties, Tax, Other charges (including postage to send required materials), Incidental and/or consequential damages associated with the product in question. Every implied warranty, including any statutory warranty of merchantability or fitness for a particular purpose is disclaimed except to the extent prohibited by law, in which case such warranty is limited to the duration of this written warranty. This warranty gives you specific legal rights. You may have other legal rights that vary depending on where you live. Some states do not allow limitations on implied warranties or special, incidental, or consequential damage, so the above limitations may not apply to you.
If you have a claim under this warranty, please call our Customer Service number: 1-855-VISSANI. For faster service, please have the model number, serial number, and receipt ready for the operator to assist you.
| Model Number | Part& Labor | Magnetron (Parts Only) | Type of Service |
| VSCMWE11S2W-10 | One Year | Eight Years | Carry In |
HOMEDEPOT.COM Please contact 1-855-VISSANI
for further assistance

Questions, problems, missing parts? Before returning to the store, call VISSANI Customer Serive
8 a.m -8 p.m., EST, Monday-Friday, 8a.m.-6 p.m., EST, Saturday
1-855-VISSANI
HOMEDEPOT.COM
Retain this manual for future use.
IMPORTANT: Important Grounding Instructions


















