
MICROWAVE OVEN
Use & Care Guide
MICROWAVE OVEN SAFETY
Your safety and the safety of others are very important.
We have provided many important safety messages in this manual and on your appliance. Always read and obey all safety messages.
This is the safety alert symbol.
This symbol alerts you to potential hazards that can kill or hurt you and others. All safety messages will follow the safety alert symbol and either the word “DANGER” or “WARNING.” These words mean:
DANGER You can be killed or seriously injured if you don’t immediately follow instructions.
WARNING You can be killed or seriously injured if you don’t follow instructions.
All safety messages will tell you what the potential hazard is, tell you how to reduce the chance of injury, and tell you what can happen if the instructions are not followed.
IMPORTANT SAFETY INSTRUCTIONS
When using electrical appliances basic safety precautions should be followed, including the following:
WARNING: To reduce the risk of burns, electric shock, fire, injury to persons, or exposure to excessive microwave energy:
■ Read all instructions before using the microwave oven.
■ Read and follow the specific “PRECAUTIONS TO AVOID POSSIBLE EXPOSURE TO EXCESSIVE MICROWAVE ENERGY” found in this section.
■ The microwave oven must be grounded. Connect only to properly grounded outlet. See “GROUNDING INSTRUCTIONS” found in the “INSTALLATION
INSTRUCTIONS” section.
■ Install or locate the microwave oven only in accordance with the provided Installation Instructions.
■ Some products such as whole eggs in the shell and sealed containers – for example, closed glass jars – are able to explode and should not be heated in the microwave oven.
■ Use the microwave oven only for its intended use as described in the manual. Do not use corrosive chemicals or vapors in the microwave oven. This type of oven is specifically designed to heat, cook, or dry food. It is not designed for industrial or laboratory use.
■ As with any appliance, close supervision is necessary when used by children.
■ Do not operate the microwave oven if it has a damaged cord or plug, if it is not working properly, or if it has been damaged or dropped.
■ The microwave oven should be serviced only by qualified service personnel. Call an authorized service company for examination, repair, or adjustment.
■ Do not cover or block any openings on the microwave oven.
■ Do not store this microwave oven outdoors. Do not use the microwave oven near water – for example, near a kitchen sink, in a wet basement, near a swimming pool, or similar locations.
■ Do not immerse the cord or plug in water.
■ Keep cord away from heated surfaces.
■ Do not let the cord hang over the edge of the table or counter.
■ See door surface cleaning instructions in the “Microwave Oven Care” section.
■ To reduce the risk of fire in the oven cavity:
– Do not overcook food. Carefully attend to the microwave oven when paper, plastic, or other combustible materials are placed inside the oven to facilitate cooking.
– Remove wire twist-ties from paper or plastic bags before placing bags in the oven.
– If materials inside the oven ignite, keep the oven door closed, turn the oven off, and disconnect the power cord, or shut off power at the fuse or circuit breaker panel.
– Do not use the cavity for storage purposes. Do not leave paper products, cooking utensils, or food in the cavity when not in use.
SAVE THESE INSTRUCTIONS
IMPORTANT SAFETY INSTRUCTIONS
■ Liquids, such as water, coffee, or tea are able to be overheated beyond the boiling point without appearing to be boiling. Visible bubbling or boiling when the container is removed from the microwave oven is not always present. THIS COULD RESULT IN VERY HOT LIQUIDS SUDDENLY BOILING OVER WHEN THE CONTAINER IS DISTURBED OR A SPOON OR OTHER UTENSIL IS INSERTED INTO THE LIQUID.
To reduce the risk of injury to persons:
– Do not overheat the liquid.
– Stir the liquid both before and halfway through heating it.
– Do not use straight-sided containers with narrow necks.
– After heating, allow the container to stand in the microwave oven for a short time before removing the container.
– Use extreme care when inserting a spoon or other utensil into the container.
SAVE THESE INSTRUCTIONS
PRECAUTIONS TO AVOID POSSIBLE EXPOSURE TO EXCESSIVE MICROWAVE ENERGY
(a) Do not attempt to operate this oven with the door open
(b) Do not place any object between the oven front face and the door or allow soil or cleaner residue to accumulate on sealing surfaces.
(c) Do not operate the oven if it is damaged. It is particularly since an open-door operation can result in harmful exposure important that the oven door close properly and that there to microwave energy. It is important not to defeat or tamper with the safety interlocks. is no damage to the:
(1) Door (bent),
(2) Hinges and latches (broken or loosened),
(3) Door seals and sealing surfaces.
(d) The oven should not be adjusted or repaired by anyone except properly qualified service personnel.
INSTALLATION INSTRUCTIONS
Unpacking
- Empty the microwave oven of any packing materials.
- Clean the inside with a soft, damp cloth.
- Check for damage, such as:
■ A door that is not lined up correctly,
■ Damage around the door, or
■ Dents on the interior or exterior of the microwave oven.
If there is any damage, do not operate the microwave oven until a designated service technician has checked it and made any needed repairs.
NOTE: To avoid damage to the microwave oven, do not remove the microwave inlet cover. See the “Parts and Features” section.
Location Requirements
■ Place the microwave oven on a cart, counter, table, or shelf that is strong enough to hold the microwave oven and the food and utensils you place inside it.
■ The microwave oven should be at a temperature above 50°F (10°C) for proper operation.
■ Do not block the exhaust vents or air intake openings. Allow a few inches of space at the back and side of the microwave oven where the exhaust vents are located. Blocking the exhaust vents could cause damage to the microwave oven as well as poor cooking results.
■ Make sure the microwave oven legs are in place to ensure proper airflow. If vents are blocked, a sensitive thermal device may automatically turn the microwave oven off. The microwave oven should work properly once it has cooled.
Electrical Requirements
|
![]() |
Electrical Shock Hazard |
Plug into a grounded 3 prong outlet. |
Observe all governing codes and ordinances.
Required:
■ A 120 V, 60 Hz, AC only, 15 or 20 A electrical supply with a fuse or circuit breaker.
Recommended:
■ A time-delay fuse or time-delay circuit breaker
■ A separate circuit serving only this microwave oven
GROUNDING INSTRUCTIONS
■ For all cord-connected appliances:
The microwave oven must be grounded. In the event of an electrical short circuit, grounding reduces the risk of electric shock by providing an escape wire for the electric current. The microwave oven is equipped with a cord having a grounding wire with a grounding plug. The plug must be plugged into an outlet that is properly installed and grounded.
WARNING: Improper use of the grounding plug can result in a risk of electric shock. Consult a qualified electrician or serviceman if the grounding instructions are not completely understood, or if doubt exists as to whether the microwave oven is properly grounded. Do not use an extension cord. If the power supply cord is too short, have a qualified electrician or serviceman install an outlet near the microwave oven. A short power supply the cord is provided to reduce the risks resulting from becoming entangled in or tripping over a longer cord.
SAVE THESE INSTRUCTIONS
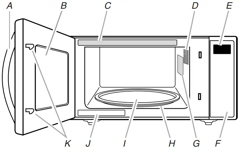
PARTS AND FEATURES

A. Door handle (on models without push-button open)
B. Window
C. Cooking guide label
D. Microwave oven light
E. Display
F. Control panel
G. Microwave inlet cover
H. Removable turntable support
I. Glass turntable
J. Model and serial number plate
K. Door lock system
Turntable

A. Turntable
B. Hub
C. Support
D. Shaft
The turntable can rotate in either direction to help cook food more evenly. For best cooking results, do not operate the microwave oven without having the turntable in place. See the “Assistance or Service” section to reorder any of the parts.
To Install:
1. Place the support on the microwave oven cavity bottom.
2. Place the turntable on the support.
Fit the raised, curved wedges in the center of the turntable bottom between the 3 spokes of the hub. The rollers on the support should fit inside the turntable bottom ridge.
MICROWAVE OVEN CONTROL

Display
When power is first supplied to the microwave oven, “12:00” will appear in the display. If the “12:00” appears in the display at any other time, a power failure has occurred. Reset the clock if needed. See the “Clock” section.
Start
The Start keypad begins any function. If non-sensor cooking is interrupted by opening the door, touching START will resume the cycle.
NOTE: To avoid unintentional operation of the microwave oven, a cooking function cannot be started if the microwave oven door has been closed for about 1 minute. The word “door” will appear in the display until the door is opened and closed.
Add 30 Seconds
The Start Add 30 Sec keypad automatically starts the microwave oven at 100% power for 30 seconds and adds 30 seconds of cook time, with each additional touch of the control.
Time may be added to any manual cooking cycle in 30-second increments, at the current power level, by touching ADD 30 SEC during cooking.
NOTE: To avoid unintentional operation of the microwave oven, a cooking function cannot be started if the microwave oven door has been closed for about 1 minute. The word “door” will appear in the display until the door is opened and closed.
Cancel
The Cancel keypad clears any incorrect command and cancels any program during cooking. Touch the Cancel keypad to cancel the cycle. It will not erase the time of day. The microwave oven will also turn off when the door is opened. Close the door and touch START to resume the cycle. The Cancel keypad is also used to lock and unlock the control panel. See the “Control Lock” section.
Clock
This is a 24-hour clock.
To Set:
The microwave oven must be OFF.
- Touch TIMER for 3 seconds to enter the clock setting. It will also appear every time the product is plugged into the power source or power is back after power failure.
- Touch the +/- button to enter the correct time of day.
- Touch START/+30 sec to save clock setting.
Timer
NOTE: The Timer does not start or stop the microwave oven. The function can be set only in Standby mode.
To Set:
- Touch TIMER.
- Touch +/- keypads to enter the desired time.
- Touch START. When the set time ends, the end-of-timer tone will sound.
- While the Timer countdown is active in the display, touch CANCEL to cancel the Timer.
Tones
This function allows the user to activate/deactivate all the sounds played by the appliances, includes button press, warnings, alarm, even end audio feedback.
Press the STEAM CLEAN button and hold for 5 seconds to put it into mute, hold the button again for 5 seconds to turn on the sound. This function can operate at any time.
Control Lock
The Control Lock disables the control panel keypads to avoid unintended use of the microwave oven.
To Lock/Unlock Control: The microwave oven must be OFF. Touch and hold CANCEL for about 3 seconds, until the tone sounds and the LOCK icon appears in the display. Repeat to unlock and clear the display.
If any cook function control is touched while the Control Lock is active, a tone will sound.
MICROWAVE OVEN USE
A magnetron in the microwave oven produces microwaves that reflect off the metal floor, walls, and ceiling and pass through the turntable and appropriate cookware to the food. Microwaves are attracted to and absorbed by fat, sugar, and water molecules in the food, causing them to move, producing friction and heat which cooks the food.
■ To avoid damage to the microwave oven, do not lean on or allow children to swing on the microwave oven door.
■ To avoid damage to the microwave oven, do not operate the microwave oven when it is empty.
■ Baby bottles and baby food jars should not be heated in a microwave oven.
■ Clothes, flowers, fruit, herbs, wood, gourds, and paper, including brown paper bags and newspaper, should not be dried in the microwave oven.
■ Paraffin wax will not melt in the microwave oven because it does not absorb microwaves.
■ Use oven mitts or pot holders when removing containers from the microwave oven.
■ Do not overcook potatoes. At the end of the recommended cook time, potatoes should be slightly firm. Let potatoes stand for 5 minutes. They will finish cooking while standing.
■ Do not cook or reheat whole eggs inside the shell. Steam buildup in whole eggs may cause them to burst, requiring significant cleanup of the microwave oven cavity. Cover poached eggs and allow a standing time.
Food Characteristics
When microwave cooking, the amount, size and shape, starting temperature, composition, and density of the food affect cooking results.
Amount of Food
The more food heated at once, the longer the cook time needed. Check for doneness and add small increments of time if necessary.
Size and Shape
Smaller pieces of food will cook more quickly than larger pieces, and uniformly shaped foods cook more evenly than irregularly shaped food.
Starting Temperature
Room temperature foods will heat faster than refrigerated foods, and refrigerated foods will heat faster than frozen foods.
Composition and Density
Foods high in fat and sugar will reach a higher temperature and will heat faster than other foods. Heavy, dense foods, such as meat and potatoes, require a longer cook time than the same size of a light, porous food, such as cake.
Cooking Guidelines
Covering
Covering food helps retain moisture, shorten cook time, and reduce spattering. Use the lid supplied with cookware. If a lid is not available, wax paper, paper towels, or plastic wrap approved for microwave ovens may be used. Plastic wrap should be turned back at one corner to provide an opening to vent steam. Condensation on the door and cavity surfaces is normal during heavy cooking.
Stirring and Turning
Stirring and turning redistribute heat evenly to avoid overcooking the outer edges of food. Stir from outside to the center. If possible, turn food over from bottom to top.
Arranging
If heating irregularly shaped or different-sized foods, arrange the thinner parts and smaller-sized items toward the center. If cooking several items of the same size and shape, place them in a ring pattern, leaving the center of the ring empty.
Piercing
Before heating, use a fork or small knife to pierce or prick foods that have a skin or membrane, such as potatoes, egg yolks, chicken livers, hot dogs, and sausage. Prick in several places to allow steam to vent.
Shielding
Use small, flat pieces of aluminum foil to shield the thin pieces of irregularly shaped foods, bones and foods such as chicken wings, leg tips, and fishtails. See the “Aluminum Foil and Metal” section first.
Standing Time
Food will continue to cook by the natural conduction of heat even after the microwave cooking cycle ends. The length of standing time depends on the volume and density of the food.
Cookware and Dinnerware
Cookware and dinnerware must fit on the turntable. Always use oven mitts or pot holders when handling because any dish may become hot from heat transferred from the food. Do not use cookware and dinnerware with gold or silver trim. Use the following chart as a guide, then test before using.
| Material | Recommendations |
| Aluminum Foil, Metal | See the “Aluminum Foil and Metal” section. |
| Browning Dish | The bottom must be at least 3/16″ (5 mm) above the turntable. Follow manufacturer’s recommendations. |
| Ceramic Glass, Glass | Acceptable for use |
| China, Earthenware | Follow manufacturer’s recommendations. |
| Melamine | Follow manufacturer’s recommendations. |
| Paper: Towels, Dinnerware, Napkins | Use non-recycled and those approved by the manufacturer for microwave oven use. |
| Plastic: Wraps, Bags, Covers, Dinnerware, Containers | Use those approved by the manufacturer for microwave oven use. |
| Pottery and Clay | Follow manufacturer’s recommendations. |
| Silicone Bakeware | Follow manufacturer’s recommendations. |
| Straw, Wicker, Wooden Containers | Do not use in a microwave oven. |
| Wax Paper | Acceptable for use |
To Test Cookware or Dinnerware for Microwave Use:
- Place cookware or dinnerware in the microwave oven with 1 cup (250 mL) of water beside it.
- Cook at 100% cooking power for 1 minute. Do not use cookware or dinnerware if it becomes hot and the water stays cool.
Aluminum Foil and Metal
Always use oven mitts or pot holders when removing dishes from the microwave oven. Aluminum foil and some metal can be used in the microwave oven. If not used properly, arcing (a blue flash of light) can occur and cause damage to the microwave oven.
OK for Use
Racks and bakeware supplied with the microwave oven (on some models), aluminum foil for shielding, and approved meat thermometers may be used with the following guidelines:
■ To avoid damage to the microwave oven, do not allow aluminum foil or metal to touch the inside cavity walls, ceiling, or floor.
■ Always use the turntable.
■ To avoid damage to the microwave oven, do not allow contact with another metal object during microwave cooking.
Do Not Use
Metal cookware and bakeware, gold, silver, pewter, non-approved meat thermometers, skewers, twist ties, foil liners such as sandwich wrappers, staples, and objects with gold or silver trim or a metallic glaze should not be used in the microwave oven.
Microwave Cooking Power
Many recipes for microwave cooking specify which cooking power to use by power level. For example, P70 = Medium-High. Use the following chart as a general guide for the suggested cooking power of specific foods.
| Percent/Name | Display | Use |
| 100%, High (default setting) | P100 | Quick heating convenience foods and foods with high water content, such as soups, beverages and most vegetables |
| 90% | P90 | Cooking small, tender pieces of meat, ground meat, poultry pieces, and fish fillets Heating cream soups |
| 80% | P80 | Heating rice, pasta, or stirrable casseroles Cooking and heating foods that need a cook power lower than high. For example, whole fish and meat loaf |
| 70%, Medium-High | P70 | Reheating a single serving of food |
| 60% | P60 | Cooking sensitive foods such as cheese and egg dishes, pudding, and custards Cooking non-stirrable casseroles, such as lasagna |
| 50%, Medium | P50 | Cooking ham, whole poultry, and pot roasts Simmering stews |
| 40% | P40 | Melting chocolate Heating bread, rolls, and pastries |
| 30%, MediumLow, Defrost | P30 | Defrosting bread, fish, meats, poultry, and precooked foods |
| 20% | P20 | Softening butter, cheese, and ice cream |
| 10%, Low | P10 | Taking chill out of fruit |
Quick Start
These are quick access direct buttons with time mentioned on the button as 1 min, 2 min, 3 min, 4 min, 5 min, and 6 min. Default power is full in this function (P100). Users can add more time in the running function with the START/+30 sec button.
NOTE: If the user touches a quick access button while already cooking in Quick Access Mode, the cooking time will then continue from the new setting.
Manual Cooking
To Use:
- Touch POWER/TIME to enter default power level P100.
- Touch +/- button to choose power level.
- Touch POWER/TIME again to adjust the cooking time, default is 15 seconds.
- Touch START/+30 sec to start cooking.
The microwave oven has been programmed with common microwavable foods, their quantities, cook powers, and cook times.
Use the following chart as a guide for preset cooking.
| Food | Serving Size | Instructions |
| P1 Fresh Vegetables | 1-4 cups/1cup | From room temperature. Put food into a microwave-safe dish, add 2 tablespoons water to 1-2 cups, add 4 tablespoons water to 3-4 cups. Cover the dish, leaving air ventilation. Stir and let stand 2-3 minutes after cooking. |
| P2 Soup | 1-4 cups/1cup | From room temperature. Cover the dish, leaving air ventilation. Stir and let stand 2-3 minutes after cooking. |
| P3 Green bean | 1-4 cups/1cup | From room temperature. Put food into a microwave-safe dish, Add 2 tablespoons water to 1-2 cups, add 4 tablespoons water to 3-4 cups. Cover the dish, leaving air ventilation. Stir and let stand 2-3 minutes after cooking. |
| P4 Scrambled eggs
| 1-4 eggs/1egg | From room temperature. Put food into the microwave-safe dish, Add 1 tablespoon water for one egg, and mix well. Cover the dish. Stir and let stand 2-3 minutes after cooking. |
To Use Cook Menu:
- Place food on the turntable and close the door.
- Touch the Cook Menu repeatedly to choose the menu and touch START/+30 sec to confirm. Touch the keypad again to change quantity. See chart for available serving sizes.
- Touch START/+30 sec. The display will count down the cooking time. When the cycle ends, “End” will appear in the display and the end-of-cycle tones will sound.
Popcorn
This function allows cooking Popcorn microwaveable bags. Use for 3.5 oz bags only.
To Use:
- Touch the Popcorn button.
- Touch the +/- button to select the weight.
- Touch the START/+30 sec button to start the function.
Soften Butter
To Use:
- Touch Soften Butter button.
- Touch the +/- button to select the weight when there is a weight range in the table.
- Touch the START/+30 sec button. The function will start.
| Food | Serving Size | Instructions |
| Soften Butter | 0.5, 1.0, 1.5, 2.0 sticks | From refrigerator state, unwrap and place in a microwave-safe dish. |
A selection of automatic recipes with preset values to offer optimal cooking results.
To Use:
- Touch the Melt Menu button repeatedly or press the +/- button to select the desired recipe (see the table below).
- Touch the START/+30 sec button to confirm the recipe and press the +/- button to select the weight when there is a weight range in the table.
- Touch the START/+30 sec button. The function will start.
| Food | Serving Size | Instructions |
| P1 Melt Butter | 0.5, 1.0, 1.5,2.0 sticks | From the refrigerator state, unwrap and place in a microwave-safe dish. |
| P2 Melt Chocolate | 4, 6, 8, 12 oz | From room temperature, place in a microwave-safe dish. |
| P3 Melt Cheese | 8, 16 oz | From refrigerator state, place in a microwave-safe dish. |
Potato
To Use:
- Touch the Potato button to choose small potato as default. Touch it again to choose a large potato. Then touch START/+30 sec to confirm.
- Touch the +/- button to select the number of potatoes.
- Touch the START/+30 sec button. The function will start.
| Food | Serving Size | Instructions |
| Small potato | 1-4 pieces/1piece | Enter 1-4 pieces, 4-7 oz (113-198 g) each. Pierce each potato several times with a fork. Place on a paper towel, on turntable center. Let stand 5 minutes after cooking. |
| Large potato | 1-4 pieces/1piece | Enter 1-4 pieces, 8-10 oz (227-283 g) each. Pierce each potato several times with a fork. Place on a paper towel, on turntable center. Let stand 5 minutes after cooking. |
Dinner Plate (Reheat)
To Use:
- Touch Dinner Plate (Reheat) button.
- Touch the +/- button to select the amount.
- Touch the START/+30 sec button. The function will start.
| Food | Serving Size | Instructions |
| Regular plate | 289 g | Place food on a microwave-safe plate, cover the dish, leaving air ventilation. Let stand 2-3 minutes after cooking. |
| Large plate | 400 g | Place food on a microwave-safe plate, cover the dish, leaving air ventilation. Let stand 2-3 minutes after cooking. |
Defrost
■ Unwrap foods and remove lids (for example, from fruit juice containers) before defrosting.
■ Shallow packages will defrost more quickly than deep blocks.
■ Separate food pieces as soon as possible during or at the end of the cycle for more even defrosting.
■ Use small pieces of aluminum foil to shield parts of food such as chicken wings, leg tips and fishtails. See the “Aluminum Foil and Metal” section first.
Auto Defrost
The product provides an automatic defrost function for 2 kinds of food.
To Use Auto Defrost:
- Touch the Defrost menus (see the following chart).
- Touch the +/- button to set the weight and touch the START/+30 sec button to start.
| Food | Serving Size | Instructions |
| Poultry | 0.2-6.6 lb / 0.1 lb | Chicken whole, pieces or fillets. After cooking, wait at least 5 minutes for better results. |
| Meat | 0.2-6.6 lb / 0.1 lb | Minced meat, cutlets, steaks or roasts. After cooking, wait at least 5 minutes for better results. |
Manual Defrost
To Use Manual Defrost:
- Touch the Manual Defrost button.
- Touch the +/- button to increase or decrease the time values.
- Touch START/+30 sec to start.
NOTE: STIR/TURN/ADD words will come on display. Please open the door and stir/turn/add food, then close the door and press START/+30 sec to continue the cooking.
Steam Clean
This automatic cleaning cycle will help you to clean the microwave oven cavity and to remove unpleasant odors.
Before starting the cycle:
- Put 250 mL water into a container (see our recommendations in the below section “Tips and suggestions”).
- Place the container directly in the middle of the cavity.
To Start The Cycle:
- Press the Auto Clean button, the cleaning cycle duration will be visible on the display.
- Press the Jet Start button to start the function.
When The Cycle Is Finished:
- Press the Stop button.
- Remove the container.
- Use a soft cloth or a paper towel with mild detergent to clean the interior surfaces.
Tips and suggestions:
For a better cleaning result, it is recommended to use a container with a diameter of 17-20 cm, and a height that is lower than 6.5 cm.
It is recommended to use a container of light plastic material that is suitable for the microwave.
As the container will be hot after the cleaning cycle is completed, it is recommended to use a heat-resistant glove when removing the container from the microwave.
For a better cleaning effect and removal of unpleasant odors, add some lemon juice or vinegar to the water.
Keep Warm
This function allows you to keep your dishes warm.
- Touch the Keep Warm button.
- Touch +/- button to select suitable time, then touch the START/+30 sec button to start. Default time is 30 minutes.
| Food | Weight Container | Temperature | Time (the maximum time is 60 minutes) | Container |
| Tuna noodle casserole | 4 cups (880 g) | 165°F (73.8°C) | Time can be adjusted | Microwave safe dish |
MICROWAVE OVEN CARE
General Cleaning
IMPORTANT: Before cleaning, make sure all controls are off and the microwave oven is cool. Always follow label instructions on cleaning products. Soap, water, and a soft cloth or sponge are suggested unless otherwise noted.
MICROWAVE OVEN CAVITY
To avoid damage to the microwave oven cavity, do not use soap-filled scouring pads, abrasive cleaners, steel-wool pads, gritty washcloths, or some recycled paper towels.
To avoid damage to stainless steel models, rub in the direction of the grain.
The area where the microwave oven door and frame touch when closed should be kept clean.
Average soil
■ Mild, nonabrasive soaps and detergents: Rinse with clean water and dry with a soft, lint-free cloth.
Heavy soil
■ Mild, nonabrasive soaps, and detergents: Heat 1 cup (250 mL) of water for 2 to 5 minutes in a microwave oven. Steam will soften the soil. Rinse with clean water and dry with a soft, lint-free cloth.
Odors
■ Lemon juice or vinegar:
Heat 1 cup (250 mL) of water with 1 tbs (15 mL) of either lemon juice or vinegar for 2 to 5 minutes in a microwave oven.
Microwave Inlet Cover
To avoid arcing and microwave oven damage, the microwave inlet cover (see the “Parts and Features” section) should be kept clean.
■ Wipe with a wet cloth.
MICROWAVE OVEN DOOR AND EXTERIOR
The area where the microwave oven door and frame touch when closed should be kept clean.
■ Mild, nonabrasive soaps and detergents: Rinse with clean water and dry with a soft, lint-free cloth.
■ Glass cleaner and paper towels or nonabrasive plastic scrubbing pad:
Apply glass cleaner to the towel, not directly to the surface.
Stainless Steel (on some models)
To avoid damage to the microwave oven door and exterior, do not use soap-filled scouring pads, abrasive cleaners, steel-wool pads, gritty washcloths, or some paper towels. Rub in direction of the grain.
■ Stainless steel cleaner (not included): See “Assistance or Service” section to order.
■ All-purpose cleaner: Rinse with clean water and dry with a soft, lint-free cloth.
■ Vinegar for hard water spots
CONTROL PANEL
■ Sponge or soft cloth and water: Dampen a sponge with water and wipe the panel. Dry with a soft cloth.
■ To avoid damage to the control panel, do not use chemical or abrasive cleansers.
TURNTABLE
Replace turntable immediately after cleaning. Do not operate the microwave oven without the turntable in place.
■ Mild cleanser and scouring pad
■ Dishwasher
TROUBLESHOOTING
First, try the solutions suggested here. If you need further assistance or more recommendations that may help you avoid a service call, refer to the warranty or visit http://www.whirlpool.com/product_help. In Canada, visit http://www.whirlpool.ca.
Contact us by mail with any questions or concerns at the address below:
In the U.S.A.:
Whirlpool Brand Home Appliances Customer eXperience Center 553 Benson Road Benton Harbor, MI 49022-2692
Please include a daytime phone number in your correspondence.
In Canada: Whirlpool Brand Home Appliances Customer eXperience Centre 200 – 6750 Century Ave.
Mississauga, Ontario L5N 0B7
| If you experience | Recommended Solutions |
| Nothing will operate | Check the following: ■ Household fuse or circuit breaker: If a household fuse has blown or a circuit breaker has tripped, replace the fuse or reset the circuit breaker. If the problem continues, call an electrician. |
| The microwave oven will not operate | Check the following: ■ Magnetron: Try to heat 1 cup (250 mL) of cold water for 2 minutes at 100% cooking power. If water does not heat, try the steps in the bullets below. If the microwave oven still does not operate, call for service. ■ Door: Firmly close door. On some models, if a packaging spacer is attached to the inside of the door, remove it, then firmly close the door. If a message about the door appears in the display, the door has been closed for 5 minutes or more without the microwave oven being started. This occurs to avoid the unintended starting of the microwave |
| Microwave oven makes a humming noise | ■ This is normal and occurs when the power supply in the magnetron cycles on. |
| The microwave oven door looks wavy | ■ This is normal and will not affect performance |
| The turntable will not operate | Check the following: ■ Turntable: Make sure the turntable is correct side up and is sitting securely on the turntable support. See the “Turntable” section. ■ Turntable support: Remove turntable. Remove and clean turntable hub, support, and rollers. Replace hub, support, and turntable. Place 1 cup (250 mL) of water on the turntable, then restart the microwave oven. If it still is not working, call for service. See the “Warranty.” Do not operate the microwave oven without turntable and turntable support working properly. |
| Turntable alternates rotation directions | ■ This is normal and depends on motor rotation at the beginning of the cycle. |
| Display shows messages | ■ A flashing “12:00” means there has been a power failure. Reset the clock. |
| The display shows time countdown, but the microwave oven is not operating | Check the following: ■ Timer: See the “Timer” section. |
| Cooking times seem too long | Check the following: ■ Cooking power: See the “Microwave Cooking Power” section. ■ Amount of food: Larger amounts of food need longer cooking times. ■ Voltage: Have a qualified electrician check the electrical system in the home. |
| Radio, TV, or cordless phone interference | Check the following: ■ Proximity: Move the receiver away from the microwave oven or adjust the radio or TV antenna. If the microwave oven is plugged into the same outlet, try a different outlet for the electronic device. ■ Soil: Make sure the microwave oven door and sealing surfaces are clean. ■ Frequency: Some 2.4 GHz-based cordless phones and home wireless networks may experience static or noise while the microwave oven is ON. Use a corded phone, a different frequency cordless phone, or avoid using these items during microwave oven operation. |
ASSISTANCE OR SERVICE
If you need service:
Please refer to the warranty.
If you need replacement parts:
If you need to order replacement parts, we recommend that you use only factory specified parts. These factory-specified parts will fit right and work right because they are made with the same precision used to build every new Whirlpool ® appliance.
To locate factory-specified parts in your area, call us or your nearest Whirlpool ® designated service center.
In the U.S.A.
Call the Whirlpool Customer eXperience Center toll-free: 1-800-253-1301 or visit our website at www.whirlpool.com.
Our consultants provide assistance with:
■ Scheduling of service. Whirlpool ® appliances designated service technicians are trained to fulfill the product warranty and provide after-warranty service anywhere in the United States.
■ Features and specifications on our full line of appliances.
■ Referrals to local Whirlpool ® appliance dealers.
■ Installation information.
■ Use and maintenance procedures.
■ Accessory and repair parts sales.
■ Specialized customer assistance (Spanish speaking, hearing impaired, limited vision, etc.).
For further assistance:
If you need further assistance, you can write to Whirlpool with any questions or concerns at:
Whirlpool Brand Home Appliances Customer eXperience Center 553 Benson Road Benton Harbor, MI 49022-2692 Please include a daytime phone number in your correspondence.
In Canada
Call the Whirlpool Customer eXperience Center toll-free:
1-800-807-6777 or visit our website at www.whirlpool.ca.
Our consultants provide assistance with:
■ Scheduling of service. Whirlpool ® appliances designated service technicians are trained to fulfill the product warranty and provide after-warranty service anywhere in Canada.
■ Features and specifications on our full line of appliances.
■ Referrals to local Whirlpool ® appliance dealers.
■ Use and maintenance procedures.
■ Accessory and repair parts sales.
For further assistance:
If you need further assistance, you can write to Whirlpool with any questions or concerns at:
Customer eXperience Centre Whirlpool Canada 200 – 6750 Century Ave. Mississauga, Ontario L5N 0B7 Please include a daytime phone number in your correspondence.
Replacement Parts
Glass Turntable Part Number W10551236 Turntable Support and Rollers Part Number W11520647
Cleaning Supplies
Affresh ® Kitchen Appliance Cleaner Part Number W10355010 Affresh ® Stainless Steel Cleaner Part Number W10355016
Turntable Hub Part Number W11520646
Affresh ® Stainless Steel Wipes Part Number W10355049 Heavy Duty Degreaser Part Number 31552A

For questions about features, operations/performance, parts, accessories, or service, call: 1-800-253-1301 or visit our website at www.whirlpool.com.
In Canada, call: 1-800-807-6777 or visit our website at www.whirlpool.ca.

















