Whirlpool WMC50522 Microwave Oven User Guide

For questions about features, operations/performance, parts, accessories, or service, call: 1-800-253-1301 or visit our website at www.whirlpool.com.
MICROWAVE OVEN SAFETY
Your safety and the safety of others are very important.
We have provided many important safety messages in this manual and on your appliance. Always read and obey all safety messages.
This is the safety alert symbol.
This symbol alerts you to potential hazards that can kill or hurt you and others.
All safety messages will follow the safety alert symbol and either the word “DANGER” or “WARNING.”
These words mean:
![]()
You can be killed or seriously injured if you don’t immediately follow instructions.
![]()
You can be killed or seriously injured if you don’t follow instructions.
All safety messages will tell you what the potential hazard is, tell you how to reduce the chance of injury, and tell you what can happen if the instructions are not followed.
IMPORTANT SAFETY INSTRUCTIONS
When using electrical appliances basic safety precautions should be followed, including the following:
WARNING: To reduce the risk of burns, electric shock, fire, injury to persons, or exposure to excessive microwave energy:
- Read all instructions before using the microwave oven.
- Read and follow the specific “PRECAUTIONS TO AVOID POSSIBLE EXPOSURE TO EXCESSIVE MICROWAVE ENERGY” found in this section.
- The microwave oven must be grounded. Connect only to properly grounded outlet. See “GROUNDING INSTRUCTIONS” found in the “INSTALLATION INSTRUCTIONS” section.
- Install or locate the microwave oven only in accordance with the provided Installation Instructions.
- Some products such as whole eggs in the shell and sealed containers – for example, closed glass jars – are able to explode and should not be heated in the microwave oven.
- Use the microwave oven only for its intended use as described in the manual. Do not use corrosive chemicals or vapors in the microwave oven. This type of oven is specifically designed to heat, cook, or dry food. It is not designed for industrial or laboratory use.
- As with any appliance, close supervision is necessary when used by children.
- Do not operate the microwave oven if it has a damaged cord or plug, if it is not working properly, or if it has been damaged or dropped.
- The microwave oven should be serviced only by qualified service personnel. Call an authorized service company for examination, repair, or adjustment.
- Do not cover or block any openings on the microwave oven.
- Do not store this microwave oven outdoors. Do not use the microwave oven near water – for example, near a kitchen sink, in a wet basement, near a swimming pool, or similar locations.
- Do not immerse cord or plug in water.
- Keep cord away from heated surfaces.
- Do not let cord hang over edge of table or counter.
- See door surface cleaning instructions in the “Microwave Oven Care” section.
- To reduce the risk of fire in the oven cavity:
- Do not overcook food. Carefully attend the microwave oven when paper, plastic, or other combustible materials are placed inside the oven to facilitate cooking.
- Remove wire twist-ties from paper or plastic bags before placing bags in oven.
- If materials inside the oven ignite, keep oven door closed, turn oven off, and disconnect the power cord, or shut off power at the fuse or circuit breaker panel.
- Do not use the cavity for storage purposes. Do not leave paper products, cooking utensils, or food in the cavity when not in use.
- Liquids, such as water, coffee, or tea are able to be overheated beyond the boiling point without appearing to be boiling. Visible bubbling or boiling when the container is removed from the microwave oven is not always present.
THIS COULD RESULT IN VERY HOT LIQUIDS SUDDENLY BOILING OVER WHEN THE CONTAINER IS DISTURBED OR A SPOON OR OTHER UTENSIL IS INSERTED INTO THE LIQUID.
To reduce the risk of injury to persons:- Do not overheat the liquid.
- Stir the liquid both before and halfway through heating it.
- Do not use straight-sided containers with narrow necks.
- After heating, allow the container to stand in the microwave oven for a short time before removing the container.
- Use extreme care when inserting a spoon or other utensil into the container.
- Do not mount over a sink.
- Do not store anything directly on top of the microwave oven when the microwave oven is in operation.
- Oversized foods or oversized metal utensils should not be inserted in the microwave oven as they may create a fire or risk of electric shock.
- Do not clean with metal scouring pads. Pieces can burn off the pad and touch electrical parts involving a risk of electric shock.
- Do not use paper products when appliance is operated in convection, combination, grill or “PAN BROWN” mode.
- Do not store any materials, other than manufacturer’s recommended accessories, in this microwave oven when not in use.
- Do not cover racks or any other part of the microwave oven with metal foil. This will cause overheating of the microwave oven.
SAVE THESE INSTRUCTIONS
PRECAUTIONS TO AVOID POSSIBLE EXPOSURE TO EXCESSIVE MICROWAVE ENERGY
(a) Do not attempt to operate this oven with the door open since open-door operation can result in harmful exposure to microwave energy. It is important not to defeat or tamper with the safety interlocks.
(b) Do not place any object between the oven front face and the door or allow soil or cleaner residue to accumulate on sealing surfaces.
(c) Do not operate the oven if it is damaged. It is particularly important that the oven door close properly and that there is no damage to the:
- Door (bent),
- Hinges and latches (broken or loosened),
- Door seals and sealing surfaces.
(d) The oven should not be adjusted or repaired by anyone except properly qualified service personnel.
State of California Proposition 65 Warnings:
WARNING: This product contains one or more chemicals known to the State of California to cause cancer.
WARNING: This product contains one or more chemicals known to the State of California to cause birth defects or other reproductive harm.
This device complies with Part 18 of the FCC Rules.
INSTALLATION INSTRUCTIONS
Unpacking
- Empty the microwave oven of any packing materials.
- Clean the inside with a soft, damp cloth.
- Check for damage, such as:
- a door that is not lined up correctly,
- damage around the door, or
- dents on the interior or exterior of the microwave oven.
If there is any damage, do not operate the microwave oven until a designated service technician has checked it and made any needed repairs.
NOTE: To avoid damage to the microwave oven, do not remove microwave inlet cover. See the “Parts and Features” section.
Location Requirements
![]()
Excessive Weight Hazard
Use two or more people to move and install microwave oven.
Failure to do so can result in back or other injury.
IMPORTANT: The control side of the microwave oven is the heavy side. Handle the microwave oven gently. The weight of the microwave oven is over 35 lbs (15.9 kg).
- Place the microwave oven on a cart, counter, table, or shelf that is strong enough to hold the microwave oven and the food and utensils you place inside it.
- The microwave oven should be at a temperature above 50°F (10°C) for proper operation.
NOTE: Some models can be built into a wall or cabinet by using one of the trim kits listed in the “Assistance or Service” section.
- Do not block the exhaust vents or air intake openings. Allow a few inches of space at the back and side of the microwave oven where the exhaust vents are located. Blocking the exhaust vents could cause damage to the microwave oven as well as poor cooking results.
- Make sure the microwave oven legs are in place to ensure proper airflow. If vents are blocked, a sensitive thermal device may automatically turn the microwave oven off. The microwave oven should work properly once it has cooled.
Electrical Requirements
![]()

Electrical Shock Hazard
Plug into a grounded 3 prong outlet.
Do not remove ground prong.
Do not use an adapter.
Do not use an extension cord.
Failure to follow these instructions can result in death, fire, or electrical shock.
Observe all governing codes and ordinances.
Required:
- A 120-volt, 60 Hz, AC-only, 15- or 20-amp electrical supply with a fuse or circuit breaker.
Recommended:
- A time-delay fuse or time-delay circuit breaker
- A separate circuit serving only this microwave oven
GROUNDING INSTRUCTIONS
- For all cord connected appliances:
The microwave oven must be grounded. In the event of an electrical short circuit, grounding reduces the risk of electric shock by providing an escape wire for the electric current. The microwave oven is equipped with a cord having a grounding wire with a grounding plug. The plug must be plugged into an outlet that is properly installed and grounded.
WARNING: Improper use of the grounding plug can result in a risk of electric shock. Consult a qualified electrician or serviceman if the grounding instructions are not completely understood, or if doubt exists as to whether the microwave oven is properly grounded.
Do not use an extension cord. If the power supply cord is too short, have a qualified electrician or serviceman install an outlet near the microwave oven. A short power supply cord is provided to reduce the risks resulting from becoming entangled in or tripping over a longer cord.
SAVE THESE INSTRUCTIONS
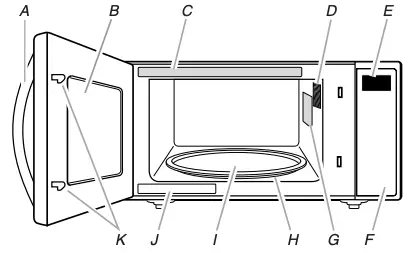
PARTS AND FEATURES
This manual may cover several different models. The model you have purchased may have some or all of the features shown here. The appearance of your particular model may differ slightly from the illustrations in this manual.

A. Door handle (on models without push button open)
B. Window
C. Cooking guide label
D. Microwave oven light
E. Display
F. Control panel
G. Microwave inlet cover
H. Removable turntable support
I. Glass turntable
J. Model and serial number plate
K. Door lock system
Turntable

A. Turntable
B. Hub
C. Support
D. Shaft
The turntable can rotate in either direction to help cook food more evenly. For best cooking results, do not operate the microwave oven without having the turntable in place. See the “Assistance or Service” section to reorder any of the parts.
To Install:
- Place the support on the microwave oven cavity bottom.
- Place the turntable on the support. Fit the raised, curved wedges in the center of the turntable bottom between the three spokes of the hub. The rollers on the support should fit inside the turntable bottom ridge.
MICROWAVE OVEN CONTROL

Display
When power is first supplied to the microwave oven, “0:00” will appear in the display. If the “0:00” appears in the display at any other time, a power failure has occurred. Reset the clock if needed. See the “Clock” section.
NOTE: The display language may be set to French, and the weight entry mode may be set to metric within the first 5 minutes of power-up. See the “Language” and “Weight Entry Mode” sections.
Start
The Start keypad begins any function. If non-sensor cooking is interrupted by opening the door, touching the Start keypad will resume the cycle.
NOTE: To avoid unintentional operation of the microwave oven, a cooking function cannot be started if the microwave oven door has been closed for about 5 minutes. The word “door” will appear in the display until the door is opened and closed.
Add 30 Seconds
The Start Add 30 Sec keypad automatically starts the microwave oven at 100% power for 30 seconds and it adds 30 seconds of cook time with each additional touch of the keypad.
Time may be added to any manual cooking cycle in 30-second increments, at the current power level, by touching the Start Add 30 Sec keypad during cooking.
NOTE: To avoid unintentional operation of the microwave oven, a cooking function cannot be started if the microwave oven door has been closed for about 5 minutes. The word “door” will appear in the display until the door is opened and closed.
Cancel
Cancel clears any incorrect command and cancels any program during cooking. It will not erase the time of day.
The microwave oven will also turn off when the door is opened. Close the door and touch the Start keypad to resume the cycle.
Cancel is also used to lock and unlock the control panel. See the “Control Lock” section.
Tones
Tones are audible signals that cannot be turned off. These tones indicate the following:
One tone
- Valid entry
- Control Lock activated or deactivated
- End of stage in multistage cooking
Three tones
- End of Timer countdown
Five tones
- End of cooking cycle
- Reminder, repeat each minute after the end-of-cycle tones
Clock
This is a standard 12-hour clock (1:00-12:59). The Clock cannot be erased. If the Clock is not set, “0:00” will remain in the display when the microwave oven is not in use.
To Set:
The microwave oven and Timer must be off.
- Touch CLOCK.
- Touch the number keypads to enter the correct time of day.
- Touch CLOCK.
Timer
The Timer can be set in minutes and seconds, up to 99 minutes 99 seconds, and counts down the set time.
NOTE: The Timer does not start or stop the microwave oven.
Cook functions may be used while the Timer is counting down. When the cook function is active in the display, touch TIMER to see the Timer countdown for about 5 seconds.
To Set:
- Touch TIMER.
- Touch the number keypads to enter desired time.
- Touch the Start keypad. When the set time ends, “End” will appear in the display and the end-of-Timer tones will sound. 4. Touch the Cancel keypad while the Timer is active in the display to cancel the Timer.
Language
The default display language is English, but it may be set to French. Two display messages are affected: “End” (English) or “Fin” (French) and “door” (English) or “PrtE” (“porte” – French).
To Set Language to French: Within 5 minutes of power-up, touch and hold POWER LEVEL for about 5 seconds, until a tone sounds. To set back to English, disconnect power, then reconnect power to microwave oven.
Weight Entry Mode
The default weight entry mode for Defrost is imperial (pounds) but may be set to metric (grams). This setting does not affect any other program besides Defrost. See the “Defrost” section.
To Set Weight Entry to Metric: Within 5 minutes of power-up, touch and hold number keypad “0” for about 5 seconds, until a tone sounds. To set back to imperial, disconnect power, then reconnect power to microwave oven.
Control Lock
The Control Lock disables the control panel keypads to avoid unintended use of the microwave oven.
To Lock/Unlock Control: The microwave oven must be off. Touch and hold the Cancel keypad for about 3 seconds, until the tone sounds and the Control Lock icon (see “Function Icons” in the “Display” section) appears in the display. Repeat to unlock.
The Control Lock icon will remain lit in the display until the control is unlocked.
If any control keypad is touched while the control is locked, there will be no response from the control.
MICROWAVE OVEN USE
A magnetron in the microwave oven produces microwaves which reflect off the metal floor, walls, and ceiling and pass through the turntable and appropriate cookware to the food. Microwaves are attracted to and absorbed by fat, sugar, and water molecules in the food, causing them to move, producing friction and heat which cooks the food.
- To avoid damage to the microwave oven, do not lean on or allow children to swing on the microwave oven door.
- To avoid damage to the microwave oven, do not operate microwave oven when it is empty.
- Baby bottles and baby food jars should not be heated in microwave oven.
- Clothes, flowers, fruit, herbs, wood, gourds, and paper, including brown paper bags and newspaper, should not be dried in the microwave oven.
- Paraffin wax will not melt in the microwave oven because it does not absorb microwaves.
- Use oven mitts or pot holders when removing containers from microwave oven.
- Do not overcook potatoes. At the end of the recommended cook time, potatoes should be slightly firm. Let potatoes stand for 5 minutes. They will finish cooking while standing.
- Do not cook or reheat whole eggs inside the shell. Steam buildup in whole eggs may cause them to burst, requiring significant cleanup of microwave oven cavity. Cover poached eggs and allow a standing time.
Food Characteristics
When microwave cooking, the amount, size and shape, starting temperature, composition, and density of the food affect cooking results.
Amount of Food
The more food heated at once, the longer the cook time needed. Check for doneness and add small increments of time if necessary
Size and Shape
Smaller pieces of food will cook more quickly than larger pieces, and uniformly shaped foods cook more evenly than irregularly shaped food.
Starting Temperature
Room temperature foods will heat faster than refrigerated foods, and refrigerated foods will heat faster than frozen foods.
Composition and Density
Foods high in fat and sugar will reach a higher temperature and will heat faster than other foods. Heavy, dense foods, such as meat and potatoes, require a longer cook time than the same size of a light, porous food, such as cake.
Cooking Guidelines
Covering
Covering food helps retain moisture, shorten cook time, and reduce spattering. Use the lid supplied with cookware. If a lid is not available, wax paper, paper towels, or plastic wrap approved for microwave ovens may be used. Plastic wrap should be turned back at one corner to provide an opening to vent steam. Condensation on the door and cavity surfaces is normal during heavy cooking.
Stirring and Turning
Stirring and turning redistribute heat evenly to avoid overcooking the outer edges of food. Stir from outside to center. If possible, turn food over from bottom to top.
Arranging
If heating irregularly shaped or different-sized foods, arrange the thinner parts and smaller-sized items toward the center. If cooking several items of the same size and shape, place them in a ring pattern, leaving the center of the ring empty.
Piercing
Before heating, use a fork or small knife to pierce or prick foods that have a skin or membrane, such as potatoes, egg yolks, chicken livers, hot dogs, and sausage. Prick in several places to allow steam to vent.
Shielding
Use small, flat pieces of aluminum foil to shield the thin pieces of irregularly shaped foods, bones, and foods such as chicken wings, leg tips, and fish tails. See the “Aluminum Foil and Metal” section first.
Standing Time
Food will continue to cook by the natural conduction of heat, even after the microwave cooking cycle ends. The length of standing time depends on the volume and density of the food.
Cookware and Dinnerware
Cookware and dinnerware must fit on the turntable. Always use oven mitts or pot holders when handling because any dish may become hot from heat transferred from the food. Do not use cookware and dinnerware with gold or silver trim. Use the following chart as a guide, then test before using.

To Test Cookware or Dinnerware for Microwave Use:
- Place cookware or dinnerware in microwave oven with 1 cup (250 mL) of water beside it.
- Cook at 100% cooking power for 1 minute. Do not use cookware or dinnerware if it becomes hot and the water stays cool.
Aluminum Foil and Metal
Always use oven mitts or pot holders when removing dishes from the microwave oven.
Aluminum foil and some metal can be used in the microwave oven. If not used properly, arcing (a blue flash of light) can occur and cause damage to the microwave oven.
OK for Use
Racks and bakeware supplied with the microwave oven (on some models), aluminum foil for shielding, and approved meat thermometers may be used with the following guidelines:
- To avoid damage to the microwave oven, do not allow aluminum foil or metal to touch the inside cavity walls, ceiling, or floor.
- Always use the turntable.
- To avoid damage to the microwave oven, do not allow contact with another metal object during microwave cooking.
Do Not Use
Metal cookware and bakeware, gold, silver, pewter, non-approved meat thermometers, skewers, twist ties, foil liners such as sandwich wrappers, staples, and objects with gold or silver trim or a metallic glaze, should not be used in the microwave oven.
Microwave Cooking Power
Many recipes for microwave cooking specify which cooking power to use by percent or name. For example, PL7 = 70% = Medium-High.
To see the exact power level during a cooking cycle, touch POWER LEVEL. The display will briefly show the current power level, then will return to the cooking countdown.
Use the following chart as a general guide for the suggested cooking power of specific foods.

Manual Cooking
NOTE: To cook at 100% power, begin by touching the number keypads to enter cook time, then touch START.
To Use:
- Place food on the turntable and close the door.
- Touch COOK TIME. “00:00” will appear in the display. Enter the length of time to cook. If cooking with 100% power, skip Step 3.
- Touch POWER LEVEL. The default power level PL10 will appear in the display. Enter the desired power level. See the “Microwave Cooking Power” section.
- Touch the Start keypad. When the cycle ends, “End” will appear in the display and the end-of-cycle tones will sound.
- Touch the Cancel keypad or open the door to clear the display.
Cooking in Stages
The microwave oven can be set to cook at different cooking powers for various lengths of time, up to two stages which may include a defrosting stage. See the “Weight Defrost/Timed Defrost” section to set the defrosting stage.
NOTE: If a defrosting stage is programmed, it will cycle first.
To Cook in Stages:
- Place food on the turntable and close the door.
- Touch COOK TIME. “00:00” will appear in the display. Enter the length of time to cook during the first stage.
- Touch POWER LEVEL, then enter the desired cooking power for the first stage. See the “Microwave Cooking Power” section.
- Repeat steps 2 and 3 for the second stage.
- Touch the Start keypad. One tone will sound between stages. When the cycle ends, “End” will appear in the display and the end-of-cycle tones will sound.
- Touch the Cancel keypad or open the door to clear the display.
Cook time may be added in 30-second increments during the cycling stage by touching Start Add 30 Sec.
Favorite
Use Favorite to program, store, and recall the top three most frequently used manual cook programs. Each Favorite may have 1 or 2 stages (see the “Cooking in Stages” section). In the event of a power failure, the saved Favorites will have to be reprogrammed.
To Set Favorite:
- Touch FAVORITE. “1” will appear in the display. Touch FAVORITE repeatedly to scroll through “2” and “3,” until the desired Favorite program number is displayed.
- Touch COOK TIME, then enter the cook time.
- Touch POWER LEVEL, then enter the power level. If programming a second stage, enter the cook time and power level for that stage (see the “Cooking in Stages” section).
- Touch FAVORITE to save program
OR
Touch the Start keypad to begin the programmed cycle. The program will also be saved.
To Use Favorite:
- Place food on the turntable and close the door.
- Touch FAVORITE repeatedly until desired program number appears in the display.
- Touch the Start keypad. When the cycle ends, “End” will appear in the display and the end-of-cycle tones will sound.
- Touch the Cancel keypad or open the door to clear the display.
Sensor Cooking
A sensor in the microwave oven detects humidity released from the food as it heats and adjusts the cook time accordingly.
Many sensor cycles require the covering of foods. Microwave-safe containers or steamers with loose-fitting lids are recommended. The loose-fitting lid allows enough steam to escape to be detected by the sensor. When covering foods with plastic wrap, be sure to leave a large enough vent opening to allow the steam to escape.
“SC” (sensor cook) will appear in the display during sensor cooking.
NOTES:
- The microwave oven should be plugged in for at least 3 minutes.
- The microwave oven cavity and the exterior of the cooking container should be dry.
- The room temperature should not exceed 95°F (35°C).
- If the door is opened while the sensor is detecting moisture (while “SC” appears in the display), sensing will stop and the program will be canceled.
The following menu items are preprogrammed for quick and easy cooking/reheating. For added convenience, the available/recommended amounts shown in the following chart are included on the Cooking Guide label (see the “Parts and Features” section for its location).

*When covering foods, make sure the vent opening is large enough for the moisture to escape. This will allow the sensor to accurately determine cooking time.
To Use Non-Sensor Menu (Popcorn, Pizza Reheat, Beverage, Soup, Potato):
- Place food on the turntable and close the door.
- Touch desired menu control. The first programmed amount will appear in the display. Touch control keypad repeatedly to change quantity. See chart.
- Touch the Start keypad. When the cycle ends, “End” will appear in the display and the end-of-cycle tones will sound.
- Touch the Cancel keypad or open the door to clear the display.
To Use Sensor Menu (Dinner Plate, Fresh Vegetable, Frozen Vegetable):
- Place food on the turntable and close the door.
- Touch the desired menu control. “SC” (sensor cook) will appear in the display.
- Touch the Start keypad. The microwave oven will start and sensor cooking will begin. “SC” will remain in the display during cooking. When the cycle ends, “End” will appear in the display and the end-of-cycle tones will sound.
- Touch the Cancel keypad or open the door to clear the display.
Weight Defrost/Timed Defrost
The Weight Defrost feature’s preset programs can be used, the Timed Defrost feature can be used, or the microwave oven can be manually set to defrost.
- Unwrap foods and remove lids (for example, from fruit juice containers) before defrosting.
- Shallow packages will defrost more quickly than deep blocks.
- Separate food pieces as soon as possible during or at the end of the cycle for more even defrosting.
- Use small pieces of aluminum foil to shield parts of food such as chicken wings, leg tips, and fish tails. See the “Aluminum Foil and Metal” section first.
Weight Defrost
The Weight Defrost feature has preset times and cook powers for 3 categories: Meat, Poultry, and Fish. It should not be used for food that has been left outside the freezer for more than 20 minutes or for frozen ready-made food.

To Use Weight Defrost:
- Place food, uncovered, on the turntable and close the door.
- Touch WEIGHT DEFROST. “dEF1” will appear in the display. Touch WEIGHT DEFROST a second time for “dEF2” or a third time for “dEF3,” if defrosting poultry or fish. See chart. To select your desired program, touch START or wait 5 seconds, and the prompt for entering weight will appear in the display.
- Enter the weight. Weight can be set from 0.3 lb to 6.3 lbs (136 g to 2.86 kg).
- Touch the Start keypad. The display will count down the defrost time. The cycle may be interrupted briefly to turn food, if necessary, by opening the door. Close the door and touch START to resume the cycle. When the cycle ends, “End” will appear in the display and the end-of-cycle tones will sound.
- Touch the Cancel keypad or open the door to clear the display.
Timed Defrost
Timed Defrost does not have a preset program but uses only 30% (PL3) cooking power.
To Use Timed Defrost:
- Place food, uncovered, on the turntable and close the door.
- Touch TIMED DEFROST. “00:00” will appear in the display.
- Enter the time in minutes and seconds.
- Touch the Start keypad. The display will count down the defrost time. The cycle may be interrupted briefly to turn food, if necessary, by opening the door. Close the door and touch the Start keypad to resume the cycle. When the cycle ends, “End” will appear in the display and the end-of-cycle tones will sound.
- Touch the Cancel keypad or open the door to clear the display.
To Defrost Manually: Follow directions in the “Manual Cooking” section and use 30% cooking power. See the “Microwave Cooking Power” chart.
MICROWAVE OVEN CARE
General Cleaning
IMPORTANT: Before cleaning, make sure all controls are off and the microwave oven is cool. Always follow label instructions on cleaning products.
Soap, water, and a soft cloth or sponge are suggested unless otherwise noted.
MICROWAVE OVEN CAVITY
To avoid damage to the microwave oven cavity, do not use soap-filled scouring keypads, abrasive cleaners, steel-wool pads, gritty washcloths, or some recycled paper towels.
To avoid damage to stainless steel models, rub in direction of grain.
The area where the microwave oven door and frame touch when closed should be kept clean.
Average soil
- Mild, nonabrasive soaps and detergents:
Rinse with clean water and dry with soft, lint-free cloth.
Heavy soil
- Mild, nonabrasive soaps and detergents:
Heat 1 cup (250 mL) of water for 2 to 5 minutes in microwave oven. Steam will soften soil. Rinse with clean water and dry with soft, lint-free cloth.
Odors
- Lemon juice or vinegar:
Heat 1 cup (250 mL) of water with 1 tbs (15 mL) of either lemon juice or vinegar for 2 to 5 minutes in microwave oven.
Microwave Inlet Cover
To avoid arcing and microwave oven damage, the microwave inlet cover (see the “Parts and Features” section) should be kept clean.
- Wipe with wet cloth.
MICROWAVE OVEN DOOR AND EXTERIOR
The area where the microwave oven door and frame touch when closed should be kept clean.
- Mild, nonabrasive soaps and detergents:
Rinse with clean water and dry with soft, lint-free cloth. - Glass cleaner and paper towels or nonabrasive plastic scrubbing pad:
Apply glass cleaner to towel, not directly to surface.
Stainless Steel (on some models)
To avoid damage to microwave oven door and exterior, do not use soap-filled scouring pads, abrasive cleaners, steel-wool pads, gritty washcloths, or some paper towels. Rub in direction of grain.
- Stainless steel cleaner (not included):
See the “Assistance or Service” section to order. - Liquid detergent or all-purpose cleaner:
Rinse with clean water and dry with soft, lint-free cloth. - Vinegar for hard water spots
CONTROL PANEL
- Sponge or soft cloth and water:
Dampen sponge with water and wipe panel. Dry with soft cloth. - To avoid damage to the control panel, do not use chemical or abrasive cleansers.
TURNTABLE
Replace turntable immediately after cleaning. Do not operate the microwave oven without the turntable in place.
- Mild cleanser and scouring pad
- Dishwasher
TROUBLESHOOTING
First try the solutions suggested here. If you need further assistance or more recommendations that may help you avoid a service call, refer to the warranty page in this manual and scan the code there with your mobile device, or visit producthelp.whirlpool.com.
Contact us by mail with any questions or concerns at the address below:
In the U.S.A.:
Whirlpool Brand Home Appliances
Customer eXperience Center
553 Benson Road
Benton Harbor, MI 49022-2692
Please include a daytime phone number in your correspondence.


ASSISTANCE OR SERVICE
If you need service:
Please refer to the warranty page in this manual.
If you need replacement parts:
If you need to order replacement parts, we recommend that you use only factory specified parts. These factory specified parts will fit right and work right because they are made with the same precision used to build every new Whirlpool® appliance.
To locate factory specified parts in your area, call us or your nearest Whirlpool® designated service center.
In the U.S.A.
Call the Whirlpool Customer eXperience Center toll-free: 1-800-422-1230 or visit our website at www.whirlpool.com.
Our consultants provide assistance with:
- Scheduling of service. Whirlpool® appliances designated service technicians are trained to fulfill the product warranty and provide after-warranty service anywhere in the United States.
- Features and specifications on our full line of appliances.
- Referrals to local Whirlpool® appliance dealers.
- Installation information.
- Use and maintenance procedures.
- Accessory and repair parts sales.
- Specialized customer assistance (Spanish speaking, hearing impaired, limited vision, etc.).
For further assistance:
If you need further assistance, you can write to Whirlpool with any questions or concerns at:
Whirlpool Brand Home Appliances
Customer eXperience Center
553 Benson Road
Benton Harbor, MI 49022-2692
Please include a daytime phone number in your correspondence.
Replacement Parts
Glass Turntable
Part Number W10451786
Turntable Support and Rollers
Part Number W10451792
Turntable Hub
Part Number W10451789
Cleaning Supplies
affresh® Kitchen Appliance Cleaner
Part Number W10355010
affresh® Stainless Steel Cleaner
Part Number W10355016
affresh® Stainless Steel Wipes
Part Number W10355049
Heavy Duty Degreaser
Part Number 31552A
Built-In Kits
This countertop microwave oven can be built in by using one of the following trim kits.* These kits are available from the dealer or can be ordered by kit model number. See the “Assistance or Service” section for the toll-free number.

* The built-in trim kits can be installed over any (electric or gas) built-in wall oven, up to 30″ (76.2 cm).
W11083578B
®/™ ©2017 Whirlpool. All rights reserved.
















