KitchenAid Microwave Oven

Your safety and the safety of others are very important. We have provided many important safety messages in this manual and on your appliance. Always read and obey all safety messages.
This is the safety alert symbol. This symbol alerts you to potential hazards that can kill or hurt you and others. All safety messages will follow the safety alert symbol and either the word “DANGER” or “WARNING.” These words mean
IMPORTANT SAFETY INSTRUCTIONS
When using electrical appliances basic safety precautions should be followed, including the following:
WARNING: To reduce the risk of burns, electric shock, fire, injury to persons, or exposure to excessive microwave energy:
- Read all instructions before using the microwave oven.
- Read and follow the specific “PRECAUTIONS TO AVOID POSSIBLE EXPOSURE TO EXCESSIVE MICROWAVE ENERGY” found in this section.
- The microwave oven must be grounded. Connect only to properly grounded outlet. See “GROUNDING INSTRUCTIONS” found in the “INSTALLATION INSTRUCTIONS” section.
- Install or locate the microwave oven only in accordance with the provided Installation Instructions.
- Some products such as whole eggs in the shell and sealed containers – for example, closed glass jars – are able to explode and should not be heated in the microwave oven.
- Use the microwave oven only for its intended use as described in the manual. Do not use corrosive chemicals or vapors in the microwave oven. This type of oven is specifically designed to heat, cook, or dry food. It is not designed for industrial or laboratory use.
- As with any appliance, close supervision is necessary when used by children.
- Do not operate the microwave oven if it has a damaged cord or plug, if it is not working properly, or if it has been damaged or dropped.
- The microwave oven should be serviced only by qualified service personnel. Call an authorized service company for examination, repair, or adjustment.
- Do not cover or block any openings on the microwave oven.
- Do not store this microwave oven outdoors. Do not use the microwave oven near water – for example, near a kitchen sink, in a wet basement, near a swimming pool, or similar locations.
- Do not immerse cord or plug in water.
- Keep cord away from heated surfaces.
- Do not let cord hang over edge of table or counter.
- See door surface cleaning instructions in the “Microwave Oven Care” section.
- To reduce the risk of fire in the oven cavity:–
- Do not overcook food. Carefully attend the microwave oven when paper, plastic, or other combustible materials are placed inside the oven to facilitate cooking.
- Remove wire twist-ties from paper or plastic bags before placing bags in oven.
- If materials inside the oven ignite, keep oven door closed, turn oven off, and disconnect the power cord, or shut off power at the fuse or circuit breaker panel.
- Do not use the cavity for storage purposes. Do not leave paper products, cooking utensils, or food in the cavity when not in use.
- Liquids, such as water, coffee, or tea are able to be overheated beyond the boiling point without appearing to be boiling. Visible bubbling or boiling when the container is removed from the microwave oven is not always present.
THIS COULD RESULT IN VERY HOT LIQUIDS SUDDENLY BOILING OVER WHEN THE CONTAINER IS DISTURBED OR A SPOON OR OTHER UTENSIL IS INSERTED INTO THE LIQUID.
To reduce the risk of injury to persons:–- Do not overheat the liquid.
- Stir the liquid both before and halfway through heating it.
- Do not use straight-sided containers with narrow necks.
- After heating, allow the container to stand in the microwave oven for a short time before removing the container.
- Use extreme care when inserting a spoon or other utensil into the container.
- Do not mount over a sink.
- Do not store anything directly on top of the microwave oven when the microwave oven is in operation.
- Oversized foods or oversized metal utensils should not be inserted in the microwave oven as they may create a fire or risk of electric shock.
- Do not clean with metal scouring pads. Pieces can burn off the pad and touch electrical parts involving a risk of electric shock.
- Do not use paper products when appliance is operated in convection, combination, grill or “PAN BROWN” mode.
- Do not store any materials, other than manufacturer’s recommended accessories, in this microwave oven when not in use.
- Do not cover racks or any other part of the microwave oven with metal foil. This will cause overheating of the microwave oven.
PRECAUTIONS TO AVOID POSSIBLE EXPOSURE TO EXCESSIVE MICROWAVE ENERGY
- Do not attempt to operate this oven with the door open since open-door operation can result in harmful exposure to microwave energy. It is important not to defeat or tamper with the safety interlocks.
- Do not place any object between the oven front face and the door or allow soil or cleaner residue to accumulate on sealing surfaces.
- Do not operate the oven if it is damaged. It is particularly important that the oven door close properly and that there is no damage to the:
- Door (bent),
- Hinges and latches (broken or loosened),
- Door seals and sealing surfaces.
- The oven should not be adjusted or repaired by anyone except properly qualified service personnel.
State
of California Proposition 65 Warnings:
WARNING: This product contains one or more chemicals known to the State of California to cause cancer.
WARNING: This product contains one or more chemicals known to the State of California to cause birth defects or other reproductive harm.
INSTALLATION INSTRUCTIONS
Unpacking
- 1Empty the microwave oven of any packing materials.
- Clean the inside with a soft, damp cloth.
- Check for damage, such as:
- a door that is not lined up correctly,
- damage around the door, or
- dents on the interior or exterior of the microwave oven. If there is any damage, do not operate the microwave oven until a designated service technician has checked it and made any needed repairs.
NOTE: To avoid damage to the microwave oven, do not remove microwave inlet cover. See the “Parts and Features” section.
Location Requirements
WARNING:
Excessive Weight Hazard Use two or more people to move and install microwave oven. Failure to do so can result in back or other injury.
IMPORTANT: The control side of the microwave oven is the heavy side. Handle the microwave oven gently. The weight of the microwave oven is over 35 lbs (15.9 kg).
- Place the microwave oven on a cart, counter, table, or shelf that is strong enough to hold the microwave oven and the food and utensils you place inside it.
- The microwave oven should be at a temperature above 50°F (10°C) for proper operation.
NOTE: Some models can be built into a wall or cabinet by using one of the trim kits listed in the “Assistance or Service” section. - Do not block the exhaust vents or air intake openings. Allow a few inches of space at the back and side of the microwave oven where the exhaust vents are located. Blocking the exhaust vents could cause damage to the microwave oven as well as poor cooking results.
- Make sure the microwave oven legs are in place to ensure proper airflow. If vents are blocked, a sensitive thermal device may automatically turn the microwave oven off. The microwave oven should work properly once it has cooled.
Electrical Requirements
Observe all governing codes and ordinances.
Required:
- A 120 V, 60 Hz, AC only, 15 or 20 A electrical supply with a fuse or circuit breaker
Recommended: - A time-delay fuse or time-delay circuit breaker
- A separate circuit serving only this microwave oven.
GROUNDING INSTRUCTIONS
For all cord connected appliances:
- The microwave oven must be grounded. In the event of an electrical short circuit, grounding reduces the risk of electric shock by providing an escape wire for the electric current. The microwave oven is equipped with a cord having a grounding wire with a grounding plug. The plug must be plugged into an outlet that is properly installed and grounded.
- WARNING: Improper use of the grounding plug can result in a risk of electric shock. Consult a qualified electrician or serviceman if the grounding instructions are not completely understood, or if doubt exists as to whether the microwave oven is properly grounded. Do not use an extension cord. If the power supply cord is too short, have a qualified electrician or serviceman install an outlet near the microwave oven. A short power supply cord is provided to reduce the risks resulting from becoming entangled in or tripping over a longer cord.
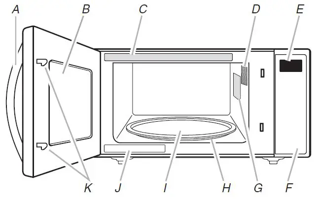
PARTS AND FEATURES
This manual may cover several different models. The model you have purchased may have some or all of the features shown here. The appearance of your particular model may differ slightly from the illustrations in this manual.
A. Door Handle
B. Window
C. Cooking guide label
D. Microwave oven light
E. Display
F. Control panel
G. Microwave inlet cover
H. Removable turntable support
I. Glass turntable
J. Model and serial number plate
K. Door lock system
Turntable
The turntable can rotate in either direction to help cook food more evenly. For best cooking results, do not operate the microwave oven without having the turntable in place. See the “Assistance or Service” section to reorder any of the parts.
To Install:
- Place the support on the microwave oven cavity bottom.
- Place the turntable on the support.
Fit the raised, curved wedges in the center of the turntable bottom between the 3 spokes of the hub. The rollers on the support should fit inside the turntable bottom ridge.
Microwave Oven Control
Display
When power is first supplied to the microwave oven, “0:00” will appear in the display. If the “0:00” appears in the display at any other time, a power failure has occurred. Reset the clock if needed. See the “Clock” section. When the microwave oven is in use, the display will show cook time remaining. When the microwave oven is not in use, the display will show the time of day (if the clock is set) or Timer countdown (if the Timer is set).
Start
Start begins any function. If non-sensor cooking is interrupted by opening the door, touching Start will resume the cycle.
NOTE: To avoid unintentional operation of the microwave oven, a cooking function cannot be started if the microwave oven door has been closed for about 5 minutes. The word “door” will appear in the display until the door is opened and closed.
Add 30 Seconds
Start Add 30 Sec automatically starts the microwave oven at 100% power for 30 seconds and it adds 30 seconds of cook time with each additional touch of the keypad.
Time may be added to any manual cooking cycle in 30-second increments, at the current power level, by touching Start Add 30 Sec during cooking.
NOTE: To avoid unintentional operation of the microwave oven, a cooking function cannot be started if the microwave oven door has been closed for about 5 minutes. The word “door” will appear in the display until the door is opened and closed.
Stop Cancel
The Stop Cancel keypad clears any incorrect command and cancels any program during cooking. It will not erase the time of day. The microwave oven will also turn off when the door is opened. Close the door and touch START to resume the cycle. The Stop Cancel keypad is also used to lock and unlock the control panel. See the “Control Lock” section.
Tones
Tones are audible signals that cannot be turned off. One tone
- Valid entry
- Control Lock activated or deactivated
- End of stage in multistage cooking
Three tones - End of Timer countdown
Five tones - End of cooking cycle
- Reminder, repeating each minute after the end-of-cycle and end-of-Timer tones.
Clock
This is a standard 12-hour clock (1:00-12:59). The Clock cannot be erased. If the Clock is not set, “0:00” will remain in the display when the microwave oven is not in use.
To Set:
The microwave oven and Timer must be off.
- Touch CLOCK.
- Touch the number keypads to enter the correct time of day.
- Touch CLOCK.
Timer
The Timer can be set in minutes and seconds, up to 99 minutes 99 seconds, and counts down the set time.
NOTE: The Timer does not start or stop the microwave oven. Cook functions may be used while the Timer is counting down. When the cook function is active in the display, touch TIMER to see the Timer countdown for about 5 seconds.
To Set:
- Touch TIMER.
- Touch the number keypads to enter desired time.
- Touch START. When the set time ends, “End” will appear in the display and the end-of-Timer tones will sound.
- Touch STOP CANCEL while the Timer is active in the display to cancel the Timer.
Language
The default display language is English, but it may be set to French. Two display messages are affected: “End” (English) or “Fin” (French) and “door” (English) or “PrtE” (“porte” – French). To Set Language to French: With the microwave oven door open, touch and hold the number 1 keypad for about 3 seconds, until a tone sounds. Repeat to change back to English. The language remains set after a power failure.
Weight Entry Mode
The default weight entry mode for Defrost is imperial (pounds) but may be set to metric (grams). This setting does not affect any other program besides Defrost. See the “Defrost” section. To Set Weight Entry to Metric: With the microwave oven door open, touch and hold the number 0 keypad for about 3 seconds, until a tone sounds. Repeat to change back to imperial. The mode remains set after a power failure.
Control Lock
The Control Lock disables the control panel keypads to avoid unintended use of the microwave oven.
To Lock/Unlock Control: The microwave oven must be off. Touch and hold STOP CANCEL for about 3 seconds, until the tone sounds and the Control Lock icon appears in the display. Repeat to unlock. If any keypad is touched while the control is locked, there will be no response from the control.
MICROWAVE OVEN USE
A magnetron in the microwave oven produces microwaves which reflect off the metal floor, walls, and ceiling and pass through the turntable and appropriate cookware to the food. Microwaves are attracted to and absorbed by fat, sugar, and water molecules in the food, causing them to move, producing friction and heat which cooks the food.
- To avoid damage to the microwave oven, do not lean on or allow children to swing on the microwave oven door.
- To avoid damage to the microwave oven, do not operate microwave oven when it is empty.
- Baby bottles and baby food jars should not be heated in microwave oven.
- Clothes, flowers, fruit, herbs, wood, gourds, and paper, including brown paper bags and newspaper, should not be dried in the microwave oven.
- Paraffin wax will not melt in the microwave oven because it does not absorb microwaves.
- Use oven mitts or pot holders when removing containers from microwave oven.
- Do not overcook potatoes. At the end of the recommended cook time, potatoes should be slightly firm. Let potatoes stand for 5 minutes. They will finish cooking while standing.
- Do not cook or reheat whole eggs inside the shell. Steam buildup in whole eggs may cause them to burst, requiring significant cleanup of microwave oven cavity. Cover poached eggs and allow a standing time.
Food Characteristics
When microwave cooking, the amount, size and shape, starting temperature, composition, and density of the food affect cooking results.
Amount of Food
The more food heated at once, the longer the cook time needed. Check for doneness and add small increments of time if necessary.
Size and Shape
Smaller pieces of food will cook more quickly than larger pieces, and uniformly shaped foods cook more evenly than irregularly shaped food.
Starting Temperature
Room temperature foods will heat faster than refrigerated foods, and refrigerated foods will heat faster than frozen foods.
Composition and Density
Foods high in fat and sugar will reach a higher temperature and will heat faster than other foods. Heavy, dense foods, such as meat and potatoes, require a longer cook time than the same size of a light, porous food, such as cake.
Cooking Guidelines
Covering
Covering food helps retain moisture, shorten cook time, and reduce spattering. Use the lid supplied with cookware. If a lid is not available, wax paper, paper towels, or plastic wrap approved for microwave ovens may be used. Plastic wrap should be turned back at one corner to provide an opening to vent steam. Condensation on the door and cavity surfaces is normal during heavy cooking.
Stirring and Turning
Stirring and turning redistribute heat evenly to avoid overcooking the outer edges of food. Stir from outside to center. If possible, turn food over from bottom to top.
Arranging
If heating irregularly shaped or different-sized foods, arrange the thinner parts and smaller-sized items toward the center. If cooking several items of the same size and shape, place them in a ring pattern, leaving the center of the ring empty.
Piercing
Before heating, use a fork or small knife to pierce or prick foods that have a skin or membrane, such as potatoes, egg yolks, chicken livers, hot dogs, and sausage. Prick in several places to allow steam to vent.
Shielding
Use small, flat pieces of aluminum foil to shield the thin pieces of irregularly shaped foods, bones, and foods such as chicken wings, leg tips, and fish tails. See the “Aluminum Foil and Metal” section first.
Standing Time
Food will continue to cook by the natural conduction of heat, even after the microwave cooking cycle ends. The length of standing time depends on the volume and density of the food.
Cookware and Dinnerware
Cookware and dinnerware must fit on the turntable. Always use oven mitts or pot holders when handling because any dish may become hot from heat transferred from the food. Do not use cookware and dinnerware with gold or silver trim. Use the following chart as a guide, then test before using.
| Material | Recommendations |
| Aluminum Foil, Metal | See the “Aluminum Foil and Metal” section. |
| Browning Dish | Bottom must be at least 3/16″ (5 mm) above the turntable. Follow manufacturer’s recommendations. |
| Ceramic Glass, Glass | Acceptable for use |
| China, Earthenware | Follow manufacturer’s recommendations. |
| Melamine | Follow manufacturer’s recommendations. |
| Paper: Towels, Dinnerware, Napkins | Use non-recycled and those approved by the manufacturer for microwave oven use. |
| Material | Recommendations |
| Plastic: Wraps, Bags, Covers, Dinnerware, Containers | Use those approved by the manufacturer for microwave oven use. |
| Pottery and Clay | Follow manufacturer’s recommendations. |
| Silicone Bakeware | Follow manufacturer’s recommendations. |
| Straw, Wicker, Wooden Containers | Do not use in microwave oven. |
| Wax Paper | Acceptable for use |
To Test Cookware or Dinnerware for Microwave Use:
- Place cookware or dinnerware in microwave oven with 1 cup (250 mL) of water beside it.
- Cook at 100% cooking power for 1 minute. Do not use cookware or dinnerware if it becomes hot and the water stays cool.
Aluminum Foil and Metal
Always use oven mitts or pot holders when removing dishes from the microwave oven. Aluminum foil and some metal can be used in the microwave oven. If not used properly, arcing (a blue flash of light) can occur and cause damage to the microwave oven.
OK for Use
Racks and bakeware supplied with the microwave oven (on some models), aluminum foil for shielding, and approved meat thermometers may be used with the following guidelines:
- To avoid damage to the microwave oven, do not allow aluminum foil or metal to touch the inside cavity walls, ceiling, or floor.
- Always use the turntable.
- To avoid damage to the microwave oven, do not allow contact with another metal object during microwave cooking.
Do Not Use
Metal cookware and bakeware, gold, silver, pewter, non-approved meat thermometers, skewers, twist ties, foil liners, such as sandwich wrappers, staples, and objects with gold or silver trim or a metallic glaze, should not be used in the microwave oven.
Microwave Cooking Power
Many recipes for microwave cooking specify which cooking power to use by percent or name. For example, PL7 = 70% = Medium-High. To see the exact power level during a cooking cycle, touch POWER LEVEL. The display will briefly show the current power level, then will return to the cooking countdown. Use the following chart as a general guide for the suggested cooking power of specific foods.
| Percent/Name | Use |
| 100%, High, PL10 (default setting) | Quick heating convenience foods and foods with high water content, such as soups, beverages, and most vegetables |
| 90%, PL9 | Cooking small, tender pieces of meat, ground meat, poultry pieces, and fish fillets Heating cream soups |
| 80%, PL8 | Heating rice, pasta, or stirrable casseroles Cooking and heating foods that need a cook power lower than high, for example, whole fish and meat loaf |
| 70%, Medium-High, PL7 | Reheating a single serving of food |
| 60%, PL6 | Cooking sensitive foods such as cheese and egg dishes, pudding, and custards Cooking non-stirrable casseroles such as lasagna |
| 50%, Medium, PL5 | Cooking ham, whole poultry, and pot roasts Simmering stews |
| 40%, PL4 | Melting chocolate Heating bread, rolls, and pastries |
| 30%, Medium-Low, Defrost, PL3 | Defrosting bread, fish, meats, poultry, and precooked foods |
| 20%, PL2 | Softening butter, cheese, and ice cream |
| 10%, Low, PL1 | Taking chill out of fruit |
Manual Cooking
NOTE: To cook at 100% power, begin by touching the number keypads to enter cook time, then touch START.
To Use:
- Place food on the turntable and close the door.
- Touch COOK TIME. “00:00” will appear in the display. Enter the length of time to cook. If cooking with 100% power, skip Step 3.
- Touch POWER LEVEL. The default power level PL10 will appear in the display. Enter the desired power level. See the “Microwave Cooking Power” section.
- Touch START. When the cycle ends, “End” will appear in the display and the end-of-cycle tones will sound.
- Touch STOP CANCEL or open the door to clear the display.
Cooking in Stages
The microwave oven can be set to cook at different cooking powers for various lengths of time, up to 2 stages, which may include a defrosting stage. See the “Defrost” section to set the defrosting stage.
NOTE: If a defrosting stage is programmed, it will cycle first.
To Cook in Stages:
- Place food on the turntable and close the door.
- Touch COOK TIME. “00:00” will appear in the display. Enter the length of time to cook during the first stage.
- Touch POWER LEVEL, then enter the desired cooking power for the first stage. See the “Microwave Cooking Power” section.
- Repeat steps 2 and 3 for the second stage.
- Touch START. One tone will sound between stages. When the cycle ends, “End” will appear in the display and the end-of-cycle tones will sound.
- Touch STOP CANCEL or open the door to clear the display. Cook time may be added in 30-second increments during the cycling stage by touching Start Add 30 Sec.
Favorite
Use the FAVORITE control to program, store and recall the top 3 most frequently used manual cook programs. Each Favorite may have 1 or 2 stages (see “Cooking in Stages” section). In the event of a power failure, the saved Favorites will have to be reprogrammed.
To Set FAVORITE:
- Touch FAVORITE.
“1” will appear in the display. Touch FAVORITE repeatedly to scroll through “2” and “3,” until the desired Favorite program number is displayed. - Touch COOK TIME, then enter the cook time.
- Touch POWER LEVEL, then enter the power level. If programming a second stage, enter the cook time and power level for that stage (see “Cooking in Stages” section).
- Touch FAVORITE to save program
OR
Touch START to begin the programmed cycle. The program will also be saved.
To Use FAVORITE:
- Place food on the turntable, and close the door.
- Touch FAVORITE repeatedly until desired program number appears in the display.
- Touch START. When the cycle ends, “End” will appear in the display, and the end-of-cycle tones will sound.
- Touch STOP CANCEL or open the door to clear the display.
Sensor Cooking
A sensor in the microwave oven detects humidity released from the food as it heats and adjusts the cook time accordingly. Many sensor cycles require the covering of foods. Microwave-safe containers or steamers with loose-fitting lids are recommended. The loose-fitting lid allows enough steam to escape to be detected by the sensor. When covering foods with plastic wrap, be sure to leave a large enough vent opening to allow the steam to escape. “SC” (sensor cook) will appear in the display during sensor cooking.
NOTES:
- The microwave oven should be plugged in for at least 3 minutes.
- The microwave oven cavity and the exterior of the cooking container should be dry.
- The room temperature should not exceed 95°F (35°C).
- If the door is opened while the sensor is detecting moisture (while “SC” appears in the display), sensing will stop and the program will be canceled.
Menu (sensor and non-sensor)
The following menu items are preprogrammed for quick and easy cooking/reheating. For added convenience, the available/recommended amounts shown in the following chart are included on the Cooking Guide label (see the “Parts and Features” section for its location).
| Menu Item | Serving Size | Instructions |
| POPCORN (non- sensor) | 1.75 oz (50 g) 3.0 oz (85 g) 3.3 oz (94 g) | ■ To avoid damage to the microwave oven, do not use regular paper bags or glassware. ■ Pop only 1 package of popcorn at a time. ■ Follow manufacturer’s instructions when using a microwave popcorn popper. ■ For best cooking results, do not try to pop unpopped kernels. ■ Use fresh bags of popcorn for optimal results. ■ Cooking results may vary by brand and fat content. For bag sizes not listed in this section, follow directions on the package. NOTE: During Popcorn function, as with all microwave cooking functions, the microwave oven should be attended at all times. Listen for popping to slow to 1 pop every 1 or 2 seconds, then stop the cycle. |
| PIZZA REHEAT (non-sensor) | 1 to 3 slices, 3 oz (85 g) each, refrigerated | Place pizza slices on a paper towel-lined microwave-safe plate in the center of the turntable. |
| BEVERAGE (non- sensor, reheat) | 1 or 2 cups, 8.8 oz (250 mL) each | Do not cover. The diameter of the cup’s opening will affect how the liquid heats. Beverages in cups with smaller openings may heat faster. |
| SOUP (non-sensor) | 1 to 4 cups (250 mL to 1 L) | Place in microwave-safe container. Cover with plastic wrap and vent.* Stir and let stand 2-3 minutes after heating. |
| POTATO (non-sensor) | 1 to 4 potatoes, 8 oz (227 g) each | Pierce each one several times with a fork. Place on paper towel, around turntable edges, at least 1″ (2.5 cm) apart. Place a single potato to the side of the turntable. Let stand 5 minutes after cooking. |
| FROZEN ENTREE (non-sensor) | 10 oz or 20 oz (283 g or 567 g) | Remove from package. Loosen cover on 3 sides. Place entrée to the side of the turntable. Let stand 2-3 minutes after cooking. |
| DINNER PLATE (sensor, reheat) | 8-16 oz (227-454 g), refrigerated | Place food on microwave-safe plate. Cover with plastic wrap and vent.* Let stand 2-3 minutes after heating. |
| FRESH VEGETABLE (sensor) | 4 to 16 oz (113-454 g) | Place in microwave-safe container and add 2-4 Tbsp (30-60 mL) water. Cover with plastic wrap and vent.* Stir and let stand 2-3 minutes after cooking. |
| FROZEN VEGETABLE (sensor) | 4-16 oz (113-454 g) | Place in microwave-safe container and add 2-4 Tbsp (30-60 mL) water. Cover with plastic wrap and vent.* Stir and let stand 2-3 minutes after cooking. |
* When covering foods, make sure the vent opening is large enough for the moisture to escape. This will allow the sensor to accurately determine cooking time.
To Use Non-Sensor Menu (Popcorn, Pizza Reheat, Beverage, Soup, Potato):
- Place food on the turntable and close the door.
- Touch desired menu control. The first programmed amount will appear in the display. Touch control keypad repeatedly or touch number keypads to change quantity. See chart.
- Touch START. When the cycle ends, “End” will appear in the display and the end-of-cycle tones will sound.
- Touch STOP CANCEL or open the door to clear the display.
To Use Sensor Menu (Dinner Plate, Fresh Vegetable, Frozen Vegetable):
- Place food on the turntable and close the door.
- Touch the desired menu control. “SC” (sensor cook) will appear in the display.
- Touch START. The microwave oven will start and sensor cooking will begin. “SC” will remain in the display until the sensor has determined the remaining cook time. When the cycle ends, “End” will appear in the display and the end-of-cycle tones will sound.
- Touch STOP CANCEL or open the door to clear the display.
Weight Defrost/Timed Defrost
The Weight Defrost feature’s preset programs can be used, the Timed Defrost feature can be used, or the microwave oven can be manually set to defrost.
- Unwrap foods and remove lids (for example, from fruit juice containers) before defrosting.
- Shallow packages will defrost more quickly than deep blocks.
- Separate food pieces as soon as possible during or at the end of the cycle for more even defrosting.
- Use small pieces of aluminum foil to shield parts of food such as chicken wings, leg tips, and fish tails. See the “Aluminum Foil and Metal” section first.
Weight Defrost
The Weight Defrost feature has preset times and cook powers for defrosting meat, poultry, and fish by weight. It should not be used for food that has been left outside the freezer for more than 20 minutes or for frozen ready-made food. Use the following chart as a guide.
| Foods | Instructions |
| Meat Beef (ground, steaks, roast, stew) Lamb (stew and chops) Pork (chops, ribs, roasts, sausage) | The narrow or fatty areas of irregular- shaped cuts should be shielded with foil before defrosting. Do not defrost less than 1/4 lb (113 g) or two 4 oz (113 g) patties. Place all meats in microwave-safe baking dish. Do not cover. |
| Poultry Chicken (whole and cut up) Cornish hens Turkey breast | Place in microwave-safe baking dish, chicken breast-side up. Do not cover. |
| Fish Fillets Steaks Whole shellfish | Place in microwave-safe baking dish. Do not cover. |
To Use Weight Defrost:
- Place food, uncovered, on the turntable and close the door.
- Touch WEIGHT DEFROST. Enter the weight in pounds. Weight can be set from 0.3 lb to 6.3 lbs (136 g to 2.86 kg).
- Touch START. The display will count down the defrost time. The cycle may be interrupted briefly to turn food, if necessary, by opening the door. Close the door and touch START to resume the cycle. When the cycle ends, “End” will appear in the display and the end-of-cycle tones will sound.
- Touch STOP CANCEL or open the door to clear the display.
Timed Defrost
Timed Defrost does not have a preset program but uses only 30% (PL3) cooking power.
To Use Timed Defrost:
- Place food, uncovered, on the turntable and close the door.
- Touch TIMED DEFROST. “00:00” will appear in the display.
- Enter the time in minutes and seconds.
- Touch START. The display will count down the defrost time. The cycle may be interrupted briefly to turn food, if necessary, by opening the door. Close the door and touch START to resume the cycle. When the cycle ends, “End” will appear in the display and the end-of-cycle tones will sound.
- Touch STOP CANCEL or open the door to clear the display. To Defrost Manually: Follow directions in the “Manual Cooking” section and use 30% cooking power. See the “Microwave Cooking Power” chart.
MICROWAVE OVEN CARE
General Cleaning
IMPORTANT: Before cleaning, make sure all controls are off and the microwave oven is cool. Always follow label instructions on cleaning products. Soap, water, and a soft cloth or sponge are suggested unless otherwise noted.
MICROWAVE OVEN CAVITY
To avoid damage to the microwave oven cavity, do not use soap-filled scouring pads, abrasive cleaners, steel-wool pads, gritty washcloths, or some recycled paper towels. To avoid damage to stainless steel models, rub in direction of grain. The area where the microwave oven door and frame touch when closed should be kept clean.
Average soil
- Mild, nonabrasive soaps and detergents: Rinse with clean water and dry with soft, lint-free cloth.
Heavy soil
Mild, nonabrasive soaps and detergents: Heat 1 cup (250 mL) of water for 2 to 5 minutes in microwave oven. Steam will soften soil. Rinse with clean water and dry with soft, lint-free cloth.
Odors
Lemon juice or vinegar: Heat 1 cup (250 mL) of water with 1 tbs (15 mL) of either lemon juice or vinegar for 2 to 5 minutes in microwave oven.
Microwave Inlet Cover
To avoid arcing and microwave oven damage, the microwave inlet cover (see the “Parts and Features” section) should be kept clean. Wipe with wet cloth.
MICROWAVE OVEN DOOR AND EXTERIOR
The area where the microwave oven door and frame touch when closed should be kept clean.
- Mild, nonabrasive soaps and detergents: Rinse with clean water and dry with soft, lint-free cloth.
- Glass cleaner and paper towels or nonabrasive plastic scrubbing pad: Apply glass cleaner to towel, not directly to surface.
Stainless Steel (on some models)
To avoid damage to microwave oven door and exterior, do not use soap-filled scouring pads, abrasive cleaners, steel-wool pads, gritty washcloths, or some paper towels. Rub in direction of grain.
- Stainless steel cleaner (not included): See the “Assistance or Service” section to order.
- All-purpose cleaner: Rinse with clean water and dry with soft, lint-free cloth.
- Vinegar for hard water spots.
CONTROL PANEL
- Sponge or soft cloth and water: Dampen sponge with water and wipe panel. Dry with soft cloth.
- To avoid damage to the control panel, do not use chemical or abrasive cleansers.
TURNTABLE
Replace turntable immediately after cleaning. Do not operate the microwave oven without the turntable in place.
- Mild cleanser and scouring pad
- Dishwasher.
TROUBLESHOOTING
First try the solutions suggested here. If you need further assistance or more recommendations that may help you avoid a service call, refer to the warranty page in this manual, or visit producthelp.kitchenaid.com. Contact us by mail with any questions or concerns at the address below:
KitchenAid Brand Home Appliances
Customer eXperience Center
553 Benson Road
Benton Harbor, MI 49022-2692 Please include a daytime phone number in your correspondence.
| If you experience | Recommended Solutions |
| Nothing will operate | Check the following: ■ Household fuse or circuit breaker: If a household fuse has blown or a circuit breaker has tripped, replace the fuse or reset the circuit breaker. If the problem continues, call an electrician. |
| Microwave oven will not operate | Check the following: ■ Magnetron: Try to heat 1 cup (250 mL) of cold water for 2 minutes at 100% cooking power. If water does not heat, try the steps in the bullets below. If microwave oven still does not operate, call for service. ■ Door: Firmly close door. On some models, if a packaging spacer is attached to the inside of the door, remove it, then firmly close door. If a message about the door appears in the display, the door has been closed for 5 minutes or more without the microwave oven being started. This occurs to avoid unintended starting of the microwave oven. Open and close the door, then start the cycle. ■ Control: Make sure control is set properly. Make sure Control Lock is off. Make sure Demo mode (on some models) is off. |
| Microwave oven makes humming noise | ■ This is normal and occurs when the power supply in the magnetron cycles on. |
| Microwave oven door looks wavy | ■ This is normal and will not affect performance. |
| Turntable will not operate | Check the following: ■ Turntable: Make sure turntable is correct-side up and is sitting securely on the turntable support. See the “Turntable” section. ■ Turntable support: Remove turntable. Remove and clean turntable hub, support, and rollers. Replace hub, support, and turntable. Place 1 cup (250 mL) of water on the turntable, then restart microwave oven. If it still is not working, call for service. See the “Warranty” section. Do not operate the microwave oven without turntable and turntable support working properly. |
| Turntable alternates rotation directions | ■ This is normal and depends on motor rotation at the beginning of the cycle. |
| Display shows messages | ■ A flashing “0:00” means there has been a power failure. Reset the clock. |
| Display shows time countdown, but the microwave oven is not operating | Check the following: ■ Timer: See the “Timer” section. |
| Tones are not sounding | Check the following: ■ Tones: See the “Tones” section. |
| Cooking times seem too long | Check the following: Cooking power: See the “Microwave Cooking Power” section. Amount of food: Larger amounts of food need longer cooking times. Voltage: Have a qualified electrician check the electrical system in the home. |
| Radio, TV, or cordless phone interference | Check the following: ■ Proximity: Move the receiver away from the microwave oven or adjust the radio or TV antenna. If the microwave oven is plugged into the same outlet, try a different outlet for the electronic device. ■ Soil: Make sure the microwave oven door and sealing surfaces are clean. ■ Frequency: Some 2.4 GHz-based cordless phones and home wireless networks may experience static or noise while microwave oven is on. Use a corded phone, a different frequency cordless phone, or avoid using these items during microwave oven operation. |
ASSISTANCE OR SERVICE
If you need service:
Please refer to the warranty page in this manual.
If you need replacement parts:
If you need to order replacement parts, we recommend that you use only factory specified parts. These factory specified parts will fit right and work right because they are made with the same precision used to build every new KitchenAid® appliance. To locate factory specified parts in your area, call us or your nearest KitchenAid® designated service center.
In the U.S.A.
Call the KitchenAid Customer eXperience Center toll free: 1-800-422-1230 or visit our website at www.kitchenaid.com.
Our consultants provide assistance with:
- Scheduling of service. KitchenAid® appliances designated service technicians are trained to fulfill the product warranty and provide after-warranty service anywhere in the United States.
- Features and specifications on our full line of appliances.
- Referrals to local KitchenAid® appliance dealers.
- Installation information.
- Use and maintenance procedures.
- Accessory and repair parts sales.
- Specialized customer assistance (Spanish speaking, hearing impaired, limited vision, etc.).
For further assistance:
If you need further assistance, you can write to KitchenAid with any questions or concerns at:
KitchenAid Brand Home Appliances
Customer eXperience Center
553 Benson Road
Benton Harbor, MI 49022-2692
Please include a daytime phone number in your correspondence.
Replacement Parts:
Glass Turntable
Part Number W10510836
Turntable Support and Rollers
Part Number W10510837
Turntable Hub
Part Number W10510839
Cleaning Supplies
Affresh® Kitchen Appliance Cleaner
Part Number W10355010
Affresh® Stainless Steel Cleaner
Part Number W10355016
Affresh® Stainless Steel Wipes
Part Number W10355049
Heavy Duty Degreaser
Part Number 31552A
Built-In Kits
This countertop microwave oven can be built in by using one of the following trim kits.* These kits are available from the dealer or can be ordered by kit model number. See the “Assistance or Service” section for the toll-free number.
| Kit Size | Kit Model Numbers/Color |
| 27″ (68.6 cm) | MK2227AW/White MK2227AB/Black MK2227AS/Stainless MK2227AV/Black Stainless Steel |
| 30″ (76.2 cm) | MK2220AW/White MK2220AB/Black MK2220AS/Stainless MK2220AV/Black Stainless Steel |
KITCHENAID® COUNTERTOP MICROWAVE LIMITED WARRANTY
ATTACH YOUR RECEIPT HERE. PROOF OF PURCHASE IS REQUIRED TO OBTAIN WARRANTY SERVICE. Please have the following information available when you call the Customer eXperience Center:
- Name, address and telephone number
- Model number and serial number
- A clear, detailed description of the problem
- Proof of purchase including dealer or retailer name and address.
IF YOU NEED SERVICE:
If you reside in the United States and your KitchenAid® Countertop Microwave should cease to operate within the first year of ownership:
- Before contacting us to arrange service, please determine whether your product requires repair. Some questions can be addressed without service. Please take a few minutes to review the Troubleshooting or Problem Solver section of the Use and Care Guide, or visit http://www.kitchenaid.com/customer-service.
- All warranty service is provided exclusively by our authorized KitchenAid Service Providers. In the U.S. and Canada, direct all requests for warranty service to:
KitchenAid Customer eXperience Center
In the U.S.A., call 1-800-422-1230. In Canada, call 1-800-807-6777. - The consultant will advise whether the microwave qualifies for repair or replacement.
- In the event of repair, you may be directed to forward the product to a KitchenAid designated service center. You are responsible for insurance and freight to the designated service center. Please include your name and address on a piece of paper, along with a copy of the proof of purchase (register receipt, charge slip, etc.). The microwave should be properly packaged to avoid damage in transit as we will not be responsible for any such damage.
- KitchenAid will return the repaired unit or, at our option, an identical or comparable microwave to your door free of charge. If outside the 50 United States or Canada, contact your authorized KitchenAid dealer to determine whether another warranty applies.
ONE YEAR LIMITED WARRANTY
WHAT IS COVERED
For one year from the date of purchase, when this microwave is installed, operated and maintained according to instructions attached to or furnished with the product, KitchenAid brand of Whirlpool Corporation or Whirlpool Canada LP (hereafter “KitchenAid”) will pay for Factory Specified Replacement Parts and repair labor to correct defects in materials or workmanship that existed when this microwave was purchased, or at its sole discretion replace the product. In the event of product replacement, your appliance will be warranted for the remaining term of the original unit’s warranty period. See service instructions.
YOUR SOLE AND EXCLUSIVE REMEDY UNDER THIS LIMITED WARRANTY SHALL BE PRODUCT REPAIR AS PROVIDED HEREIN.Service must be provided by a KitchenAid
designated service company. This limited warranty is valid only in the United States or Canada and applies only when the microwave is used in the country in which it was purchased. This limited warranty is effective from the date of original consumer purchase. Proof of original purchase date is required to obtain service or replacement under this limited warranty.
WHAT IS NOT COVERED
- Service calls to correct the installation of your microwave, to instruct you how to use your product, to replace or repair house fuses, reset circuit breakers or to correct house wiring or plumbing.
- Service calls to repair or replace light bulbs. Consumable parts are excluded from warranty coverage.
- In-home service. Your microwave must be shipped to a KitchenAid designated service company.
- Repairs or replacement when your microwave is used for other than normal, single-family household use or when it is used in a manner contrary to published user or operator instructions and/or installation instructions.
- Damage resulting from accident, alteration, misuse, abuse, fire, flood, acts of God, improper installation, installation not in accordance with electrical or plumbing codes, or use of consumables or cleaning products not approved by KitchenAid.
- Cosmetic damage, including scratches, dents, chips or other damage to the finish of your microwave, unless such damage results from defects in materials or workmanship and is reported to KitchenAid within 30 days from the date of purchase.
- Any food loss due to microwave product failure.
- Repairs to parts or systems resulting from unauthorized modifications made to the appliance.
- Microwaves with original model/serial numbers that have been removed, altered or cannot be easily determined. This warranty is void if the factory applied serial number has been altered or removed from your appliance. The cost of repair or replacement under these excluded circumstances shall be borne by the customer.
DISCLAIMER OF IMPLIED WARRANTIES
IMPLIED WARRANTY OF MERCHANTABILITY OR IMPLIED WARRANTY OF FITNESS FOR A PARTICULAR PURPOSE, ARE LIMITED TO ONE YEAR OR THE SHORTEST PERIOD ALLOWED BY LAW. Some states and provinces do not allow limitations on the duration of implied warranties of merchantability or fitness, so this limitation may not apply to you. This warranty gives you specific legal rights, and you also may have other rights that vary from state to state or province to province.
DISCLAIMER OF REPRESENTATIONS OUTSIDE OF WARRANTY
KitchenAid makes no representations about the quality, durability, or need for service or repair of this major appliance other than the representations contained in this warranty. If you want a longer or more comprehensive warranty than the limited warranty that comes with this major appliance, you should ask KitchenAid or your retailer about buying an extended warranty.
LIMITATION OF REMEDIES; EXCLUSION OF INCIDENTAL AND CONSEQUENTIAL DAMAGES
YOUR SOLE AND EXCLUSIVE REMEDY UNDER THIS LIMITED WARRANTY SHALL BE PRODUCT REPAIR AS PROVIDED HEREIN. KITCHENAID SHALL NOT BE LIABLE FOR INCIDENTAL OR CONSEQUENTIAL DAMAGES. Some states and provinces do not allow the exclusion or limitation of incidental or consequential damages, so these limitations and exclusions may not apply to you. This warranty gives you specific legal rights, and you also may have other rights that vary from state to state or province to province.

















