KitchenAid KMCC5015 Countertop Convection Microwave Oven User Guide

MICROWAVE OVEN WITH CONVECTION
Use & Care Guide
For questions about features, operation/performance, parts, accessories or service, call: 1-800-422-1230, or visit our website at www.kitchenaid.com/owners.
In Canada, for assistance, installation and service, call: 1-800-807-6777 or visit our website at www.kitchenaid.ca/owners.
MICROWAVE OVEN SAFETY
Your safety and the safety of others are very important.
We have provided many important safety messages in this manual and on your appliance. Always read and obey all safety messages.
This is the safety alert symbol. This symbol alerts you to potential hazards that can kill or hurt you and others. All safety messages will follow the safety alert symbol and either the word “DANGER” or “WARNING.” These words mean:
DANGER
You can be killed or seriously injured if you don’t immediately follow instructions.
WARNING
You can be killed or seriously injured if you don’t follow instructions.
All safety messages will tell you what the potential hazard is, tell you how to reduce the chance of injury, and tell you what can happen if the instructions are not followed.
IMPORTANT SAFETY INSTRUCTIONS
When using electrical appliances basic safety precautions should be followed, including the following:
WARNING: To reduce the risk of burns, electric shock, fire, injury to persons, or exposure to excessive microwave energy:
■ Read all instructions before using the microwave oven.
■ Read and follow the specific “PRECAUTIONS TO AVOID POSSIBLE EXPOSURE TO EXCESSIVE MICROWAVE ENERGY” found in this section.
■ The microwave oven must be grounded. Connect only to properly grounded outlet. See “GROUNDING INSTRUCTIONS” found in the “INSTALLATION INSTRUCTIONS” section.
■ Install or locate the microwave oven only in accordance with the provided Installation Instructions.
■ Some products such as whole eggs in the shell and sealed containers – for example, closed glass jars – are able to explode and should not be heated in the microwave oven.
■ Use the microwave oven only for its intended use as described in the manual. Do not use corrosive chemicals or vapours in the microwave oven. This type of oven is specifically designed to heat, cook, or dry food. It is not designed for industrial or laboratory use.
■ As with any appliance, close supervision is necessary when used by children.
■ Do not operate the microwave oven if it has a damaged cord or plug, if it is not working properly, or if it has been damaged or dropped.
■ The microwave oven should be serviced only by qualified service personnel. Call an authorized service company for examination, repair, or adjustment.
■ Do not cover or block any openings on the microwave oven.
■ Do not store this microwave oven outdoors. Do not use the microwave oven near water – for example, near a kitchen sink, in a wet basement, near a swimming pool, or similar locations.
■ Do not immerse cord or plug in water.
■ Keep cord away from heated surfaces.
■ Do not let cord hang over edge of table or counter.
■ See door surface cleaning instructions in the “Microwave Oven Care” section.
■ To reduce the risk of fire in the oven cavity:
– Do not overcook food. Carefully attend the microwave oven when paper, plastic, or other combustible materials are placed inside the oven to facilitate cooking.
– Remove wire twist-ties from paper or plastic bags before placing bags in oven.
– If materials inside the oven ignite, keep oven door closed, turn oven off, and disconnect the power cord, or shut off power at the fuse or circuit breaker panel.
– Do not use the cavity for storage purposes. Do not leave paper products, cooking utensils, or food in the cavity when not in use.
SAVE THESE INSTRUCTIONS
■ Liquids, such as water, coffee, or tea are able to be overheated beyond the boiling point without appearing to be boiling. Visible bubbling or boiling when the container is removed from the microwave oven is not always present. THIS COULD RESULT IN VERY HOT LIQUIDS SUDDENLY BOILING OVER WHEN THE CONTAINER IS DISTURBED OR A SPOON OR OTHER UTENSIL IS INSERTED INTO THE LIQUID.
To reduce the risk of injury to persons:
– Do not overheat the liquid.
– Stir the liquid both before and halfway through heating it.
– Do not use straight-sided containers with narrow necks.
– After heating, allow the container to stand in the microwave oven for a short time before removing the container.
– Use extreme care when inserting a spoon or other utensil into the container.
■ Do not mount over a sink.
■ Do not store anything directly on top of the microwave oven when the microwave oven is in operation.
■ Oversized foods or oversized metal utensils should not be inserted in the microwave oven as they may create a fire or risk of electric shock.
■ Do not clean with metal scouring pads. Pieces can burn off the pad and touch electrical parts involving a risk of electric shock.
■ Do not use paper products when appliance is operated in convection, combination, grill or “PAN BROWN” mode.
■ Do not store any materials, other than manufacturer’s recommended accessories, in this microwave oven when not in use.
■ Do not cover racks or any other part of the microwave oven with metal foil. This will cause overheating of the microwave oven.
SAVE THESE INSTRUCTIONS
PRECAUTIONS TO AVOID POSSIBLE EXPOSURE TO EXCESSIVE MICROWAVE ENERGY
(a) Do not attempt to operate this oven with the door open since open-door operation can result in harmful exposure to microwave energy. It is important not to defeat or tamper with the safety interlocks.
(b) Do not place any object between the oven front face and the door or allow soil or cleaner residue to accumulate on sealing surfaces.
(c) Do not operate the oven if it is damaged. It is particularly important that the oven door close properly and that there is no damage to the:
(1) Door (bent),
(2) Hinges and latches (broken or loosened),
(3) Door seals and sealing surfaces.
(d) The oven should not be adjusted or repaired by anyone except properly qualified service personnel.
State of California Proposition 65 Warnings:
WARNING: This product contains one or more chemicals known to the State of California to cause cancer.
WARNING: This product contains one or more chemicals known to the State of California to cause birth defects or other reproductive harm.
This device complies with Part 18 of the FCC Rules. This device complies with Industry Canada ICES-001.
INSTALLATION INSTRUCTIONS
Unpacking
- Empty the microwave oven of any packing materials.
- Clean the inside with a soft, damp cloth.
- Check for damage, such as:
■ a door that is not lined up correctly,
■ damage around the door, or
■ dents on the interior or exterior of the microwave oven. If there is any damage, do not operate the microwave oven until a designated service technician has checked it and made any needed repairs.
NOTE: To avoid damage to the microwave oven, do not remove microwave inlet cover. See the “Parts and Features” section.
Location Requirements
WARNING
Excessive Weight Hazard Use two or more people to move and install microwave oven. Failure to do so can result in back or other injury.
IMPORTANT: The control side of the microwave oven is the heavy side. Handle the microwave oven gently. The weight of the microwave oven is over 35 lbs (15.9 kg).
■ Place the microwave oven on a cart, counter, table, or shelf that is strong enough to hold the microwave oven and the food and utensils you place inside it.
■ The microwave oven should be at a temperature above 50°F (10°C) for proper operation.
NOTE: Some models can be built into a wall or cabinet by using one of the trim kits listed in the “Assistance or Service” section.
■ Install the microwave at a height of minimum 36″ (91.4 cm) from floor.
■ Do not block the exhaust vents or air intake openings. Allow a few inches of space at the back and side of the microwave oven where the exhaust vents are located. Blocking the exhaust vents could cause damage to the microwave oven as well as poor cooking results.
■ Make sure the microwave oven legs are in place to ensure proper airflow. If vents are blocked, a sensitive thermal device may automatically turn the microwave oven off. The microwave oven should work properly once it has cooled.
Electrical Requirements
WARNING
![]()
Electrical Shock Hazard
Plug into a grounded 3 prong outlet.
Do not remove ground prong.
Do not use an adapter.
Do not use an extension cord.
Failure to follow these instructions can result in death, fire, or electrical shock.
Observe all governing codes and ordinances.
Required:
■ A 120 V, 60 Hz, AC only, 15 or 20 A electrical supply with a fuse or circuit breaker.
Recommended:
■ A time-delay fuse or time-delay circuit breaker
■ A separate circuit serving only this microwave oven
GROUNDING INSTRUCTIONS
■ For all cord connected appliances: The microwave oven must be grounded. In the event of an electrical short circuit, grounding reduces the risk of electric shock by providing an escape wire for the electric current. The microwave oven is equipped with a cord having a grounding wire with a grounding plug. The plug must be plugged into an outlet that is properly installed and grounded.
WARNING: Improper use of the grounding plug can result in a risk of electric shock. Consult a qualified electrician or serviceman if the grounding instructions are not completely understood, or if doubt exists as to whether the microwave oven is properly grounded. Do not use an extension cord. If the power supply cord is too short, have a qualified electrician or serviceman install an outlet near the microwave oven. A short power supply cord is provided to reduce the risks resulting from becoming entangled in or tripping over a longer cord.
SAVE THESE INSTRUCTIONS
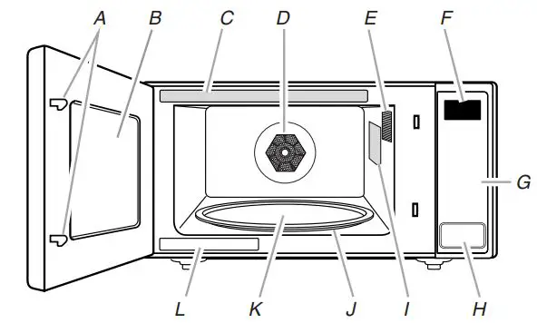
PARTS AND FEATURES
This manual may cover several different models. The model you have purchased may have some or all of the features shown here. The appearance of your particular model may differ slightly from the illustrations in this manual.

- A. Door lock system
- B. Window
- C. Cooking guide label
- D. Convection element and fan
- E. Microwave oven light
- F. Display
- G. Control panel
- H. Door open push button
- I. Microwave inlet cover
- J. Removable turntable support
- K. Glass turntable
- L. Model and serial number plate Parts and Features Not Shown: Grill element (on cavity ceiling)
Turntable

The turntable can rotate in either direction to help cook food more evenly. For best cooking results, do not operate the microwave oven without having the turntable in place. See the “Assistance or Service” section to reorder any of the parts.
To Install:
- Place the support on the microwave oven cavity bottom.
- Place the turntable on the support.
Fit the raised, curved wedges in the center of the turntable bottom between the 3 spokes of the hub. The rollers on the support should fit inside the turntable bottom ridge.
Grill Element
The microwave oven uses a carload thermal element for grilling. The microwave oven cavity and door will become hot. The use of oven mitts is recommended.
Convection Element and Fan
The microwave oven’s convection system is composed of a convection element which heats in conjunction with the convection fan for true convection cooking. The convection system is embedded in the wall of the microwave oven cavity, behind the screen. See the “Parts and Features” section. The microwave oven cavity and door will become hot. The use of oven mitts is recommended.
Grill and Convection Racks

The tall grill rack is designed for grilling in the microwave oven. See the “Grill” section. Place the grill rack securely on a pan, the pan on the turntable, and position food on grill rack. See the “Assistance or Service” section to order replacement parts. See the “General Cleaning” section for cleaning instructions. The short convection rack is designed to be used with the convection element and fan for true convection cooking. See the “Convection Bake” and “Convection Roast” sections. Place the convection rack on the turntable and position dish with food on the rack. If food is placed directly on the rack, a pan may be placed under the rack to catch drippings. See the “Assistance or Service” section to order replacement parts. See the “General Cleaning” section for cleaning instructions.
Accessory Configurations

MICROWAVE OVEN CONTROL

Display
When power is first supplied to the microwave oven, “0:00” will appear in the display. If the “0:00” appears in the display at any other time, a power failure has occurred. Reset the clock if needed. See the “Clock” section. When the microwave oven is in use, the display will show cook time remaining. When the microwave oven is not in use, the display will show the time of day (if the clock is set) or Timer countdown (if the Timer is set).
Start
The Start keypad begins any function. If non-sensor cooking is interrupted by opening the door, touching START will resume the cycle. NOTE: To avoid unintentional operation of the microwave oven, a cooking function cannot be started if the microwave oven door has been closed for about 5 minutes. The word “door” will appear in the display until the door is opened and closed.
Add 30 Seconds
The Start Add 30 Sec keypad automatically starts the microwave oven at 100% power for 30 seconds and it adds 30 seconds of cook time with each additional touch of the keypad. Time may be added to any manual cooking cycle in 30-second increments, at the current power level, by touching START ADD 30 SEC during cooking.
NOTE: To avoid unintentional operation of the microwave oven, a cooking function cannot be started if the microwave oven door has been closed for about 5 minutes. The word “door” will appear in the display until the door is opened and closed.
Stop Cancel
The Stop Cancel keypad clears any incorrect command and cancels any program during cooking. It will not erase the time of day. The microwave oven will also turn off when the door is opened. Close the door and touch START to resume the cycle. The Stop Cancel keypad is also used to lock and unlock the control panel. See the “Control Lock” section.
Tones
Tones are audible signals that can be turned off. To Turn Off/On End-of-Cycle, End-of-Timer and Reminder Tones: With the microwave oven door open, touch and hold the number “3” keypad for about 3 seconds, until a tone sounds. To Turn Off/On All Tones: With the microwave oven door open, touch and hold the number “2” keypad for about 3 seconds. These tones indicate the following:
One tone
■ Valid entry
■ Control Lock activated or deactivated
■ End of stage in multistage cooking
Two tones
■ End of Convection Bake preheat
Three tones
■ End of Timer countdown
Five tones
■ End of cooking cycle
■ Reminder, repeating each minute after the end-of-cycle and end-of-Timer tones
Clock
This is a standard 12-hour clock (1:00-12:59). The Clock cannot be erased. If the Clock is not set, “0:00” will remain in the display when the microwave oven is not in use.
To Set: The microwave oven and Timer must be OFF.
- Touch CLOCK.
- Touch the number keypads to enter the correct time of day.
- Touch CLOCK.
Timer
The Timer can be set in minutes and seconds, up to 99 minutes 99 seconds, and counts down the set time.
NOTE: The Timer does not start or stop the microwave oven. Cook functions may be used while the Timer is counting down. When the cook function is active in the display, touch TIMER to see the Timer countdown for about 5 seconds.
To Set:
- Touch TIMER.
- Touch the number keypads to enter desired time.
- Touch START.
When the set time ends, “End” will appear in the display and the end-of-Timer tones will sound. - Touch STOP CANCEL while the Timer is active in the display to cancel the Timer.
Language
The default display language is English, but it may be set to French. Two display messages are affected: “End” (English) or “Fin” (French) and “door” (English) or “PrtE” (“porte” – French). To Set Language to French: With the microwave oven door open, touch and hold the number “1” keypad for about 3 seconds, until a tone sounds. Repeat to change back to English. The language remains set after a power failure.
Weight Entry Mode
The default weight entry mode for Defrost is imperial (pounds) but may be set to metric (grams). This setting does not affect any other program besides Defrost. See the “Defrost” section. To Set Weight Entry to Metric: With the microwave oven door open, touch and hold the number “0” keypad for about 3 seconds, until a tone sounds. Repeat to change back to imperial. The mode remains set after a power failure.
Control Lock
The Control Lock disables the control panel keypads to avoid unintended use of the microwave oven. To Lock/Unlock Control: The microwave oven must be OFF. Touch and hold STOP CANCEL for about 3 seconds, until the tone sounds and the Control Lock icon appears in the display. Repeat to unlock. If any keypad is touched while the control is locked, there will be no response from the control.
MICROWAVE OVEN USE
A magnetron in the microwave oven produces microwaves which reflect off the metal floor, walls, and ceiling and pass through the turntable and appropriate cookware to the food. Microwaves are attracted to and absorbed by fat, sugar, and water molecules in the food, causing them to move, producing friction and heat which cooks the food.
■ To avoid damage to the microwave oven, do not lean on or allow children to swing on the microwave oven door.
■ To avoid damage to the microwave oven, do not operate microwave oven when it is empty.
■ Baby bottles and baby food jars should not be heated in microwave oven.
■ Clothes, flowers, fruit, herbs, wood, gourds, and paper, including brown paper bags and newspaper, should not be dried in the microwave oven.
■ Paraffin wax will not melt in the microwave oven because it does not absorb microwaves.
■ Use oven mitts or pot holders when removing containers from microwave oven.
■ Do not overcook potatoes. At the end of the recommended cook time, potatoes should be slightly firm. Let potatoes stand for 5 minutes. They will finish cooking while standing.
■ Do not cook or reheat whole eggs inside the shell. Steam build-up in whole eggs may cause them to burst, requiring significant clean-up of microwave oven cavity. Cover poached eggs and allow a standing time.
Food Characteristics
When microwave cooking, the amount, size and shape, starting temperature, composition, and density of the food affect cooking results.
Amount of Food
The more food heated at once, the longer the cook time needed. Check for doneness and add small increments of time if necessary.
Size and Shape
Smaller pieces of food will cook more quickly than larger pieces, and uniformly shaped foods cook more evenly than irregularly shaped food.
Starting Temperature
Room temperature foods will heat faster than refrigerated foods, and refrigerated foods will heat faster than frozen foods.
Composition and Density
Foods high in fat and sugar will reach a higher temperature and will heat faster than other foods. Heavy, dense foods, such as meat and potatoes, require a longer cook time than the same size of a light, porous food, such as cake.
Cooking Guidelines
Covering
Covering food helps retain moisture, shorten cook time, and reduce spattering. Use the lid supplied with cookware. If a lid is not available, wax paper, paper towels, or plastic wrap approved for microwave ovens may be used. Plastic wrap should be turned back at one corner to provide an opening to vent steam. Condensation on the door and cavity surfaces is normal during heavy cooking.
Stirring and Turning
Stirring and turning redistribute heat evenly to avoid overcooking the outer edges of food. Stir from outside to center. If possible, turn food over from bottom to top.
Arranging
If heating irregularly shaped or different-sized foods, arrange the thinner parts and smaller-sized items toward the center. If cooking several items of the same size and shape, place them in a ring pattern, leaving the center of the ring empty.
Piercing
Before heating, use a fork or small knife to pierce or prick foods that have a skin or membrane, such as potatoes, egg yolks, chicken livers, hot dogs, and sausage. Prick in several places to allow steam to vent.
Shielding
Use small, flat pieces of aluminum foil to shield the thin pieces of irregularly shaped foods, bones, and foods such as chicken wings, leg tips, and fish tails. See the “Aluminum Foil and Metal” section first.
Standing Time
Food will continue to cook by the natural conduction of heat, even after the microwave cooking cycle ends. The length of standing time depends on the volume and density of the food.
Cookware and Dinnerware
Cookware and dinnerware must fit on the turntable. Always use oven mitts or pot holders when handling because any dish may become hot from heat transferred from the food. Do not use cookware and dinnerware with gold or silver trim. Use the following chart as a guide, then test before using.


To Test Cookware or Dinnerware for Microwave Use:
- Place cookware or dinnerware in microwave oven with 1 cup (250 mL) of water beside it.
- Cook at 100% cooking power for 1 minute. Do not use cookware or dinnerware if it becomes hot and the water stays cool.
Aluminum Foil and Metal
Always use oven mitts or pot holders when removing dishes from the microwave oven. Aluminum foil and some metal can be used in the microwave oven. If not used properly, arcing (a blue flash of light) can occur and cause damage to the microwave oven.
OK for Use
Racks and bakeware supplied with the microwave oven (on some models), aluminum foil for shielding, and approved meat thermometers may be used with the following guidelines:
■ To avoid damage to the microwave oven, do not allow aluminum foil or metal to touch the inside cavity walls, ceiling, or floor.
■ Always use the turntable.
■ To avoid damage to the microwave oven, do not allow contact with another metal object during microwave cooking.
Do Not Use Metal cookware and bakeware, gold, silver, pewter, non-approved meat thermometers, skewers, twist ties, foil liners such as sandwich wrappers, staples, and objects with gold or silver trim or a metallic glaze should not be used in the microwave oven.
For Use with Grill Element Use the provided tall grill rack with an ovenproof pan to catch the drippings.
For Use with Convection System
Use the provided short convection rack and an ovenproof baking dish for convection baking. Use the provided short convection rack and a microwave-safe, ovenproof baking dish for convection roasting.
Microwave Cooking Power
Many recipes for microwave cooking specify which cooking power to use by percent or name. For example, PL7 = 70% = Medium-High. To see the exact power level during a cooking cycle, touch POWER LEVEL. The display will briefly show the current power level, then will return to the cooking countdown. Use the following chart as a general guide for the suggested cooking power of specific foods.

Manual Cooking
NOTE: To cook at 100% power, begin by touching the number keypads to enter cook time, then touch START.
To Use:
- Place food on the turntable and close the door.
- Touch COOK TIME. “00:00” will appear in the display. Enter the length of time to cook. If cooking with 100% power, skip Step 3.
- Touch POWER LEVEL. The default power level PL10 will appear in the display. Enter the desired power level. See the “Microwave Cooking Power” section.
- Touch START. When the cycle ends, “End” will appear in the display and the end-of-cycle tones will sound.
- Touch STOP CANCEL or open the door to clear the display.
Cooking in Stages
The microwave oven can be set to cook at different cooking powers for various lengths of time, up to 2 stages, which may include a defrosting stage. See the “Defrost” section to set the defrosting stage.
NOTE: If a defrosting stage is programmed, it will cycle first.
To Cook in Stages:
- Place food on the turntable and close the door.
- Touch COOK TIME. “00:00” will appear in the display. Enter the length of time to cook during the first stage.
- Touch POWER LEVEL, then enter the desired cooking power for the first stage. See the “Microwave Cooking Power” section.
- Repeat steps 2 and 3 for the second stage.
- Touch START. One tone will sound between stages. When the cycle ends, “End” will appear in the display and the end-of-cycle tones will sound.
- Touch STOP CANCEL or open the door to clear the display. Cook time may be added in 30-second increments during the cycling stage by touching START ADD 30 SEC.
Sensor Cooking
A sensor in the microwave oven detects humidity released from the food as it heats and adjusts the cook time accordingly. Many sensor cycles require the covering of foods. Microwave safe containers or steamers with loose-fitting lids are recommended. The loose-fitting lid allows enough steam to escape to be detected by the sensor. When covering foods with plastic wrap, be sure to leave a large enough vent opening to allow the steam to escape. “SC” (sensor cook) will appear in the display during sensor cooking.
NOTES:
■ The microwave oven should be plugged in for at least 3 minutes.
■ The microwave oven cavity and the exterior of the cooking container should be dry.
■ The room temperature should not exceed 95°F (35°C).
■ If the door is opened while the sensor is detecting moisture (while “SC” appears in the display), sensing will stop and the program will be cancelled.
The following menu items are preprogramed for quick and easy cooking/reheating. For added convenience, the available/recommended amounts shown in the following chart are included on the Cooking Guide label (see the “Parts and Features” section for its location).

To Use Non-Sensor Menu (Popcorn, Pizza Reheat, Beverage, Soup, Potato):
- Place food on the turntable and close the door.
- Touch desired menu control.
The first programmed amount will appear in the display. Touch control keypad repeatedly or touch number keypads to change quantity. See chart. - Touch START. When the cycle ends, “End” will appear in the display and the end-of-cycle tones will sound.
- Touch STOP CANCEL or open the door to clear the display.
To Use Sensor Menu (Dinner Plate, Fresh Vegetable, Frozen Vegetable):
- Place food on the turntable and close the door.
- Touch the desired menu control. “SC” (sensor cook) will appear in the display.
- Touch START.
The microwave oven will start and sensor cooking will begin. “SC” will remain in the display until the sensor has determined the remaining cook time. When the cycle ends, “End” will appear in the display and the end-of-cycle tones will sound. - Touch STOP CANCEL or open the door to clear the display.
Grill
The Grill function uses a carload thermal element that heats quickly to grill a variety of foods.
■ Use the grill rack to place food closer to the grill element for faster grilling.
■ Oven cavity and door will become very hot during grill element use. The use of oven mitts is recommended.
■ Use an ovenproof pan to catch drippings.
■ The grill rack and pan will become very hot. Use oven mitts to grasp pan for removal. To avoid damage, do not place hot pan directly on heat-sensitive surfaces.
■ The turntable must be in place when using the grill rack.
■ For best results, apply light amount of cooking oil to grill rack.
Examples of Grill Times
Toast 5-51/2 min
Sirloin steak, 1 lb (454 g), 3/4″ (1.9 cm) thick, medium doneness Side 1: 15 min. Side 2: 10 min.
To Use:
- Place grill rack securely on pan and place both on the turntable. Then position food on rack and close the door.
- Touch GRILL. “00:00” will appear in the display. Enter the length of time to grill in minutes and seconds.
- Touch START. Grill time will count down in the display. About halfway through the cycle, a tone will sound. This is a reminder to turn the food, if desired. When the cycle ends, “End” will appear in the display and the end-of-cycle tones will sound.
- Touch STOP CANCEL or open the door to clear the display.
Convection
The convection system circulates hot air through the microwave oven cavity with a fan. The constantly moving air surrounds the food to heat the outer portion quickly. Convection Bake uses the convection system only. Convection Roast uses the convection system in conjunction with microwaves to cook more quickly.
■ The microwave oven cavity and door will become hot during the convection cycle. The use of oven mitts is recommended.
■ Use the provided convection (short) rack.
■ Do not cover turntable or convection rack with aluminum foil as it interferes with the circulation of hot air.
■ Do not use light plastic containers, plastic wrap, or paper products. All ovenproof cookware or metal utensils can be used with the Convection Bake function. (Round pizza pans are excellent cooking utensils for many convection-only items.) Metal utensils cannot be used with the Convection Roast function.
■ No special techniques are needed to adapt standard oven recipes to convection cooking, although some temperatures might need to be reduced and some cooking times might need to be shortened.
Convection Temperature Indicator
The 10 bars in the bottom of the display represent the microwave oven’s current and approaching temperature. Each bar corresponds to the temperature represented on each of the number keypads, 1 through 0 (10). The bar corresponding to the desired set temperature will flash. As the microwave oven heats, each bar will light as its corresponding temperature is reached. When the desired temperature is reached, the flashing bar will become solid. If the temperature of the microwave oven drops below the set temperature, the bar will flash until the microwave oven heats to the set temperature again. For example, if the desired temperature is set at 375ºF (191°C) (number “8” keypad), the eighth bar will flash. When the microwave oven reaches 100ºF (38°C), the first bar will light. When the microwave oven reaches 170ºF (77°C), the second bar will light, and so on, until the desired temperature is reached, and the eighth bar stops flashing and becomes solid.
Convection Roast
The Convection Roast function shortens the cooking time for foods that normally require long periods of time to cook. It alternates between convection heat and microwave energy. Combination cooking also leaves meats juicy on the inside and crispy on the outside.
■ The microwave oven cavity and door will become hot during the Convection Roast cycle. The use of oven mitts is recommended.
■ To avoid damage to the microwave oven, do not use metal cookware or utensils during the Convection Roast cycle. Use only ovenproof, microwave-safe cookware.
■ Meats may be roasted directly on the convection rack. Use an ovenproof, microwave-safe pan to catch the drippings.
■ Less tender cuts of beef can be roasted and tenderized using oven cooking bags.
■ Check for doneness after cooking time has ended. If not completely done, let stand in microwave oven for a few minutes to complete cooking.

To Use: NOTE: The default temperature is 325ºF (163ºC) and the default roast time is one hour.
- Arrange food on convection rack, place rack with food in a pan, then place the pan with the rack and food on the turntable, and close the door.
OR
Place food in a pan, place the pan on the convection rack, and then place the rack with the pan and food on the turntable, and close the door. - Touch CONVECT ROAST. “325” will blink in the display. Touch the number pad that corresponds to the desired temperature, if other than 325ºF (163ºC). Available temperatures are 170ºF (77ºC) through 375ºF (191ºC). If roasting for the default length of time of 1 hour, skip Step 3.
- Touch COOK TIME. “H0:00” will appear in the display. Enter length of time to roast in hours and minutes.
- Touch START. Convection Roast time will count down in the display. When the cycle ends, “End” will appear in the display and the end-of-cycle tones will sound.
- Touch STOP CANCEL or open the door to clear the display.
Convection Bake
The Convection Bake function is ideal for baking items such as soufflés, breads, cookies, angel food cakes, pizza, and casseroles.
■ The microwave oven cavity and door will become hot during the Convection Bake cycle. The use of oven mitts is recommended.
■ Use ovenproof bakeware. Metal bakeware may be used during the Convection Bake cycle.
■ This microwave oven may be preheated in the same way that a standard oven is preheated. (Most recipes for baked goods call for preheating.)
■ The default temperature is 350ºF (177ºC) and the default bake time is 1 hour.
Examples of Convection Bake Times

To Use Without Preheat:
NOTE: The end-of-preheat tones will sound when the microwave oven has reached the desired temperature, but no action is required.
- Place pan of food on the convection rack, then place the rack with the pan on the turntable and close the door.
- Touch CONVECT BAKE. “350” will blink in the display. Touch the number pad that corresponds to the desired temperature, if other than 350ºF (177ºC). If baking for the default length of time of 1 hour, skip Step 3.
- Touch COOK TIME. “H0:00” will appear in the display. Enter length of time to bake in hours and minutes.
- Touch START. Convection Bake time will count down in the display. The end-of-preheat tones will sound during the countdown. When the cycle ends, “End” will appear in the display and the end-of-cycle tones will sound.
- Touch STOP CANCEL or open the door to clear the display.
To Use With Preheat:
- Place the convection rack on the turntable and close the door.
- Touch CONVECT BAKE. “350” will blink in the display. Touch the number pad that corresponds to the desired temperature, if other than 350ºF (177ºC).
- Touch START. “H1:00” will appear in the display, and start counting down. When preheat temperature is reached, 2 tones will sound.
- Place the pan of food on the convection rack, and close the door. If Convection Bake time remaining in the display is correct, skip Step 5.
- Touch COOK TIME. “H0:00” will appear in the display. Enter length of time to bake in hours and minutes.
- Touch START. Convection Bake time will count down in the display. When the cycle ends, “End” will appear in the display and the end-of-cycle tones will sound.
- Touch STOP CANCEL or open the door to clear the display.
Defrost
■ Unwrap foods and remove lids (for example, from fruit juice containers) before defrosting.
■ Shallow packages will defrost more quickly than deep blocks.
■ Separate food pieces as soon as possible during or at the end of the cycle for more even defrosting.
■ Use small pieces of aluminum foil to shield parts of food such as chicken wings, leg tips, and fish tails. See the “Aluminum Foil and Metal” section first.
The Defrost feature has preset times and cook powers for defrosting meat, poultry, and fish by weight. It should not be used for food that has been left outside the freezer for more than 20 minutes or for frozen ready-made food. Use the following chart as a guide.

To Use Defrost:
- Place food, uncovered, on the turntable and close the door.
- Touch DEFROST.
Enter the weight in pounds. Weight can be set from 0.3 lb to 6.3 lbs (136 g to 2.86 kg).
NOTE: Enter weight in grams if weight entry mode is set to metric. See the “Weight Entry Mode” section. - Touch START. The display will count down the defrost time. The cycle may be interrupted briefly to turn food, if necessary, by opening the door. Close the door and touch START to resume the cycle. When the cycle ends, “End” will appear in the display and the end-of-cycle tones will sound.
- Touch STOP CANCEL or open the door to clear the display. To Defrost Manually: Follow directions in the “Manual Cooking” section and use 30% cooking power. See the “Microwave Cooking Power” chart.
MICROWAVE OVEN CARE
General Cleaning
IMPORTANT: Before cleaning, make sure all controls are OFF and the microwave oven is cool. Always follow label instructions on cleaning products. Soap, water, and a soft cloth or sponge are suggested unless otherwise noted.
MICROWAVE OVEN CAVITY
To avoid damage to the microwave oven cavity, do not use soap-filled scouring pads, abrasive cleaners, steel-wool pads, gritty washcloths, or some recycled paper towels.
To avoid damage to stainless steel models, rub in direction of grain.
The area where the microwave oven door and frame touch when closed should be kept clean.
Average soil
■ Mild, nonabrasive soaps and detergents: Rinse with clean water and dry with soft, lint-free cloth. Heavy soil
■ Mild, nonabrasive soaps and detergents: Heat 1 cup (250 mL) of water for 2 to 5 minutes in microwave oven. Steam will soften soil. Rinse with clean water and dry with soft, lint-free cloth.
Odors
■ Lemon juice or vinegar: Heat 1 cup (250 mL) of water with 1 tabs (15 mL) of either lemon juice or vinegar for 2 to 5 minutes in microwave oven.
Microwave Inlet Cover
To avoid arcing and microwave oven damage, the microwave inlet cover (see the “Parts and Features” section) should be kept clean.
■ Wipe with wet cloth.
MICROWAVE OVEN DOOR AND EXTERIOR
The area where the microwave oven door and frame touch when closed should be kept clean.
■ Mild, nonabrasive soaps and detergents: Rinse with clean water and dry with soft, lint-free cloth.
■ Glass cleaner and paper towels or nonabrasive plastic scrubbing pad: Apply glass cleaner to towel, not directly to surface.
Stainless Steel (on some models)
To avoid damage to microwave oven door and exterior, do not use soap-filled scouring pads, abrasive cleaners, steel-wool pads, gritty washcloths, or some paper towels. Rub in direction of grain.
■ Stainless steel cleaner (not included): See the “Assistance or Service” section to order.
■ All-purpose cleaner: Rinse with clean water and dry with soft, lint-free cloth.
■ Vinegar for hard water spots
CONTROL PANEL
■ Sponge or soft cloth and water: Dampen sponge with water and wipe panel. Dry with soft cloth.
■ To avoid damage to the control panel, do not use chemical or abrasive cleansers.
TURNTABLE
Replace turntable immediately after cleaning. Do not operate the microwave oven without the turntable in place.
■ Mild cleanser and scouring pad
■ Dishwasher
CONVECTION AND GRILL RACKS
Dishwasher cleaning is not recommended. To avoid damage to the convection and grill racks, do not use abrasive cleansers or scrubbers.
■ Mild soap, water, and washcloth.
TROUBLESHOOTING
First try the solutions suggested here. If you need further assistance or more recommendations that may help you avoid a service call, refer to the warranty page in this manual, or visit http://www.kitchenaid.com/customer-service/. In Canada, visit http://www.kitchenaid.ca.
Contact us by mail with any questions or concerns at the address below:
In the U.S.A.:
KitchenAid Brand Home Appliances Customer eXperience Center 553 Benson Road Benton Harbor, MI 49022-2692
In Canada:
KitchenAid Brand Home Appliances Customer eXperience Centre 200 6750 Century Ave. Mississauga, Ontario L5N 0B7
Please include a daytime phone number in your correspondence.



ASSISTANCE OR SERVICE
If you need service: Please refer to the warranty page in this manual.
If you need replacement parts: If you need to order replacement parts, we recommend that you use only factory specified parts. These factory specified parts will fit right and work right because they are made with the same precision used to build every new KitchenAid® appliance. To locate factory specified parts in your area, call us or your nearest KitchenAid® designated service center.
In the U.S.A.
Call the KitchenAid Customer eXperience Center toll-free: 1-800-422-1230 or visit our website at www.kitchenaid.com.
Our consultants provide assistance with:
■ Scheduling of service. KitchenAid® appliances designated service technicians are trained to fulfil the product warranty and provide after-warranty service anywhere in the United States.
■ Features and specifications on our full line of appliances.
■ Referrals to local KitchenAid® appliance dealers.
■ Installation information.
■ Use and maintenance procedures.
■ Accessory and repair parts sales.
■ Specialized customer assistance (Spanish speaking, hearing impaired, limited vision, etc.).
For further assistance:
If you need further assistance, you can write to KitchenAid with any questions or concerns at:
KitchenAid Brand Home Appliances
Customer eXperience Center
553 Benson Road
Benton Harbor, MI 49022-2692
Please include a daytime phone number in your correspondence.
In Canada
Call the KitchenAid Customer eXperience Center toll-free: 1-800-807-6777 or visit our website at www.kitchenaid.ca.
Our consultants provide assistance with:
■ Scheduling of service. KitchenAid® appliances designated service technicians are trained to fulfil the product warranty and provide after-warranty service anywhere in Canada.
■ Features and specifications on our full line of appliances.
■ Referrals to local KitchenAid® appliance dealers.
■ Use and maintenance procedures.
■ Accessory and repair parts sales.
For further assistance:
If you need further assistance, you can write to KitchenAid with any questions or concerns at:
Customer eXperience Centre
KitchenAid Canada
200 – 6750 Century Ave.
Mississauga, Ontario L5N 0B7
Please include a daytime phone number in your correspondence
Replacement Parts
Glass Turntable
Part Number W10451786
Turntable Support and Rollers
Part Number W10605643
Turntable Hub
Part Number W10605644
Convection Rack (short)
Part Number W10605651
Grill Rack (tall)
Part Number W10605652
Cleaning Supplies
Affresh® Kitchen Appliance
Cleaner
Part Number W10355010
Affresh® Stainless Steel Cleaner
Part Number W10355016
Affresh® Stainless Steel
Wipes
Part Number W10355049
Heavy Duty Degreaser
Part Number 31552A
Built-In Kits
This countertop microwave oven can be built in by using one of the following trim kits.* These kits are available from the dealer or can be ordered by kit model number. See the “Assistance or Service” section for the toll-free number.

KITCHENAID® COUNTERTOP MICROWAVE LIMITED WARRANTY
ATTACH YOUR RECEIPT HERE. PROOF OF PURCHASE IS REQUIRED TO OBTAIN WARRANTY SERVICE.
Please have the following information available when you call the Customer eXperience Center:
■ Name, address and telephone number
■ Model number and serial number
■ A clear, detailed description of the problem
■ Proof of purchase including dealer or retailer name and address
IF YOU NEED SERVICE:
If you reside in the United States and your KitchenAid® Countertop Microwave should cease to operate within the first year of ownership:
- Before contacting us to arrange service, please determine whether your product requires repair. Some questions can be addressed without service. Please take a few minutes to review the Troubleshooting or Problem Solver section of the Use and Care Guide, or visit http://www.kitchenaid.com/customer-service/
- All warranty service is provided exclusively by our authorized KitchenAid Service Providers. In the U.S. and Canada, direct all requests for warranty service to: KitchenAid Customer eXperience Center In the U.S.A., call 1-800-422-1230. In Canada, call 1-800-807-6777.
- The consultant will advise whether the microwave qualifies for repair or replacement.
- In the event of repair, you may be directed to forward the product to a KitchenAid designated service center. You are responsible for insurance and freight to the designated service center. Please include your name and address on a piece of paper, along with a copy of the proof of purchase (register receipt, charge slip, etc.). The microwave should be properly packaged to avoid damage in transit as we will not be responsible for any such damage.
- KitchenAid will return the repaired unit or, at our option, an identical or comparable microwave to your door free of charge. If outside the 50 United States or Canada, contact your authorized KitchenAid dealer to determine whether another warranty applies.
ONE YEAR LIMITED WARRANTY
WHAT IS COVERED
For one year from the date of purchase, when this microwave is installed, operated and maintained according to instructions attached to or furnished with the product, KitchenAid brand of Whirlpool Corporation or Whirlpool Canada LP (hereafter “KitchenAid”) will pay for Factory Specified Replacement Parts and repair labor to correct defects in materials or workmanship that existed when this microwave was purchased, or at its sole discretion replace the product. In the event of product replacement, your appliance will be warranted for the remaining term of the original unit’s warranty period. See service instructions. YOUR SOLE AND EXCLUSIVE REMEDY UNDER THIS LIMITED WARRANTY SHALL BE PRODUCT REPAIR AS PROVIDED HEREIN. Service must be provided by a KitchenAid designated service company. This limited warranty is valid only in the United States or Canada and applies only when the microwave is used in the country in which it was purchased. This limited warranty is effective from the date of original consumer purchase. Proof of original purchase date is required to obtain service or replacement under this limited warranty.
WHAT IS NOT COVERED
- Service calls to correct the installation of your microwave, to instruct you how to use your product, to replace or repair house fuses, reset circuit breakers or to correct house wiring or plumbing.
- Service calls to repair or replace light bulbs. Consumable parts are excluded from warranty coverage.
- In-home service. Your microwave must be shipped to a KitchenAid designated service company.
- Repairs or replacement when your microwave is used for other than normal, single-family household use or when it is used in a manner contrary to published user or operator instructions and/or installation instructions.
- Damage resulting from accident, alteration, misuse, abuse, fire, flood, acts of God, improper installation, installation not in accordance with electrical or plumbing codes, or use of consumables or cleaning products not approved by KitchenAid.
- Cosmetic damage, including scratches, dents, chips or other damage to the finish of your microwave, unless such damage results from defects in materials or workmanship and is reported to KitchenAid within 30 days from the date of purchase.
- Any food loss due to microwave product failure.
- Repairs to parts or systems resulting from unauthorized modifications made to the appliance.
- Microwaves with original model/serial numbers that have been removed, altered or cannot be easily determined. This warranty is void if the factory applied serial number has been altered or removed from your appliance.
The cost of repair or replacement under these excluded circumstances shall be borne by the customer.
DISCLAIMER OF IMPLIED WARRANTIES IMPLIED WARRANTIES, INCLUDING ANY IMPLIED WARRANTY OF MERCHANTABILITY OR IMPLIED WARRANTY OF FITNESS FOR A PARTICULAR PURPOSE, ARE LIMITED TO ONE YEAR OR THE SHORTEST PERIOD ALLOWED BY LAW. Some states and provinces do not allow limitations on the duration of implied warranties of merchantability or fitness, so this limitation may not apply to you. This warranty gives you specific legal rights, and you also may have other rights that vary from state to state or province to province.
DISCLAIMER OF REPRESENTATIONS OUTSIDE OF WARRANTY KitchenAid makes no representations about the quality, durability, or need for service or repair of this major appliance other than the representations contained in this warranty. If you want a longer or more comprehensive warranty than the limited warranty that comes with this major appliance, you should ask KitchenAid or your retailer about buying an extended warranty.
LIMITATION OF REMEDIES; EXCLUSION OF INCIDENTAL AND CONSEQUENTIAL DAMAGES
YOUR SOLE AND EXCLUSIVE REMEDY UNDER THIS LIMITED WARRANTY SHALL BE PRODUCT REPAIR AS PROVIDED HEREIN. KITCHENAID SHALL NOT BE LIABLE FOR INCIDENTAL OR CONSEQUENTIAL DAMAGES. Some states and provinces do not allow the exclusion or limitation of incidental or consequential damages, so these limitations and exclusions may not apply to you. This warranty gives you specific legal rights, and you also may have other rights that vary from state to state or province to province.
®/™ ©2018 KitchenAid. All rights reserved. Used under license in Canada.













![Sharp Convection Microwave Oven User Manual [smc1585bb,smc1585bs,smc1585bw] Sharp Convection Microwave Oven User Manual [smc1585bb,smc1585bs,smc1585bw]](https://static-data1.manualsee.com/1/img/398/60662/2021/02/Sharp-Convection-Microwave-Oven-User-Manual-SMC1585BBSMC1585BSSMC1585BW.jpg)




