ASHLEY A3000174 Hangar Accent Chair User Manual
IMPORTANT SAFE
- Always use proper tools.
- Follow the assembly steps in order. Do not skip any steps.
- Be sure to check all packing materials carefully for small parts may have come loose inside the carton during shipment. If parts are missing, contact the retailer from which you purchased the product to obtain any missing parts. DO NOT USE SUBSTITUTE PARTS.
- Periodically check to ensure that all connectors (bolts, screws, etc.) are tight.
- Keep the instructions for future reference.
- Some assembly may involve attaching glass or mirrors. Be very careful handling the glass or mirrors, as severe injury may result if the glass or mirror breaks. Never handle large pieces of glass or mirrors by yourself.
- When assembling products that have electric cords (lamps, light, sure the electrical cord is unplugged before assembly and (2) be electrical cord during assembly.
- When assembling shelves or entertainment centers, do not stand order to assemble upper shelves—use a step ladder. *Do not stand on tables, including but not limited to, end tables, coffee tables, and dinner tables, as tables are not to support the weight of a person. *Where assembly instructions state that the assembly requires two or more people, do not attempt by yourself as there is a risk of injury.
etc.), always (1) make careful not to twist the
on lower shelves in
NOTE: ASHLEY FURNITURE INDUSTRIES, LLC DISCLAIMS ANY LIABILITY FOR DAMAGES OR INJURIES WHICH MAY OCCUR DUE TO FAILURE TO PROPERLY FOLLOW ASSEMBLY INSTRUCTIONS, PROPERLY ASSEMBLE THE PRODUCT, OR PROPERLY USE THE PRODUCT.
NOTE: YOUR UNIT MAY LOOK DIFFERENT IN APPEARANCE FROM THE ONE SHOWN IN THE ILLUSTRATIONS ON THIS INSTRUCTION SHEET.
Tools

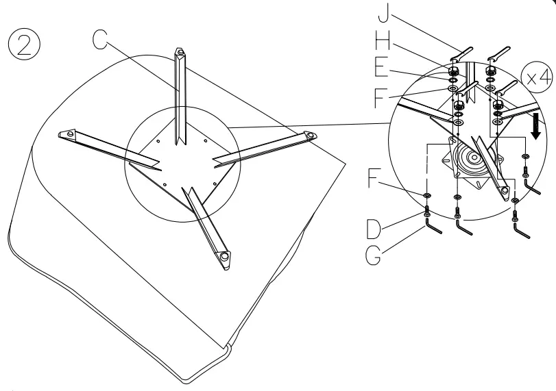
NOTE: UNIT SHOULD BE ASSEMBLED BY TWO OR MORE PEOPLE. DO NOT TIGHTEN ANY BOLTS UNTIL ALL BOLTS HAVE BEEN STARTED!
Assembly Instructions



NOTE: Level the chair and tighten all bolts with the allen wrench.
Replacement Parts
RTAPartsaashleyfurruture.compwww.ashleyfumiture.parts
1-844′-966-0809
SIGNATURE DESIGN BY ASHLEY®
All Rights Reserved.
April 2022


















