
Contact MB Project Medium Back Office Chair
Instruction Manual
Contact MB Project Medium Back Office Chair
CONTACT MB
- WARRANTY CARD (Register Now)
- ASSEMBLY INSTRUCTIONS
- USER MANUAL
PARTS
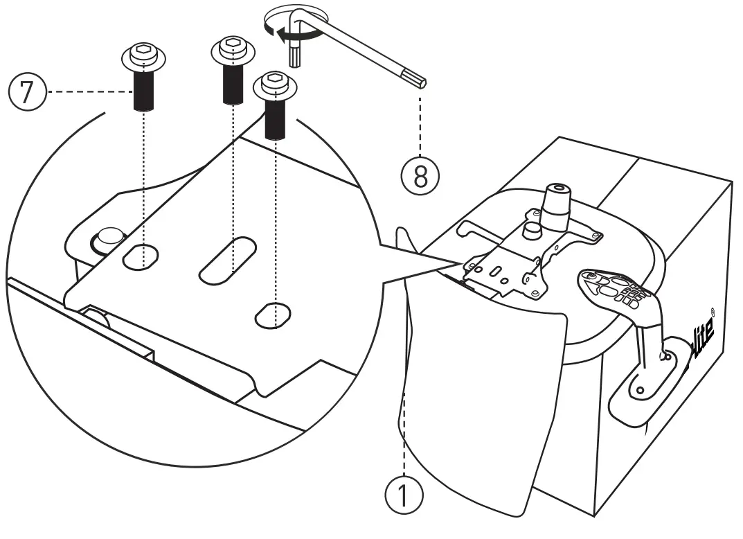
STEP 1
Fix Arms to Seat (use packaging box/table surface for fixing)
STEP 2
Fix Chair Back to Mechanism Seat
STEP 3
Fix Chair Back to Seat Mechanism
STEP 4
Fix Gas-Lift and Base
USER MANUAL


ACTIVATE YOUR 3 YEAR WARRANTY NOW
Register within 7 days after receiving the product to validate the warranty
Scan the below QR code to register
OR www.featherlitestore.com/register
Use the code LOYAL to get a 7.5% discount on your next purchase on the official website.
080-4719-1010



















