Mesh Mid Back Chair

IMPORTANT NOTICE
You will feel a slight “bounce-back” when you sit down. This is normal: not a defect. The pneumatic cylinder for the seat height adjustment reacts to your weight by giving a little.
![]() | ![]() | ![]() | ![]() |
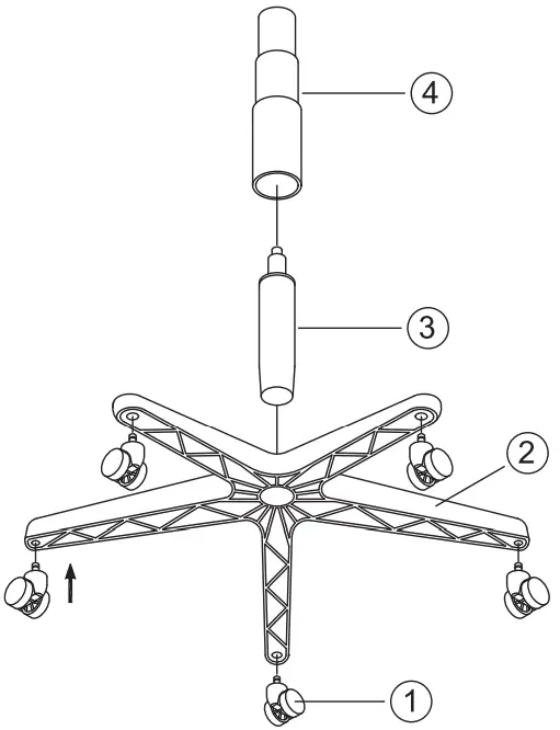
| 1. Casters (5) | 2. Base | 3. Seat Post | 4. Seat Post Cover |
![]() | ![]() | ![]() | ![]() |
| 5. Backrest | 6. Backrest Post | 7. Backrest Tight Screw (1) | 8. Seat |
![]() | ![]() | ![]() | ![]() |
| 9. Mechanism (Pre-attached) | 10. M5 Size Allen Wrench | 11. Arm Bracket (2) | 12. Armrest (2) |
![]() | ![]() | ![]() | ![]() |
| 13. Arm Width Adjustment Knob + Washers (2) | 14. Backrest Bolt (1) | 15. Backrest Post Bellow (1) | 16. Backrest Post Bellow Screw (2) |
ASSEMBLY INSTRUCTION
Remove all items from the carton. Verify all pieces before assembly.
| STEP1 | STEP 2 |
![]() | ![]() |
| STEP 3 | STEP4 |
![]() | ![]() |

A. Pneumatic seat height adjustment
B. Seat angle adjustment: Seat angle adjusts independently with a single lever.
C. Backrest angle adjustment: Back angle adjusts independently with a single lever.

D. Ratcheting back has 3 stops for adjustment. The 4th one releases the back to the lowest position.
PREVENTIVE MAINTENANCE AND WARNING!
- Use this product only for seating one person at a time.
- Do not use this chair as a step stool/ladder.
- Do not use the chair on uneven floor surfaces.
- Do not use chair unless all bolts, screws and knobs are At least every six months check all bolts, screws and knobs to be sure they are tight.
- If any parts are missing, broken, damaged or worn, stop use of the product until repairs are made using factory authorized parts.
- Dispose of packaging properly. The plastic bag is not a toy. Do not use a plastic bags as head covering – it may cause
- Note: some screws may be preassembled.
If preassembled, ignore assembly instructions.
Instructions
CALL US FIRST! DO NOT RETURN TO THE STORE.
For immediate help with assembly or product information call our toll-free number: 1-888-598-7316 Mon. – Fri. 7 am to 7 pm CST Our staff is ready to provide assistance. Damaged or missing parts ship from our facility in 1-2 business days.
Please provide the following information:
- Full Name
- Physical Address — do not include P.O. Box as our carriers cannot deliver to P.O. Boxes
- Phone Number
- Model Number
- Part Number
- Invoice #
- Date of Purchase
Note: Our policy is to send all parts requests via normal ground transportation. If your requirements are to have these parts via overnight/next day, please provide your designated carrier and account number. Replacement panels are not available. If any damage has occurred during shipment please return the entire unit to place of purchase for credit and replacement. The original invoice may be required.
Before you begin:
Open, identify and count all parts prior to assembly. Layout the parts on a non-abrasive surface such as carpet or blanket.







































