
OWNER’S MANUAL & SAFETY INSTRUCTIONS
Multi-Purpose Workbench With Work Light

WARNING
Read this material before using this product Failure to do so can result in serious injury. SAVE THIS MANUAL.
WARNING
- Always wear eye protection, which complies with current ANSI standard 287.1.
- Always disconnect the power source before using tools on electrical boxes, fittings or any workpiece which may conduct electricity. Electric shock or electrocution could result.
- Disconnect power before servicing. Keep protective barrier in place or replace removable parts after Caution—the risk of fire.
Save This Manual Keep this manual for the safety warnings and precautions. assembly. operating. Inspection, maintenance, and cleaning procedures. Keep this manual and the receipt In a safe and dry place for future reference.
NOTE: This equipment has been tested and found to comply with the limits for a Class B digital device, pursuant to Part 15 of the FCC Rules. These limits are designed to provide reasonable protection against harmful interference in a residential installation. This equipment generates, uses and can radiate radio
frequency energy and, if not installed and used in accordance with the instructions, may cause harmful interference to radio communications.
However, there is no guarantee that interference will not occur in a particular installation. If this equipment does cause harmful interference to radio or television reception, which can be determined by turning the equipment off and on, the user is encouraged to try to correct the interference by one or more of the following measures:
Reorient or relocate the receiving antenna.
Increase the separation between the equipment and receiver.
Connect the equipment into an outlet on a circuit different from that to which the receiver is connected.
Consult the dealer or an experienced radio/TV technician for help.
IMPORTANT SAFETY INFORMATION
Assembly Precautions
- Assemble only according to these instructions. Improper assembly can create hazards.
- Wear ANSI-approved safety goggles and heavy-duty work gloves during assembly.
- Keep assembly area dean and well lit.
- Keep bystanders out of the area during assembly.
- Do not assemble when tired or when under the influence of alcohol, drugs or medication.
- Weight capacity and other product capabilities apply to properly and completely assembled products only.
Use Precautions
- This product is not a toy. Do not allow children to play with or near this item.
- Setup and use indoors only. Keep dry.
- Do not overtighten the workpiece; damage to the workpiece may occur. Be careful not to pinch fingers when working
- Locate Workbench on a flat, level, solid surface that is capable of supporting the weight of the workpiece, Workbench and tools.
- Use as intended only.
- Replace light fixtures only with the same light fixture size and rating.
- Inspect before every use: do not use if parts are loose or damaged.
- Do not exceed listed weight capacity, evenly distributed Be aware of dynamic loading! The sudden load movement may briefly create excess load causing product failure.
- Maintain product labels and nameplates. These carry important safety information.
- People with pacemakers should consult their physician(s) before use. Electromagnetic fields in close proximity to the heart pacemakers could cause pacemaker interference or pacemaker failure.
- WARNING: Handling the cord on this product will expose you to lead, a chemical is known to the State of California to cause cancer, and birth defects or other reproductive harm. Wash hands after handling.
- The pegboard is designed for hooks that diameter of wire is less than 3.7mm(9/64″).
Grounding
WARNING
TO PREVENT ELECTRIC SHOCK AND DEATH FROM INCORRECT GROUNDING
WIRE CONNECTION:
Check with a qualified electrician if you are in doubt as to whether the outlet is properly grounded.
Do not modify the power cord plug provided with the tool. Never remove the grounding prong from the plug. Do not use the tool if the power cord or plug is damaged. If damaged, have it repaired by a service facility before use. If the plug will not fit the outlet, have a proper outlet installed by a qualified electrician.
Grounded Tools: Tools with Three Prong Plugs

- Tools marked with “Grounding Required” have a three-wire cord and three-prong grounding plug. The plug must be connected to a properly grounded outlet.
if the tool should electrically malfunction or break down, grounding provides a low resistance path to carry electricity away from the user, reducing the risk of electric shock. (See 3-Prong Plug and Outlet.) - The grounding prong in the plug is connected through the green wire inside the cord to the grounding system in the tool. The green wire in the cord must be the only wire connected to the tool’s grounding system and must never be attached to an electrically live” terminal. (See 3-Prong Plug and Outlet.)
- The tool must be plugged into an appropriate outlet, properly installed, and grounded in accordance with all codes and ordinances. The plug and outlet should look like those in the preceding illustration. (See 3-Prong Plug and Outlet.)
Double Insulated Tools: Tools with Two Prong Plugs

- Tools marked “Double Insulated” do not require grounding. They have a special double insulation system that satisfies OSHA requirements and complies with the applicable standards of Underwriters Laboratories, Inc., the Canadian Standard Association, and the National Electrical Code.
- Double insulated tools may be used in either of the 120-volt outlets shown in the preceding illustration. (See Outlets for 2-Prong Plug.)
Extension Cords
- Grounded tools require a three-wire extension cord. Double Insulated tools can use either a two or three-wire extension cord.
- As the distance from the supply outlet increases, you must use a heavier gauge extension cord. Using extension cords with inadequately sized wire causes a serious drop in voltage, resulting in loss of power and possible tool damage. (See Table A.)
- The smaller the gauge number of the wire, the greater the capacity of the cord. For example, a 14 gauge cord can carry a higher current than a 16 gauge cord. (See Table A.)
- When using more than one extension cord to make up the total length, make sure each cord contains at least the minimum wire size required. (See Table A.) If you are using one extension cord for more than one tool, add the nameplate amperes and use the sum to determine the required minimum cord size. (See Table A.)
- If you are using an extension cord outdoors, make sure it is marked with the suffix “NINA” (“W’ in Canada) to indicate it is acceptable for outdoor use.
- Make sure the extension cord is properly wired and in good electrical condition. Always replace a damaged extension cord or have it repaired by a qualified electrician before using it.
- Protect the extension cords from sharp objects, excessive heat, and damp or wet areas.
| TABLE A: RECOMMENDED MINIMUM WIRE GAUGE FOR EXTENSION CORDS* (120/240 VOLT) | |||||
| NAMEPLATE AMPERES (at full load) | EXTENSION CORD LENGTH | ||||
| 2W | 50′ | 75′ | 100′ | 150′ | |
| 0 – 2.0 | 18 | 18 | 18 | 18 | 16 |
| 2.1 — 3.4 | 18 | 18 | 18 | 16 | 14 |
| 3.5 — 5.0 | 18 | 18 | 16 | 14 | 12 |
| 5.1 — 7.0 | 18 | 16 | 14 | 12 | 12 |
| 7.1 —12.0 | 18 | 14 | 12 | 10 | – |
| 12.1 — 16.0 | 14 | 12 | 10 | – | – |
| 16.1 — 20.0 | 12 | 10 | – | – | – |
| • Based on limiting the line voltage drop to five volts at 150% of the rated amperes. | |||||
![]() | Double Insulated |
![]() | Canadian Standards Association |
![]() | Underwriters Laboratories, Inc. |
![]() | Volts |
| Alternating Current | |
![]() | Amperes |
| No Load Revolutions per Minute (RPM) | |
![]() | WARNING marking concerning Risk of Eye Injury. Wear ANSI-approved safety goggles with side shields. |
![]() | Read the manual before set-up and/or use. |
![]() | WARNING marking concerning Risk of Fire. Do not cover ventilation ducts. Keep flammable objects away. |
![]() | WARNING marking concerning Risk of Electric Shock. Properly connect the power cord to the appropriate outlet. |
Specifications
| Power Strip Rating | 125V— / 13A |
| Maximum Weight Capacity | 558 lb. evenly distributed as follows: |
| Bench Top – 220 lb. | |
| Bottom Shelf – 200 lb. | |
| Each Drawer – 25 lb. | |
| Top Shelf- 44 lb. | |
| Whole Peg Board-44 lb. | |
| And Each Peg Hole-3.5 lb. |
Assembly Instructions
Read the ENTIRE IMPORTANT SAFETY INFORMATION section at the beginning of this document including all text under subheadings therein before set up or use of this product.
| Note: Unless stated otherwise, all connections are made using Bolts, and Nuts (B). Finger tighten all connections until assembly is done. Assemble the Workbench on a flat, level, hard surface. |
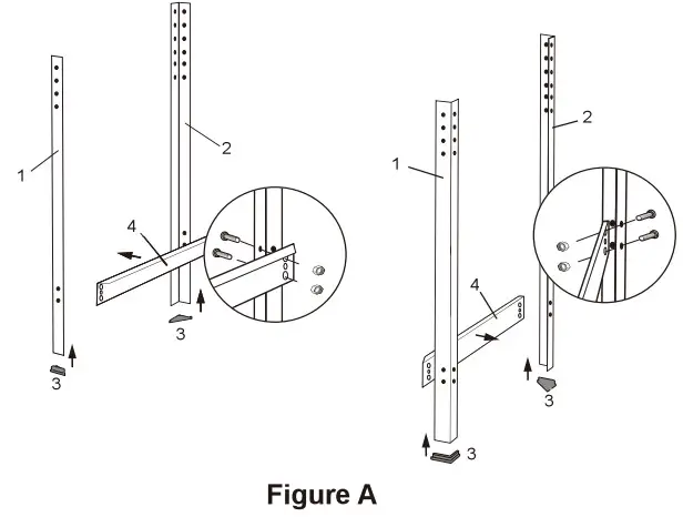
- Attach 1 Side Beam (#4) to the bottom 2 holes of 1 Front Beam (#1) and 1 Back Beam (#2). Repeat with other Side Front Beam and Back Beam. (See Figure A)
NOTE: Back posts are taller than Front posts. - Attach the Protective Caps (#3) at the bottom of all 4 Beams. (See Figure A)

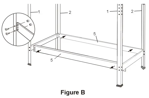
- Attach the Bottom Beams (#5) to join both the Front Beams (#1) and both Back Beams (#2). connecting together the bottom of the workbench. (See Figure B)

- Working from the front side of the workbench, attach the Side Beam (#4) and the Side Beam with Power Strip Opening (#4A) to the top 2 holes on the Front Posts (#1) and the middle 2 holes on the Back Posts (#2). (See Figure C)
NOTE: The side Beam with Power Strip Opening can be attached to either the right or left side. - Attach Power Strip (#22) to the Side Beam with Power Strip Opening (#4A) using U Brackets (F) and Screws (E) from package E-F. (See Figure C)

- Attach the Top Beams (#6) to the top 2 holes on both Front Posts (#1) and the middle 2 holes on both Back Posts (#2). (See Figure D)
NOTE: Make sure the Front Top Beam (#6) carries the Warning Label and is right-side-up.
- To begin assembling the Drawer Housing. attach the Front Drawer Bracket (#7F) to the Front Top Beam (#6). Next attach the Back Drawer Bracket (#7B) to the Back Top Beam (#6). (See Figure E)

- Attach the Middle Drawer Mount (#8) to the Front Drawer Bracket (#7F) and the Back Drawer Bracket (#7B).
NOTE: The side with the open end of the silver runner track should be facing forward, and the end that is closed should be facing the back of the workbench.
- Mach the Left Drawer Blount (#9L) to the Left Front and Back Beams on the bottom-most hides. Then Attach the Right Drawer Mount (#9R) to the right Front and Back Beams on the bottom-most holes. (See Figure F) NOTE: Again. the runner tracks with the open end should be facing forward. and the end that is closed should be facing the back of the workbench.
- Attach the Front Drawer Panel (#11) to the Right (#10R) and Left (#1014 Drawer Panels. Slip the Drawer Bottom onto the Drawer Panel lips. and attach the Back Drawer Panel (#12) to secure Drawer Bottom into place. Repeat for Second Drawer. Attach Drawer Handles to Front Drawer Panne! (#11). (See Figure G)
- Slide the Drawers into the Drawer Bracket Runners and push firmly until the drawers go all the way to the back of the track.
NOTE: Drawers have light locking device. push firmly to make drawers flush
- Attach the left and right Back Upper Posts (#15) to the left and right Back Posts (#2) on the topmost 2 holes. NOTE: You will have to temporarily remove these screws to attach the pegboard in the future, so do not overtighten.
- Attach the Back Shelf Beam (#16B) to the top of the Back Upper Posts 1(#15).
NOTE: Install Shelf Beams with the lip facing upward. This will be used to attach theTop Shelf in future steps. - Attach the Left Shelf Beam (#17L) and the Right Shelf Beam (#17R) to the Back Shelf Beam (#16B) to begin forming the top shelf.
NOTE: Install Shelf Beams with the lip facing upward. This will be used to attach theTop Shelf in future steps.
- Attach the Front Shelf Beam (#16F) to the Left and Right Shelf Beams (#17L + #17R). (See Figure H)
NOTE: Install Shelf Beams with the lip facing upward. This will be used to attach theTop Shelf in future steps. - Attach the Pegboard (#18) to the Back Upper Posts (#15) and Middle Drawer Mount using Bolts, and Nuts from package C. (See Figure I)
NOTE: You will have to temporarily remove the screws, one side at a time, to be able to secure the Pegboard to the bottom corners of the Back Upper Posts (from Step 13)
NOTE: Now you will want to go through and tighten all Screws and Bolts securely, it is more difficult to do after surfaces have been installed.
- Attach the Bench Top (#19) to the Side Beams (#4 + #4A). Then attach the Bottom Shelf (#20) to lower Side Beams (#4). Use the Bolts, Nuts from package D. (See Figure J)

- Attach the Top Shelf (#21) to the Shelf Beams (#17L • #17R) using the Bolts. Nuts from package EL (See Figure K)

- Attach the Light Fixture (#23) to the underside of the Top Shelf (#21) using the Screw and clip (H) from package G. (See Figure L)
a. Insert a screw at the center of each Light Fixture Clip.
b. Position the screws at the center of the designated holes on the underside of the Top Shelf, and screw them into the Shelf until the Clips are secure.
c. Push the Light Fixture all the way into the clips to securely attach to the Top Shelf.
- Route the Light Fixture cord through one of the holes at the top side of the Pegboard and plug in the Light Fixture power cord to the Power Strip on the side of the Workbench. Secure the power cord to the Back Post with the zip ties provided.
NOTE: Go through one more time and ensure all Screws and Bolts are securely tightened on the Workbench.
Replace light fixture
- Pull the light fixture from light fixture clips.
- Push the Light Fixture all the way into the clips to securely attach to the Top Shelf.
Maintenance and Servicing
procedures not specifically explained in this manual must be performed only by a qualified technician.
WARNING
TO PREVENT SERIOUS INJURY FROM ACCIDENTAL OPERATION:
Make sure that the Trigger is in the off position and unplug the tool from its electrical outlet before performing any procedure in this section.
TO PREVENT SERIOUS INJURY FROM TOOL FAILURE:
Do not use damaged equipment. If abnormal noise or vibration occurs, have the problem corrected before further use.
Cleaning, Maintenance, and Lubrication
- BEFORE EACH USE, inspect the general condition of the Workbench. Check for:
- loose hardware,
- misalignment or binding of moving parts,
- damaged cord/electrical wiring,
- cracked or broken parts, and
- any other condition that may affect its safe operation.
- AFTER USE, wipe external surfaces with a clean cloth.
Parts List and Diagram
Part List
| Part | Description | Qty |
| 1 | Front Post | 2 |
| 2 | Back Post | 2 |
| 3 | Rubber Foot | 4 |
| 4 | Side Beam | 3 |
| 4A | Side Beam with Power Strip Opening | 1 |
| 5 | Bottom Beam | 2 |
| 6 | Top Beam | 2 |
| 7F | Front Drawer Bracket | 1 |
| 7B | Back Drawer Bracket | 1 |
| 8 | Middle Drawer Mount | 1 |
| 9L | Left Drawer Mount | 1 |
| 9R | Right Drawer Mount | 1 |
| 10L | Left Drawer Panel | 2 |
| lOR | Right Drawer Panel | 2 |
| 11 | Front Drawer Panel | 2 |
| 12 | Back Drawer Panel | 2 |
| 13 | Drawer Bottom | 2 |
| 14 | Drawer Handle | 2 |

| Part | Description | Qty |
| 15L | Left Back Upper Post | 1 |
| 15R | Right Back Upper Post | 1 |
| 16 F | Front Shelf Beam | 1 |
| 16B | Back Shelf Beam | 1 |
| 17L | Left Shelf Beam | 1 |
| 17R | Right Shelf Beam | 1 |
| 18 | Pegboard | 1 |
| 19 | Bench Top | 1 |
| 20 | Bottom Shelf | 1 |
| 21 | Top Shelf | 1 |
| 22 | Power Strip (not shown) | 1 |
| 23 | Light Fixture (not shown) | 1 |
| A | Bolt (M4x10). Nut | 8 |
| B | Bolt (M6x10), Nut | 78 |
| C | Bolt (M6x16), Nut | 12 |
| D | Bolt (M5x25), Nut | 18 |
| E | Screw (ST4x9.5) | 4 |
| F | U Bracket | 2 |
| G | Screw (M3x8), | 2 |
| H | Clip | 2 |
Questions, problems, missing parts?
Before returning to the store, call
GreatStar Customer Service 9 AM-4 PM CST, M-F
Call: 479-802-3580 or
Email: [email protected]
Distributed by : Hangzhou Great Star Industrial Co., Ltd
. No.35 Jiuhuan Road, Jiubao Town,
Hangzhou 310019, China
www.greatstartools.com



































