ONFORU BDB55G-3 PIR LED Wall Lights

COMPONENTS AND STRUCTURE
- Cover
- LED Light Source
- Lamp Bracket
- Sensor Head
PARTS LIST
SPECIFICATIONS
| LED WALL LAMP | |
| Model | BDB55G-3 |
| Input Voltage | 220-240V~ 50Hz |
| Input Current | 0.25A |
| Rated Power | 55W |
| Useful luminous flux | 5000lm |
| CCT | 6500K |
| CRI | ≥80 |
| Power factor | ≥0.9 |
| L70B50 lifetime | 30000hours L70B50 @25° |
| Beam Angle | 120° |
| IP Rating | IP44 |
| ta | -20-40°C |
| DIMENSIONS | ||
| Model | BDB55G-3 | |
| DIMENSIONS | 272x123x121mm | |
| Weight | 0.98 KG | |
| Max Projected Area | 0.0214 m² | |
| Max. Lighting Coverage | 90 m² | |
| Note | ||
| The testing standard of the product’s luminous flux: Place the three/two lights on the same horizontal surface for testing, and the tested luminous flux is the accurate luminous flux. | ![]() | |
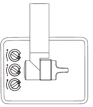
Operation Instructions

LUX: Change the Working Mode.
Sun Mode: works all day long.
Moon Mode: works only when it is dark (night time).
Please note: If your light can not be turned off after people leave, please switch the button counter-clockwise from Sun Mode to Moon Mode.
TIME: Change the Illumination Time.
After motion is sensed, the light will be on immediately. Switch the button counter-clockwise to prolong the illumination time from 10s to 180s approximately.
Delay Time: the time that the light will be on after people leave.
SENS: Change the Sensitivity.
Switch the button counter-clockwise to adjust or tune the sensing distance from the Min. to Max.(Max. Sensing Range 39ft / 12M).
PREPARATION
Check all components for damage, do not use the product if it is damaged. 
SAFETY INFORMATION
Disconnect the power supply before attempting any work on the unit!
Installing these units involves work on the mains voltage supply; installation must therefore be carried out professionally In accordance with the appliance national wiring regulations
And electrical operating conditions.
Be careful not to damage or cut the wire insulation (Covering) during installation. Do not let the wires touch any sharp edges.
INSTALLATION STEPS
Product appearance may vary from image shown 
INSTALLATION STEPS
NOTE: The raised part (RA) of the metal plate must be engaged with the recessed part (RE) of the base, otherwise it cannot be installed.
- Blue
Neutral line - Brown
Live wire - Yellow-green
Ground wire
Troubleshooting
| Malfunction | Cause | Remedy |
| LED senses a movement, the light does not light up |
|
|
| LED sensor light did not go out, continued to light up | Continuous movement within the sensing range | Check the relevant area and retune or override the sensor head if necessary |
| LED sensor light illuminates during the day | The shadows around the sensor make it mistakenly think it’s night |
|
| LED sensor light flashing | Surrounded by other unstable light sources shining onto the induction | Avoid being exposed to such light sources |
| LED lights turn on unexpectedly |
|
|
Manufacturer
Shen Zhen Shi Meng Zhi Tuo Ke Ji You Xian Gong Si
Address: qian wan yi lu 1 hao A dong 201 shi qian hai shen gang he zuo qu Shen Zhen, Guang
Dong, 518000, CN
[email protected]
www.onforuleds.com
69 Aberdeen Avenue, Cambridge CB2 8DL,
United Kingdom | [email protected]
EU REP MDH LIGHTING LTD
Suite 302, 292 Strovolos Avenue, 2048 Strovolos
Nicosia, Cyprus | [email protected]
Made in China




PREPARATION


















