EMTEK IN4-DBSGLSIDED Single Sided Deadbolt

Installation
- Door Prep For Door Thickness: 1-5/8” to 2-3/8”

(NOTE: Bore from the inside. Do not bore all the way through the door). - Door Jamb Prep

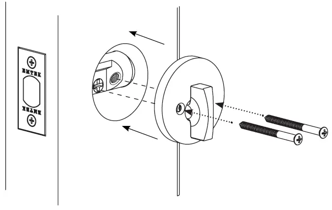
- Install Bolt

- Outside View

- Inside Installation








Download manual
Here you can download full pdf version of manual, it may contain additional safety instructions, warranty information, FCC rules, etc.