Barmesa Pumps 2BEH-SS Series HP 82 GPM FNPT Two Vane Vertical Effluent Pump

Before installation
Before installation, read the following instructions carefully. Failure to follow instruction and safety information could cause serious bodily injury, death and/or property damage. Each Barmesa product is carefully inspected to insure proper performance. Closely following these instructions will eliminate potential operating problems, assuring years of trouble-free service. DANGER “Danger” indicates an imminently hazardous situation which, if not avoided, WILL result in death or serious injury. WARNING “Warning” indicates an imminenty hazardous situation which, if not avoided, MAY result in death or serious injury. death resulting from failure to observe these safety precautions, misuse, abuse or misapplication of pumps or equipment.
Installation, wiring, and j u n c t i o n co n n e c t i o n s m u s t b e i n accordance with the National Electric Code and all applicable state and localcodes. Requirements may vary depending on usage and location. WARNING I n s t a l l a t i o n a n d servicing is to be conducted by qualified personnel only. WARNING D o n o t u s e t h e s e pumps in water over 104º F. Do not exceed manufacturers recommended maximum performance, as this could cause the motor to overheat.
WARNING
Ground Fault Circuit
Interrupter (GFCI) to be used with plug-in type power cord. WARNING CLEANED, SANITIZED, OR D E CO N TA M I N AT E D P R I O R TO SHIPMENT, TO INSURE EMPLOYEES WILL NOT BE EXPOSED TO HEALTH HAZARDS IN HANDLING SAID MATERIAL. ALL APPLICABLE LAWS AND REGULATIONS SHALL APPLY. Keep clear of suction and discharge openings. Do not insert fingers in pump with power connected; the rotating cutter and/or impeller can cause serious injury. Always wear eye protection when working on pumps. Do not wear loose clothing that may become entangled in moving parts.Pumps build up heat and pressure during operation. Allow time for pumps to coolDANGER before handling or servicing the pumpura accessory items associated with or near the pump. WARNING| Ground Fault Circuit Interrupter (GFCI) to be used with plug-in type power cord. WARNING Sump and sewage pumps often handle materials which could cause illness or disease. Wear adequate protective clothing when Working on a used pump or piping. Never enter a basin after it has been used. DANGER Failure to permanently ground the pump, motor and controls before connecting to power can cause shock, burns ordeath. DANGER These pumps are not to be installed in locations classified as hazardous in accordance with the National Electric Code, ANSI/NFPA 70. WARNING The Uniform Plumbing Code (UPC) states that sewage systems shall have an audio and visual alarm that signals a malfunction ofthe systems, that are required to reduce the potencial for property damage.
IMPORTANT! – Prior to installation, record Model Number, Serial, Amps, Voltage, Phase and HP from pump name plate for the future reference. Also record the Voltage and Current Readings at Startup:
| 1 Phase Models | |
| Amps: | Volts: |
| 3 Phase Models | |
| Amps L1-2: | Volts L1-2: |
| Amps L2-3: | Volts L2-3: |
| Amps L3-1: | Volts L3-1: |
Specifications
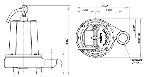
- DISCHARGE: 2″ NPT, vertical.
- SPHERICAL SLD HNDLG: 3/4″
- LIQUID TEMPERATURE: 104° F (40° C) max.
- VOLUTE: Cast iron ASTM A-48 class 30.
- MOTOR HOUSING: Cast iron ASTM A-48 class 30.
- SEALPLATE: Cast iron ASTM A-48 class 30.
- IMPELLER: 2 vane, open, with vanes on back side, dynamically balanced ISO G6.3. Bronze 85-5- 5-5.
- SHAFT: 416 series stainless steel.
- HARDWARE: 300 series stainless steel.
- SQUARERINGS: Buna-N.
- PAINT: Air dry enamel, water based.
- SEAL: Inboard, single mechanical, oil filled chamber. Silicon carbide, Buna-N elastomer, with stainless steel hardware.
- CORD ENTRY: 15 ft of neoprene cord SJO 14/3, sealed against moisture.
- UPPER BEARING: Ball, single row, oil lubricated, for radial load.
- LOWERBEARING: Ball, single row, oil lubricated, for radial and axial loads.
| MODEL | PART No. | HP | VOLTS | PHASE | RPM (Nominal) | MAX AMPS | LOCKED ROTOR AMPS | NEMA CODE | CORD SIZE | CORD TYPE | CORD O. D. | WEIGHT (pounds) |
| 2BEH512SS | 62170651 | 0.5 | 115 | 1 | 3500 | 11 | 23 | F | 14/3 | SJTOW | 0.39″ | 82 |
| 2BEH102SS | 62170652 | 1 | 230 | 1 | 3500 | 8.2 | 13.8 | B | 14/3 | SJTOW | 0.39″ | 84 |
| 2BEH103SS | 62170653 | 1 | 200/230 | 3 | 3500 | 5.4 | 21.2 | K | 12/4 | SOW | 0.6″ | 84 |
| 2BEH104SS | 62170654 | 1 | 460 | 3 | 3500 | 2.8 | 20.7 | K | 12/4 | SOW | 0.6″ | 84 |

- Receiving inspection
Upon receiving the pump, it should be inspected for damage or shortages. If damage has occurred, file a claim immediately with the company that delivered the pump. If the manual is removed from the packaging, do not lose or misplace it. - Storage
Any product that is stored for a period longer than six (6) months from the date of purchase should be bench-tested prior to installation. A bench test consists of, checking the impeller to assure it is free turning and a run test to assure the motor (and switch if provided) operates properly. - Controls
Manual models require a separate approved pump control device or panel for automatic operation. Be sure the electrical specification of the control selected properly match the electrical specifications of the pump. - Submergence
The pump should always be operated in submerged conditions. The minimum sump liquid level should never be less than above the pump’s volute (See Figure 1). - Discharge Piping
Discharge piping should be as short as possible and sized no smaller than the pump discharge. Do not reduce the discharge pipe size below that which is provided on the pump. Both a check valve and a shut-off valve are recommended for each pump. The check valve is used to prevent backflow into the sump. The shut-off valve is used to manually stop the system low during pump servicing. - Liquid Level Controls
The level control(s) should be mounted on the discharge piping, a cable rack or float pole. The level control should have adequate clearance so it cannot hang up in it’s swing and that the pump is completely submerged when the level control is in the “Off” mode. By adjusting the cord tether the control level can be changed. One cycle of operation should be observed so that any potential problems can be corrected. 4Electrical Connections - Power cable
The power cable mounted to the pump must not be modified in any way except for shortening to a specific application. Any splice between the pump and the control panel must be made in accordance with the electric codes. It is recommended that a junction box, if used, be mounted outside the sump or be of at a minimum Nema 4 construction if located within the wet well. DO NOT USE THE POWER CABLE TO LIFT PUMP. - Overload Protection
Single Phase – The stator in-winding overload protector used is referred to as an inherent overheating protecto and operates on the combined effect of temperature and current. This means that the overload protector will trip out and shut the pump off if the windings become too hot, or the load current passing through them becomes too high. - Installation
There are two methods of installing effluent pumps: - In a Flex-Hose system, most commonly used in interceptor tanks, and
- A slide rail in a package system or concrete wet well, which allows the pump(s) to be installed or removed without requiring personnel to enter the wet well.

- Pre-Operation
- Check Voltage and Phase – Compare the voltage and phase information stamped on the pump name plate.
- Name Plate – Record the information from the pump nameplate to drawing in front of manual for future reference.
- Inspect motor chamber for oil level and contamination.
- Inspect the impeller and body for excessive build-up or clogging.
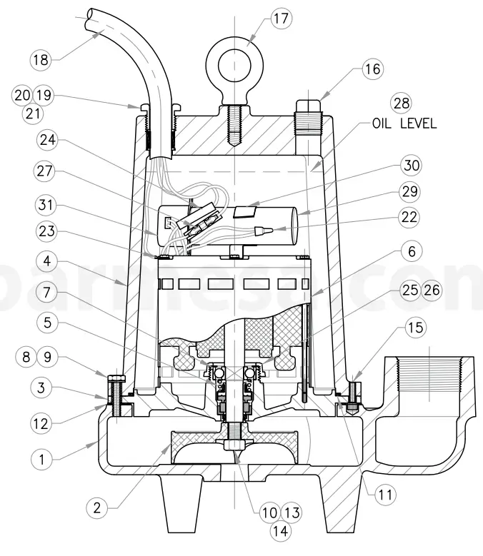
- Inspect motor, bearings and shaft seal for wear or leakage. No lubrication or maintenance is required. Perform the following checks when pump is removed fromoperation or when pump performance deteriorates: 4Maintenance NOTE: Item numbers in ( ) refer to Figure 6 and 7. 4Servicing After leak is repaired, dispose of old oil properly, and refill with new oil.
- Insulation Test – An insulation (megger) test should be performed on the motor. Before the pump is put into service. The resistance values (ohms), as well as the voltage (volts) and current (amps), should be recorded.
- Pump-Down Test – Be sure pump has been properly wired, and lowered into the basin, sump or lift station, check the system by filling withliquid and allowing the pump to operate through its pumping cycle. The time needed to empty the system, or pump-down time along with the volume of water, should be recorded.
- Check Pump Rotation – Improper motor rotation can result in poor pump performance and can damage the motor and/or pump. Incorrect rotation for Single-Phase pumps is unlikely. Impeller rotation is counter-clockwise as viewed from the bottom of pump.
- Cooling Oil – Anytime the pump is removed from operation, the cooling oil in the motor housing should be checked visually for oil level and contamination. To check oil, set unit upright. Remove pipe plug (16) from housing (4). With a flashlight, visually inspect the oil in the housing (4) to make sure it is clean and clear, light amber in color and free from suspended particles. Milky white oil indicates the presence of water. Oil level should be just above the motor when pump is in vertical position.
- Oil Testing
Drain oil into a clean, dry container by placing the pump on it’s side, remove pipe plug (16), from housing (4). Ÿ Check oil for contamination using an oil tester with a range to 30 kilovolts breakdown. Ÿ If oil is found to be clean and uncontaminated (measuring above 15 kV breakdown), refill the housing. Ÿ If oil is found to be dirty or contaminated (or measures below 15 kV breakdown), the pump must be carefully inspected for leaks at the shaft seal, cable assembly, square ring and pipe plug, before refilling with oil. To locate the leak, perform a pressure test. - Pressure Test (If oil has been drained) – Remove pipe plug (16) from housing (4). Apply pipe sealant to pressure gauge assembly and tighten into hole. Pressurize motor housing to 10 PSI. Use soap solution around the sealed areas and inspect joints for “air bubbles”. If, after five minutes, the pressure is still holding constant, and no “bubbles” are observed, slowly bleed the pressure and remove the gauge assembly. Replace oil. Leek must be located and repaired if pressure does not hold.Pressure Test (If oil has NOT been drained) – Oil should be at normallevel. Remove pipe plug (16) fromhousing (4). Apply pipe sealant to pressure gauge assembly and tighten into hole. Pressurize motor housing to 10 PSI. Use soap solution aroundthe sealed areas above the oil level and inspect joints for “air bubbles”. For sealed areas below oil level, leeks will seep oil. If, after five minutes, the pressure is still holding constant, an no “bubbles”, oil seepage is observed, slowly bleed the pressureand remove the gauge assembly. Replace oil. Leek must be located and repaired if pressure does not hold.Oil Replacement – Set unit upright and refill with new cooling oil as per table below. Fill to just above motor, but below capacitor as an air spacemust remain in the top of the housing to compensate for oil expansion. Apply pipe thread compound to threads of pipe plug (16) then assemble to housing (4).
- Cooling Oil
Recommended Supplier/Grade BP Enerpar SE100 Conoco Pale Parafin 22 Mobile D.T.E. Oil Light Shell Canada Transformer-10 Texaco Diala-Oil-AX 4Disassembly and Assembly Impeller, V-ring and Volute: - Disconnect power.
Service
Pressure builds up extremely fast, increase pressure by “TAPPING” air nozzle. Too much pressure will damage seal. DO NOT exceed 10 PSI. DO NOT overfill oil. Overfilling of housing with oil can create excessive and dangerous hydraulic pressure which can destroy the pump and create a hazard. Overfilling oil voids warranty. - To reassemble:
- Clean the threads with thread locking compound cleaner. Apply removable Loctite® 242 or equivalent to shaft threads.
- Remove cap screws (8) and lock washers (9) vertically lift motor, housing and seal plate assembly from volute (1). Clean out volute (1) if necessary.
- Inspect gasket (12) and replace if cut or damaged.
- Clean and examine impeller (2), for cracks or breakage and replace if required. To remove impeller (2), remove impeller nut (10), place a flat screwdriver in the slot of the end of the shaft to hold the shaft stationary while unscrewing the impeller (2).

- Check motor capacitor (29) with an Ohm meter by first grounding the capacitor by placing a screwdriver across both terminals and then removing screwdriver. Connect Ohm meter (set on high scale) to terminals. If needle moves to infinity (∞) then drifts back, the capacitor is good. If needle does not move or moves to infinity (∞) and does not drift back, replace capacitor (29). Service
- Inspect motor winding for shorts and check resistance values. Check rotor for wear. If rotor or the stator windings are defective, the complete motor must be replaced.
- Disconnect capacitor leads from capacitor (29). Remove v-ring (13) and spacer (14) from seal plate (3). Remove bolts from motor stator (6) and lift stator up from rotor. Loosen conduit bushing (25) and remove motor rotor, bearing and seal assembly from seal plate (3).
Seal: Remove rotating member (5b), spring (5c) and retaining ring (5d), from shaft (see Figure 3). Inspect for signs of uneven wear pattern on stationary member, chips, and scratches on either seal face. Replace the complete seal if any part is damaged.
DO NOT interchange seal components, replace the entire shaft seal (6). If replacing the seal, remove stationary from seal plate (3) by prying out with flat screwdriver.
Bearing: Examine bearing (7) and replace if worn. Remove bearing (7) from shaft using a wheel puller, if replacement is required. The washer bushing (26) and conduit bushing (25) can now be removed. IMPORTANT! – All parts must be clean before reassembly. Handle seal parts with extreme care. DO NOT damage lapped surfaces.
Reassembly 2. Press seal’s (5) stationary member (5a) firmly into seal plate (3), using a seal tool or pipe. Nothing should come in contact with the seal face except the seal tool. Be sure the stationary is in straight. Lightly oil (Do not use grease) shaft and inner surface of bellows.
Shaft Seal:
- Slide retaining ring (5d) and spring (5c) over shaft and let rest on bearing. Lightly oil (Do not use grease) shaft, bullet and inner srface of bellows on rotating member (5b). See Figure 3.
- With lapped surface of rotating member (5b) facing outward, slide over seal tool and unto shaft, making sure spring (5c) is seated in retaining ring (5d) and spring (5c) is lined up on rotating member (5b) and not cocked or resting on bellows tail.
- Place conduit bushing (25) and washer (26) onto shaft.
- Slide rotor/shaft (6) with bearing (7) and seal (5) into seal plate (3) until bearing (7) seats into seal plate.
- Locate washer (26) into place on bearing and tighten conduit bushing (25) onto seal plate (3).
- Place stator (6) over rotor (6), lining up motor bolts with holes in seal plate (3).
- Position capacitor (29) on motor with clamp (30) and reconnect capacitor leads.
- Torque motor bolts to 17 in-lbs. Set square ring (11) in grove on seal plate (3).
- Lower motor housing (4) down onto seal plate (3) while aligning holes and stringing motor leads through the cord entry bore.
- Place socket head screws (15) through seal plate (3) into housing (4) and torque to 60 in-lbs

- Cable Assembly:
14. Check power cord (18) for cracks or damage and replace if required. Insert one washer (20), grommet (21), washer (20) into motor housing (4). Apply pipe sealant to gland nut (19) and screw into motor housing (4). Torque gland nut to (19) to 15 ft. lbs. to prevent water leakage (See Figure 4). Refill the cooling oil and replace pipe plug. - Insert spacer (14) and v-ring (13) into seal plate (3) and reassembleremaining parts per “Impeller, V-ring and Volute” section on page 7.

Parts



Troubleshooting
| Risk of electric shock. Always disconnect the pump from the power source before handling inspections or repairs. | ||
| Symptom | Possible Cause(s) | Corrective Action |
|
Pump will not run | 1. Poor electrical connection, blown fuse, tripped breaker or other interruption of power; improper power supply 2. Motor or switch inoperative (go to manual operation) 2a. Float movement restricted 2b. Switch will not activate pump or is defective 2c. Defective motor 3. Insufficient liquid level | 1. Check all electrical connections for security. Have electrician measure current in motor leads, if current is within ± 20% of locked rotor Amps, impeller is probably locked. If current is 0, overload may be tripped. Remove power, allow pump to cool, then re-check current. 2a. Reposition pump or clean basin as required to provide adaquate clearance for float 2b. Disconnect level control. Set ohmmeter for a low rang, such as 100 ohms full scale and connect to level control leads. Actuate level control manually and check to see that ohmmeter shows zero ohms for closed switch and full scale for open switch. (Float Switch) 2c. Check winding insulation (Megger Test) and winding resistance. If check is outside of range, dry and re-check. If still defective, replace per service instructions. 3. Make sure liquid level is above the pump 4. Re-check all sizing calculations to determine proper pump size. 5. Check discharge line for restrictions, including ice if line passes through or into cold areas. 6. Remove and examine check valve for proper .incstallation anod freedom of opmeration 7. Open valve 8. Check impeller for freedom of operation, security and condition. Clean impeller cavity and inlet of any obstruction 9. Loosen union slightly to allow trapped air to escape. Verify that turn-off level of switch is set so that the suction is always flooded. Clean vent hole 10. Check rotation. If power supply is three phase, reverse any two of three power supply leads to ensure proper impeller rotation 11. Repair fixtures as required to eliminate leakage 12. Check pump temperature limits and fluid temperature 13. Replace portion of discharge pipe with flexible connector or tighten existing piping. 14. Turn to automatic position 15. Check for leaks around basin inlet and outlets |
|
Pump will not turn off | 2a. Float movement restricted 2b. Switch will not activate pump or is defective 4. Excessive inflow or pump not properly sized for application 9. Pump may be air locked causing pump not to flow 14. H-O-A switch on panel is in “HAND” position | |
| Pump hums but doesn’t run | 1. Incorrect low voltage 8. Impeller jammed or loose on shaft, or inlet plugged | |
| Pump delivaers insufficientrcapacity m | 1. Incorrect low voltage 4. Excessive inflow or pump not properly sized for application 5. Discharge restricted 6. Check valve partially closed or installed backwards 7. Shute-off valve closedsa 8. Impeller jammed or loose on shaft, or inlet plugged 9. Pump may be air locked causing pump not to flow 10. Piping fixtures leaking or discharge before the nozzle | |
| Pump cycles too frequently or runs periodically when fixtures are not in use | 6. Check valve partially closed or installed backwards 11. Fixtures are leaking 15. Ground water entering basin | |
| Pump shuts off and turns on independent of switch, (trips thermal overload protector). CAUTION! Pump may start unexpectedly. Disconnect power supply. | 1. Incorrect low voltage 4. Excessive inflow or pump not properly sized for application 8. Impeller jammed or loose on shaft, or inlet plugged 12. Excessive water temperature (internal protection only) | |
|
Pump operates noisily or vibrates excessively | 2c. Worn bearings, motor shaft bent 5. Debris in impeller cavity or broken impeller 10. Pump running backwards 13. Piping attachments to building structure too loose or rigid | |
WARRANTY
Barmes Pumps warrants that products of our manutacture will be free of defects in material and Workmanship under normal use and service for 18 months from date of manufacture or 12 months from installation date whichever Occurs first. This warranty gives you specific legal rights, which vary Irom state to state. This warranty is a limited warranty, and no warranty-related claims of any nature whatsoever shall be made against Barmesa Pumps, until the ultimate consumer or his/her successor notifies us in writing of the defect and delivers the product and/or defective part/s) freight prepaid to our factory or nearest authorized service station as instructed by Barmesa Pumnps. THERE SHALL BE NO FURTHER LIABILITY, WHETHER BASED ON WARRANTY, NEGLIGENCE OR OTHERWISE. PRODUCT SHALL BE EITHER REPLACED OR REPAIRED AT THE ELECTION OF BARMESA PUMPS. Guarantees relating to performance specifications provided in addition to the foregoing material and workrmanship warranties on a product manufactured by Barmesa Pumps, if any, are subject to possible factory testing. Any additional guarantees, in the nature of certified performance specifications or time frame must be in writing and such writing must be signed by our authorized tactory manager at time of order placement and/or at time of quotation. Due to inaccuracies in field testing and should a conflict arises between the results of field testing conducted by or for the user, Barmesa Pumps reserves the right to have the product returned to our factory for additional testing. This warranty shall not apply when damage is caused by (1) improper installation, (2) improper voltage. (3) lightning. (4) excessive sand or other abrasive material, (5) corrosion build-up due to excessive chemical content or (6) uncontrollable acts of god. Any modification of the original equipment will also void the warranty. We will not be responsible for loss, damage or labor cost due to interruption of service caused by defective pumps, parts or systems. Barmesa Pumps will not accept charges incurred by others without our prior written approval.
























