Barmesa Pumps 3BSE-SS Series Submersible Solids Handling Pumps

IMPORTANT! – Read all instructions in this manual before operating or servicing a pump.
General Safety Information
Before installation, read the following instructions carefully. Failure to follow instruction and safety information could cause serious bodily injury, death and/or property damage. Each Barmesa product is carefully inspected to insure proper performance. Closely following these instructions will eliminate potential operating problems, assuring years of trouble-free service.
- DANGER “Danger” indicates an imminently hazardous situation which, if not avoided, WILL result in death or serious injury.
- WARNING “Warning” indicates an imminenty hazardous situation which, if not avoided, MAY result in death or serious injury.
- WARNING Installation, wiring, and j un c t i on conn e c t i on s mu s t b e i n accordance with the National Electric Code and all applicable state and local codes. Requirements may vary depending on usage and location.
- WARNING Keep clear of suction and discharge openings. Do not insert fingers in pump with power connected; the rotating cutter and/or impeller can cause serious injury. Always wear eye protection when working on pumps. Do not wear loose clothing that may become entangled in moving parts.
- DANGER Pumps build up heat and pressure during operation.
- DANGER Risk of electric shock. To reduce risk of electric shock, always disconnect pump from power source before handling any aspect of the pumping system. Lock out power and tag.
- WARNING Do pumps in water over 104º F. Do not exceed manufacturers recommended maximum performance, as this could cause the motor to overheat.
- DANGER Do not lift, carry or hang pump by the electrical c a b l e s . Damage t o t h e electrical cables can cause shock, burns or death. Never handle connected power cords with wet hands. Use appropriate lifting device.
- WARNING Ground Fault Circuit Interrupter (GFCI) to be used with plug-in type power cord.
WARNING S ump a n d s e w a g e pumps often handle materials which could cause illness or disease. Wear adequate protective clothing when working on a used pump or piping. Never enter a basin after it has been used. - DANGER Failure to permanently ground the pump, motor and controls before connecting to power can cause shock, burns or death.
- IMPORTANT! – Prior to installation, record Model Number, Serial, Amps, Voltage, Phase and HP from pump name plate for the future reference. Also record the Voltage and Current Readings at Startup:
| 1 Phase Models | |
| Amps: | Volts: |
| 3 Phase Models | |
| Amps L1-2: | Volts L1-2: |
| Amps L2-3: | Volts L2-3: |
| Amps L3-1: | Volts L3-1: |
Specifications
- DISCHARGE: 3″ NPT female, vertical, bolt on flange.
- SPHERICAL SLD HNDLG: 2½”
- LIQUID TEMPERATURE: 104° F (40° C) max.
- VOLUTE: Cast iron ASTM A-48 class 30.
- MOTOR HOUSING: Cast iron ASTM A-48 class 30.
- SEAL PLATE: Cast iron ASTM A-48 class 30.
- IMPELLER: 2 vane, open, with vanes on back side. Cast iron ASTM A-48 class 30.
- SHAFT: 416 series stainless steel.
- HARDWARE: 300 series stainless steel.
- SQUARE RINGS: Buna-N.
- PAINT: Air dry enamel, water based.
- SEAL: Inboard, single mechanical, oil filled chamber. Silicon carbide, Buna-N elastomer and stainless steel hardware.
- CORD ENTRY: 25 ft of neoprene cord SJO 14/3, sealed against moisture.
- UPPER BEARING: Ball, single row, oil lubricated, for radial load.
- LOWER BEARING: Ball, single row, oil lubricated, for radial and thrust load.
- MOTOR: Single phase: NEMA L, permanent split capacitor, oil filled, with overload protection in motor.
- Three phase: NEMA B, oil filled. Requires overload protection to be included in control panel.
| MODEL | HP | VOLTS | PHASE | RPM | MAX. AMPS. | LOCKED ROTOR AMPS. | NEMA CODE | CORD SIZE | CORD TYPE | CORD LENGTH | WEIGHT (pounds) |
| 3BSE152SS | 1.5 | 200/230 | 1 |
1750 | 12.6 | 23 | B | 10/3 | SJO | 25′ | 225 |
| 3BSE153SS | 200/230 | 3 | 11.6 | 36 | H/L | 10/4 | 207 | ||||
| 3BSE154SS | 460 | 3 | 5.8 | 17.5 | L | 10/4 | 207 | ||||
| 3BSE202SS | 2 | 200/230 | 1 | 14.5 | 29 | B | 10/3 | SJO | 25′ | 229 | |
| 3BSE203SS | 200/230 | 3 | 14 | 50.8 | J/M | 10/4 | 207 | ||||
| 3BSE204SS | 460 | 3 | 7 | 25.4 | M | 10/4 | 207 | ||||
| 3BSE302SS | 3 | 200/230 | 1 | 28 | 59 | A | 10/4 | SJO | 25′ | 226 | |
| 3BSE303SS | 200/230 | 3 | 19 | 56 | D | 10/4 | 233 | ||||
| 3BSE304SS | 460 | 3 | 9 | 28 | D | 10/4 | 233 |
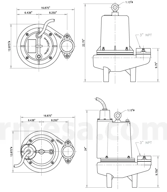
Dimensions
Recommendations and Warnings
Receiving inspection
Upon receiving the pump, it should be inspected for damage or shortages. If damage has occurred, file a claim immediately with the company that delivered the pump. If the manual is removed from the packaging, do not lose or misplace.
Storage
Any product that is stored for a period longer than six (6) months from the date of purchase should be bench tested prior to installation. A bench test consists of, checking the impeller to assure it is free turning and a run test to assure the motor (and switch if provided) operate properly.
Submergence
The pump should always be operated in the submerged condition. The minimum sump liquid level should never be less than above the pump’s volute (See Figure 1).
Installation
These pumps are recommended for use in a sump, basin or lift station. The sump, basin or lift station shall be sealed and vented in accordance with local plumbing codes. This pump is designed to pump sewage, effluent or wastewater, non-explosive and non-corrosive liquids and shall NOT be installed in locations classified as hazardous in accordance with the National Electrical Code (NEC) ANSI/NFPA 70 or Canadian Electric Code (CEC). The pump should never be installed in a trench, ditch, or hole with a dirt bottom. The legs will sink into the dirt and the suction will become plugged.in simplex or duplex stations or basins with a slide rail system (Barmesa SRC), which allows the pump(s) to be installed or removed without requiring personnel to enter the station, or resting on the basin floor.
Discharge Piping
Discharge piping should be as short as possible and sized no smaller than the pump discharge. Do not reduce the discharge pipe size below that which is provided on the pump. Both a check valve and a shut-off valve are recommended for each pump. The check valve is used to prevent backflow into the sump. The shut-off valve is used to manually stop system low during pump servicing.
Liquid Level Controls
The level control(s) should be mounted on the discharge piping, a cable rack or float pole. The level control should have adequate clearance so it cannot hang up in it’s swing and that the pump is completely submerged when the level control is in the “Off ” mode. By adjusting the cord tether the control level can be changed. One cycle of operation should be observed, so that any potential problems can be corrected. It is recommended that the level control float should be set to insure that the liquid in the sump never drops below the top of the motor housing or a minimum level of 10 inches above the basin floor.
Overload Protection
Single Phase – The stator in-winding overload protector used is referred to as an inherent overheating protector and operates on the combined effect of temperature and current. This means that the overload protector will trip out and shut the pump off if the windings become too hot, or the load current passing through them becomes too high.
IMPORTANT! – The overload will then automatically reset and start the pump up after the motor cools to a safe temperature. In the event of an overload, the source of this condition should be determined and corrected immediately.
WARNING DO NOT ALLOW THE PUMP TO CYCLE OR RUN IF AN OVERLOAD CONDITION OCCURS.
If current through the temperature sensor exceeds the values listed, an intermediate control circuit relay must be used to reduce the current or the sensor will not work properly.
| TEMPERATURE SENSOR ELECTRICAL RATINGS | ||
| Volts | Continuous Amperes | Inrush Amperes |
| 110-120 | 3.00 | 30.0 |
| 220-240 | 1.50 | 15.0 |
| 440-480 | 0.75 | 7.5 |
| 600 | 0.60 | 6.0 |
Wire Size
If longer power cable is required consult a qualified electrician for proper wire size.
Pre-Operation
- Check Voltage and Phase -Compare the voltage and phase information stamped on the pump name plate.
- Check Pump Rotation – Improper motor rotation can result in poor pump performance and can damage the motor and/or pump. Check rotation on three phase units by momentarily applying power and observe the “kickback”.

- Kickback should always be in a counter-clockwise direction as viewed from motor end or opposite to impeller rotation. Impeller rotation is counter-clockwise as viewed from bottom of pump.
Name Plate – Record the information from the pump name. - Pump-Down Test – Be sure pump has been properly wired, lowered into the basin, sump or lift station, check the system by filling with liquid and allowing the pump to operate through its pumping cycle. The time needed to empty the system, or pump-down time along with the volume of water, should be recorded.
Maintenance
No lubrication or maintenance is required. Perform the following checks when pump is removed from operation or when pump performance deteriorates:
- Inspect motor chamber for oil level and contamination.
- Inspect impeller and body for excessive build-up or clogging.
- Inspect motor, bearings and shaft seal for wear or leakage.
Servicing
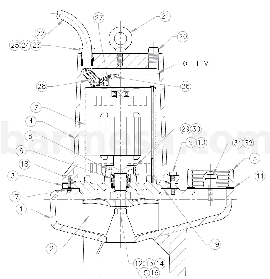
NOTE: Item numbers in ( ) refer to Figures 6 through 13. Cooling Oil – Anytime the pump is removed from operation, the cooling oil in the motor housing should be checked visually for oil level and contamination. To check oil, set unit upright. Remove pipe plug (20) from housing (4). With a flashlight, visually inspect the oil in the housing (4) to make sure it is clean and clear, light amber in color and free.
Pressure Test (If oil has been drained)
Remove pipe plug (20) from housing (4). Apply pipe sealant to pressure gauge assembly and tighten into hole. Pressurize motor housing to 10 P.S.I. Use soap solution around the sealed areas and inspect joints for “air bubbles”. If, after five minutes, the pressure is still holding constant, and no “bubbles” are observed, slowly bleed the pressure and remove the gauge assembly. Replace oil. Leek must be located and repaired if pressure does not hold.
Pressure Test (If oil has NOT been drained) – Oil should be at normal level. Remove pipe plug (20) from housing (4). Apply pipe sealant to pressure gauge assembly and tighten into hole. Pressurize motor housing to 10 PSI. Use soap solution around the sealed areas above the oil level and inspect joints for “air bubbles”. For sealed areas below oil level, leeks will seep oil. If, after five minutes, the pressure is still holding constant, and no “bubbles”, oil seepage is observed, slowly bleed the pressure and remove the gauge assembly. Replace oil. Leek must be located and repaired if pressure does not hold.Pressure builds up extremely fast, increase pressure by “TAPPING” air nozzle. Too much pressure will damage seal. DO NOT exceed 10 PSI.
Oil Replacement – Set unit upright and refill with new cooling oil as per table below. Fill to just above motor, but below capacitor as an air space must remain in the top of the housing to compensate for oil expansion. Apply pipe thread compound to threads of pipe plug (20) then assemble to housing (4).
| Cooling Oil Recommended Supplier/Grade | |
| BP | Enerpar SE100 |
| Conoco | Pale Parafin 22 |
| Mobile | D.T.E. Oil Light |
| Shell Canada | Transformer-10 |
| Texaco | Diala-Oil-AX |
Disassembly Impeller and Volute
- Disconnect power.
- Remove hex nuts (9), vertically lift motor housing and seal plate assembly from volute (1). Clean out volute if necessary.
- Inspect o-ring (19) and replace if cut or damaged.
- Clean and examine impeller (2), for cracks or breakage and replace if required. To remove impeller (2), remove impeller nut (12) and washer (13). With a wheel puller, pull impeller straight of shaft and remove key (14).
- Remove washer (15) and v-gasket (16) and remove if damaged.
- Power Cord – 3BSE-SS (1.5 – 2 HP, 3 PH)
- Remove gland nut (23), friction ring (24), grommet (25) and friction ring (24) from motor housing (4). Pull cord through and disconnect the wires from the terminals (28).
- Power Cord – 3BSE-SS (1.5 – 2 HP, 1 PH) and 3BSE-SS (3 HP) 7. Remove cap screws (36) and washers (37), lift conduit box and cable assy (33) from motor housing (4). Disconnect the wires from the terminals (28). Remove o-ring (35) replace if damaged.
- On Single Phase units only. Check motor capacitor (34) with an Ohm meter by first grounding the capacitor by placing a screwdriver across both terminals and then removing screwdriver. Connect Ohm meter (set on high scale) to terminals. If needle moves to infinity (∞) then drifts back, the capacitor is good. If needle does not move or moves to infinity (∞) and does not drift back, replace capacitor (34).
- Inspect motor winding for shorts and check resistance values. Check rotor for wear. If rotor or the stator windings are defective, the complete motor must be replaced.
- Shaft Seal:
- Unscrew conduit bushing (29) from seal plate (3) and lift motor rotor, shaft, bearing (8), rotating member of seal (6), washer (30) and conduit bushing
- from seal plate (3). See Figure 3.
- Remove seal parts (6) from shaft. Examine all seal parts, if seal faces show signs of wear, uneven wear pattern, chips or scratches replace entire seal.
- DO NOT interchange seal components, replace the entire shaft seal (6). If replacing seal, remove stationary from seal plate (3) by prying out with flat screwdriver.
- To reassemble, clean seal cavity in seal plate (3) and oil.
- Press seal’s (6) stationary member firmly into seal plate (3), use a seal tool or pipe. Nothing should come in contact with the seal face except the seal tool. Be sure the stationary is in straight.
- Place conduit bushing (29) and washer (30) onto shaft. Press lower bearing (8) onto shaft.
- Place seal’s (6) retaining ring and spring onto shaft. Lightly oil (Do not use grease) shaft and inner surface of bellows.
- With lapped surface of rotating member facing outward, slide over shaft using a seal tool, being carefull not to damage seal face.
- Make sure until bearing seats into seal plate and tighten conduit bushing (29) into seal plate (3). Place stator over rotor, lining up motor bolts with holes in seal plate (3). Insert motor bolts and torque to 17 inch pounds.

- On Single phase units, connect capacitor (34) to motor wires. See Figure 5.
- On models 3BSE-SS (1.5 – 2 HP, 3 Ph), Place gland nut (23), one friction ring (24), grommet (25) and one friction ring (24) onto cord (22) and slide cord through hole in motor housing (4) (See Figure 4). Make wire connections per Figure 5.
- On models 3BSE-SS (1.5 – 2 HP, 1 Ph) and 3BSE-SS (3 HP), place all motor leads above motor. Place o-ring
- Install impeller (2) by appling a thin film of oil to motor shaft and slide impeller straight onto shaft, keeping keyways lined up. Drive key (14) into keyway.
- Place washer (13) and impeller nut (12) onto shaft and torque to 40 ft. lbs. Rotate impeller to check for binding.
- Place o-ring (19) onto volute (1).
- Lower motor housing and seal plate assembly onto volute (1). Apply thread locking compound to studs (9) and place hex nuts (10) onto studs and torque to 24 ft. lbs.
- Models – 3BSE-SS (1.5 – 2 HP, 1 Ph) and 3BSE-SS (3 HP)
- Pull wires through large opening in motor housing (4) and connect wires with cord (22) in Conduit box (33) per schematic in Figure 5.
- Refill with cooling oil and place o-ring (35) and conduit box (33) onto motor housing (4). Place cap screws (36) and washers (37) through conduit box into motor housing and tighten to 16 ft. lbs.

THREE-PHASE 208/230V AC
Cable Assembly
18. For ALL Models – Check power cord (22) for cracks or damage and replace if required. Insert one friction ring (24), grommet (25), one friction ring (24), and gland nut (23) into motor housing (4) or conduit box and cable assembly (33) and torque gland nut (23) to 15 ft. lbs. On models 3BSE-SS (1.5 – 2 HP, 1 Ph) and 3BSE-SS (3 HP), refill with cooling oil and replace pipe plug (20).
Repair Parts
For repair part please supply: Model Number and Serial as shown on Name Plate, and Part Description and Part Number as shown on Parts List.
| ITEM | QTY. | DESCRIPTION | PART No. | |
| 1 | 1 | Volute | 03090034 | |
| 2 | 1 | ■ | Impeller 6.25″Ø (For 3BSE-153 & 154) | 03140029B |
| Impeller 7.00″Ø (For 3BSE-203 & 204) | 03140029 | |||
| 3 | 1 | Seal Plate | 03180012 | |
| 4 | 1 | Motor Housing | 03100002 | |
| 5 | 1 | Discharge Flange | 03060014 | |
| 6 | 1 | ▲ | Shaft Seal – Silicon Carbide | 31030152 |
| 7 | 1 | ■ | Motor 2 hp, 230/460 V, 3 ph | 40040005 |
| 8 | 1 | ▲ | Ball Bearing | 31020010 |
| 9 | 4 | ♦ | Stud 3/8″-16UNC x 2″ lg. SS # 33824 | 91010374 |
| 10 | 4 | ♦ | Hex Nut 3/8″-16UNC SS # 18927 | 91010433 |
| 11 | 1 | ▲ | Discharge Gasket | 92010125 |
| 12 | 1 | ▲ | Impeller Nut 5/8″-18UNF, SS # 38132 | 91010442 |
| 13 | 1 | ▲ | Washer 5/8″ SS # 70320 | 91010063 |
| 14 | 1 | ▲ | Shaft Key | 91010111 |
| 15 | 1 | ▲ | Washer Impeller # 62641 | 91010051 |
| 16 | 1 | ▲ | V-Gasket # 61829 | 92010112 |
| 17 | 2 | ♦ | Socket Head Cap Screw ¼”-20UNC x 1″ lg. SS | 91010392 |
| 18 | 1 | ▲ | Gasket Housing – Seal Plate # 33730 | 92010083 |
| 19 | 1 | ▲ | Gasket Volute – Seal Plate # 27269 | 92010082 |
| 20 | 1 | ♦ | Pipe Plug ¾” NPT | 93010148 |
| 21 | 1 | ♦ | Eye Bolt ½”-13UNC x 1.0″ lg. | 91010406 |
| – | 1 | ■ | Power Cable Assy. (*) Includes 22, 23, 24, & 25 | – |
| 22 | 1 | * | Power Cable, 25 Feet, 10/4 SOW | 31030003 |
| 23 | 1 | * | Hex Head Plug | 30400903 |
| 24 | 2 | * | Friction Ring # 54746 | 91010055 |
| 25 | 1 | * | Grommet # 514 | 92010001 |
| 26 | Wire Connector # 1921 | 94010012 | ||
| 1 | For 3BSE-153 & 3BSE-203 | – | ||
| 3 | For 3BSE-154 & 3BSE-204 | – | ||
| 27 | 1 | ♦ | Eye terminal 3/16″ | 94010043 |
| 28 | 3 | Terminal Connector | 94010027 | |
| 29 | 1 | ▲ | Conduit Bushing # 53749 | 31190021 |
| 30 | 1 | ▲ | Washer Bushing # 53756 | 91010054 |
| 31 | 2 | ♦ | Screw ½”-13UNC x 1¾” lg., SS | 91010364 |
| 32 | 2 | ♦ | Lockwasher ½” SS | 91010062 |
| 38 | 6 | Female Connector | 94010041 | |
| 39 | 1.50 gal. | ♦ | Oil Motor Housing | 31010031 |
For repair part please supply: Model Number and Serial as shown on Name Plate, and Part Description and Part Number as shown on Parts List.
| ITEM | QTY. | DESCRIPTION | PART No. | |
| 1 | 1 | Volute | 03090034 | |
| 2 | 1 | ■ | Impeller 6.25″Ø (For 3BSE-152) | 03140029B |
| Impeller 7.00″Ø (For 3BSE-202) | 03140029 | |||
| Impeller 7.50″Ø (For 3BSE-302) | 03140093 | |||
| 3 | 1 | Seal Plate | 03180012 | |
| 4 | 1 | Motor Housing | 03100009 | |
| 5 | 1 | Discharge Flange | 03060014 | |
| 6 | 1 | ▲ | Shaft Seal – Silicon Carbide | 31030152 |
| 7 | 1 | ■ | Motor 3hp, 230 V, 1 ph | 40040061 |
| 8 | 1 | ▲ | Ball Bearing | 31020010 |
| 9 | 4 | ♦ | Stud 3/8″-16UNC x 2″ lg. SS # 33824 | 91010374 |
| 10 | 4 | ♦ | Hex Nut 3/8″-16UNC SS # 18927 | 91010433 |
| 11 | 1 | ▲ | Discharge Gasket | 92010125 |
| 12 | 1 | ▲ | Impeller Nut 5/8″-18UNF, SS # 38132 | 91010442 |
| 13 | 1 | ▲ | Washer 5/8″ SS # 70320 | 91010063 |
| 14 | 1 | ▲ | Shaft Key | 91010111 |
| 15 | 1 | ▲ | Washer Impeller # 62641 | 91010051 |
| 16 | 1 | ▲ | V-Gasket # 61829 | 92010112 |
| 17 | 2 | ♦ | Socket Head Cap Screw ¼”-20UNC x 1″ lg. SS | 91010392 |
| 18 | 1 | ▲ | Gasket Housing – Seal Plate # 33730 | 92010083 |
| 19 | 1 | ▲ | Gasket Volute – Seal Plate # 27269 | 92010082 |
| 20 | 1 | ♦ | Pipe Plug ½” NPT | 93010150 |
| 21 | 1 | ♦ | Eye Bolt ½”-13UNC x 1.0″ lg. | 91010406 |
| – | 1 | ■ | Conduit Box & Cable Assembly (*) | – |
| Includes: 22, 23, 24, 25, 27 & 33 | ||||
| 22 | 1 | * | Power Cable, 25 Feet, 10/3 SOW | 31030007 |
| 23 | 1 | * | Hex Head Plug | 30400902 |
| 24 | 2 | * | Friction Ring # 51450 | 91010056 |
| 25 | 1 | * | Grommet # 51451 | 92010007 |
| 26 | 2 | Wire connector | 94010011 | |
| 27 | 1 | ♦ | Eye terminal 3/16″ | 94010043 |
| 28 | 2 | Terminal Connector | 94010027 | |
| 29 | 1 | ▲ | Conduit Bushing # 53749 | 31190021 |
| 30 | 1 | ▲ | Washer Bushing # 53756 | 91010054 |
| 31 | 2 | ♦ | Screw ½”-13UNC x 1¾” lg., SS | 91010364 |
| 32 | 2 | ♦ | Lockwasher ½” SS | 91010062 |
| 33 | 1 | Conduit box & Cable Assembly | 03100010 | |
| 34 | 1 | Capacitor 45MFD 370V | 31030038 | |
| 35 | 1 | O-Ring | 92010063 | |
| 36 | 4 | Cap screw ¼”-20UNC x 1.00″ lg. SS | 91010342 | |
| 37 | 4 | Lockwasher ¼” SS | 91010066 | |
| 38 | 4 | Female Connector | 94010041 | |
| 39 | 1.85 gal. | ♦ | Oil Motor Housing | 31010031 |
| 40 | 1 | Pan Head Screw 6-32 x 3/8″ lg. | 91010408 | |
For repair part please supply: Model Number and Serial as shown on Name Plate, and Part Description and Part Number as shown on Parts List.
| ITEM | QTY. | DESCRIPTION | PART No. | |
| 1 | 1 | Volute | 03090034 | |
| 2 | 1 | ■ | Impeller 7.50″Ø (For 3BSE-303 & 304) | 03140093 |
| 3 | 1 | Seal Plate | 03180012 | |
| 4 | 1 | Motor Housing | 03100009 | |
| 5 | 1 | Discharge Flange | 03060014 | |
| 6 | 1 | ▲ | Shaft Seal – Silicon Carbide | 31030152 |
| 7 | 1 | ■ | Motor 3hp, 230/460 V, 3 ph | 40040006 |
| 8 | 1 | ▲ | Ball Bearing | 31020010 |
| 9 | 4 | ♦ | Stud 3/8″-16UNC x 2″ lg. SS # 33824 | 91010374 |
| 10 | 4 | ♦ | Hex Nut 3/8″-16UNC SS # 18927 | 91010433 |
| 11 | 1 | ▲ | Discharge Gasket | 92010125 |
| 12 | 1 | ▲ | Impeller Nut 5/8″-18UNF, SS # 38132 | 91010442 |
| 13 | 1 | ▲ | Washer 5/8″ SS # 70320 | 91010063 |
| 14 | 1 | ▲ | Shaft Key | 91010111 |
| 15 | 1 | ▲ | Washer Impeller # 62641 | 91010051 |
| 16 | 1 | ▲ | V-Gasket # 61829 | 92010112 |
| 17 | 2 | ♦ | Socket Head Cap Screw ¼”-20UNC x 1″ lg. SS | 91010392 |
| 18 | 1 | ▲ | Gasket Housing – Seal Plate # 33730 | 92010083 |
| 19 | 1 | ▲ | Gasket Volute – Seal Plate # 27269 | 92010082 |
| 20 | 1 | ♦ | Pipe Plug ½” NPT | 93010150 |
| 21 | 1 | ♦ | Eye Bolt ½”-13UNC x 1.0″ lg. | 91010406 |
| – | 1 | ■ | Conduit Box & Cable Assembly (*) | ¿? |
| Includes: 22, 23, 24, 25, 27 & 33 | ||||
| 22 | 1 | * | Power Cable, 25 Feet, 10/4 SOW | 31030003 |
| 23 | 1 | * | Hex Head Plug | 30400903 |
| 24 | 2 | * | Friction Ring # 54746 | 91010055 |
| 25 | 1 | * | Grommet # 514 | 92010001 |
| 26 | Wire connector | 94010012 | ||
| 1 | For 3BSE-303 | – | ||
| 3 | For 3BSE-304 | – | ||
| 27 | 1 | ♦ | Eye terminal 3/16″ | 94010043 |
| 28 | 3 | Terminal Connector | 94010027 | |
| 29 | 1 | ▲ | Conduit Bushing # 53749 | 31190021 |
| 30 | 1 | ▲ | Washer Bushing # 53756 | 91010054 |
| 31 | 2 | ♦ | Screw ½”-13UNC x 1¾” lg., SS | 91010364 |
| 32 | 2 | ♦ | Lockwasher ½” SS | 91010062 |
| 33 | 1 | Conduit box & Cable Assembly | 03100010 | |
| 35 | 1 | O-Ring | 92010063 | |
| 36 | 4 | Cap screw ¼”-20UNC x 1.00″ lg. SS | 91010342 | |
| 37 | 4 | Lockwasher ¼” SS | 91010066 | |
| 38 | 6 | Female Connector | 94010041 | |
| 39 | 1.85 gal. | ♦ | Oil Motor Housing | 31010031 |
| 40 | 1 | Pan Head Screw 6-32 x 3/8″ lg. | 91010408 | |
For repair part please supply: Model Number and Serial as shown on Name Plate, and Part Description and Part Number as shown on Parts List.
Troubleshooting Chart
| Risk of electric shock. Always disconnect the pump from the power source before handling inspections or repairs. | ||
| Symptom | Possible Cause(s) | Corrective Action |
|
Pump will not run | 1. Poor electrical connection, blown fuse, tripped breaker or other interruption of power; improper power supply 2. Motor or switch inoperative (go to manual operation) 2a. Float movement restricted 2b. Switch will not activate pump or is defective 2c. Defective motor 3. Insufficient liquid level | 1. Check all electrical connections for security. Have electrician measure current in motor leads, if current is within ± 20% of locked rotor Amps, impeller is probably locked. If current is 0, overload may be tripped. Remove power, allow pump to cool, then re-check current. 2a. Reposition pump or clean basin as required to provide adaquate clearance for float 2b. Disconnect level control. Set ohmmeter for a low rang, such as 100 ohms full scale and connect to level control leads. Actuate level control manually and check to see that ohmmeter shows zero ohms for closed switch and full scale for open switch. (Float Switch) 2c. Check winding insulation (Megger Test) and winding resistance. If check is outside of range, dry and re-check. If still defective, replace per service instructions. 3. Make sure liquid level is above the pump 4. Re-check all sizing calculations to determine proper pump size. 5. Check discharge line for restrictions, including ice if line passes through or into cold areas. 6. Remove and examine check valve for proper .incstallation anod freedom of opmeration 7. Open valve 8. Check impeller for freedom of operation, security and condition. Clean impeller cavity and inlet of any obstruction 9. Loosen union slightly to allow trapped air to escape. Verify that turn-off level of switch is set so that the suction is always flooded. Clean vent hole 10. Check rotation. If power supply is three phase, reverse any two of three power supply leads to ensure proper impeller rotation 11. Repair fixtures as required to eliminate leakage 12. Check pump temperature limits and fluid temperature 13. Replace portion of discharge pipe with flexible connector or tighten existing piping. 14. Turn to automatic position 15. Check for leaks around basin inlet and outlets |
|
Pump will not turn off | 2a. Float movement restricted 2b. Switch will not activate pump or is defective 4. Excessive inflow or pump not properly sized for application 9. Pump may be air locked causing pump not to flow 14. H-O-A switch on panel is in “HAND” position | |
| Pump hums but doesn’t run | 1. Incorrect low voltage 8. Impeller jammed or loose on shaft, or inlet plugged | |
| Pump delivaers insufficientrcapacity m | 1. Incorrect low voltage 4. Excessive inflow or pump not properly sized for application 5. Discharge restricted 6. Check valve partially closed or installed backwards 7. Shute-off valve closedsa 8. Impeller jammed or loose on shaft, or inlet plugged 9. Pump may be air locked causing pump not to flow 10. Piping fixtures leaking or discharge before the nozzle | |
| Pump cycles too frequently or runs periodically when fixtures are not in use | 6. Check valve partially closed or installed backwards 11. Fixtures are leaking 15. Ground water entering basin | |
| Pump shuts off and turns on independent of switch, (trips thermal overload protector). CAUTION! Pump may start unexpectedly. Disconnect power supply. | 1. Incorrect low voltage 4. Excessive inflow or pump not properly sized for application 8. Impeller jammed or loose on shaft, or inlet plugged 12. Excessive water temperature (internal protection only) | |
|
Pump operates noisily or vibrates excessively | 2c. Worn bearings, motor shaft bent 5. Debris in impeller cavity or broken impeller 10. Pump running backwards 13. Piping attachments to building structure too loose or rigid | |
NOTE: Barmesa Pumps assumes no responsibility for damage or injury due to disassembly in the field. Disassembly of the pumps or supplied accessories other than at Barmesa Pumps or its authorized service centers, automatically voids warranty.
Warranty
Barmesa Pumps warrants that products of our manufacture will be free of defects in material and workmanship under normal use and service for 18 months from date of manufacture or 12 months from installation date whichever occurs first. This warranty gives you specific legal rights, which vary
from state to state. This warranty is a limited warranty, and no warranty related claims of any nature whatsoever shall be made against Barmesa Pumps, until the ultimate consumer or his/her successor notifies us in writing of the defect and deliver’> the product and/or defective parr(s) freight prepaid ro our factory or nearest authorized service station as instructed by Bannesa Pumps.
THERE SHAl..l.. BE NO FURTHERU/\8/UTY, WHEll-!ER BASED ON WARRANTY, NEGUCiENCE OR OTHERWISE. Pr<ODUCT SHALL RE EITHER REPLACED OR r<EPAIRED AT THE ELECTION OF BARMESA PUMPS.
Guarantees relating to performance specifications provided in addition to the foregoing material and workmanship warranties on a product manufactured by Barmesa Pumps, if any, are subject to possible factory testing. Any additional guarantees, in the nature of certified performance specifications or time
frame must be in writing and such writing must be signed by our authorized factory manager at t ime of order placement and/or at time of quotation. Due to inaccuracies in field testing and should a conflict arises between the results of field testing conducted by or for the user, Barmesa Pumps reserves the right to have the product returned to our factory for additional testing.
This warranty shall not apply when damage is caused by ( 1) improper installation, (2) improper voltage, /3) lightning, (4) excessive sand or other abrasive material, (5) corrosion build-up due to excessive chemical content or (6) uncontrollable acts of god. Any rnodific.?ltion of the original equipment will also void Lhe warranty. We will not be responsible for loss, damage or labor cost due to interruption of service caused by defective pumps, parts or systems. Barmesa Pumps will not accept charges incurred by others without our prior written approval.This warranty is void if our inspeclion reveals rhe product WclS used in a manner inconsistent with normal industry practice and/or our specific recommendations. The purchaser is responsible for communication of all necessary information regarding the application and use of the product.
UNDER NO CIRCUMSTANCES WILL WE BE RESPONSIBLE FOR ANY OTHER DIRECT OR CONSEQUENTIAL DAMAGES, INCLUDING BUT NOT LIMITED TO TRAVEL EXPENSES, CONTRACTOR FEES, UNAUTHORIZED REPAIR SHOP EXPENSES, LOST PROFITS, LOST INCOME, LABOR CHARGES, DELAYS IN PRODUCTION, IDLE PRODUCTION, WHICH DAMAGES Af<E CAUSED BY ANY DEFECTS IN MATERIAL AND/OR WORKMANSHIP AND/OR DAMAGE OR DELAYS IN SHIPMENT. THIS WAl?RANTY IS EXPRESSLY IN UEU OF ANY OTHEI< EXPRESS OR IMPLIED WARRANTY.
No rights extended under this warranty shall be assigned to any other person, whether by operation of law or otherwise, without our prior written approval.
IMPORTANT!
If you have a claim under Hie provision of tt1e warranty, contact Barmesa Pumps or your authorized Barmesa Pumps Distributor: [email protected]
www.barmesapumps.com
Barmesa Pumps 3BSE-SS Series Submersible Solids Handling Pumps






















