Pumps 4BSE504SS Submersible
Solids Handling Pumps
3 & 5 HP @ 1750 RPM
User Manual
Submersible Solids Handling Pumps
IMPORTANT! – Read all instructions in this manual before operating or servicing a pump.
General Safety Information
Before installation, read the following instructions carefully. Failure to follow instructions and safety information could cause serious bodily injury, death, and/or property damage. Each Barmesa product is carefully inspected to ensure proper performance. Closely following these instructions will eliminate potential operating problems, assuring years of trouble-free service.
DANGER
“Danger” indicates an imminently hazardous situation that, if not avoided, WILL result in death or serious injury.
WARNING
“Warning” indicates an imminently hazardous situation that, if not avoided, MAY result in death or serious injury.
CAUTION
“Caution” indicates a potentially hazardous situation which, if not avoided, MAY result in minor or moderate injury
IMPORTANT! – Barmesa Pumps is not responsible for losses, injury, or death resulting from failure to observe these safety precautions, misuse, abuse or misapplication of pumps or equipment.
ALL RETURNED PRODUCTS MUST BE CLEANED, SANITIZED, OR DECONTAMINATED PRIOR TO SHIPMENT, TO ENSURE EMPLOYEES WILL NOT BE EXPOSED TO HEALTH HAZARDS IN HANDLING SAID MATERIAL. ALL APPLICABLE LAWS AND
WARNING
Installation, wiring, and junction connections must be in accordance with the National Electric Code and all applicable state and local codes. Requirements may vary depending on usage and location.
WARNING
Installation servicing is to be conducted by qualified personnel only.
Keep clear of suction and discharge openings. Do not insert fingers in the pump with power connected; the rotating cutter and/or impeller can cause serious injury.
Always wear eye protection when working on pumps. Do not wear loose clothing that may become entangled in moving parts.
DANGER
Pumps build up heat and pressure during operation. Allow time for pumps to cool before handling or servicing the pump or any accessory items associated with or near the pump.
DANGER
This pump is not intended for use in swimming pools or water installations where there is human contact with the pumped fluid.
DANGER
Risk of electric shock. To reduce the risk of electric shock, always disconnect the pump from the power source before handling any aspect of the pumping system. Lock out power and tag.
WARNING‘
Do not use these pumps in water over 104° F. Do not exceed the manufacturer’s recommended maximum performance, as this could cause the motor to overheat.
DANGER
Do not lift, carry or hang the pump by the electrical cables. Damage to the electrical cables can cause shock, burns, or death. Never handle connected power cords with wet hands. Use the appropriate lifting devices.
WARNING
Ground Fault Circuit Interrupter (GFCI) to be used with plug-in type power cord.
WARNING
Sumpandsewage pumps often handle materials that could cause illness or disease. Wear adequate protective clothing when working on a used pump or piping.
Never enter a basin after it has been used.
DANGER
Failure to permanently ground the pump, motor, and controls before connecting to power can cause shock, burns, or death.
DANGER
These pumps are not to be installed in locations classified as hazardous in accordance with the National Electric Code, ANSI/NFPA 70.
WARNING‘
The Uniform Plumbing Code (UPC) states that sewage systems shall have an audio and visual alarm that signals a malfunction of the systems, which is required to reduce the potential for property damage.
IMPORTANT! – Prior to installation, record the Model Number, Serial, amp, Voltage, Phase, and HP from the pump nameplate for future reference. Also, record the Voltage and Current Readings at Startup:
| 1 Phase Models | ||
| Amps: | I Volts: | |
| 3 Phase Models | ||
| Amps L1-2: | Volts L1-2: | |
| Amps L2-3: | Volts L2-3: | |
| Amps L3-1: | Volts L3-1: | |
Model Number: _____________________
Serial: ____________
PHASE: ______ HP: __________________
Specifications & Dimensions
| DISCHARGE: | 4″, 125lb, flange horizontal. |
| SPHERICAL SLD HNDLG: | 3″ |
| LIQUID TEMPERATURE: | 104° F (40° C) max. |
| VOLUTE: | Cast iron ASTM A-48 class 30. |
| MOTOR HOUSING: | Cast iron ASTM A-48 class 30. |
| SEAL PLATE: | Cast iron ASTM A-48 class 30. |
| IMPELLER: | 2 vane, open, with vanes on the back side. Cast iron ASTM A-48 class 30. |
| SHAFT: | 416 series stainless steel. |
| SQUARE RINGS: | Buna-N. |
| PAINT: | Air dry enamel, water-based. |
| SEAL: | Inboard single mechanical, oil-filled chamber. Silicon carbide, Buna-N elastomer, and stainless steel hardware. |
| HARDWARE: | 300 series stainless steel. |
| CORD ENTRY: | 40 ft of neoprene cord SJO 14/3, sealed against moisture. |
| UPPER BEARING: | Ball, single row, oil lubricated, for the radial load. |
| LOWER BEARING: | Ball, single row, oil lubricated, for radial and thrust load. |
| MOTOR: | Single phase: NEMA L, permanent split capacitor, oil filled, with overload protection in the motor.Three phases: NEMA B, oil filled. Requires overload protection to be included in the control panel |
| OPTIONAL EQUIPMENT: | Additional cord, slide rail coupling (SRC-4) |
| MODEL | HP | VOLTS | PHASE | RPM (Nominal) | MAX AMPS | LOCKED ROTOR AMP SI | NAME CODE | CORD SIZE | CORD TYPE | CORD O.D. | WEIGHT (pounds) |
| 48SE 302SS | 3 | 200/230 | 1 | 1750 | 19. | 23 | D | 10/4 | SO | 0.75″ | 201 |
| 485E 303SS | 3 | 208/230 | 3 | 1750 | 15 | 44 | D | 10/4 | SO | 0.75′ | 201 |
| 485E3045S | 3 | 460 | 3 | 1750 | 8. | 22 | D | 10/4 | SO | 0.75″ | 201 |
| 485E50255 | 5 | 200/230 | 1 | 1750 | 28 | 56 | D | 10/4 | SO | 0.75′ | 201 |
| 48SE503SS | 5 | 208/230 | 3 | 1750 | 19 | 56 | D | 10/4 | SO | 0.75″ | 201 |
| 485E50455 | 5 | 460 | 3 | 1750 | 10. | 28 | D | 10/4 | so | 0.75′ | 201 |

Recommendations and Warnings
- Receiving inspection
Upon receiving the pump, it should be inspected for damage or shortages. If damage has occurred, file a claim immediately with the company that delivered the pump. If the manual is removed from the packaging, do not lose or misplace it. - Storage
Any product that is stored for a period longer than six (6) months from the date of purchase should be bench-tested prior to installation. A bench test consists of, checking the impeller to assure it is free turning and a run test to assure the motor (and switch if provided) operates properly. - Controls
Manual models require a separate approved pump control device or panel for automatic operation. Be sure the electrical specification of the control selected properly match the electrical specifications of the pump. - Submergence
The pump should always be operated in the submerged condition. The minimum sump liquid level should never be less than above the pump’s volute (See Figure 1).
- Installation
These pumps are recommended for use in a sump, basin, or lift station. The sump, basin, or lift station shall be sealed and vented in accordance with local plumbing codes. This pump Is designed to pump sewage, effluent or wastewater, and non-explosive and non-corrosive liquids and shall NOT be installed in locations classified as hazardous in accordance with the National Electrical Code (NEC) ANSI/NFPA 70 or Canadian Electric Code (CEC). The pump should never be installed in a trench, ditch, or hole with a dirt bottom. The legs will sink into the dirt and the suction will become plugged.
The installation should be at a sufficient depth to ensure that all plumbing is below the frost line. If this is not feasible, remove the check valve and size the basin to accommodate the additional backflow volume.
Pumps are most commonly installed in simplex or duplex stations or basins with a slide rail system (Barmesa SRC), which allows the pump(s) to be installed or removed without requiring personnel to enter the station, or resting on the basin floor. - Discharge Piping
should be as short as possible and sized no smaller than the pump discharge. Do not reduce the discharge pipe size below that which is provided on the pump. Both a check valve and a shut-off valve are recommended for each pump. The check valve is used to prevent backflow into the sump. The shut-off valve is used to manually stop the system low during pump servicing. - Liquid Level Controls
The level control(s) should be mounted on the discharge piping, a cable rack, or a floating pole. The level control should have adequate clearance so it cannot hang up in its swing and that the pump is completely submerged when the level control is in the ‘Off’ mode. By adjusting the cord tether the control level can be changed. One cycle of operation should be observed so that any potential problems can be corrected.
It is recommended that the level control float should be set to ensure that the liquid in the sump never drops below the top of the motor housing or a minimum level of 10 inches above the basin floor. - Electrical Connections Power cable:
The power cable mounted to the pump must not be modified in any way except for shortening to a specific application. Any splice between the pump and the control panel must be made in accordance with the electric codes. It is recommended that a junction box if used, be mounted outside the sump or be off at a minimum NEMA 4 construction if located within the wet well. DO NOT USE THE POWER CABLE TO LIFT THE PUMP.
Always rely upon a Certified Electrician for installation.
Overload Protection:
Single Phase – The stator in-winding overload protector used is referred to as an inherent overheating protector and operates on the combined effect of temperature and current. This means that the overload protector will trip out and shut the pump off the windings become too hot, or the load current passing through them becomes too high.
Installation
IMPORTANT! – The overload will then automatically reset and start the pump up after the motor cools to a safe temperature. In the event of an overload, the source of this condition should be determined and corrected immediately.
WARNING‘
DO NOT ALLOW THE PUMP TO CYCLE OR RUN IF AN OVERLOAD CONDITION OCCURS.
If the current through the temperature sensor exceeds the values listed, an intermediate control circuit relay must be used to reduce the current or the sensor will not work properly.
| TEMPERATURE SENSOR ELECTRICAL RATINGS | ||
| Volts | Continuous Amperes | Inrush Amperes |
| 110-120 | 3.00 | 30.0 |
| 220-240 | 1.50 | 15.0 |
| 440-480 | 0.75 | 8. |
| 600 | 0.60 | 6.0 |
Wire Size:
If a longer power cable is required consult a qualified electrician for the proper wire size.
Pre-Operation
- Check Voltage and Phase -Compare the voltage and phase information stamped on the pump nameplate.
- Check Pump Rotation – Improper motor rotation can result in poor pump performance and can damage the motor and/or pump. Check rotation on three-phase units by momentarily applying power and observing the ‘kickback”.
Kickback should always be in a counter-clockwise direction as viewed from the motor end or opposite to impeller rotation. Impeller rotation is counter-clockwise as viewed from the bottom of the pump. - Name Plate – Record the information from the pump nameplate to the drawing in front of the manual for future reference.
- Insulation Test – An insulation (megger) test should be performed on the motor. Before the pump is put into service. The resistance values (ohms) as well as the voltage (volts) and current (amps) should be recorded.
- Pump-Down Test – Be sure the pump has been properly wired, and lowered into the basin, sump, or lift station, check the system by filling it with liquid and allowing the pump to operate through its pumping cycle. The time needed to empty the system, or pump-down time along with the volume of water, should be recorded.
Maintenance
No lubrication or maintenance is required. Perform the following checks when the pump is removed from an operation or when the pump performance deteriorates:
a) Inspect the motor chamber for oil level and contamination.
b) Inspect the impeller and body for excessive build-up or clogging.
c) Inspect motor, bearings, and shaft seal for wear or leakage.
Servicing
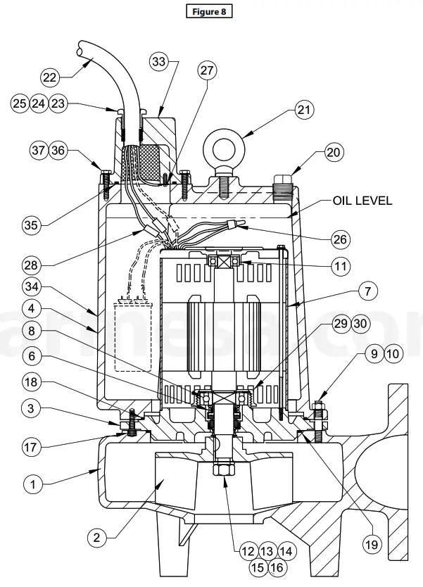
NOTE: Item numbers in ( ) refer to Figure 6.
Cooling Oil
– Anytime the pump is removed from operation, the cooling oil in the motor housing should be checked visually for oil level and contamination. To check the oil, set the unit upright. Remove pipe plug (20) from housing (4). With a flashlight, visually inspect the oil in the housing (4) to make sure it is clean and clear, light amber in color, and free from suspended particles. Milky white oil indicates the presence of water. The oil level should be just above the motor when the pump is in a vertical position.
Oil Testing
- Drain oil into a clean, dry container by placing the pump on its side and removing the pipe plug (20), from the housing
- Check the oil for contamination using an oil tester with a range of 30 kV breakdown.
- If oil is found to be clean and uncontaminated (measuring above 15 kV breakdown), refill the housing.
- If oil is found to be dirty or contaminated (or measures below 15 kV breakdown), the pump must be carefully inspected for leaks at the shaft seal, cable assembly, square ring, and pipe plug, before refilling with oil. To locate the leak, perform a pressure test.
After the leak is repaired, dispose of the old oil properly, and refill it with new oil.
Service
Pressure Test (If oil has been drained) – remove pipe plug (20) from housing (4). Apply pipe sealant to the pressure gauge assembly and tighten it into the hole. Pressurize motor housing to 10 PSI. Use soap solution around the sealed areas and inspect joints for “air bubbles”.
If, after five minutes, the pressure is still holding constant, and no “bubbles” are observed, slowly bleed the pressure and remove the gauge assembly. Replace oil. Leek must be located and repaired if the pressure does not hold.
Pressure Test (If oil has NOT been drained) – Oil should be at a normal level. Remove pipe plug (20) from housing (4). Apply pipe sealant to the pressure gauge assembly and tighten it into the hole. Pressurize motor housing to 10 PSI. Use soap solution around the sealed areas above the oil level and inspect joints for “air bubbles”. For sealed areas below the oil level, leeks will seep oil. If, after five minutes, the pressure is still holding constant, and no “bubbles “/oil seepage is observed, slowly bleed the pressure and remove the gauge assembly. Replace oil. Leek must be located and repaired if the pressure does not hold.
Pressure builds up extremely lost, increase pressure by °TAPPING’ air nozzle. Too much pressure will damage the sea/ DO NOT exceed 10 PSI.
Oil Replacement – Set the unit upright and refill it with new cooling oil as per the table below. Fill to just above the motor, but below the capacitor as an air space must remain in the top of the housing to compensate for oil expansion. Apply pipe thread compound to threads of pipe plug (20) then assemble to housing (14).
DO NOT overfill oil. Overfilling of housing with oil can create excessive and dangerous hydraulic pressure which can destroy the pump and create a hazard. Overfilling oil voids warranty.
| Cooling Oil Recommended Supplier/Grade | |
| 8P | Enerpac SE100 |
| Conoco | Pale Parafin 22 |
| Mobile | D.T.E. Oil Light |
| Shell Canada | Transformer-10 |
| Texaco | Diala-Oil-AX |
Disassembly
Impeller and Volute:
- Disconnect power.
- Remove hex nuts (9), vertically lift motor housing, and seal plate assembly from volute (1). Clean out the volute if necessary.
- Inspect the o-ring (19) and replace it if cut or damaged.
- Clean and examine impeller (2), for cracks or breakage and replace if required. To remove impeller (2), remove impeller nut (12) and washer (13). With a wheel puller, pull the impeller straight off the shaft and remove the key (14).
- Remove the washer (15) and v-gasket (16) and remove them if damaged.
- Remove cap screws (36) and washers (37), lift conduit box, and cable assy (33) from motor housing (4). Disconnect the wires from the terminals (28). Remove O-ring (35) and replace it if damaged.
Motor and Capacitor: - Remove screws (17) and lift motor housing (4) from seal plate (3).
- Remove the O-ring (18), and replace it if damaged.
- Remove motor bolts, and lift the motor stator assembly from the seal plate (3).
- On single-phase units only, check the motor capacitor (34) with an Ohm meter by first grounding the capacitor by placing a screwdriver across both terminals and then removing the screwdriver. Connect the Ohm meter (set on a high scale) to terminals. If the needle moves to infinity (-3) and then drifts back, the capacitor is good. If the needle does not move or moves to infinity (-3) and does not drift back, replace capacitor (34).
- Inspect motor winding for shorts and check resistance values. Check the rotor for wear. If the rotor or the stator windings are defective, the complete motor must be replaced.
Shaft Seal: - Unscrew conduit bushing (29) from seal plate (3) and lift motor rotor, shaft, bearing (8), a rotating member of seal (6), washer (30), and conduit bushing (29) from seal plate (3). See Figure 3.
- Remove seal parts (6) from the shaft. Examine all seal parts, if seal faces show signs of wear, uneven wear pattern, chips or scratches replace the entire seal. DO NOT interchange seal components, replace the entire shaft seal (6). If replacing the seal, remove stationary from the seal plate (3) by prying it out with a flat screwdriver.
Reassembly
IMPORTANT! – All parts must be cleaned before reassembly. Handle seal parts with extreme care. DO NOT damage lapped surfaces.
Shaft Seal:
- To reassemble, and clean the seal cavity in the seal plate (3) and oil.
- Press the seal’s (6) stationary member firmly into the seal plate (3), and use a seal tool or pipe. Nothing should come in contact with the seal face except the seal tool. Be sure the stationary is straight.
- Place conduit bushing (29) and washer (30) onto the shaft. Press the lower bearing (8) onto the shaft.
- Place the seal’s (6) retaining ring and spring onto the shaft. Lightly oil (Do not use grease) shaft and the inner surface of the bellows.
- With a lapped surface of the rotating member facing outward, slide over the shaft using a seal tool, being careful not to damage the seal face. Make sure the spring is seated in the retaining ring and the spring is lined up on the rotating member and not cocked or resting on the bellows tail.
Bearing and Motor: - Slide rotor/shaft with bearing (8) and seal parts (6) into seal plate (3) until bearing seats into seal plate and tighten conduit bushing (29) into seal plate (3). Place the stator over the rotor, lining up motor bolts with holes in the seal plate (3). Insert motor bolts and torque to 17-inch pounds.
- On single-phase units, connect the capacitor (34) to motor wires. See Figure 5.
- Place all motor leads above the motor. Place o-ring (18) on seal plate (3) and lower motor housing (4) onto seal plate (3).
- Place socket head screws (17) through the seal plate into the motor housing and torque to 60-inch pounds.
Impeller and Volute: - Install v-gasket (16) and impeller washer (15) over the shaft, and into the seal plate (3).
- Install impeller (2) by applying a thin film of oil to the motor shaft and sliding the impeller straight onto the shaft, keeping keyways lined up. Drive key (14) into the keyway.
- Place washer
- and impeller nut (12) onto the shaft and torque to 40 ft/lbs. Rotate the impeller to check for binding.
- Place o-ring (19) onto volute (1).
- Lower motor housing and seal plate assembly onto volute (1). Apply thread locking compound to studs (9) and place hex nuts (4) onto studs and torque to 24 ft/lbs.
- Pull wires through a large opening in the motor housing (4) and conned wires with cord (22) in the Conduit box (33) per the schematic in Figure 5.
- Refill with cooling oil and place the O-ring (35) and conduit box (33) onto the motor housing (4). Place cap screws (36) and washers (37) through the conduit box into the motor housing and tighten to 16 ft-lbs.
Cable Assembly: - Check the power cord (22) for cracks or damage and replace if required. Insert one friction ring (24), grommet (25), one friction ring (24), and gland nut (23) into motor housing (4) or conduit box and cable assembly (33) and torque gland nut (23) to 15 ft-lbs.


IMPORTANT! – Wire colors may vary. Use an identification tag on each lead.
Repair Parts


Parts List
| ITEM | QTY | DESCRIPTION | PART No. | 4BSE302SS | 4BSE303SS | 4BSE304SS | 4BSE502SS | 4BSE503SS | 4BSE504SS |
| 1 | 1 | VOLUTE | 3090080 | ||||||
| 2 | 1 | IMPELLER 7″ | 3140077 | x | x | x | |||
| 1 | IMPELLER 61/2″ | 03140077B | x | x | x | ||||
| 3 | 1 | SEAL PLATE | 3180012 | ||||||
| 4 | 1 | MOTOR HOUSING | 3100009 | ||||||
| 6 | 1 | MECHANICAL SEAL | 31030152 | ||||||
| 7 | 1 | MOTOR 3& 5 HP, THREE PHASE, 208/230 & 460 | 40040006 | x | x | x | x | ||
| 1 | MOTOR 3 & 5 HP, SINGLE PHASE, 200/230 | 40040061 | x | x | |||||
| 8 | 1 | BEARING | 31020010 | ||||||
| 9 | 4 | STUD 3/8″ x 2″ #33824 | 91010374 | ||||||
| 10 | 4 | LOC KWASHER 3/8″ #35792 | 91010061 | x | x | x | x | ||
| 4 | HEX NUT 3/8″ #18927 | 91010433 | |||||||
| 12 | 1 | IMPELLER NUT 5/8″, STAINLESS | 91010442 | ||||||
| 13 | 1 | WASHER 5/8″, STAINLESS #70320 | 91010063 | ||||||
| 14 | 1 | SHAFT KEY | 91010111 | ||||||
| 15 | 1 | IMPELLER WASHER #62641 | 91010051 | ||||||
| 16 | 1 | V—GASKET #61829 | 92010112 | ||||||
| 17 | 2 | SOCKET SCREW 1/4″ x 1. 203, STAINLESS #18923 | 91010392 | ||||||
| 18 | 1 | GASKET HOUSING—SEAL PLATE #33730 | 92010083 | ||||||
| 19 | 1 | GASKET VOLUTE—SEAL PLATE #27269 | 92010082 | ||||||
| 20 | 1 | PIPE PLUG 1/2″ | 93010142 | ||||||
| 21 | 1 | C RANK #27271 | 91010406 | ||||||
| 22 | 40 ft | POWER CABLE 4×10″ //34856 | 31030003 | x | x | x | x | ||
| 40 ft | POWER CAB LE 3×10″ #34855 | 31030007 | x | x | |||||
| 23 | 1 | GLAND NUT 4×12 | 30400902 | x | x | ||||
| 1 | GLAND NUT 4×10 | 30400903 | x | x | x | x | |||
| 24 | 2 | RETAINING RING #54746 4×10 | 91010055 | x | x | x | x | ||
| 2 | RETAINING RING #51450 4×12 | 91010056 | x | x | |||||
| 25 | 1 | GROMMET 4X10 | 92010001 | x | x | x | x | ||
| 1 | GROMMET 3X10 | 92010007 | x | x | |||||
| 26 | 1 | NYLON CAP #1921 | 94010012 | x | x | ||||
| 3 | NYLON CAP #1921 | 94010012 | x | x | |||||
| 27 | 1 | EYE TERMINAL 3/16″ | 94010043 | ||||||
| 28 | 2 | TERMINAL CONNECTOR 12/10 | 94010027 | ||||||
| 29 | 1 | CONDUIT BUSHING #53749 | 31190021 | ||||||
| 30 | 1 | WASHER BUSHING #53756 | 91010054 | ||||||
| 33 | 1 | CONDUIT BOX | 3100010 | ||||||
| 34 | 1 | CAP FOR CAPACITOR | 94010011 | x | x | ||||
| 1 | CAPACITOR 45MF 50/60 Hz ±10% | 31030038 | x | x | |||||
| 35 | 1 | 0—RING | 92010063 | ||||||
| 36 | 4 | SCREW 1/4″ x 1″ #02203 | 91010342 | ||||||
| 37 | 4 | LOC KWASHER 1/4″ | 91010066 | ||||||
| 38 | 4 | FEMALE CONNECTOR 12/10 #71363 | 94010041 | ||||||
| 40 | 1 | PAN HD SCREW 3/16″ x 1/2″ | 91010408 |
For repair parts please supply: Model Number and Serial as shown on the nameplate, and the Part Description and Part Number as shown on Parts List.
Troubleshooting Chart
Risk of electric shock. Always disconnect the pump from the power source before handling inspections or repairs.
| Symptom+G45:I52I46G45:I54 | Possible Cause(s) | Corrective Action |
| The pump will not run | 1. Poor electrical connection, blown fuse, tripped breaker or other interruption of power; improper power supply 2. Motor or switch inoperative (go to manual operation) 2a. Float movement restricted 2b. Switch will not activate a pump or is defective 2c. Defective motor 3. Insufficient liquid level | 1. Check all electrical connections for security. Have the electrician measure current in motor leads if the current is within ± 20% of the locked rotor Amps impeller is probably locked. If the current is 0, overload may be tripped. Remove power, allow the pump to cool, then re-check the current. 2a. Reposition the pump or clean basin as required to provide adequate clearance for float 2b. Disconnect level control. Set the ohmmeter for a low range, such as 100 ohms full scale, and connect to level control leads. Actuate level control manually and check to see that ohmmeter shows zero ohms for the closed switch and full scale for the open switch. (Float Switch) 2c. Check winding insulation (Megger Test) and winding resistance. If a check is outside of range dry and re-check. If still defective, replace it per service instructions. 3. Make sure the liquid level is above the pump 4. Re-check all sizing calculations to determine the proper pump size. 5. Check the discharge line for restrictions, including ice if the line passes through or into cold areas. Remove and examine the check valve for proper installation and freedom of operation 7. Open valve 8. Check the impeller for freedom of operation, security, and condition. Clean the impeller cavity and inlet of any obstruction 9. Loosen the union slightly to allow trapped air to escape. Verify that the turn-off level of the switch is set so that the suction is always flooded. Clean vent hole 10. Check rotation. If the power supply is three phases, reversing any two of the three power supplies leads to ensuring proper impeller rotation 11. Repair fixtures as required to eliminate leakage 12. Check pump temperature limits and fluid temperature 13. Replace a portion of the discharge pipe with flexible connector or tighten existing piping. 14. Turn to the automatic position 15. Check for leaks around the basin inlet and outlets |
| The pump will not turn off | 2a. Float movement restricted 2b. Switch will not activate a pump or is defective 4. Excessive inflow or pump not properly sized for application 9. Pump may be air-locked causing the pump not to flow 14. The h-O-A switch on the panel is in the “HAND” position | |
| The pump hums but doesn’t run | 1. Incorrect low voltage 8. Impeller jammed or loose on the shaft or inlet plugged | |
| The pump delivers insufficient capacity | 1. Incorrect low voltage 4. Excessive inflow or pump not properly sized for application 5. Discharge restricted 6. Check valve is partially closed or installed backward 7. Shut-off valve closed 8. Impeller jammed or loose on the shaft or inlet plugged 9. Pump may be air-locked causing the pump not to flow 10. Piping fixtures leaking or discharge before the nozzle | |
| Pump cycles too frequently or runs periodically when fixtures are not in use | 6. Check valve is partially closed or installed backward 11. Fixtures are leaking 15. Ground water entering the basin | |
| The pump shuts off and turns on independent of a switch, (trips thermal overload protector). CAUTION! The pump may start unexpectedly. Disconnect the power supply. | 4. Excessive inflow or pump not properly sized for application 8. Impeller jammed or loose on the shaft or inlet plugged 12. Excessive water temperature (internal protection only) | |
| The pump operates noisily or vibrates excessively | 2c. Worn bearings, motor shaft bent 5. Debris in the impeller cavity or broken impeller 10. Pump running backward 13. Piping attachments to building structures too loose or rigid |
NOTE: Barmesa Pumps assumes no responsibility for damage or injury due to disassembly in the field. Disassembly of the pumps or supplied accessories other than at Barmesa Pumps or its authorized service centers automatically voids the warranty.
BARMES PUMPS
FACTORY WARRANTY
Barmes Pumps warrants that products of our manufacture will be free of defects in material and workmanship under normal use and service for 18 months from the date of manufacture or 12 months from the installation date whichever occurs first. This warranty gives you specific legal rights, which vary from state to state.
This warranty is a limited warranty, and no warranty-related claims of any nature whatsoever shall be made against Barmesa Pumps until the ultimate consumer or his/her successor notifies us in writing of the defect and delivers the product and/or defective pants) freight prepaid to our factory or nearest authorized service station as instructed by Barmesa Pumps. THERE SHALL BE NO FURTHER LIA13IUTY, WHETHER BASED ON WARRANTY, NEGLIGENCE, OR OTHERWISE. THE PRODUCT SHALL BE EITHER REPLACED OR REPAIRED AT THE ELECTION OF BARMESA PUMPS. Guarantees relating to performance specifications provided in addition to the foregoing material and workmanship warranties on a product manufactured by Barmesa Pumps, if any, are subject to possible factory testing. Any additional guarantees, in the nature of certified performance specifications or time frame, must be in writing and such writing must be signed by our authorized factory manager at the time of order placement and/or at the time of quotation. Due to inaccuracies In field testing and should, a conflict arises between the results of field testing conducted by or for the user, Barmesa Pumps reserves the right to have the product returned to our factory for additional testing.
This warranty shall not apply when damage is caused by (I) improper installation, (2) improper voltage, (3) lightning, (4) excessive sand or other abrasive material, (5) corrosion build-up due to excessive chemical content, or (6) uncontrollable acts of god. Any modification of the original equipment will also void the warranty. We will not be responsible for loss, damage, or labor cost due to interruption of service caused by defective pumps, parts, or systems. Barmes Pumps will not accept charges incurred by others without our prior written approval.
This warranty is void if our inspection reveals the product was used in a manner inconsistent with normal industry practice and/or our specific recommendations. The purchaser is responsible for the communication of all necessary information regarding the application and use of the product. UNDER NO CIRCUMSTANCES WILL WE BE RESPONSIBLE FOR ANY OTHER DIRECT OR CONSEQUENTIAL DAMAGES, INCLUDING BUT NOT LIMITED TO TRAVEL EXPENSES, CONTRACTOR FEES, UNAUTHORIZED REPAIR SHOP EXPENSES, LOST PROFITS, LOST INCOME, LABOR CHARGES, DELAYS IN PRODUCTION, IDLE PRODUCTION, WHICH DAMAGES ARE CAUSED BY ANY DEFECTS IN MATERIAL AND/OR WORKMANSHIP AND/OR DAMAGE OR DELAYS IN SHIPMENT. THIS WARRANTY IS EXPRESSLY IN LIEU OF ANY OTHER EXPRESS OR IMPLIED WARRANTY. No rights extended under this warranty shall be assigned to any other person, whether by operation of law or otherwise, without our prior written approval.
IMPORTANT
If you have a claim under the provision of the warranty contact Barmesa Pumps or your
authorized Barmesa Pumps Distributor:
[email protected]
www.barmesapumps.com 

Kickback should always be in a counter-clockwise direction as viewed from the motor end or opposite to impeller rotation. Impeller rotation is counter-clockwise as viewed from the bottom of the pump.
Impeller and Volute:



















