Braber Equipment BE-DH185FK 55 Inch Tandem Disc Harrow

Congratulations
You have invested in one of the best implements of its type in the market today.
The care you give your Disc Harrow implement will greatly determine your satisfaction with its performance and its service life. A careful study of this manual will give you a thorough understanding of your new implement before operating.
If your manual is lost or destroyed, your dealer will be glad to provide you a new copy. Visit your nearest dealership to obtain a new copy.
As an authorized dealer, we stock genuine parts which are manufactured with the same precision and skill as our original equipment. Our trained service persons are well informed on methods required to service Disc Harrows and are happy to help.
Should you require additional information or assistance, please contact us.
CAUTION
AS WE MAINTAIN AN ONGOING PROGRAMME OF PRODUCT IMPROVEMENT, WE RESERVE THE RIGHT TO MAKE IMPROVEMENTS IN DESIGN OR CHANGE IN SPECIFICATION WITHOUT INCURRING ANY OBLIGATION TO INSTALL THEM ON UNITS PREVIOUSLY SOLD. BECAUSE OF THE POSSIBILITY THAT SOME PHOTOGRAPHS IN THIS MANUAL WERE TAKEN OF PROTOTYPE MODELS, PRODUCTION MODELS MAY VARY IN SOME DETAIL. IN ADDITION, SOME PHOTOGRAPHS MAY SHOW SHIELDS REMOVED FOR THE PURPOSE OF CLARITY. NEVER OPERATE THIS IMPLEMENT WITHOUT ALL SHIELDS IN PLACE.
This manual contains valuable information about your new tandem disc harrow.
It has been carefully prepared to give you helpful suggestions for operating, adjusting, servicing and ordering spare parts.
Keep this manual in a convenient place for quick and easy reference. Study it carefully. You have purchased a dependable and sturdy tandem disc harrow, but only by proper care and operation can you expect to receive the service and long life it has been designed for.
Sometime in the future your tandem disc harrow may need new parts to replace those which are worn out or broken. If so, please contact your local dealer.
Purchaser / Operator’s responsibility
- Read and understand the information contained in this manual.
- Operate, lubricate, assemble and maintain the equipment in accordance with all instructions and safety procedures in this manual.
- Inspect the equipment and replace or repair any parts that are damaged or worn out which under continued operation would cause further damage, wear to other parts, or a safety hazard.
- Return the equipment or parts to the authorized dealer from where it was purchased for service or replacement of defective parts that are covered by warranty. (The dealer may inspect equipment or parts before warranty claims are honored.)
- All costs incurred by the dealer for traveling to or transporting the equipment for warranty inspection and claims will be borne by the customer.
TECHNICAL DATA
INTRODUCTION
This handbook contains the use and maintenance instructions with a list of the spare parts of the Tandem Disc Harrow.
This Disc harrow is equipped with light-duty & heavy-duty box frame specially designed for harrowing/land preparation of rough soil (secondary fine operation).
Regular and satisfactory operation together with economic and long-lasting use of the implement depends on the compliance with instructions given in this handbook.
Compliance with the instructions in this handbook is also important since the manufacturer declines any and all responsibility for damage to persons or property caused by negligence and failure to comply with these instructions.
WARRANTY
When the machine is delivered, check that it has not been subjected to damage during transport and that the accessories are in a perfect condition and complete.
Any claims following the receipt of damaged goods shall be presented in writing within 8 days from the receipt of the goods.
The purchaser may only make the claims under guarantee when he has complied with the warranty conditions in the supply contract.
WHEN THE WARRANTY BECOMES VOID
Besides the cases specified in the supply agreement, the guarantee shall in any case become void.
- When the implement has been used beyond the specified power limit (Tractor Horse Power)
- When repairs made by the customer without authorization from the manufacturer or owing to installation of spurious spare parts, the machine is subjected to variations and the damage can be ascribed to these variations.
- When the user has failed to comply with the instructions in this handbook.
- If the implement is used in very hard/stony soil no warranty of discs will be given.
- No warranty will be given if the service and greasing is not done on time.
WARNING
- Thoroughly read the instruction manual before proceeding with the various operations.
- Maintain the harrow as per the instructions of this handbook to be entitled for warranty.
USAGE INSTRUCTIONS
BEFORE USE &ADJUSTMENTS
- Before mounting of disc harrow make sure that all nuts & bolts are properly secured.
- Also determine soil and trash conditions of the field and make the preliminary adjustments.
Disc gang angle & gang angle lateral adjustment
- Disc Angling

NOTE: The more angle you have on the disc, the more aggressive the cut will be and the more horsepower will be required to pull your harrow and for a better ground finish, the rear gang angle should be lesser than the front gangs.The disc harrow is designed with handles (C) to make disc gang angle adjustment easy.
Adjust disc gang as follow:
- Remove pin (A) and hair lynch pin (F). Slide handle (C) to desired position and replace pin.
Disc gang lateral adjustment:
- Gang angle (Angle between two gangs) ranges between 00 to 66’. The angle can be increased for better penetration in dry soil while it should be reduced to avoid clogging in wet soil.
NOTE: The rear discs should be centered between the front discs for optimum performance.
Disc harrow leveling
The truest way to level your disc from front to rear is to observe behind the centre of the disc harrow. In most soil conditions, a slight ridge in the centre is actually a level operation. More air pockets will form where soil is thrown together, causing a small ridge to form that will disappear after a soaking rain.
If harrow is leaving a significant ridge in the centre, raise disc rear gangs by shortening the centre 3-point link.
If harrow is leaving a furrow (valley) in the centre, lower rear disc gang by lengthening the centre 3-point link.
See also the troubleshooting chart for helpful solutions to leveling the disc harrow.
Scrapper adjustment
The scrapper can be adjusted by loosening the bolts.
Disc harrow penetration
Factors affecting disc harrow penetration:
- Angle of the gang
- Weight of the harrow
- Disc diameter
- Disc sharpness
- (Blunt discs increases the draft considerably, check the disc sharpness)
- Angle of hitch
ATTACHING THE HARROW TO THE TRACTOR
- Place the harrow duly leveled on the flat piece of land.
- Reverse the tractor to the harrow.
- Attach the 3-point linkage to the harrow.
WARNING FOR THE DRIVER
- Before harrowing check all nuts & bolts of the disc harrow.
- Be vigilant about the tree roots and stones. Don’t harrow on stony soil.
- Tractor should be in first high or fourth low gear.
- Don’t allow anyone to come across the harrow.
SAFETY
Understanding the machine safety labels
The machine safety labels shown in this section are placed in important areas on your machine to draw attention to potential safety hazards.
On your machine the words DANGER, WARNING, and CAUTION are used with this safety-alert symbol. DANGER identifies the most serious hazards. The operator’s manual also explains any potential safety hazards whenever necessary.
Before harrowing with the disc harrow take care that nobody stands near it.
In order to protect yourself alaways wear adequate clothes and shoes during operation.
Never allow riders on the tractor or implement unless an additional seat is available.
Be careful when moving around a steep gradient to avoid sharp turns.
Never transport the implement on rough roads during the night. When operating, avoid sharp turns that may cause the tractor to collide with the implement.
MAINTENANCE INSTRUCTIONS
If you work the tandem disc harrow on stony land then more maintenance will be required.
- If the soil has entered the grease nipple, then change the nipple.
- After the first two hours of work, tighten all nuts & bolts.
- After every fifty hours, grease all greasing points with a grease gun and tighten all nuts & bolts.
- After fifty hours, open the bearing hub/bearing spool of & cleanse with diesel oil & pump in new grease.
STORAGE OF MACHINE AFTER WORK - Wash the tandem disc harrow after work.
- Replace the worn-out nuts & bolts.
- If the tandem disc harrow has to remain unused for long time, then clean it & apply a layer of used oil for rust prevention.
These steps will enhance the life of your disc harrow.
LUBRICATION
- Please take care that high quality grease is used in the greasing points.
- Please take care that hydraulic oil quality grease is used in the greasing points.
Be careful with the environment. Do not spill combustible oil, battery or filter residues in the soil. These will directly damage the environment. Look for information to recycle or reuse them.
INSTRUCTIONS FOR DRIVER
- In case of the scrapper touching the discs, loosen the scrapper bolt and readjust the scrapper.
- Never reverse the tractor when the harrow is engaged in the soil.
- Never turn the tractor to the right or left when the harrow is engaged in the soil.
- Properly fit the three-point linkage as mentioned above & lock with lynchpin.
- To get good results from the harrow, a disc should be replaced when its diameter is reduced by 5” from its original size.
- When the disc harrow is ready for use, do not stand between the harrow and the tractor.
OPERATIONAL GUIDELINES FOR HARROW
- Adding of wheel weights/water ballasting or a combination of both is recommended when excessive rear wheel slippage is experienced.
- Always set hydraulic levers correctly for draft and position control operation.
- Lift the harrow while turning for effective independent breaking of soil.
Precautions during transportation
- Maintain the speed to avoid jumps.
- Watch while overtaking on road.
- Always use SMV (Slow Moving Vehicles) symbols.
Dear user, Respect the Earth. Do not throw trash away. Help protect our environment.
TROUBLESHOOTING
| PROBLEM | POSSIBLE CAUSE | POSSIBLE REMEDY |
|
Disc harrow makes a high centre ridge. |
Disc blades are moving too much soil to the centre | Tilt disc harrow up at the rear by shortening the centre 3-point link |
| Decrease tractor speed | ||
| Increase spacing between disc gangs by moving all gang hangers on both sides away from the centre equal amounts | ||
|
Disc harrow cuts a furrow (valley) in the center |
Disc blades are moving enough soil to the center | Tilt disc harrow down at the rear by lengthening the center 3-point link. |
| Increase tractor speed. | ||
| Reduce spacing between rear disc gangs by moving all gang hangers on both sides toward the centre by equal amounts. | ||
| Disc harrow makes ridges on the outside cuts and furrows just inside the ridges. | Too much soil is thrown out by the front disc gangs | Check front to rear disc leveling. Raise front disc gangs by lengthening the centre 3-point link. |
| Reduce front disc gang angle by one position. | ||
|
Disc Harrow makes a furrow on the outside cuts and a ridge just inside the furrow | Front Disc gangs run deeper than the rear disc gangs | Tilt disc harrow down at the rear by lengthening the center 3-point link |
| Disc gangs are not centered on the frame | Centre disc gangs on the disc harrow | |
| Front disc gangs are not at the same angle | Set front disc gang at the same angle | |
| Rear disc gangs are not at the same angle | Set rear disc gang at the same angle | |
| Dis harrow leaves a depression in the worked soil behind tractor wheels | Tire slippage, heavy tractor, soft soil conditions | Add duals, increase tractor speed, increase gang angle and/or increase cutting depth |
| Disc harrow won’t settle down and operate smoothly | Disc gang angles are set too high | Set disc gang angle at the smallest angle required to do the job. Make sure front disc gangs are set 3 degrees higher than the rear disc gang angle. |
| Dis harrow dose not penetrate soil properly | Disc gang angles are not set at large enough angles | Increase disc gang angles. Make sure the front disc gangs are set 3 degrees more than the disc gangs. |
| Outside front disc blades and/or gang axle is bending or breaking | Making sharp turns and crossing ditches with disc harrow in the ground | Raise disc harrow out of the ground when making sharp turns and crossing ditches. Do not cross deep ditches |
| Gang axles become loose | Keep disc gang axle nut tight | |
|
Bearing Problem | Bent gang axle causing bearing to wobble | Replace gang axle and damaged bearing |
| Foreign objects and/or dirt caught in between spacer and disc blades causing bearing to wobble | Completely disassemble disc gang components and clean thoroughly before reassembling. Replace damaged bearing. | |
| Abrasive material such as wire ribbing against the bearing and destroying its seals | Remove abrasive material right away. Replace damaged bearings. | |
| Contaminated bearing caused by not cleaning the grease zerks before adding grease to bearings | Always clean grease zerks before pumping grease into the bearings. Replace damaged bearing. | |
| Pumping grease into the bearing too fast in cold weather will pop off bearing seals | Pump grease into the bearings slower, especially in cold weather. Replace all damaged bearings. |
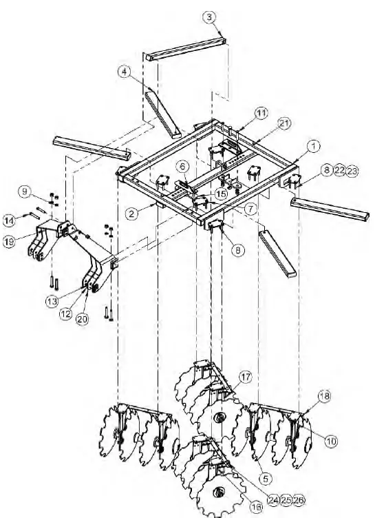
EXPLODED VIEW & PARTS BREAKDOWN
TANDEM DISC HARROW HEAVY DUTY 8X8

TANDEM DISC HARROW HEAVY DUTY 8X8
| REF. | PART NUMBER | DESCRIPTION | QTY |
| 1 | FKTDHHS-501 | MAIN FRAME ASSEMBLY (HEAVY DUTY) | 1 |
| 2 | FKTDHHS-504 | CENTER SUPPORT ASSEMBLY | 1 |
| 3 | FKTDHHS-506 | LEVER PIPE ASSEMBLY | 1 |
| 4 | FKTDHHS-516 | GANG PIPE ASSEMBLY (4 DISC) | 4 |
| 5 | FKTDHHS-514 | GANG ASSEMBLY | 4 |
| 6 | 10020124 | JOINT PIN (22X95) | 2 |
| 7 | FKTDHHS-301 | CLAMP PLATE | 8 |
| 8 | 10270016 | ISO 4016 – M16 X 100 X 38-WC | 32 |
| 9 | 10280021 | SPRING WASHER 20MM | 12 |
| 10 | 10260317 | NYLOCK NUT M20 | 12 |
| 11 | 10020022 | HEX BOLT M20X120L | 10 |
| 12 | 10020123 | LINCH PIN | 5 |
| 13 | 10020022 | PIN 22X125MM (L) | 2 |
| 14 | 10020009 | PIN 19X125MM (L) | 1 |
| 15 | FKTDHHS-508 | GANG ANGLE JOINT BOX ASSEMBLY | 2 |
| 16 | FKTDHHS-055 | SCRAPER HOLDING ANGLE | 8 |
| 17 | FKTDHHS-509 | SCRAPER ASSEMBLY, RIGHT SIDE | 2 |
| 18 | FKTDHHS-510 | SCRAPER ASSEMBLY, LEFT SIDE | 2 |
| 19 | FKTDHHS-502 | LEVER ASSEMBLY. L.H.S. | 1 |
| 20 | FKTDHHS-503 | LEVER ASSEMBLY. R.H.S. | 1 |
| 21 | 10260286 | HEX BOLT M20X150L | 2 |
| 22 | 10280025 | NYLOCK NUT M12 | 32 |
| 23 | 10270003 | SPRING WASHER 12MM | 32 |
| 24 | 10280002 | NYLOCK NUT M10 | 32 |
| 25 | 10270002 | SPRING WASHER 10MM | 32 |
| 26 | 10260053 | HEX BOLT M10X35L | 32 |
TANDEM DISC HARROW HEAVY DUTY HEAVY DUTY GANG ASSEMBLY

| REF. | DESCRIPTION | PART NO 4X4 | PART NO 6X6 | QTY 4X4 | QTY 6X6 |
| 1 | AXLE RODS ASSEMBLY (4X4) | FKMODH-078 | FKMODH-020 | 1 | 1 |
| 2 | NOCHED DISC 18” | FKMODH-034 | 4 | 6 | |
| 3 | BEARING SPOOL | FKMODH-024 | 2 | 2 | |
| 4 | GANG BEARING ASSEMBLY | 2 | 2 | ||
| 5 | BEARING SPOOL CAP | FKMODH-025 | 2 | 2 | |
| 6 | SPLAIN SPOOL | FKMODH-038 | 1 | 3 | |
| 7 | DISC WASHER 5” | FKMODH-039 | 1 | 1 | |
| 8 | CHAPPEN | FKMODH-037 | 1 | 1 | |
| 9 | HEX BOLT M10X45L | 10260005 | 1 | 1 | |
| 10 | HEX NUT M28 | 1 | 1 | ||
| 11 | CIRCLIP 60X2 | 10360003 | 2 | 2 | |
| 12 | BIG CHAPPEN | FKMODH-036 | 1 | 1 | |
| 13 | GANG LOCK PLATE | FKMODH-122 | 1 | 1 | |
| 14 | LEG ASSEMBLY | FKMODH-505 | 2 | 2 | |
| 15 | HEX BOLT M18X60L | 10260082 | 8 | 8 | |
| 16 | NYLOCK NUT M18 | 10280006 | 8 | 8 | |
| 17 | SPRING WASHER 18MM | 10270006 | 8 | 8 | |
BRABEREQ.COM
[email protected]
PHONE: 604-850-7770
FAX: 604-850-7774
TOLL FREE PHONE: 1-877-588-3311 TOLL FREE FAX: 1-800-665-7334


















