3 PT DISC HARROW
BE-DHXXXN
OPERATIONS & PARTS MANUAL
FOR MODELS:
• BE-DH1216N
• BE-DH1618N
ASSEMBLY
This Disc Harrow has been designed with care and built by skilled workers using quality materials. Proper assembly, maintenance, and safe operation practices will help you get years of satisfactory use from the Disc Harrow.
CAUTION!
The Following safety precautions should be thoroughly understood before attempting to begin assembling this machine.
- Select an area for assembly that is clean and free of any debris which may cause persons working on the assembly to trip.
- Do not lift heavy parts or assemblies. Use a crane jack, tackle, fork truck, or another mechanical device.
- Never put hands, or any part of the body, under blocked-up assemblies if at all possible.
- After completing assembly, thoroughly inspect the machine to be sure that all nuts, bolts, hydraulic fittings, or any other fastener assemblies have been thoroughly tightened.
- Before operating equipment, if you have any questions regarding the proper assembly or operations, contact your local dealer.
- After initial adjustments have been made and the tractor is hooked up to Disc Harrow, you are ready to start discing.
- Lower Disc Harrow to ground and start moving forward. Your travel speed will be determined by soil condition. You may find you want more or less angle on the discs to do the job.
- Do not disc in reverse (traveling backward). The Disc Harrow is designed for working the soil while traveling forward only. Damage to the harrow may occur.
ASSEMBLY INSTRUCTIONS
- Unpack the Disc Harrow from the shipping box.
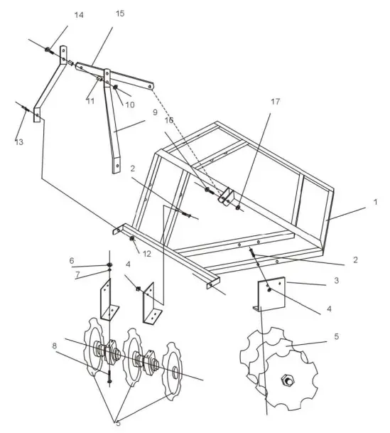
- Assembly parts # 14, 15, 9, and 11 to the Mount Frame Weldment (1).
SAFETY INSTRUCTIONS
- Always be sure the implement is in the fully raised position when in transport.
- Use care when working on slopes.
- Avoid excessive speed during operation.
EXPLODED VIEW & PARTS LIST
4FT 3-POINT DISC HARROW
| REF. | DESCRIPTION | QTY |
| 1 | Mount Frame Weldment | 1 |
| 2 | Bolt M12x30 | 16 |
| 3 | Connect Board | 8 |
| 4 | Lock Nut M12 | 16 |
| 5 | Disc Harrows Assembly | 4 |
| 6 | Lock Nut M12 | 16 |
| 7 | Flat Washer 12 | 16 |
| 8 | Bolt M12x130 | 16 |
| 9 | Side Bar | 2 |
| 10 | Lock Nut M16 | 1 |
| 11 | Steel Bush | 2 |
| 12 | Nut M22 | 2 |
| 13 | Draw Pin | 2 |
| 14 | Bolt M16x100 | 1 |
| 15 | Brace | 1 |
| 16 | Bolt M16x50 | 1 |
| 17 | Nut M16 | 1 |
DISC HARROW ASSEMBLY

| REF. | DESCRIPTION | QTY |
| 5-1 | Shaft | 4 |
| 5-2 | End Cap Casting-1 | 4 |
| 5-3 | Disc | 4Ft: 12 |
| 4Ft: 16 | ||
| 5-4 | Spacer Casting | 4Ft: 8 |
| 4Ft: 12 | ||
| 5-5 | Spacer Holding | 4 |
| 5-6 | End Cap Casting-2 | 16 |
| 5-7 | Hex Nut M24 | 16 |
BRABEREQ.COM
[email protected]
PHONE: 604-850-7770
FAX: 604-850-7774
TOLL-FREE PHONE: 1-877-588-3311
TOLL-FREE FAX: 1-800-665-7334

















