![]()
Disc Grinder
G 13SE3

Keep for future reference

Handling instructions
GENERAL POWER TOOL SAFETY WARNINGS
WARNING
Read all safety warnings and all instructions.
Failure to follow the warnings and instructions may result in electric shock, fire and/or serious injury.
Save all warnings and instructions for future reference.
The term “power tool” in the warnings refers to your mains-operated (corded) power tool or battery-operated (cordless) power tool.
1) Work area safety
a) Keep work area clean and well lit.
Cluttered or dark areas invite accidents.
b) Do not operate power tools in explosive atmospheres, such as in the presence of flammable liquids, gases or dust.
Power tools create sparks which may ignite the dust or fumes.
c) Keep children and bystanders away while operating a power tool.
Distractions can cause you to lose control.
2) Electrical safety
a) Power tool plugs must match the outlet.
Never modify the plug in any way.
Do not use any adapter plugs with earthed (grounded) power tools.
Unmodified plugs and matching outlets will reduce risk of electric shock.
b) Avoid body contact with earthed or grounded surfaces, such as pipes, radiators, ranges and refrigerators.
There is an increased risk of electric shock if your body is earthed or grounded.
c) Do not expose power tools to rain or wet conditions.
Water entering a power tool will increase the risk of electric shock.
d) Do not abuse the cord. Never use the cord for carrying, pulling or unplugging the power tool.
Keep cord away from heat, oil, sharp edges or moving parts.
Damaged or entangled cords increase the risk of electric shock.
e) When operating a power tool outdoors, use an extension cord suitable for outdoor use.
Use of a cord suitable for outdoor use reduces the risk of electric shock.
f) If operating a power tool in a damp location is unavoidable, use a residual current device (RCD) protected supply.
Use of an RCD reduces the risk of electric shock.
3) Personal safety
a) Stay alert, watch what you are doing and use common sense when operating a power tool.
Do not use a power tool while you are tired or under the influence of drugs, alcohol or medication.
A moment of inattention while operating power tools may result in serious personal injury.
b) Use personal protective equipment. Always wear eye protection.
Protective equipment such as dust mask, non-skid safety shoes, hard hat, or hearing protection used for appropriate conditions will reduce personal injuries.
c) Prevent unintentional starting. Ensure the switch is in the off position before connecting to power source and/or battery pack, picking up or carrying the tool.
Carrying power tools with your finger on the switch or energising power tools that have the switch on invites accidents.
d) Remove any adjusting key or wrench before turning the power tool on.
A wrench or a key left attached to a rotating part of the power tool may result in personal injury.
e) Do not overreach. Keep proper footing and balance at all times.
This enables better control of the power tool in unexpected situations.
f) Dress properly. Do not wear loose clothing or jewellery. Keep your hair, clothing and gloves away from moving parts.
Loose clothes, jewellery or long hair can be caught in moving parts.
g) If devices are provided for the connection of dust extraction and collection facilities, ensure these are connected and properly used.
Use of dust collection can reduce dust-related hazards.
4) Power tool use and care
a) Do not force the power tool. Use the correct power tool for your application.
The correct power tool will do the job better and safer at the rate for which it was designed.
b) Do not use the power tool if the switch does not turn it on and off.
Any power tool that cannot be controlled with the switch is dangerous and must be repaired.
c) Disconnect the plug from the power source and/or the battery pack from the power tool before making any adjustments, changing accessories, or storing power tools.
Such preventive safety measures reduce the risk of starting the power tool accidentally.
d) Store idle power tools out of the reach of children and do not allow persons unfamiliar with the power tool or these instructions to operate the power tool.
Power tools are dangerous in the hands of untrained users.
e) Maintain power tools. Check for misalignment or binding of moving parts, breakage of parts and any other condition that may affect the power tools operation.
If damaged, have the power tool repaired before use.
Many accidents are caused by poorly maintained power tools.
f) Keep cutting tools sharp and clean.
Properly maintained cutting tools with sharp cutting edges are less likely to bind and are easier to control.
g) Use the power tool, accessories and tool bits etc. in accordance with these instructions, taking into account the working conditions and the work to be performed.
Use of the power tool for operations different from those intended could result in a hazardous situation.
5) Service
a) Have your power tool serviced by a qualified repair person using only identical replacement parts.
This will ensure that the safety of the power tool is maintained.
PRECAUTION
Keep children and infirm persons away.
When not in use, tools should be stored out of reach of children and infirm persons.
SAFETY WARNINGS COMMON FOR GRINDING OR ABRASIVE CUTTING-OFF OPERATIONS
a) This power tool is intended to function as a grinder or cut-off tool. Read all safety warnings, instructions, illustrations and specifications provided with this power tool.
Failure to follow all instructions listed below may result in electric shock, fire and/or serious injury.
b) Operations such as sanding, wire brushing, polishing are not recommended to be performed with this power tool.
Operations for which the power tool was not designed may create a hazard and cause personal injury.
c) Do not use accessories which are not specifically designed and recommended by the tool manufacturer.
Just because the accessory can be attached to your power tool, it does not assure safe operation.
d) The rated speed of the accessory must be at least equal to the maximum speed marked on the power tool.
Accessories running faster than their rated speed can break and fly apart.
e) The outside diameter and the thickness of your accessory must be within the capacity rating of your power tool.
Incorrectly sized accessories cannot be adequately guarded or controlled.
f) Threaded mounting of accessories must match the grinder spindle thread. For accessories mounted by flanges, the arbour hole of the accessory must fit the locating diameter of the flange.
Accessories that do not match the mounting hardware of the power tool will run out of balance, vibrate excessively and may cause loss of control.
g) Do not use a damaged accessory. Before each use inspect the accessory such as abrasive wheels for chips and cracks, backing pad for cracks, tear or excess wear, wire brush for loose or cracked wires. If power tool or accessory is dropped, inspect for damage or install an undamaged accessory. After inspecting and installing an accessory, position yourself and bystanders away from the plane of the rotating accessory and run the power tool at maximum no-load speed for one minute.
Damaged accessories will normally break apart during this test time.
h) Wear personal protective equipment. Depending on application, use face shield, safety goggles or safety glasses. As appropriate, wear dust mask, hearing protectors, gloves and workshop apron capable of stopping small abrasive or workpiece fragments.
The eye protection must be capable of stopping flying debris generated by various operations. The dust mask or respirator must be capable of filtrating particles generated by your operation. Prolonged exposure to high intensity noise may cause hearing loss.
i) Keep bystanders a safe distance away from work area. Anyone entering the work area must wear personal protective equipment.
Fragments of workpiece or of a broken accessory may fly away and cause injury beyond immediate area of operation.
j) Hold the power tool by insulated gripping surfaces only, when performing an operation where the cutting accessory may contact hidden wiring or its own cord.
Cutting accessory contacting a “live” wire may make exposed metal parts of the power tool “live” and could give the operator an electric shock.
k) Position the cord clear of the spinning accessory.
If you lose control, the cord may be cut or snagged and your hand or arm may be pulled into the spinning accessory.
l) Never lay the power tool down until the accessory has come to a complete stop.
The spinning accessory may grab the surface and pull the power tool out of your control.
m) Do not run the power tool while carrying it at your side.
Accidental contact with the spinning accessory could snag your clothing, pulling the accessory into your body.
n) Regularly clean the power tool’s air vents.
The motor’s fan will draw the dust inside the housing and excessive accumulation of powdered metal may cause electrical hazards.
o) Do not operate the power tool near flammable materials.
Sparks could ignite these materials.
p) Do not use accessories that require liquid coolants.
Using water or other liquid coolants may result in electrocution or shock.
Kickback is a sudden reaction to a pinched or snagged rotating wheel, backing pad, brush or any other accessory. Pinching or snagging causes rapid stalling of the rotating accessory which in turn causes the uncontrolled power tool to be forced in the direction opposite of the accessory’s rotation at the point of the binding.
For example, if an abrasive wheel is snagged or pinched by the workpiece, the edge of the wheel that is entering into the pinch point can dig into the surface of the material causing the wheel to climb out or kick out. The wheel may either jump toward or away from the operator, depending on direction of the wheel’s movement at the point of pinching.
Abrasive wheels may also break under these conditions.
Kickback is the result of power tool misuse and/or incorrect operating procedures or conditions and can be avoided by taking proper precautions as given below.
a) Maintain a firm grip on the power tool and position your body and arm to allow you to resist kickback forces. Always use auxiliary handle, if provided, for maximum control over kickback or torque reaction during start-up.
The operator can control torque reactions or kickback forces, if proper precautions are taken.
b) Never place your hand near the rotating accessory.
Accessory may kickback over your hand.
c) Do not position your body in the area where power tool will move if kickback occurs.
Kickback will propel the tool in direction opposite to the wheel’s movement at the point of snagging.
d) Use special care when working corners, sharp edges etc. Avoid bouncing and snagging the accessory.
Corners, sharp edges or bouncing have a tendency to snag the rotating accessory and cause loss of control or kickback.
e) Do not attach a saw chain woodcarving blade or toothed saw blade.
Such blades create frequent kickback and loss of control.
SAFETY WARNINGS SPECIFIC FOR GRINDING OPERATIONS
a) Use only wheel types that are recommended for your power tool and the specific guard designed for the selected wheel.
Wheels for which the power tool was not designed cannot be adequately guarded and are unsafe.
b) The grinding surface of centre depressed wheels must be mounted below the plane of the guard lip.
An improperly mounted wheel that projects through the plane of the guard lip cannot be adequately protected.
c) The guard must be securely attached to the power tool and positioned for maximum safety, so the least amount of wheel is exposed towards the operator.
The guard helps to protect the operator from broken wheel fragments, accidental contact with wheel and sparks that could ignite clothing.
d) Wheels must be used only for recommended applications. For example: do not grind with the side of cut-off wheel.
Abrasive cut-off wheels are intended for peripheral grinding, side forces applied to these wheels may cause them to shatter.
e) Always use undamaged wheel flanges that are of correct size and shape for your selected wheel.
Proper wheel flanges support the wheel thus reducing the possibility of wheel breakage. Flanges for cut-off wheels may be different from grinding wheel flanges.
f) Do not use worn down wheels from larger power tools.
Wheel intended for larger power tool is not suitable for the higher speed of a smaller tool and may burst.
GENERAL SAFETY INSTRUCTIONS FOR GRINDERS
— Check that speed marked on the wheel is equal to or greater than the rated speed of the grinder;
— Ensure that the wheel dimensions are compatible with the grinder;
— Abrasive wheels shall be stored and handled with care in accordance with manufacturer’s instructions;
— Inspect the grinding wheel before use, do not use chipped, cracked or otherwise defective products;
— Ensure that mounted wheels and points are fitted in accordance with the manufacturer’s instructions;
— Ensure that blotters are used when they are provided with the bonded abrasive product and when they are required;
— Ensure that the abrasive product is correctly mounted and tightened before use and run the tool at no-load for 30 seconds in a safe position, stop immediately if there is considerable vibration or if other defects are detected. If this condition occurs, check the machine to determine the cause;
— If a guard is equipped with the tool never use the tool without such a guard;
— When using an abrasive cutting wheel, be sure to attach the wheel guard for cutting wheel (sold separately) over the standard-accessory wheel guard. (Fig. 1);

Fig. 1
— Do not use separate reducing bushings or adapters to adapt large hole abrasive wheels;
— For tools intended to be fitted with threaded hole wheel, ensure that the thread in the wheel is long enough to accept the spindle length;
— Check that the work piece is properly supported;
— Do not use cutting off wheel for side grinding;
— Ensure that sparks resulting from use do not create a hazard e.g. do not hit persons, or ignite flammable substances;
— Ensure that ventilation openings are kept clear when working in dusty conditions, if it should become necessary to clear dust, first disconnect the tool from the mains supply (use non metallic objects) and avoid damaging internal parts;
— Always use eye and ear protection. Other personal protective equipment such as dust mask, gloves, helmet and apron should be worn;
— Pay attention to the wheel that continues to rotate after the tool is switched off.
SYMBOLS
WARNING
The following show symbols used for the machine. Be sure that you understand their meaning before use.
![]() | To reduce the risk of injury, user must read instruction manual. |
| Always wear eye protection. | |
| Class II tool |
SPECIFICATIONS
| Model | G13SE3 | |
| Voltage | 220 V ~ | |
| Power Input | 1300 W | |
| Rated speed | 11500 /min | |
| Wheel | Outer dia. × thickness × hole dia. | 125 × 6 × 22.23 mm |
| Peripheral speed | 80 m/s | |
| Weight (Only main body) | 2.5 kg | |
STANDARD ACCESSORIES
See the list below to check the accessories for G13SE3.
| G13SE3 | |
| Wrench | 1 |
Side handle ![]() | 1 |
| Depressed center wheel | 1 |
APPLICATIONS
- Removal of casting fin and finishing of various types of steel, bronze and aluminum materials and castings.
- Grinding of welded sections or sections cut by means of a cutting torch.
PRIOR TO OPERATION
1. Power source
Ensure that the power source to be utilized conforms to the power requirements specified on the product nameplate.
2. Power switch
Ensure that the power switch is in the OFF position. If the plug is connected to a receptacle while the power switch is in the ON position, the power tool will start operating immediately, which could cause a serious accident.
3. Extension cord
When the work area is removed from the power source, use an extension cord of sufficient thickness and rated capacity. The extension cord should be kept as short as practicable.
4. Fitting and adjusting the wheel guard (Fig. 2)
The wheel guard is a protective device to prevent injury should the depressed center wheel shatter during operation. Ensure that the guard is properly fitted and fastened before commencing grinding operation. By slightly loosening the setting screw, the wheel guard can be turned and set at any desired angle for maximum operational effectiveness. Ensure that the setting screw is thoroughly tightened after adjusting the wheel guard.

Fig. 2
5. Ensure that mounted wheels and points are fitted in accordance with the manufacturer’s instructions.
Ensure that the depressed center wheel to be utilized is the correct type and free of cracks or surface defects. Also ensure that the depressed center wheel is properly mounted and the wheel nut is securely tightened, Refer to the section on “ASSEMBLING AND DISASSEMBLING THE DEPRESSED CENTER WHEEL”.
Ensure that blotters are used when they are provided with the bonded abrasive product and when they are required.
Do not use separate reducing bushings or adaptors to adapt large hole abrasive wheels.
For tools intended to be fitted with threaded hole wheel, ensure that the thread in the wheel is long enough to accept the spindle length.
Do not use cutting off wheel for side grinding.
6. Test the grinder before using.
Before actually beginning the grinding work, test the grinder by first clearing the area of all other personnel. Make sure the wheel guard is in place and that you are wearing eye protection. Turn the grinder “on”, and make sure the grinder runs smoothly and shows no abnormalities.
Duration of the trial run is as follows:
When depressed center wheel is replaced .. 3 minutes or more
When starting daily work ……………………….. 1 minute or more
7. Check the push button.
Make sure that the push button is disengaged by pushing push button two or three times before turning on the grinder. (Fig. 3)
Fig. 3
8. Fixing the side handle
Screw the side handle into the gear cover (Fig. 4).

Fig. 4
PRACTICAL GRINDER APPLICATION
1. Switch operation
[When the switch has locking mechanism]
Switch ON: To switch on, slide the OFF lock lever in the direction of A and press the paddle lever in the direction of B as shown in Fig. 5-a.
Furthermore, slide the ON lock lever in the direction of C shown in Fig.5-b while pressing the paddle lever to lock and enable continuous operation.
Switch OFF: To release the locking mode, press the paddle lever in the direction of B shown in Fig.5-a, and release the paddle lever to switch off.
[When the switch has no locking mechanism]
To switch on, slide the lock lever in the direction of A and press the paddle lever in the direction of B as shown in Fig. 5-a. Release the paddle lever to switch off.
NOTE
The paddle lever can not be locked.

Fig. 5
2. Pressure
To prolong the life of the machine and ensure a first class finish, it is important that the machine should not be overloaded by applying too much pressure. In most applications, the weight of the machine alone is sufficient for effective grinding. Too much pressure will result in reduced rotational speed, inferior surface finish, and overloading which could reduce the life of the machine.
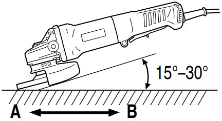
3. Grinding angle
Do not apply the entire surface of the depressed center wheel to the material to be ground. As shown in Fig. 6, the machine should be held at an angle of 15°-30° so that the external edge of the depressed center wheel contacts the material at an optimum angle.

Fig. 6
4. To prevent a new depressed center wheel from digging into the workpiece, initial grinding should be performed by drawing the grinder across the workpiece toward the operator (Fig. 6 direction B). Once the leading edge of the depressed center wheel is properly abraded, grinding may be conducted in either direction.
5. Precautions immediately after finishing operation
The wheel continues to rotate after the tool is switched off.
After switching off the machine, do not put it down until the depressed center wheel has come to a complete stop. Apart from avoiding serious accidents, this precaution will reduce the amount of dust and swarf sucked into the machine.
CAUTION
- Check that the work piece is properly supported.
- Ensure that ventilation openings are kept clear when working in dusty conditions.
If it should become necessary to clear dust, first disconnect the tool from the mains supply (use non-metallic objects) and avoid damaging internal parts. - Ensure that sparks resulting from use do not create a hazard e.g. do not hit persons, or ignite flammable substances.
- Always use eye and ear protection.
Other personal protective equipment such as dust mask, gloves, helmet and apron should be worn when necessary.
If in doubt, wear the protective equipment. - When the machine is not use, the power source should be disconnected.
ASSEMBLING AND DISASSEMBLING THE DEPRESSED CENTER WHEEL (Fig. 7)
CAUTION
Be sure to switch OFF and disconnect the attachment plug from the receptacle to avoid a serious accident.
1. Assembling
(1) Turn the disc grinder upsidedown so that the spindle is facing upward.
(2) Align the across flats of the wheel washer (C) with the notched part of the spindle, then attach them.
(3) Fit the protuberance of the depressed center wheel onto the wheel washer (C).
(4) Screw the wheel nut onto the spindle.
(5) While pushing the push button with one hand, lock the spindle by turning the depressed center wheel slowly with the other hand.
Tighten the wheel nut by using the supplied wrench as shown in Fig. 7.

Fig. 7
CAUTION
- Confirm that the depressed center wheel is mounted firmly.
- Confirm that the push button is disengaged by pushing push button two or three times before switching the power tool on.
2. Disassembly
To remove the depressed center wheel, simply reverse the above-mentioned procedure.
Attach or detach the diamond wheel or cutting wheel in the same manner as the depressed center wheel.
MAINTENANCE AND INSPECTION
WARNING
Be sure to switch power OFF and disconnect the plug from the receptacle during maintenance and inspection.
1. Inspecting the depressed center wheel
Ensure that the depressed center wheel is free of cracks and surface defects.
2. Inspecting the mounting screws
Regularly inspect all mounting screws and ensure that they are properly tightened. Should any of the screws be loose, retighten them immediately. Failure to do so could result in serious hazard.
3. Inspecting the carbon brushes
For your continued safety and electrical shock protection, carbon brush inspection and replacement on this tool should ONLY be performed by a HiKOKI Authorized Service Center.
4. Maintenance of the motor
The motor unit winding is the very “heart” of the power tool. Exercise due care to ensure the winding does not become damaged and/or wet with oil or water.
NOTE
After every approximately 50 hours of use, remove the filter and use an air blow gun to blow dry air through the air holes while running the motor with no load. This will eliminate or remove any dirt or dust. (Fig. 8)
Note that accumulated dirt or dust inside the motor may result in malfunctions.

Fig. 8
5. Replacing supply cord
If the replacement of the supply cord is necessary, this has to be done by HiKOKI Authorized Service Center in order to avoid a safety hazard.
If the supply cord of this power tool is damaged, it must be replaced by a specially prepared cord available through the service organization.
SELECTING ACCESSORIES
For details contact HiKOKI Authorized Service Center.

Part Number: 375907

Part Number: 372701

Part Number: 376067


Part Number: 339579

Part Number: 938332Z

Part Number: 302142

Part Number: 336865
Koki Holdings Co., Ltd.

Handling instructions



















