
Black Extra Long Under Desk Drawer
Instruction Manual

SKU: DESK-DR33-B
Scan the QR code with your mobile device or follow the link for helpful videos and specifications related to this product.
https://vivo-us.com/products/desk-dr33-b
GET IN TOUCH | Monday-Friday from 7:00am-7:00pm CST
![]()
[email protected] www.vivo-us.com 309-278-5303
Chat live with an agent!
WARNING!
If you do not understand these directions, or if you have any doubts about the safety of the installation, please call a qualified technician. Check carefully to make sure there are no missing or defective parts. Improper installation may cause damage or serious injury. Do not use this product for any purpose that is not explicitly specified in this manual. Do not exceed weight capacity. We cannot be liable for damage or injury caused by improper mounting, incorrect assembly or inappropriate use.
WARNING: CHOKING HAZARD
SMALL PARTS – NOT FOR CHILDREN UNDER 3 YEARS. ADULT SUPERVISION IS REQUIRED.
PACKAGE CONTENTS
![]() | ![]() | ![]() |
| A (x1) Left Bracket | B (x1) Right Bracket | C (x1) Base |
| D (x1) Front Wall | E (x1) Back Wall | F (x1) Template |
| S-A (x4) M5x5mm Screw | S-B (x10) M5x12mm Screw | W-A (x4) M5x16mm Screw |
W-B (x4) M5 Washer | ||
NOTE: 2 Extra screws have been included of each
DO NOT EXCEED WEIGHT CAPACITY.
Failure to do so may result in serious injury.
TOOLS NEEDED![]()
Phillips Screwdriver
ASSEMBLY OPTION A: DRAWER
STEP 1
Remove the shipping straps from Left Bracket (A) and Right Bracket (B). Connect Left Bracket (A) and Right Bracket (B) to Base (C) by loosely installing M5x12mm Screws (S-B) and a Phillips screwdriver.

STEP 2
Assemble Front Wall (D) to assembly using M5x5mm Screws (S-A) and a Phillips screwdriver.

STEP 3
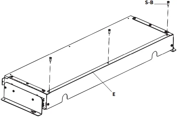
Assemble Back Wall (E) to assembly using M5x5mm Screws (S-A) and a Phillips screwdriver.

STEP 4
Flip assembly over and secure under side of Front Wall (D) and Back Wall (E) with M5x12mm Screws (S-B) and a Phillips screwdriver. Fully tighten down screws on Left and Right Brackets (A,B) using a Phillips screwdriver.

ASSEMBLY OPTION B: KEYBOARD TRAY
STEP 1
Push down on Right Side Bracket (B) Rail Release Lever to release, then separate the Outer Rail (B1) from Inner Rail (B2).

Push up on Left Side Bracket (A) Rail Release Lever to release, then separate the Outer Rail (A1) from Inner Rail (A2).

STEP 2
Use a Phillips screwdriver to remove Rail (B3, A3) from the lower holes in Inner Rail Brackets (B2, A2).

STEP 3
Install Rails (B3, A3) into upper holes of Inner Rail Brackets (B2, A2) with a Phillips screwdriver.

Reconnect Outer Rails (B1, A1) to Inner Rail Brackets (B2, A2).

STEP 4
Attach Left Side Bracket (A) and Right Side Bracket (B) to Base (C) using M5x12mm Screws (S-B) and a Philips screwdriver.

STEP 5
Assemble Back Wall (E) to assembly using M5x5mm Screws (S-A) and a Phillips screwdriver. S-A

Secure underside of Back Wall (E) with M5x12mm Screws (S-B) and a Phillips screwdriver.

MOUNTING INSTRUCTIONS
STEP 1
Use Template (F) and a pencil to mark mounting holes in desktop. Drill 3/8″ (10mm) deep pilot holes using a 3/32″ (2.5mm) drill bit.

STEP 2
Using a Phillips screwdriver, install two M5x16mm Screws (W-A) into back mounting holes in desktop, leaving a 3mm gap for keyhole mounting.

STEP 3
Align keyhole openings on Left Side Bracket (A) and Right Side Bracket (B) with installed Screws (W-A). Slide assembly back and tighten screws to anchor.

STEP 4
Install remaining two front M5x16mm Screws (W-A) and M5 Washers (W-B) using a Phillips screwdriver.
THIS PAGE INTENIONALLY LEFT BLANK
Love your new VIVO setup and want to share?
Tag us in your photo! @vivo_us
LAST UPDATED: 11/07/2022
REV1.2

Open Monday – Friday 7:00am – 7:00pm CST,
our dedicated support team can offer immediate assistance with rapid response times. If any parts are received damaged or defective, please contact us. We are happy to replace parts to ensure you have a fully functioning product.
309-278-5303 AVG. RESOLUTION TIME (within office hrs): 5M 4S
www.vivo-us.com AVG. RESOLUTION TIME (within office hrs): < 15 M
Chat live with an agent!
[email protected] AVG. RESPONSE TIME (within office hrs): 1HR 8M
– 23% within < 15m
– 38% within < 30m
– 61% within < 1hr
– 83% within < 2hr
– 92% within < 3hr
FOR MORE VIVO PRODUCTS, CHECK OUT OUR WEBSITE AT: www.vivo-us.com











