User Manual


ecosmart Peninsula Fireplace
Overview


Included Accessories

Optional Accessory

Setup


All models can be rotated

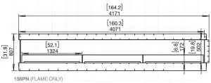
Peninsula Fireplaces

FLEX158

ESF.1.FX.158PN.BX2

Physical model dimensions should be verified against cut out dimensions BEFORE installation begins to confirm tolerances align.
These values are indicative only and may vary depending on the model purchased, installation, and the seasonal resource used to manufacture e-NRG.
FOR MORE INFORMATION PLEASE REFERENCE THE CLEARANCE & INSTALLATION MANUAL
Peninsula Installations

FLEX18PN

FLEX68PN.BXL

FLEX140PN.BX2
Disclaimer. All product specifications and data are subject to change without notice and believed to be correct at the time of publication. MAD Design Group (MDG), its affiliates, agents, and employees, and all persons acting on its or their behalf (collectively, “MAD Design Group”), disclaim any and all liability for any errors, inaccuracies or incompleteness contained herein or in any other disclosure relating to any product. MDG disclaims any and all liability arising out of the use or application of any product described herein or of any information provided herein to the maximum extent permitted by law. The product specifications do not expand or otherwise modify MDG’s terms and conditions of purchase, including but not limited to the warranty expressed therein, which apply to these products. No license, express or implied, by estoppel or otherwise, to any intellectual property rights is granted by this document or by any conduct of MDG. Customers using or selling MDG products not expressly indicated for use in such applications do so entirely at their own risk and agree to fully indemnify MDG for any damages arising or resulting from such use or sale. Please contact authorized personnel from MDG to obtain written terms and conditions regarding products designed for such applications. Images are indicative only.
© Copyright 2004 – 2020 MAD Design Group. All rights reserved .V0220
Read More About This Manual & Download PDF:
ecosmart Peninsula Fireplace User Manual – [ Download Optimized ]
ecosmart Peninsula Fireplace User Manual – Download
Questions about your Manual? Post in the comments!


















