BRECKWELL SW1.8 27 Inch Wood Burning Fireplace

Save These Instructions In A Safe Place For Future Reference.
SAFETY NOTICE: If this heater is not properly installed, a house fire may result. For your safety, follow the installation instructions. Never use make-shift compromises during the installation of this heater. Contact local building or fire officials about permits, restrictions and installation requirements in your area. NEVER OPERATE THIS PRODUCT WHILE UNATTENDED.
CAUTION! Please read this entire manual before you install or use your new room heater. Failure to follow instructions may result in property damage, bodily injury, or even death, Improper Installation Will Void Your Warranty!
U.S. Environmental Protection Agency
Certified to comply with 2020 particulate emissions standards.
CALIFORNIA PROPOSITION 65 WARNING:
This product can expose you to chemicals including carbon monoxide, which is known to the Stale of California to cause cancer, birth defects, and/or other reproductive harm. For more information, go to www.P65warnings.ca.gov
INTRODUCTION
The instructions pertaining to the installation of your wood stove comply with UL-1482 (R2015) and ULC-S627-00 (R2016) standards. This manual describes the installation and operation of the Breckwell, SW 1.8 wood heater. This heater meets the 2020 U.S. Environmental Protection Agency’s crib wood emission limits for wood heaters sold after May 15, 2020. Under specific test conditions this healer has been shown to deliver heal at rates ranging from 9,487 lo 33,050 Btu/hr output (*1 .8 g/hr and an efficiency of 65.5%). Note: The BTU ratings mentioned above are based on the EPA test protocol burning dimensional Douglas Fir lumber. Our advertised BTU’s are based on the first hour of operation al high burn rate burning cordwood.
| CAUTIONS: |
|
Note: Register your product online at www.usstove.com or download the free app today. This app is available only on the App Store for iPhone and iPad. Search US Stove. Save your receipt with your records for any claims.
INSTALLATION CHECKLIST
Your Wood Stove should be installed by a qualified installer only. An NFI qualified Installer can be found at www.nficerlified.org/public/find-an-nfi-pro/
CUSTOMER SERVICE
1-800-750-2723 ext 5050
Text to 423-301-5624
Email to: [email protected]
COMMISSIONING CHECKLIST
This checklist is to be completed in full by the qualified person who installs this unit. Keep this page for future reference.
Failure to install and commission according to the manufacturer1s instructions and complete this checklist will invalidate the warranty.
| Customer Name: | Telephone Number: |
| Address: | |
| Model: | |
| Serial Number: | |
| Installation Company Name: | Phone Number: |
| Installation Technician’s Name: | License Number: |
DESCRIPTION OF WORK
Location of installed appliance:
Chimney System: New Chimney System Yes No If yes, Brand Ino, Date of inspection of the existing chimney system:
COMMISSIONING
Confirm Hearth Pad Installation as per Installation Instructions ……………………
Confirm proper placement of internal parts ……………………………………………
Check soundness of door gasket and door seals ……………………………………………….
Confirm clearances to combustibles as per installation instructions in this manual ……. , ……………….
Check the operations of the air controls ………………………………………………….
Confirm all flue pipe and chimney system are secure and sealed ………………………….
Confirm the stove properly drafts when fired …………………………………………………….
Check to ensure a CO alarm is installed as per local building codes and is functional ………………………………..
Explain the safe operation, proper fuel usage, cleaning and routine maintenance requirements ………………..
Declaration of Completion: As the qualified person responsible for the work described above, I confirm that the appliance as associated work has been installed as per manufacturer’s instructions and following any applicable building and installation codes.
SAFETY NOTICE |
|
WARNING: |
| VERIFY THAT THE APPLIANCE IS PROPERLY INSTALLED BEFORE FIRING FOR THE FIRST TIME. THIS APPLIANCE SHOULD BE INSTALLED BY A QUALIFIED INSTALLER TO ENSURE A CORRECT AND SAFE INSTALLATION. NEVER USE TEMPORARY OR MAKESHIFT COMPROMISES DURING THE INSTALLATION. |
WARNING: |
| PROVIDE ADEQUATE COMBUSTION AIR TO THE ROOM WHERE THE APPLIANCE IS INSTALLED. RESTRICTING COMBUSTION AIR WILL RESULT IN A LAZY FIRE WHICH CAUSES SOOT OR CREOSOTE BUILDUP AND GREATLY REDUCES EFFICIENCY. |
WARNING: |
| DO NOT CONNECT A WOOD BURNING APPLIANCE TO AN ALUMINUM TYPE B GAS VENT. THIS IS NOT SAFE. USE APPROVED MASONRY OR A UL 103 HT (U.S.) LISTED RESIDENTIAL TYPE AND BUILDING HEATING APPLIANCE CHIMNEY. USE A 6″ DIAMETER CHIMNEY, THAT IS HIGH ENOUGH TO CREATE SUFFICIENT DRAFT. |
NATIONAL FIREPLACE INSTTITUTE CERTIFIED
| We recommend that our wood burning hearth products be Installed and serviced by professionals who are certified In the U.S by the National Fireplace lnstitute0 (NFI) as NFI Woodburn)ng Specialists or who are certified In Canada by Wood Energy Technical Tra1n1ng {WETT).![]() |
US Stove highly recommends your stove be installed by a qualified NFI (US) or WETT (Canada) technician. To find the nearest qualified installer, go to:
https://nficertified.org,
https://www.wettinc.ca/
INSTALLATION
FIREBRICK INSTALLATION

BLOWER INSTALLATION
- Remove blower assembly from packaging and check for any damage, Notify your dealer if any damages exist.
- Securely mount the blower to the heater with the two (2) screws and washers provided.
| WARNING: RISK OF FIRE |
|
CLEARANCES TO COMBUSTIBLES
| WARNING: RISK OF FIRE |
| OBSERVE THE MINIMUM CLEARANCES TO COMBUSTIBLES STATED IN THIS MANUAL AND ON THE LABELS ATTACHED TO THE APPLIANCE. DO NOT STORE WOOD, ANY TYPE OF FLAMMABLE VAPORS OR LIQUIDS, PLACE FURNITURE, RUGS, CARPET, CLOTHING OR OTHER COMBUSTIBLE OBJECTS WITHIN THE CLEARANCE AREA. |
FLOOR PROTECTOR
A solid non-combustible floor, concrete or solid masonry, must extend 6″ (153 mm) to either side of the body of the appliance and 17″ (432 mm) in front of the face of the appliance. When combustible flooring falls within these minimum dimensions, it must be covered with a listed ‘ floor protector, with an R-Value of at least 1.4. Check local building codes if you want to finish the floor covering with grouted ceramic floor tile.

| Fireplace Opening Dimensions | ||||
| A | Minimum Width | 29}1 | 737mm | |
| B | Minimum Height | 23″ | 585mm | |
| C | Minimum Depth | 14” | 356mm | |
| Clearance to Combustibles | ||||
| D | Min. Distance to Sidewall | 9″ | 229mm | |
| E | Min. Distance to Top Trim | 14″ | 356mm | |
| F | Min. Distance to Mantle | 19″ | 483mm | |
| G | Min. Distance to Side Trim | 9″ | 229mm | |
| H | Min. Floor Protector Front | 1T’ | 432mm | |
| I | Min. Floor Protector Side | USA | 6″ | 153mm |
| Canada | 8″ | 204mm | ||
FIREPLACE CONDITION AND ZERO CLEARANCE REQUIREMENTS
A masonry fireplace must meet minimum code requirements, National Fire Protection Association, (NFPA) 211, or the equivalent for a safe installation. Contact a professional, licensed installer, your local building inspector or the local fire authority for the requirements in your area. Your insurance company should be able to recommend a qualified inspector.
Inspections should include the following:
- Condition of the fireplace and chimney, A masonry fireplace and chimney MUST be inspected prior to installation of this appliance. They must be free from cracks, loose mortar, creosote deposits, blockage or other evidence of deterioration. If found, these items MUST be repaired prior to installation. DO NOT REMOVE BRICKS or MORTAR from existing fireplace when installing this unit.
- Chimney Size. Minimum chimney size is 6″ (153 mm) diameter. Maintain a 15 ft. minimum overall chimney height measured from the top of appliance to the top of the chimney. Chimneys must extend at least 3 ft. above the roof and at least 2 ft. above the highest point within 10 ft. of the chimney top. See the Chimney Connections section of this manual.
- Zero Clearance or Factory Built Fireplaces. These fireplaces and chimneys must meet the minimum code specifications as note above. (Additional state or local codes might also be required.) Factory built zero clearance fireplaces must be listed and suitable for solid fuel use. Chimneys must be at least 7 inch diameter to accommodate a required, continuous, stainless steel liner from the appliances’ flue collar to the top termination of the chimney. Only detachable parts that can be easily replaced ( ie damper parts, screens, and doors) are to be removed. Cutting of any sheet metal in the fireplace is prohibited. The removal of any parts that render the fireplace unusable for burning solid fuel requires a permanent label to be affixed by the installer that states the fireplace is unsuitable for burning solid fuel unless the missing parts are replaced and the fireplace is restored to its original, certified condition ..
- Chimney Caps. Mesh type chimney caps and spark arrestors must be able to be removed for regular inspection and cleaning. Otherwise the mesh should be removed to prevent possible plugging. Check your local fire and building codes.
- Chimney Liner. The chimney must be suitable for burning solid fuel. Install a continuous stainless steel liner from the flue collar of the appliance to the top of the chimney. Liner must be Listed to UL1777.
- Combustible Material Clearances. The fireplace and chimney must be inspected to make sure there is adequate clearance to combustible materials. This includes the top, side, front, and back as well as concealed combustibles in the chimney and mantle areas. Your local building inspector or fire authority should have information on whether older fireplace meet current codes and are suitable for use.
Makeup Air Requirements: This appliance requires an adequate supply of makeup air to operate safely and efficiently. In some areas, this is a building code requirement. If any of the following conditions are evident, a makeup air supply MUST be installed.
- Existing fuel-fired equipment shows evidence of back puffing1 smoke roll-out, inefficient operation, or excessive smell in the living area.
- The building is constructed with a well-sealed vapor barrier, tight fitting windows, or has powered exhaust fans.
- Excessive condensation on windows in the winter.
- The building has a ventilation system installed.
- If, once installed, the solid-fuel appliance does not draw steadily, burns poorly or inefficiently, backdrafts or experiences back-puffing when adding fuel.
NOTE: Opening a window or door alleviates any of the above problems or symptoms.
VENTING (DRAFT) REQUIREMENTS
WARNING: |
| RISK OF FIRE – EXCESSIVE DRAFT CAN CAUSE OVERFIRING AND A POSSIBLE STRUCTURE FIRE. DO NOT OPERATE THIS APPLIANCE WITH THE FLUE DRAFT EXCEEDING 0.06 in. w.c. (0.1 Pa). |
The chimney flue is a critical component to the proper and efficient operation of any heating appliance. Heating appliances do not create draft, draft is provided by the chimney. This appliance requires a draft of 0.05″ water column (0.1 Pa) at the flue collar. To achieve proper draft, your chimney must meet three minimum height requirements; minimum height from top of appliance (15 ft. total height from top of appliance), minimum height above roof penetration (3 ft.), and minimum height (2 ft.) above highest point of roof within a 10 ft. diameter from the chimney. The chimney must also meet minimum and maximum cross sectional requirements. For that reason a continuous 611 stainless steel liner from the flue collar to the top of the chimney is required. A stainless steel adapter is recommended for fastening the stainless steel liner to the flue collar. The male (or crimped) end of the adapter must be installed inside the flue collar to allow condensation or creosote in the liner to drain back into the firebox. Chimney liners and/or adapters must be permanently fastened using a minimum of three (3) screws at each connection. Chimneys outside of the home or on an exterior wall are difficult to keep at operating temperatures should you have a problem with inadequate draft, you should contact a licensed heating and cooling contractor for assistance in solving the problem. The manufacturer cannot be held responsible for external factors leading to less than optimal drafting.
| WARNING: RISK OF FIRE |
| DO NOT ALLOW COMBUSTIBLE MATERIALS (CARPET, FURNITURE, FUELS) TO BE PLACED ON OR COVER THE FLOOR PROTECTOR. ALLCOMBUSTIBLE MATERIALS MUST REMAIN OUTSIDE OF THE MINIMUM CLEARANCE DIMENSIONS. |
WARNING: |
| ALWAYS CONNECT THIS APPLIANCE TO A CHIMNEY THAT VENTS TO THE OUTSIDE. NEVER VENT INTO ANOTHER ROOM, CRAWL SPACE, ATTIC, OR INSIDE A BUILDING. DO NOT CONNECT THIS UNIT TO A CHIMNEY FLUE SERVING ANOTHER APPLIANCE. |

- Clean the fireplace opening properly disposing of any ashes in a closed metal container. See Safety Instructions.
- Install a 6″ (153 mm) minimum diameter, continuous stainless steel chimney liner into the existing chimney. The liner must extend to the top of the existing chimney. Use only listed chimney liners that meet UL 1777(US) or ULC S635 (Canada). 3. Remove or lock the fireplace damper in the open position. Note: Masonry or damper plate may be removed to accommodate the chimney liner provided this does not weaken any structural components of the existing fireplace or chimney nor reduces protection of combustible materials required by national building codes. Consult with your local building or fire authority before doing this.
- Uncrate the appliance, remove all packing materials, and any items stored in the firebox.
- WARNING: Any fireplace which has had parts removed or modified to accommodate the installation of this appliance MUST have a warning plate permanently installed in a visible location stating that the fireplace is unfit for use with solid fuel. This unit came with a metal warning label. Permanently attach the warning plate to a visible location in the fireplace. After choosing a visible location in the fireplace, permanently attach the warning plate by screwing or nailing it into place. Note: Use the holes in the label to mark and predrill the holes needed for attaching the label.
- Position the appliance into the fireplace opening until the top lip of the air jacket is flush with the fireplace facing.
- Level the appliance with the adjusting screws at the rear of the appliance.
- Connect the chimney liner to the appliance using a stainless steel adapter and securing with a minimum of three (3) sheet metal screws. The liner MUST be attached with the male (or crimped) end of the adapter inside the flue collar of the appliance to allow condensation and/or creosote to drain back into the firebox.
This appliance must be connected to a listed Stainless Steel Liner, that meets UL 1777, which extends from the collar to the chimney cap according to the specifications listed on the previous pages. Take into account the chimney’s location to ensure it is not too close to neighbors or in a valley which may cause unhealthy or nuisance conditions.
CHIMNEY DRAFT
NOTE: A DRAFTREADING OF0.05[12.45] to0.06[14.94] (Water Column[Pascals]) IS REQUIRED FOR PROPER BURNING OF THIS APPLIANCE.
Draft is a function of the chimney, NOT THE APPLIANCE – Do not expect the appliance to draw. Smoke spillage into the house or excess buildup of condensation or creosote in the chimney are warnings that the chimney is NOT functioning properly. Correct the problem before using the appliance. Following are some possible causes for improper draft.
- The connector pipe may be pushed into the chimney too far, stopping the draft.
- If the chimney is operating too cool, water will condense in the chimney and run back into the appliance. Creosote formation will be rapid and may block the chimney. Operate the appliance at a fire level high enough to keep the chimney warm preventing this condensation.
- If the fire burns well but sometimes creates excessive smoke or burns slowly, it may be caused by the chimney top being lower than another part of the house or a nearby tree. The wind blowing over a house or tree falls on top of the chimney like water over a dam, beating down the smoke. The top of the chimney should be at least three (3) feet above the roof and be at least two (2) feet higher than any point of the roof within ten (10) feet.

IMPORTANCE OF PROPER DRAFT
Draft is the force which moves air from the appliance up through the chimney. The amount of draft in your chimney depends on the length of the chimney, local geography, nearby obstructions and other factors. Too much draft may cause excessive temperatures in the appliance. Inadequate draft may cause backpuffing into the room and “plugging” of the chimney. Inadequate draft will cause the appliance to leak smoke into the room through appliance and chimney connector joints. An uncontrollable burn or excessive temperature indicates excessive draft.
Chimneys perform two functions:
- As a means of exhausting smoke and flue gases which are the result of fuel combustion.
- The chimney provides “draft,” which allows oxygen to be continuously introduced into the appliance, so that proper combustion is possible. This stove relies on natural draft to operate.
NOTICE: Always provide a source of fresh air into the room where the stove is located. Failure to do so may result in air starvation of other fuel burning appliances and the possible development of hazardous conditions, fire, or death.
IMPORTANT INSTALLATION POINTS
- Size chimney flue to appliance collar. This stove requires a minimum 6’i diameter flue.
- Never connect this unit to a chimney serving another appliance.
- The chimney must meet all minimum height requirements.
- Never use a chimney to ventilate a cellar or basement. Contact your local building authority for approved methods of installation and any necessary permits and/ or inspections.
WARNING: |
|
MASONRY CHIMNEY
Before using an existing masonry chimney1 clean the chimney, inspect the flue liner, and make any repairs needed to be sure it is safe to use. As mentioned previously, this appliance requires a continuous stainless steel liner from the appliance collar to the chimney cap. Make repairs before attaching the stove. The connector stove pipe and fittings you will need to connect directly to a masonry chimney are detailed in the installation instructions. If the fireplace chimney must go through a combustible wall before entering the main chimney, consult a qualified mason or chimney dealer regarding proper materials that meet all local building and fire authority codes. The installation must conform to local building and fire codes and latest edition of NFPA 211. If there is a cleanout opening in the base of the chimney, close it tightly.
REQUIRED ACCESSORIES
This unit requires the use of a supported flashing to surround the appliance. Depending on the size of the fireplace you may choose between a SA 18SF or an SA18LF. If both are too large then they can be trimmed down to not extend past the gap.
| Flashing Set Dimensions | ||
| SW18SF | 28in. X45 | 711mm X 1143mm |
| SW18LF | 32in. X 49in. | 813mm X 1245mm |
OPERATION INSTRUCTIONS
NEVER OPERATE THIS PRODUCT WHILE UNATTENDED
| OPERATING SAFETY PRECAUTIONS |
|
CAUTIONS: HOUSE FIRE HAZARDS |
|
CAUTIONS: |
| CHILDREN SHOULD BEALERTEDTOTHE HAZARDS FROM HIGH SURFACE TEMPERATURES. NEVER LEAVE SMALL CHILDREN UNSUPERVISED WHEN THEY ARE IN THE SAME ROOM AS THE APPLIANCE DURING OPERATION. TO PREVENT BURNS,ALWAYS WEAR PROTECTIVE CLOTHING, LEATHER HEARTH GLOVES, AND EYE PROTECTION WHEN REFUELING OR FIRE MAINTENANCE. ALWAYS BE AWARE OF HEATED SURFACES. HEAT RADIATING FROM THE APPLIANCE CAN POTENTIALLY DISCOLOR, MELT, OR EVEN IGNITE COMBUSTIBLE MATERIALS. KEEP ALL COMBUSTIBLE MATERIALS WELL AWAY FROM THE HEATER! |
WARNING: EXPLOSION HAZARD |
|
WOOD STOVE UTILIZATION
Your heating appliance was designed to burn well seasoned natural wood only; no other materials should be burned. Any type of well seasoned natural wood may be used in your stove1 but specific varieties have better energy yields than others. Higher efficiencies and lower emissions generally result when burning air dried seasoned hardwoods, as compared to softwoods or too green or freshly cut hardwoods. The following resources can assist in learning the burn characteristics of various species of wood:
http://firewoodresource.com/firewood-btu-ratings/:
or
https://forestry.usu.edu/forest-products/wood-heating
The operation of this wood heater in a manner inconsistent with the owner’s manual will void your warranty and is also against federal regulations. Waste and other flammable materials should not be burned in your stove. DO NOT BURN:
- Garbage;
- Lawn clippings or yard waste;
- Materials containing rubber, including tires;
- Materials containing plastic;
- Waste petroleum products, paints or paint thinners, or asphalt products;
- Materials containing asbestos;
- Construction or demolition debris;
- Railroad ties or pressure-treated wood;
- Manure or animal remains;
- Saltwater driftwood or other previously salt water saturated materials;
- Unseasoned wood; or
- Paper products, cardboard, plywood, or particleboard. The prohibition against burning these materials does not prohibit the use of fire starters made from paper, cardboard, sawdust, wax, and similar substances to st~rt a fire in an affected wood heater,
Burning these materials may result in the release of toxic fumes or render the heater ineffective and cause smoke. Deadwood lying on the forest floor should be considered wet and requires full seasoning time. Standing deadwood can usually be considered to be about 2/3 seasoned. Smaller pieces of wood will dry faster. All logs exceeding 6″ in diameter should be split. The wood should not be stored directly on the ground. Air should circulate through the logs. A 24″ to 48″ air space should be left between each row of logs, which should be placed in the sunniest location possible. The upper layer of wood should be protected from the element but not the sides. A good indicator of if the wood is ready to burn is to check the piece ends. If cracks are radiating in all directions from the center then the wood should be dry enough to burn. If your wood sizzles in the fire, even though the surface is dry, it may not be fully cured and should be seasoned longer. It is EXTREMELY IMPORTANT that you use DRY WOOD only in your wood stove. The wood should have dried for 9 to 15 months, such that the humidity content (in weight) is reduced below 20% of the weight of the log. It is very important to keep in mind that even if the wood has been cut for one, two, or even more years, it is not necessarily dry, if it has been stored in poor conditions. Under extreme conditions, it may rot instead of drying. This point cannot be overstressed; the vast majority of the problems related to the operation of a wood stove is caused by the fact that the wood used was too damp or had dried in poor conditions. These problems can be:
- ignition problems
- creosote build-up causing chimney fires
- low energy yield
- blackened windows
- incomplete log combustion
Do not burn manufactured logs made of wax impregnated sawdust or logs with any chemical additives.
Manufactured logs made of100% compressed sawdust can be burned, but be careful burning too much of these logsat the same time. Start with one manufactured log and see how the stove reacts. You can increase the number of logs burned at a time but make sure the temperature never rises higher than 475 °F (246 °C) on a magnetic thermometer for installation on single wall stove pipes or 900 °F (482 °C) on a probe thermometer for installation on double wall stove pipe. The thermometer should be placed about 18″ (457 mm) above the stove. Higher temperatures can lead to overheat and damage your stove.
TESTING YOUR WOOD
- When the stove is thoroughly warmed, place one piece of split wood (about five inches in diameter) parallel to the door on the bed of red embers.
- Keep the air control fully open and close the door. If the wood ignites within 90 seconds from the time it was placed in the stove, your wood is correctly dried. If ignition takes longer, your wood is damp.
- If your wood hisses and water or vapor escapes at the ends of the piece, your wood is soaked or freshly cut (green). Do not use this wood in your stove. Large amounts of creosote could be deposited in your chimney, creating potential conditions for a chimney fire.
TAMPER WARNING
This wood heater has a manufacturer-set minimum low burn rate that must not be altered. It is against federal regulations to alter this setting or otherwise operate this wood heater in a manner inconsistent with operating instructions in this manual.
EFFICIENCIES
Efficiencies can be based on either the lower heating value (LHV) or the higher heating value (HHV) of the fuel. The lower heating value is when water leaves the combustion process as a vapor, in the case of woodstoves the moisture in the wood being burned leaves the stove as a vapor. The higher heating value is when water leaves the combustion process completely condensed. In the case of wood stoves this would assume the exhaust gasesare room temperature when leaving the system, and therefore calculations using this heating value consider the heat going up the chimney as lost energy, Therefore, efficiency calculated using the lower heating value of wood will be higher than efficiency calculated using the higher heating value. The best way to achieve optimum efficiencies is to learn the burn characteristic of you appliance and burn well-seasoned wood. Higher burn rates are not always the best heating burn rates; after a good fire is established a lower burn rate may be a better option for efficient heating. A lower burn rate slows the flow of usable heat out of the home through the chimney, and it also consumes less wood.
INITIAL BURNS TO CURE PAINT
BECAUSE OF THE HIGH OPERATING TEMPERATURES, THIS APPLIANCE IS COATED WITH A SPECIAL HIGH TEMP PAINT WHICH REQUIRES A SERIES OF LOW TO MEDIUM BURNS TO FULLY CURE FOR DURABILITY AND A LIFETIME OF SERVICE.
ATTENTION: |
| THE PAINT ON YOUR APPLIANCE IS DURABLE BUT WILL NOT STAND ROUGH HANDLING OR ABUSE. THE PAINT USED MAY GIVE OFF SMOKE AND/OR AN ODOR DURING THE FIRST FEW FIRES. THIS WILL OCCUR UNTIL THE PAINT HAS CURED. ANIMALS / PEOPLE WITH LUNG PROBLEMS SHOULD NOT BE PRESENT DURING THE CURINGPROCESS. BUILD SMALL FIRES AT FIRST TO HELP THIS PROCESS AND OPEN WINDOWS AND DOORS AS NEEDED TO CLEAR THE SMOKE AND ODOR. IF THE APPLIANCE IS OVERFIRED, THE PAINT WILL DISCOLOR, WHEN INSTALLING YOUR UNIT, TAKE CARE IN HANDLING. CLEAN WITH SOAP AND WATER WHEN THE APPLIANCE IS NOT IN USE. DO NOT USE ANY ACIDS, ABRASIVE CLEANERSOR SCOURING SOAP AS THESE SOLVENTS WEAR AND DULL THE FINISH. |
Proper curing of the high-temp paint requires a series of three initial burns. The appliance should be allowed to cool off between each burn. The first two burns should be small fires and low temperatures (250°F) for a duration of 20 minutes each. The third fire should be at a temperature of approximately 500°F for 20 minutes. Provide adequate cross ventilation to clear any smoke or odor caused by initial firings.
Notice: Use solid wood fuel only! Do nol burn garbage, or flammable fluids. Do not use coal. This appliance is not designed to accommodale lhe air flow (draft) required to properly burn coal or coal producls. Do not elevate the fire using grales or irons. Build lhe fire direclly on lhe firebrick.
FUELING INSTRUCTIONS
This wood stove has been certified by the US EPA to meet strict 2020 guidelines. To ensure this unitproduces the optimal minimum emissions it is critical that only well-seasoned cordwood is burned (see the “Fuel Recommendations” section of this manual).Burning unseasoned wet wood only hurts your stoves efficiency and leads to accelerated creosote buildup in your chimney. Be considerate of the environment and only burn dry wood.
WARNING: RISK OF FIRE. |
| KEEP THE FEED DOOR TIGHTLY CLOSED AT ALL TIMES EXCEPT WHEN TENDING THE FIRE. DO NOT OPERATE THE UNIT WITH BROKEN GLASS THIS WILL RESULT IN AN OVERFIRE SITUATION. |
For a cold start-up, place 3 to 4 pieces of newspaper into the firebox. On top of the newspaper, lay 2 lbs of kindling in random placement to ensure airflow through the kindling. On top of the kindling, place approximately 3 to 4 lbs of small pieces of cordwood. NOTE: Use smaller pieces of wood during start-up and a high burn rate to increase the stove temperature.
Rotate the air control fully down. Light the newspaper and close the door. Once the kindling has burned down toa starter coal bed, load the unit with approximately 12 to 13 lbs of fuel for the first high burn load.
After the first high burn load and the stove is well warmed up, adjust the unit as needed for a medium or low burn setting.
For a medium burn, once the high burn fuel load is burned down to an established coal bed, load the unit with 14 to 15 lbs of cordwood and close the door immediately.
Leave the air control fully open (in the “HI” position) for 15 minutes. After 15 minutes rotate the air control to the medium position (midway between the 11 LowJJ and rrHi” position).
For a low burn setting once the high burn (or medium) fuel load is burned down to an established coal bed, load the unit with 14 to 15 lbs of cordwood and close the door immediately. Leave the air control fully open (in the “HI” position) for 15 minutes. After 15 minutes begin to rotate the air control to the “Low” postion (air control rotated fully up). NOTE: Do not close the air too quickly. Closing the air too quickly will cause the unit to smoke.
WARNINGS: |
|
VISIBLE SMOKE
The amount of visible smoke being produced can be an effective method of determining how efficiently the combustion process is taking place in the given settings.
Visible smoke consists of unburned fuel and moisture leaving your stove. Learn to adjust the air settings of your specific unit to produce the smallest amount of visible smoke. Wood that has not been seasoned properly and has a high wood moisture content will produce excess visible smoke and burn poorly.
AIR TUBES
The air tubes assembled in this unit are designed to provide an accurate mix of secondary air to ensure the highest efficiency. Any damage or deterioration of these tubes may reduce the efficiency of combustion, The air tubes are held in position by screws or snap pins. Locate these to either side of the tube and remove it to allow the tube to be removed and replaced.
BLOWER OPERATION
WARNING: RISK OF FIRE. |
| DO NOT ROUTE THE BLOWER POWER SUPPLY CORD NEAR OR ACROSS HOT SURFACES! |
The variable-speed blower circulates air warmed by the firebox into the living area to distribute the heat more evenly. The blower control knob is located on the side of the blower housing. Turn the knob clockwise to turn the blower on. The speed is controlled by turning the knob clockwise for slower speeds and counter-clockwise for faster speeds. To turn the blower off, turn the speed control knob fully counter-clockwise. It is recommended to turn the blower off when the unit is not in operation, The blower should be removed at the beginning of every 11burn” season and air-blown clean, removing any dust or build-up.
NOTE: The tempurature sensor starts the blower when the stove’s temperature reaches 120°F (49°C) and cuts the electrical contact when the temperature reaches 90°F (32°C),
CHIMNEY MAINTENANCE
NEVER OPERATE THIS PRODUCT WHILE UNATTENDED
CAUTION: |
| DO NOT OVERFIRE APPLIANCE. YOU ARE OVERFIRING IF ANY PART OF THE APPLIANCE GLOWS RED. CLOSE THE DOOR AND SHUT DAMPER IMMEDIATELY TO REDUCE THE AIR SUPPLY AND SLOW DOWN THE FIRE. |
CAUTION: |
| SLOW BURNING FIRES FOR EXTENDED USE OR BURNING GREEN WOOD MAY CAUSE EXCESSIVE CREOSOTE BUILD-UP. IGNITION OF CREOSOTE OR OVERFIRING COULD CAUSE A CHIMNEY FIRE. CHIMNEY FIRES BURN EXTREMELY HOT AND MAY IGNITE SURROUNDING COMBUSTIBLE MATERIALS. IN CASE OF A CHIMNEY FIRE, CALL THE FIRE DEPARTMENT IMMEDIATELY! |
CREOSOTE FORMATION AND NEED FOR REMOVAL
When wood is burned slowly, it produces tar and other organic vapors, which combine with expelled moistureto form creosote. The creosote vapors condense in the relatively cool chimney flue of a slow-burning fire. As a result, creosote residue accumulates on the flue lining.
When ignited this creosote makes an extremely high temper fire. The chimney connector and chimney should be inspected at least once every two months during the heating season to determine if a creosote build-up has occurred. If creosote has accumulated (3 mm or more)) it should be removed to reduce the risk of a chimney fire. We strongly recommend that you install a magnetic thermometer on your smoke exhaust pipe, approximately 18″ above the stove. This thermdmete·r will indicate the temperature of your gas exhaust fumes within the smoke exhaust system. The ideal temperature for these gases is somewhere between 275°F and 500°F. Below these temperatures, the build-up of creosote is promoted. Above 500°F, heat is wasted since a too large quantity is lost into the atmosphere.
TO PREVENT CREOSOTE BUILD UP
- Always burn dry wood. This allows clean burns and
- higher chimney temperatures, therefore less creosote deposit.
- Leave the air control fully open for about 5 min. every time you reload the stove to bring it back to proper operating temperatures. The secondary combustion can only take place if the firebox is hot enough. Always check for creosote deposit once every two months and have your chimney cleaned at least once a year.
- If a chimney or creosote fire occurs, close all dampers immediately. Wait for the fire to go out and the heater to cool, then inspect the chimney for damage. If no damage resultsi perform a chimney cleaning to ensure no more creosote deposits is remaining in the chimney.
ATTENTION: |
| CREOSOTE OR SOOT MAY BUILD UP IN THE CHIMNEY LINER OR CHIMNEY AND CAUSE A HOUSE/BUILDING FIRE. INSPECT THE CHIMNEY AND CHIMNEY LINER TWICE MONTHLY DURING THE HEATING SEASON AND CLEAN IF NECESSARY. |
CAUTION: |
| A CHIMNEY FIRE MAY CAUSE IGNITION OF WALL STUDS OR RAFTERS WHICH WERE ASSUMED TO BE A SAFE DISTANCE AWAY FROM THE CHIMNEY. IF A CHIMNEY FIRE OCCURS, HAVE YOUR CHIMNEY INSPECTED BY A QUALIFIED EXPERT BEFORE USING AGAIN. |
ASH REMOVAL & DISPOSAL
CAUTION: |
|
Whenever ashes get 2 to 3 inches deep in your firebox or ash pan, and when the fire has burned down and cooled, remove excess ashes. Leave an ash bed approximately 1 inch deep on the firebox bottom to help maintain a hot charcoal bed. Ashes should be placed in a metal container with a tight-fitting lid. The closed container of ashes should be placed on a non-combustible floor or the ground, away from all combustible materials, pending final disposal. The ashes should be retained in the closed container until all cinders have thoroughly cooled.
SMOKE & CARBON MONOXIDE (CO) MONITORS
Burning wood naturally produces smoke and CO emissions. CO is a poisonous gas when exposed to elevated concentrations for extended periods. While the modern combustion systems in heaters drastically reduce the amount of CO emitted out the chimney, exposure to the gases in closed or confined areas can bedangerous. Make sure your stove gaskets and chimney joints are in good working order and sealing properly to ensure unintended exposure. It is recommended that you use both smoke and CO monitors in areas having the potential to generate CO.
GLASS CARE
- Inspect and clean the glass regularly to detect any cracks. If you spot one, turn the stove off immediately.
- Do not abuse the glass door by striking or slamming shut. Do not use the stove if the glass is broken. If the glass on your stove breaks, replace only with the glass supplied from your heater dealer. Never substitute other materials for the glass.
- To replace the glass, remove the screws retaining the glass moldings inside the door. Remove the moldings and replace the damaged piece with a new one. Perform the procedure backward after replacing it. When replacing the glass, you should change the glass gasket to make sure you keep it sealed.
- Never wash the glass with a product that may scratch. Use a specialized product, available in the stores where wood stoves are sold. The glass should be washed only when cold.
GLASS REPLACEMENT
- Ensure appliance is not in operation and is thoroughly cooled.
- Remove screw and glass clip, (See parts list and diagram.)
- Lift glass out from glass clip.
- Remove old gasket and clean glass.
- Replace new gasket starting at the bottom of glass working along edges, being sure to center gasket channel on glass.
- Trim to length and butt ends together.
- Replace glass into door, being sure not to overtighten screw and clip.
After extensive use, the gasket material which provides glass and door seal may lose it’s resiliency and will need to be replaced. Inspect glass and door gaskets periodically to ensure proper seal; if gaskets become frayed or worn, replace immediately. This unit’s door uses a 1″ diameter rope gasket.
CAUTION: |
| Replace glass only with 5mm high temperature ceramic glass of the proper size. Do not use tempered glass or double thickness window glass. |
WIRING DIAGRAM

HOW TO ORDER REPAIR PARTS
For Parts Assistance Call: 800-750-2723 Ext 5051 or Email: [email protected]
The information in this owner’s manual is specific to your unit. When ordering replacement parts the information in this manual will help to ensure the correct items are ordered. Before contacting customer service write down the model number and the serial number of this unit. That information can be found on the certification label attached to the back of the unit. Other information that may be needed would be the part number and part description of the item(s) in question. Part numbers and descriptions can be found in the “Repair Parts” section of this manual. Once this information has been gathered you can contact customer service by phone 1·800-750-2723 Ext 5051 or Email [email protected].
| Model Information | |
| Model Number | |
| Serial Number | |
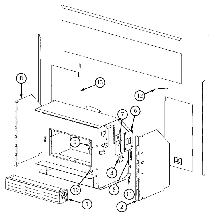
REPAIR PARTS

| Key | Part# | Description | Qty |
| 1 | 893613 | Slower Assembly | 1 |
| 2 | 893617 | Right Cabinet | 1 |
| 3 | 893261.M | Damper Slide | 1 |
| 4 | 29301 | Slide Brace | 2 |
| 5 | 893261.J; | Wood Handle | 1 |
| 6 | 29300 | Cover | 1 |
| 7 | 29298 | Damper | 1 |
| 8 | 611007 | Left Cabinet | 1 |
| 9 | 892294 | Hinge Pin | 2 |
| 10 | 40571 | Hinge Block | 2 |
| 11 | 83730 | Leveling Bolt | 2 |
| 12 | 83913 | Extension Spring | 2 |
| 13 | SA18SF | Flashing Kit (Optional) | I |
| SA18LF | Large Flashing Kit (Optional) |
IN ORDER TO MAINTAIN WARRANTY, COMPONENTS MUST BE REPLACED USING ORIGINAL MANUFACTURERS PARTS PURCHASED THROUGH YOUR DEALER OR DIRECTLY FROM THE APPLIANCE MANUFACTURER. USE OF THIRD PARTY COMPONENTS WILL VOID THE WARRANTY.
REPAIR PARTS

| Key | Part# | Description | Qty |
| 1 | 40904 | Cast Door | 1 |
| 2 | 88174 | Flat Glass Gasket | 5ft. |
| 3 | 893618 | Glass | 1 |
| 4 | 88066 | 5/8″ Rooe Gasket | 6ft |
| 5 | 893614 | Glass Clamp | 4 |
| 6 | 893241- us | Door Handle Kit | 1 |

| Key | Part# | Description | Qty |
| 1 | 893619 | Half Firebrick /Notched\ | 1 |
| 2 | 891989-1 | Firebrick 13.33 x 91 | 8 |
| 3 | 891989-2 | Firebrick 11-1 /4 x 2-1/41 | 1 |
| 4 | 8930\0 | Half Firebrick /Notched! | 1 |
| 5 | 891414 | Half Firebrick | 1 |
| 6 | 89066 | Firebrick 14-1 /2 x 91 | 9 |
| 7 | 86963 | Secondarv Tube | 3 |
| 8 | 88158 | Ceramic Fiber Board /Front\ | 1 |
| 9 | 88159 | Ceramic Fiber Board1Rern1 | I |
| 10 | 88160 | Blanket Insulation | 1 |
SERVICE RECORD
It is recommended that your heating system is serviced regularly and that the appropriate Service Interval Record is completed.
SERVICE PROVIDER
Before completing the appropriate Service Record below, please ensure you have carried out the service as described in the manufacturer’s instructions. Always use the manufacturer’s specified spare part when replacement is necessary.

www.nficerlified.org,
















