Ventis HE275CF Wood Fireplace VB00017 User Manual

CONTACT LOCAL BUILDING OR FIRE OFFICIALS ABOUT RESTRICTIONS AND INSTALLATION INSPECTION REQUIREMENTS IN LOCAL AREA.
READ THIS ENTIRE MANUAL BEFORE INSTALLATION AND USE OF THIS WOOD FIREPLACE. FAILURE TO FOLLOW THESE INSTRUCTIONS COULD RESULT IN PROPERTY DAMAGE, BODILY INJURY OR EVEN DEATH.
READ AND KEEP THIS MANUAL FOR REFERENCE
THANK YOU FOR CHOOSING THIS WOOD FIREPLACE
If this fireplace is not installed properly, combustible materials near it may overheat and catch fire.
To reduce the risk of fire, follow the installation instructions in this manual.
As one of North America’s largest and most respected wood stove and fireplace manufacturers, Stove Builder International takes pride in the quality and performance of all its products.
The following pages provide general advice on wood heating, detailed instructions for safe and effective installation, and guidance on how to get the best performance from this fireplace.
It is highly recommended that this wood burning hearth product be installed and serviced by professionals who are certified by a «Qualified Agency» such as NFI (National Fireplace Institute®) or CSIA (Chimney Safety Institute of America) in the United States and in Canada by WETT (Wood Energy Technology Transfer) or in Quebec by APC.
Contact local building or fire officials about restrictions and installation inspection requirements in your local area.
A building permit might be required for the installation of this fireplace and the chimney that it is connected to. It is also highly recommended to inform your home insurance company.
Please read this entire manual before installing and using this fireplace.
A primary alternative heat source should be available in the home. This heating unit may serve as a supplementary heat source. The manufacturer cannot be responsible for additional heating costs associated with the use of an alternative heat source.
ONLINE WARRANTY REGISTRATION
If the unit requires repairs during the warranty period, proof of purchase must be provided. The purchase invoice must be kept. The date indicated on it establishes the warranty period. If it cannot be provided, the warranty period will be determined by the date of manufacture of the product. It is also highly recommended to register the warranty online at

http://www.occanada.com/en/service-support/warranty/warranty-registration
Registering the warranty will help to quickly find the information needed on the unit.

CERTIFICATION PLATE

PART A – OPERATION AND MAINTENANCE
Safety Information
- This fireplace has been tested for use with an open door in conjunction with a fire screen, sold separately. The door may be opened, or fire screen removed only during lighting procedures or reloading. Always close the door or put back on the fire screen after ignition. Do not leave the fireplace unattended when the door is opened with or without a fire screen.
- WARNING : OPERATE ONLY WITH THE DOOR FULLY CLOSED OR FULLY OPEN WITH THE FIRE SCREEN IN PLACE. IF THE DOOR IS LEFT PARTLY OPEN, GAS AND FLAME MAY BE DRAWN OUT OF THE OPENING, CREATING RISKS FROM BOTH FIRE AND SMOKE.
- HOT WHILE IN OPERATION. KEEP CHILDREN, CLOTHING AND FURNITURE AWAY. CONTACT MAY CAUSE SKIN BURNS. GLOVES MAY BE NEEDED FOR THE FIREPLACE OPERATION.
- Using a fireplace with cracked or broken components, such as glass, firebricks or baffle may produce an unsafe condition and may damage the fireplace.
- NEVER USE GASOLINE, LANTERN FUEL (NAPHTHA), FUEL OIL, MOTOR OIL, KEROSENE, CHARCOAL LIGHTER FLUID, OR SIMILAR LIQUIDS OR AEROSOLS TO START A FIRE IN THIS FIREPLACE. KEEP ALL SUCH LIQUIDS OR AEROSOLS WELL AWAY FROM THE FIREPLACE WHILE IT IS IN USE.
- Do not store fuel within heater minimum installation clearances.
- Burn only seasoned natural firewood.
- This wood heater needs periodic inspection and repairs for the proper operation. It is against federal regulations to operate this wood heater in a manner inconsistent with operating instructions in this manual.
- Do not obstruct air inlets. This fireplace needs air for its good operation.
- Do not block the hot air vents of the fireplace as this will cause the fireplace to overheat.
- A smoke detector, a carbon monoxide detector and a fire extinguisher should be installed in the house. Location of detectors should be chosen wisely to avoid false alarm when reloading the appliance. The location of the fire extinguisher should be known by all family members.
- Do not use makeshift materials or make any compromises when installing this fireplace.
- Mixing of appliance components from different sources or modifying components is prohibited and will void the warranty. Any modification of the fireplace that has not been approved in writing by the testing authority is prohibited and violates CSA B365 and NFPA 211 standards.
- The manufacturer grants no warranty, implied or stated, for the poor installation or lack of maintenance of this fireplace and assumes no responsibility for any consequential damages.
- Do not elevate the fire by means of grates, chenets, andirons or any other means.
![]()
WARNING : This product can expose you to chemicals including carbon monoxide, which is known to the State of California to cause cancer, birth defects or other reproductive harm. For more information go to www.P65warnings.ca.gov/
General Information
Performances

- Recommended heating area and maximum burn time may vary subject to location in home, chimney draft, heat loss factors, climate, fuel type and other variables. The recommended heated area for a given appliance is defined by the manufacturer as its capacity to maintain a minimum acceptable temperature in the designated area in case of a power failure.
- The maximum heat output (dry cordwood) is based on a loading density varying between 15 lb/ft 3 and 20 lb/ft 3 . Other performances are based on a fuel load prescribed by the standard. The specified loading density varies between 7 lb/ft³ and 12 lb/ft 3 . The moisture content is between 19% and 25%.
- As measured per CSA B415.1-10 stack loss method.
- Higher Heating Value of the fuel.
- Lower Heating Value of the fuel.
- Optimum overall efficiency at a specific burn rate (LHV).
- This appliance is officially tested and certified by an independent agency.
- Tested and certified in compliance with CFR 40 part 60, subpart AAA, section 60.534(a)(1(ii) and ASTM E3053-17.
- Carbon monoxide.
Specifications

- North-south: ends of the logs visible, East-west: sides of the logs visible.
- Mobile homes (Canada) or manufactured homes (USA): The US Department of Housing and Urban Development describes “manufactured homes” better known as “mobile homes” as follows; buildings built on fixed wheels and those transported on temporary wheels/axles and set on a permanent foundation. In Canada, a mobile home is a dwelling for which the manufacture and assembly of each component is completed or substantially completed prior to being moved to a site for installation on a foundation and connection to service facilities and which conforms to the CAN/CSA- Z240 MH standard.
- Tested and certified in compliance with CFR 40 part 60, subpart AAA, section 60.534(a)(1(ii) and ASTM E3053-17.
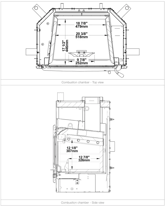
Dimensions



Materials
The body of this fireplace, which is most of its weight, is carbon steel. Should it ever become necessary many years in the future, almost the entire fireplace can be recycled into new products, thus eliminating the need to mine new materials.
The paint coating on the fireplace is very thin. Its VOC content (Volatile Organic Compounds) is very low. VOCs can be responsible for smog, so all the paint used during the manufacturing process meets the latest air quality requirements regarding VOC reduction or elimination.
The air tubes are stainless steel, which can also be recycled.
The baffle is made of aluminosilicate fibre material that is compressed with a binder to form a rigid board. C-Cast can withstand temperatures above 2,000 °F. It is not considered hazardous waste. Disposal at a waste management center is recommended.
Moulded refractory panels are mainly composed of silicon dioxide, also known as silica, a product processed from a mined mineral. It is most commonly found in nature in the form of sand and clay. Disposal at a waste management center is recommended. The steel mesh contained in some refractory bricks can also be recycled.
The door and glass gaskets are fibreglass which is spun from melted sand. Black gaskets have been dipped into a solvent-free solution. Disposal at a waste management center is recommended.
The door glass is a 3/16″ (5 mm) thick ceramic material that contains no toxic chemicals. It is made of natural raw materials such as sand and quartz that are combined in such a way to form a high temperature glass. Ceramic glass cannot be recycled in the same way as normal glass, so it should not be disposed of with regular household products. Disposal at a waste management center is recommended.
Zone Heating
This fireplace is a space heater, which means it is intended to heat the area it is installed in, as well as spaces that connect to that area, although to a lower temperature. This is called zone heating and it is an increasingly popular way to heat homes or spaces within homes. Zone heating can be used to supplement another heating system by heating a particular space within a home, such as a basement, a family room or an addition that lacks another heat source.
Houses of moderate size and relatively new construction can be heated with a properly sized and located wood fireplace. Whole house zone heating works best when the fireplace is in the part of the house where the family spends most of its time. This is normally the main living area where the kitchen, dining and living rooms are located.
Locating the fireplace in this area will give the maximum benefit of the heat it produces and will achieve the highest possible heating efficiency and comfort. The space where the most time is spent will be warmest, while bedrooms and basement (if there is one) will stay cooler. In this way, less wood is burnt than with other forms of heating.
Although the fireplace may be able to heat the main living areas of the house to an adequate temperature, it is strongly recommended to also have a conventional oil, gas or electric heating system to provide backup heating.
The success of zone heating will depend on several factors, including the correct sizing and location of the fireplace, the size, layout and age of your home and your climate zone. Three-season vacation homes can usually be heated with smaller fireplaces than houses that are heated all winter.
Emissions and Efficiency
The low smoke emissions produced by the special features inside this fireplace firebox mean that the household will release up to 90% less smoke into the outside environment than if an older conventional fireplace was used. But there is more to the emission control technologies than protecting the environment.
The smoke released from wood when it is heated contains about half of the energy content of the fuel. By burning the wood completely, this fireplace releases all the heat energy from the wood instead of wasting it as smoke up the chimney. Also, the features inside the firebox allow control of the air supply meaning controlling the heat output, while maintaining clean and efficient flaming combustion, which boosts the efficient delivery of heat to the home.
The emission control and advanced combustion features of this fireplace can only work properly if the fuel used is in the correct moisture content range of 15% to 20%. Refer to the following section of suggestions on preparing fuelwood and judging its moisture.
Fuel
Good firewood has been cut to the correct length for the fireplace, split to a range of sizes and stacked in the open until its moisture content is down to 15% to 20%.
DO NOT BURN:
- GARBAGE;
- LAWN CLIPPINGS OR YARD WASTE;
- MATERIALS CONTAINING RUBBER, INCLUDING TIRES;
- MATERIALS CONTAINING PLASTIC;
- WASTE PETROLEUM PRODUCTS, PAINTS OR PAINT THINNERS, OR ASPHALT PRODUCTS;
- MATERIALS CONTAINING ASBESTOS;
- CONSTRUCTION OR DEMOLITION DEBRIS;
- RAILROAD TIES OR PRESSURE-TREATED WOOD;
- MANURE OR ANIMAL REMAINS;
- SALT WATER DRIFTWOOD OR OTHER PREVIOUSLY SALT WATER SATURATED MATERIALS;
- UNSEASONED WOOD; OR
- PAPER PRODUCTS, CARDBOARD, PLYWOOD, OR PARTICLE BOARD. THE PROHIBITION AGAINST BURNING THESE MATERIALS DOES NOT PROHIBIT THE USE OF FIRE STARTERS MADE FROM PAPER, CARDBOARD, SAW DUST, WAX AND SIMILAR SUBSTANCES FOR THE PURPOSE OF STARTING A FIRE IN AN AFFECTED WOOD HEATER.
BURNING THESE MATERIALS MAY RESULT IN THE RELEASE OF TOXIC FUMES OR RENDER THE HEATER INEFFECTIVE AND CAUSE SMOKE.
Tree Species
The tree species the firewood is produced from is less important than its moisture content. The main difference in firewood from various tree species is the density of the wood. Hardwoods are denser than softwoods.
Homeowners with access to both hardwood and softwood use both types for different purposes. Softer woods make good fuel for mild weather in spring and fall because they light quickly and produce less heat.
Softwoods are not as dense as hardwoods so a given volume of wood contains less energy. Using softwoods avoids overheating the house, which can be a common problem with wood heating in moderate weather. Harder woods are best for colder winter weather when more heat and longer burn cycles are desirable.
Hardwood trees like oak, maple, ash and beech are slower growing and longer lived than softer woods like poplar and birch. That makes hardwood trees more valuable. The advice that only hardwoods are good to burn is outdated. Old, leaky cast iron fireplaces wouldn’t hold a fire overnight unless they were fed large pieces of hardwood.
Log Length
Logs should be cut at least 1″ (25 mm) shorter than the firebox so they fit in easily. Pieces that are even slightly too long makes loading the fireplace very difficult. The most common standard length of firewood is 16″ (400 mm).

Piece Size
Firewood dries more quickly when it is split. Large unsplit rounds can take years to dry enough to burn. Even when dried, unsplit logs are difficult to ignite because they don’t have the sharp edges where the flames first catch.

Wood should be split to a range of sizes, from about 3″ to 6″ (75 mm to 150 mm) in cross section. Having a range of sizes makes starting and rekindling fires much easier.
Compressed Wood Logs
Compressed wood logs made of 100% compressed sawdust can be burned with caution in the number of these logs burned at once. Do not burn compressed logs made of wax impregnated sawdust or logs with any chemical additives. Do not poke or stir the logs while they are burning.

Use only logs that meet the requirements of ULC/ORD C127 M1990 for composite logs. Refer to package cautions and warnings before using logs.
Drying Time
Firewood that is not dry enough to burn is the cause of most complaints about wood-burning appliances. Continually burning green or unseasoned wood produces more creosote and involves lack of heat and dirty glass door. Firewood with a moisture content between 15% and 20% will allow the fireplace to produce its highest possible efficiency.
Here are some facts to consider in estimating drying time:

- Firewood bought from a dealer is rarely dry enough to burn, so it is advisable to buy the wood in spring and dry it yourself;
- Drying happens faster in dry weather than in a damp climate;
- Drying happens faster in warm summer weather than in winter weather;
- Split pieces dry more quickly than unsplit rounds;
- Softwoods like pine, spruce, poplar, and aspen take less time to dry than hardwoods. They can be dry enough to burn after being stacked to air dry only for the summer months;
- Hardwoods like oak, maple and ash can take one, or even two years to dry fully, especially if the pieces are big;
- Firewood dries more quickly when stacked outside in a location exposed to sun and wind; it takes much longer to dry when stacked in a wood shed;
- Firewood with a moisture content of 15% to 20% will allow the fireplace to reach its highest efficiency.
Firewood is dry enough to burn when:

- Cracks form at the end of logs;
- The wood turns from white or cream colored to grey or yellow;
- Two pieces of wood struck together sounds hollow;
- The face of a fresh cut feels warm and dry;
- The moisture content read by a moisture meter is between 15% to 20%
Operating the Fireplace
![]()
This wood heater has a manufacturer-set minimum low burn rate that must not be altered. It is against federal regulations to alter this setting or otherwise operate this wood heater in a manner inconsistent with operating instructions in this manual.
Using a Fire Screen
This product should not be operated with door open using fire screen (AC01275) in the United States or provinces where any particulate matter emission rate limit is enforced (ex: US EPA).
This fireplace has been tested for use with an open door in conjunction with a fire screen, sold separately. The fire screen must be properly secured on the fireplace to avoid any risk of sparks damaging the flooring. When the fire screen is in use, do not leave the fireplace unattended to respond promptly in the event of smoke spillage into the room. Potential causes of smoke spillage are described in Section «9. The Venting System» of this manual. See «Appendix 5: Optional Fire Screen Installation» for installation instructions.
Operating the fireplace with a fire screen increases possibilities of generating carbon monoxide. Carbon monoxide is an odourless gas that is highly toxic which can cause death at high concentration in air. Installation of a carbon monoxide detector is highly recommended.
Burning Wood Efficiently
First Use
Two things happen when burning the first few fires; the paint cures and the internal components are conditioned. As the paint cures, some of the chemicals vaporize. The vapors are not poisonous, but they smell bad. Fresh paint fumes can also trigger false alarms in smoke detectors. When lighting the heater for the first few times, it may be wise to open doors and windows to ventilate the house.
Burn two or three small fires to begin the curing and conditioning process. Then build bigger and hotter fires until there is no longer paint smell from the fireplace. As hotter and hotter fires are burned, more of the painted surfaces reach the curing temperature of the paint. The smell of curing paint does not disappear until one or two very hot fires have been burned.
Lighting Fires
Each person heating with wood develops its own favorite way to light fires. Regardless of the method chosen, the goal should be to have a hot fire burning, quickly. A fire that ignites fast produces less smoke and deposits less creosote in the chimney.
![]()
Never use gasoline, gasoline-type lantern fuel (naphtha), fuel oil, motor oil, kerosene, charcoal lighter fluid, or similar liquids or aerosols to start or ‘freshen up’ a fire in this wood fireplace. Keep all such liquids well away from the fireplace while it is in use.
Here are three popular and effective ways to ignite wood fires.
Conventional Method
The conventional method to build a wood fire is to crumple 5 to 10 sheets of newspaper and place them in the firebox and hold them in place with ten pieces of kindling wood. The kindling should be placed on and behind the newspaper.

Then add two or three small pieces of firewood. Open the air intake control completely and ignite the newspaper. Leave the door slightly ajar. Once the fire has ignited, the door can be closed with the air control still fully open. When the kindling is almost completely burned, standard firewood pieces can be added.
Do not leave the fireplace unattended when the door is slightly open. Always close and latch the door after the fire ignites.
The Top Down Method
This method is the opposite of the conventional method and only works properly if well-seasoned wood is used.

Place three or four small, split, dry logs in the firebox. Arrange the kindling wood on the logs in two layers at right angles and place a dozen finely split kindling on the second row. It is possible to use ragged paper but it may not hold in place since it tends to roll while it is burning. The best is to wrap a sheet on itself, grab the ends of the roll and make a knot.
Use four or five sheets of paper tied together and put them on top and around the kindling. Open the air intake control completely, ignite the paper and close the door.
The top down fire method has two advantages over the traditional method: first, the fire does not collapse on itself, and it is not necessary to add wood gradually since the combustion chamber is full before the fire is lit.
The following load orientation is the one who will give the best performance for this fireplace. The figure below is for reference only. The quantity and size of the logs may vary.
Two Parallel Logs Method
Two spit logs are placed in the firebox with a few sheets of twisted newspapers in between the logs. Fine kindling is added across the two logs and some larger kindling across those, log cabin style. Newspaper is lit.
Using Fire Starters
Commercial fire starters can be used instead of a newspaper. Some of these starters are made of sawdust and wax and others are made of specialized flammable solid chemicals. Always follow the package directions when using.
Gel starters can also be used, but only to light a fire, in a cold combustion chamber without hot embers inside.
Combustion Cycles
Wood heating with a space heater is very different than other forms of heating. There will be temperature variations in different parts of the house and there will be temperature variations throughout day and night. This is normal, and for experienced wood burners these are advantages of zone heating wood burning.
Wood heaters don’t have a steady heat output. It is normal for the temperature to rise after a new load of wood is ignited and for its temperature to gradually decrease throughout the burning cycle.
This increasing and decreasing temperature can be matched with the household routines. For example, the temperature in the area can be cooler when the household is active, and it can be warmer when it is inactive.
Wood burns best in cycles. A cycle starts when a new load of wood is ignited by hot coals and ends when that load has been consumed down to a bed of charcoal about the same size as it was when the wood was loaded.
Trying to produce a steady heat output by placing a single log on the fire at regular intervals is not recommended. Always place at least three, and preferably more pieces on the fire at a time so that the heat radiated from one piece helps to ignite the pieces next to it. Each load of wood should provide several hours of heating. The size of each load may vary depending on the amount of heat required.
Burning in cycles means the loading door does not need to be opened while the wood is flaming. This is an advantage since it is preventing smoke leaking from the heater when the door is opened as a full fire is burning. This is especially true if the chimney is on the outside wall of the house.
If the door must be opened while the fire is flaming, fully open air control for a few minutes then open the door slowly.
Rekindling a Fire
When the temperature of the room is lower and all that remains is embers, it is time to reload. Remove excess ash from the front of the firebox and bring the ashes forward. Place a new load of wood on, and at the back of the embers. Open the air control completely and close the door.

Raking the coals is useful for two reasons. First, it brings them near where most of the combustion air enters the firebox. This will ignite the new load quickly. Secondly, the charcoal will not be smothered by the new load of wood. When the embers are simply spread inside the combustion chamber, the new load smoulder for a long time before igniting.
Close the air control only when the firebox is full of bright turbulent flames, the wood is charred, and its edges are glowing.
The heater should not be left unattended during ignition and the fire should not burn at full intensity for more than a few minutes.
When lighting a new load, the appliance produces a heat surge. This heat surge is pleasant when the room temperature is cool but can be unpleasant when the room is already warm. Therefore, it is best to let each load of wood burn completely so that the room cools down before putting a load of wood back on.
Removing Ashes
Ash should be removed from the firebox every two to three days of full-time heating. Ash should not accumulate excessively in the firebox since it will affect the proper operation of the appliance.
The best time to remove ash is in the morning, after an overnight fire when the fireplace is relatively cold, but there is still a little chimney draft to draw the ash dust into the fireplace and prevent going out into the room.
Ashes should be placed in a tightly covered metal container. The container must be placed on a non-combustible floor or on the ground well away from all combustible materials. Ashes almost always contain live embers that can stay hot for days and which release carbon monoxide gas. If the ashes are disposed of by burial in soil or otherwise locally dispersed, they should be kept in a closed metal container until they are completely cooled. No other waste should be placed in this container.

NEVER STORE ASHES INDOORS OR IN A NON-METALLIC CONTAINER OR ON A WOODEN DECK.
Air Intake Control
Once the firewood, firebox and chimney are hot, air intake can be reduced to achieve a steady burn.

As the air intake is reduced, the burn rate decreases. This has the effect of distributing the thermal energy of the fuel over a longer period of time. In addition, the flow rate of exhaust through the appliance and flue pipe slows down, which increases the duration of the energy transfer of the exhaust gases. As the air intake is reduced, the flame slows down.
If the flames diminish to the point of disappearing, the air intake has been reduced too early in the combustion cycle or the wood used is too wet. If the wood is dry and the air control is used properly, the flames should decrease, but remain bright and stable.
On the other hand, too much air can make the fire uncontrollable, creating very high temperatures in the unit as well as in the chimney and seriously damaging them. A reddish glow on the unit and on the chimney components indicates overheating. Excessive temperatures can cause a chimney fire.
Fire Types
Using the air intake control is not the only way to match the fireplace heat output to the desired temperature in the house. A house will need far less heating in October than in January to maintain a comfortable temperature. Filling the firebox full in fall weather will overheat the space. Otherwise, the combustion rate will have to be reduced to a minimum and the fire will be smoky and inefficient.
Here are some suggestions for building fires suitable for different heating needs.
Flash Fire
To build a small fire that will produce a low heat output, use small pieces of firewood and load them crisscross in the firebox. The pieces should only be 3″ (76 mm) to 4″ (102 mm) in diameter. After raking the coals, lay two pieces parallel to each other diagonally in the firebox and lay two more across them in the other direction. Open the air control fully and only reduce the air after the wood is fully flaming.
This kind of fire is good for mild weather and should provide enough heat for up to four hours. Small fires like this are a good time to use softer wood species and avoid overheating the house.
Low and Long Output Fires
For a fire that will last up to eight hours but will not produce intense heat, use soft wood and place the logs compactly in the firebox. Before reducing the air intake, the load will have to burn at full heat for long enough for charring the surface of the logs. The flame must be bright before letting the fire burn by itself.
High Output Fires
When heating needs are high during cold weather, the fire should burn steadily and brightly. This is the time to use larger pieces of hardwood. Place the biggest pieces at the back of the firebox and place the rest of the pieces compactly. A densely built fire like this will produce the longest combustion this fireplace is capable of. Special attention must be paid when building fires like this since if the air intake is reduced too quickly, the fire could smoulder. The wood must be flaming brightly before leaving the fire to burn.
Maximum Burn Cycle Times
The burn cycle time is the period between loading wood on a coal bed and the consumption of that wood back to a coal bed of the same size. The flaming phase of the fire lasts for roughly the first half of the burn cycle and the second half is the coal bed phase during which there is little or no flame. The burning time expected from this fireplace, including both phases, will vary depending on a number of things, such as:
- firebox size,
- the amount of wood loaded,
- the species of wood,
- the wood moisture content,
- the size of the space to be heated,
- the climate zone where the house is, and
- the time of the year.
The table below gives an approximate maximum burn cycle times, based on firebox volume.
Table 1 : Approximate Maximum Burn Cycle Time

A longer burning time is not necessarily an indication of efficient fireplace operation. It is preferable to build a smaller fire that will provide three or four hours of heating than to fully load the firebox for a much longer burn. Shorter burn cycles make it easier to match the heat output of the fireplace to the heat demand for the space.
Logs Orientation
In a relatively square firebox, the wood can be loaded north-south (ends of the logs visible) or east-west (sides of the logs visible).
North-south loads allow more wood to be loaded at the same time. On the other hand, they break into smaller pieces faster. North-south loading is good for high output, long lasting fires for cold weather.
East-west loads allow a limited amount of wood since too many logs could cause them to fall on the glass. East-west loads, placed in a compact way, take a long time before breaking down. They are excellent for low-intensity, long-lasting fires in relatively mild weather.
Carbon Monoxide
When there is no more flame in the firebox and there are still some unburned logs, check outside if there is smoke coming out of the chimney. If this is the case, it means that the fire is out of air to burn properly. In this situation, the level of CO increase and it is important to react. Open the door slightly and move the logs with a poker. Create a passage for the air below by making a trench with the ember bed. Add small pieces of wood to restart the combustion.
Maintenance
This heater will give many years of reliable service if used and maintained properly. Internal components of the firebox such as firebricks or refractory panels, baffle and air tubes will wear over time. Defective parts should always be replaced with original parts.
To avoid premature deterioration, follow the lighting and reloading procedures in section «5. Burning Wood Efficiently» and also avoid letting the heater run with the air intake fully open for entire burn cycles.
Cleaning and Painting
Painted and plated surfaces can be wiped down with a soft, damp cloth. If the paint is scratched or damaged, it is possible to repaint the fireplace with a heat-resistant paint.
Do not clean or paint the fireplace when it is hot.
Before painting, the surface should be sanded lightly with sandpaper and then wiped off to remove dust. Apply two thin layers of paint.
Refractory Material and Baffle
The intense heat of the fire can cause slight cracks in the refractory panels. It is possible to minimize the appearance of these cracks by hardening the panels as described in the section «5.1 First Use». Slight cracks will not reduce the effectiveness of the panels. On the other hand, if wider cracks appears, they must be replaced. Inspect the refractory panels and the baffle for damage periodically and replace anything that is cracked or broken.
Operation of the heater with a cracked or missing baffle may cause unsafe temperatures and hazardous conditions and will void the warranty.
Glass Door
Cleaning
Under normal conditions, the door glass should stay relatively clear. If the firewood is dry enough and the operating instructions in this manual are followed, a whitish, dusty deposit will form on the inner surface of the glass after a week or so of use. This is normal and can be easily removed when the heater is cold by wiping with a damp cloth or paper towel and then drying.
When the fireplace runs at a low combustion rate, light brown stains may form, especially in the lower corners of the glass. This indicates that the fire has been smoky and some of the smoke has condensed on the glass. It also indicates incomplete combustion of the wood, which also means more smoke emissions and faster formation of creosote in the chimney.
The deposits that form on the glass are the best indication of the fuel quality and success in properly using the fireplace. These stains can be cleaned with a special wood stove glass cleaner. Do not use abrasive products to clean the glass.
The goal should be having a clear glass with no brown stains. If brown stains appear regularly on the glass, something about the fuel or the operating procedure needs to be changed. When brown streaks are coming from the edge of the glass, it is time to replace the gasket around the glass. Always replace the gasket with a genuine one.

Do not clean the glass when the fireplace is hot.
Do not abuse the glass door by striking or slamming shut.
Do not use the fireplace if the glass is broken.
Replacement
The glass used is a ceramic glass, 5/32» (4 mm) thick, 24 7/8» x 11 3/4» (632 mm x 298 mm) tested to reach temperatures up to 1400º F. If the glass breaks, it must be replaced with one having the same specification. Tempered glass or ordinary glass will not withstand the high temperatures of this unit.
To remove or replace the glass (G):

- Remove the door (H) and place it face-down on something soft.
- Remove the glass retainers (E) held in place by the screws (D).
- Remove the frames (F).
- Remove the glass. If it is damaged install a new one in place. The replacement glass must have a gasket all around.
- Reinstall the glass, being careful to centre the glass in the door and not to over-tightening the retaining screw.
The two main causes of broken door glass are uneven placement in the door and over-tightening the retaining screws.
Gasket
The glass gasket is flat, adhesive-backed, woven fibreglass. The gasket must be centred on the edge of the glass.

- Follow the steps of the previous section to remove the glass.
- Remove the old gasket and clean the glass thoroughly.
- Peel back a section of the paper covering the adhesive and place the gasket on a table with the adhesive side up.
- Stick the end of the gasket to the middle of one edge, then press the edge of the glass down onto the gasket, taking care that it is perfectly centred on the gasket.
- Peel off more of the backing and rotate the glass. The gasket must not be stretched during installation.
- Cut the gasket to the required length. Pinch the gasket onto the glass in a U shape, all around the glass.
Door
In order for the fireplace to burn at its best efficiency, the door must provide a perfect seal with the firebox. Therefore, the gasket should be inspected periodically to check for a good seal. The tightness of the door seal can be verified by closing and latching the door on a strip of paper. The test must be performed all around the door. If the paper slips out easily anywhere, either adjust the door or replace the gasket.

At the end of each heating season it is recommended to add a high temperature graphite paste on the threads of the door handle. This paste will protect the threads from rust and prevent dust accumulation that can prevent the handle from rotating freely.
Adjustment
The door seal may be improved with a simple latch mechanism adjustment on the door:
- Remove the split pin by pulling and turning it using pliers.

- Turn the handle one counterclockwise turn to increase pressure.

- Reinstall the split pin with a small hammer.

Alignment
To align the doors, open the doors and slightly unscrew the set screws on the lower and upper door hinges with a 3/32» Allen key to release the adjustable hinge rods.

Using a flat screwdriver, turn the adjustable hinge rods in the directions shown to adjust the doors. Tighten the set screws on the door hinges when they are in the desired positions.

Gasket
It is important to replace the gasket with another having the same diameter and density to maintain a good seal.
- Remove the door and place it face-down on something soft.
- Remove the old gasket from the door. Use a screwdriver to scrape the old gasket adhesive from the door gasket groove.
- Apply a bead of approximately 3/16» (5 mm) of high temperature silicone in the door gasket groove. Starting from the middle, hinges side, press the gasket into the groove. The gasket must not be stretched during installation.
- Leave about ½» (10 mm) long of the gasket when cutting and press the end into the groove. Tuck any loose fibers under the gasket and into the silicone.
- Close the door. Do not use the fireplace for 24 hours.

Exhaust System
Wood smoke can condense inside the chimney, forming a inflammable deposit called creosote. If creosote builds up in the system, it can ignite when a hot fire is burned in the insert. A very hot fire can progress to the top of the chimney. Severe chimney fires can damage even the best chimneys. Smouldering, smoky fires can quickly cause a thick layer of creosote to form. When the insert is operated properly, the exhaust from the chimney is mostly clear and creosote builds up more slowly.
«Creosote – Formation and Need to Removal
When wood is burned slowly, it produces tar and other organic vapors, which combine with expelled moisture to form creosote. The creosote vapors condense in the relatively cooler chimney flue of a slow-burning fire. As a result, creosote residue accumulates on the flue lining. When ignited this creosote makes an extremely hot fire. The chimney connector and chimney should be inspected at least once every two months during the heating season to determine if a creosote buildup has occurred. If creosote has accumulated (⅛” [3mm] or more it should be removed to reduce the risk of a chimney fire.
Cleaning frequency
It is not possible to predict how much or how quickly creosote will form in the chimney. It is important, therefore, to check the build-up in the chimney monthly until the rate of creosote formation is determined. Even if creosote forms slowly in the system, the chimney should be cleaned and inspected at least once each year. Establish a routine for the fuel, wood burner and firing technique. Check daily for creosote build-up until experience shows how often you need to clean to be safe. Be aware that the hotter the fire, the less creosote is deposited and weekly cleaning may be necessary in mild weather even though monthly cleaning may be enough in the coldest months. Contact your local municipal or provincial fire authority for information on how to handle a chimney fire. Have a clearly understood plan to handle a chimney fire.
Sweeping the Chimney

Chimney sweeping can be a difficult and dangerous job. People with no chimney sweeping experience will often prefer to hire a professional chimney sweep to inspect and clean the system for the first time. After seeing the cleaning process, some will choose to do it themselves. The chimney should be checked regularly for creosote buildup. Inspection and cleaning of the chimney can be facilitated by removing the baffle. See «Appendix 7: Secondary Air Tubes and Baffle Installation» for more details.
Chimney Fire
Regular chimney maintenance and inspection can prevent chimney fires. If you have a chimney fire, follow these steps:
- Close the fireplace door and the air intake control;
- Alert the occupants of the house of the possible danger;
- If you require assistance, alert the fire department;
- If possible, use a dry chemical fire extinguisher, baking soda or sand to control the fire. Do not use water as it may cause a dangerous steam explosion;
Do not use the appliance again until the fireplace and its chimney have been inspected by a qualified chimney sweep or a fire department inspector.
PART B – INSTALLATION
Install the fireplace only as described in these instructions and using only the following fireplace components and chimney components from chimney manufacturers listed in «Table 4 : Approved Chimneys».
- Fireplace;
- Traditional or modern gravity hot air distribution kit;
- Fresh air kit;
- Refractory panels;
- Insulated chimney made by the manufacturers listed in Table 4, with the corresponding specifications:
- Chimney lengths;
- Elbows (where necessary);
- Associated components as per these installation instructions.
Additional Equipment (optional)
- Finishing frame
- Forced air distribution kit;
- Fire Screen;
- Heat shield for combustible shelf.
Safety Information and Standards
Safety
- The fireplace and chimney must be in an enclosure up to the attic.
- CAUTION: DO NOT ATTEMPT TO MODIFY OR ALTER THE CONSTRUCTION OF THE FIREPLACE OR ITS COMPONENTS. ANY MODIFICATION OR ALTERATION OF CONSTRUCTION MAY VOID THE WARRANTY, LISTINGS AND APPROVALS OF THIS SYSTEM. IN THAT CASE, STOVE BUILDER INTERNATIONAL (SBI) WILL NOT BE RESPONSIBLE FOR DAMAGES. INSTALL THE FIREPLACE ONLY AS DESCRIBED IN THESE INSTRUCTIONS.
- Mixing of appliance components from different sources or modifying components is prohibited and will void the warranty. Any modification of the fireplace that has not been approved in writing by the testing authority is prohibited and violates CSA B365 (Canada) and NFPA 211 (USA) standards.
- The manufacturer grants no warranty, implied or stated, for the poor installation or lack of maintenance of the fireplace and assumes no responsibility for any consequential damages.
- This fireplace must always be used with the original andirons.
- Do not use a fireplace insert and other products not specified for use with this fireplace.
- Do not install in a mobile home (Canada) or manufactured home (USA).
- Do not use materials other than those listed in the replacement parts section during installation as they may be safety hazards and a fire could result.
- WARNING : THIS FIREPLACE HAS NOT BEEN TESTED WITH AN UNVENTED GAS LOG SET. TO REDUCE THE RISK OF FIRE OR INJURY, DO NOT INSTALL AN UNVENTED GAS LOG SET INTO THIS FIREPLACE.
Standards
When installed and operated as described in these instructions, this wood fireplace is suitable for use in residential installations.
In Canada, the CSA B365 «Installation Code for Solid Fuel Burning Appliances and Equipment» and the CSA C22.1 «Canadian National Electrical Code» are to be followed in the absence of local code requirements.
In the USA, the ANSI NFPA 211 «Standard for Chimneys, Fireplaces, Vents and Solid Fuel-Burning Appliances» and the ANSI NFPA 70 «National Electrical Code» are to be followed in the absence of local code requirements.
This fireplace is not approved for use with a so-called “positive flue connection” to the clay tile of a masonry chimney.
Fireplace Installation
Standoff installation
In order to make an installation meeting the clearances to combustible materials around and above the fireplace, it is required to install the spacers/stand-offs in the following locations; on the top (B), on the sides ((D) and (E) 8 in total) and on the back of the fireplace (C). The spacers/stand-offs and the screws (A) can be found in the fireplace manual.

Carrying Handles

Location
The best location for the fireplace should consider the location of windows, doors, and circulation in the room. There must be enough space in front of the fireplace for the hearth extension and mantel and on the sides or back for the different heat distribution system, for the fresh air intake and for the chimney. Ideally, the chimney must be able to pass through the house without the need to cut floor joists or roof trusses.
Clearances to combustibles
The clearances shown in this section have been determined by test according to procedures set out in safety standards ULC S610 (Canada) and UL127 (U.S.A.). When the fireplace is installed so that its surfaces are at or beyond the minimum clearances specified, combustible surfaces will not overheat under normal and even abnormal operating conditions.
No part of the fireplace may be located closer to the combustible than the minimum clearance given.
A material is considered non-combustible when made entirely of steel, iron, bricks, tiles, concrete, slate, glass or a combination of these materials. Materials corresponding to ASTM E136 and UL 763 are considered to be non-combustible materials with the exception of gypsum, which will be considered a non-combustible material only if it is certified to withstand an ambient temperature of use of 250°F and more.

- Maximum mantle depth 3″ (76 mm)
- Mantle minimum distance 8″ (203 mm) (measured from the door opening)
- Side wall distance 13″ (330 mm) (measured from the door opening)
- Minimum distance to the wall in front of the fireplace 48″ (122 cm)
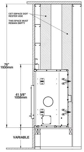
- Minimum ceiling height : 76″ (1,93 m) measured from the base of the fireplace.
Fireplace enclosure :
- Back wall : 0″
- Sides : 0″
- Floor (underneath the fireplace) : 0″
- Chimney : 2″ (50 mm)
Framing construction
The frame, on the sides and back of the fireplace, must be made of 2″x 3″ (5 cm x 8 cm) or larger. The front studs as well as headers on top of the fireplace must be of a depth no more than the depth of the top standoffs. The standoffs can be installed either flush with the fireplace or setback of ½» depending on the thickness of the finishing material used.
Do not use combustible materials for the frame directly above the fireplace. This area should remain empty to a height of 76″ (1.93 m) measured from the base of the fireplace.

Build the fireplace frame using vertical studs placed on the sides of the fireplace, from the floor to the ceiling. The studs must be set back from the front edge of the fireplace by a space equivalent to the thickness of the finishing material, so that it is flush with the finish of the fireplace.
Headers between studs should be installed as follows:
- The headers must be 2» x 3» (5 cm x 8 cm) or 2» x 4» (5 cm x 10 cm). Do not put wood or other material in the area above the fireplace.
- Install only the cripple studs needed to support the finishing material and mantle.
WARNING : DO NOT FILL THE REQUIRED EMPTY SPACE INSIDE THE ENCLOSURE WITH INSULATION OR ANY OTHER MATERIAL.
The fireplace must not be in contact with any insulation or loose filling material. Inside the chase, around the fireplace, insulation should be covered with drywall panels or any other finishing material except where non-combustible material is required.
Fireplace Framing

Framing of the gravity air distribution system


Framing with Fresh Air Intake 13

If a finishing material is installed inside the enclosure, its thickness must be added to the following measurements.
A : Fresh air intake duct 14 (Fresh air intake can be installed on the right or underneath).
B : Distance between framing and side fireplace standoff 12″ (305 mm)
C : Framing width (Installation with centered fireplace) 58 ¼” (1480 mm)
Framing with forced air distribution kit15

If a finishing material is installed inside the enclosure, its thickness must be added to the following measurements.
D : Forced air duct 16 (Duct can be installed on the left [recommended] or on the right).
E : Distance between framing and side fireplace standoff 18″ (457 mm)
F : Framing width (Installation with centered fireplace) 70 ¼” (1784 mm)
- Framing dimensions are for reference only. These measurements are recommended to prevent the ducts from being inside the standoff or have too tight duct curves. Smaller dimensions can be used depending on the size and type of duct as well as the configuration of the installation.
- HVAC duct, as per ULC S110 or UL 181, class 0 or class 1, must withstand temperatures up to 250oF.
- Framing dimensions are for reference only. These measurements are recommended to prevent the ducts from being inside the standoff or have too tight duct curves. Smaller dimensions can be used depending on the size and type of duct as well as the configuration of the installation.
- HVAC duct, as per ULC S110 or UL 181, class 0 or class 1, must withstand temperatures up to 250oF.
Framing with corner installation

Framing configuration should be used as a reference only. If a finishing material is installed inside the enclosure, its thickness must be added to the following measurements.
Theses values are minimum measurements and may need to be increased to allow the installation of the fresh air intake, the forced air distribution or the type of finishing material used.
Hearth Extension Construction
This fireplace can be installed directly on the floor or on a raised base, combustible or not. The installation can be done according to one of the following options :

Option #1 – Floor Level Installation

When the fireplace is installed directly on the floor, a non-combustible floor protection of at least 16″ (A) with an R factor of 1.00 must be installed in front of the fireplace.
The joint between the floor protection and the fireplace must be protected over the entire width of the floor protection by a folded and continuous metal sheet (D = min 2″ [51 mm]) (not supplied).
A clearance of 76″ (1.93 m) between the base of the fireplace and the ceiling must be respected.
The minimum floor height under the fireplace should match (or exceed) the height of non- combustible materials used for floor protection.
Option #2 – Raised Base Installation of 4″ or Less

When the fireplace is installed on a raised base of 4″ or less (E), a non- combustible floor protection of at least 16″ (A) with an R factor of 1.00 must be installed in front of the fireplace.
The joint between the floor protection and the fireplace must be protected over the entire width of the floor protection by a folded and continuous metal sheet (D = min 2″ [51 mm]) (not supplied). It is recommended to make the sheet metal in one piece.
A clearance of 76″ (1.93 m) (F) between the base of the fireplace and the ceiling must be respected.
Option #3 – Raised Base Installation of More Than 4″

When the fireplace is installed on a raised base of more than 4″ (E), a non-combustible floor protection of at least 16″ (A) with no R factor must be installed in front of the fireplace.
The upper and lower angle, for the full width of the floor protection, must be protected by 2″ horizontally and vertically by a folded and continuous metal sheet (D = 2″ [51 mm]) (not supplied). The sheet metal does not have to cover the rest of the wall between the base of the fireplace and the floor. A clearance of 76″ (1.93 m) (F) between the base of the fireplace and the ceiling must be respected.
Floor Protection

Regardless of the installation type, there must be at least 8″ (203 mm) on each side of the fireplace door opening (C).
Floor protection must be a continuous noncombustible surface such as ceramic, concrete board, brick or other equivalent material approved as floor protection. If the ceramic is used, it must be placed on a continuous non-combustible panel to prevent spills from being brought into contact with the floor through cracks or gaps in the ceramic slurry. Alternatives approved by the local building code may also be used.
Do not leave carpets under the floor protection.

R Factor
There are two ways to calculate the R-value of the floor protection. First, by adding the R-values of materials used, or by the conversion if the K factor and thickness of the floor protection are given.
To calculate the total R value from R values of the materials used, simply add the R-values of materials. If the result is equal to or greater than the R-value requirements, the combination is acceptable. R-values of some selected materials are shown below :
Table 2 : Thermal Characteristics of Common Floor Protection Materials 17

Example:
Required floor protection R of 1.00. Proposed materials: four inches of brick and one inch of Durock® board.
Four inches of brick (R = 4 x 0,2 = 0,8) plus 1 inch of Durock® (R = 1 x 0.52 = 0.52).
0.8 + 0.52 = 1.32.
This R value is larger than the required 1.00 and is therefore acceptable.
In the case of a known K and thickness of alternative materials to be used in combination, convert all K values to R by dividing the thickness of each material by its K value. Add R values of the proposed materials as shown in the previous example.
Common brick K value = 5
Thickness = 4″
R value = Thickness/K = 4/5 = 0.8
Durock K value =1.92
Thickness = 1″
R value = Thickness/K = 1/1.92 = 0.52
Total R value = .8 + 0.52 = 1.32
- Information as reported by manufacturers and other resources
Facing
Non combustible finishing materials such as brick or ceramic can be glued to the facade of the fireplace. Do not put a seal between the faceplate and the finishing material to facilitate removal of the facaplate, if necessary.

Combustible or non combustible Shelf Installation
It is possible to install a combustible or a non- combustible shelf above the fireplace.
The shelf can be up to 12″ (305 mm) deep and must be installed at least 48″ (1,22 m) from the base of the fireplace.
In the illustration, non-combustible material is allowed in the white area.
The shelf will be hot. Do not put combustible materials on the shelf.

The Venting System
The venting system acts as the engine that drives the wood heating system. Even the best fireplace will not function safely and efficiently as intended if it is not connected to a suitable chimney. The heat in the flue gases that pass from the fireplace into the chimney is not waste heat. This heat is what the chimney uses to make the draft that draws in combustion air, keeps smoke inside the fireplace and safely vents exhaust to outside. Heat in the flue gas can be seen as the fuel the chimney uses to make draft.
Location
The location of the chimney is crucial for the proper functioning of the appliance. The chimney should be installed within the house rather than up an outside wall and should rise straight up through the tallest part of the house. This installation benefits from being enclosed within the warm house environment, produce stronger draft, accumulate fewer creosote deposits and will be unaffected by cold temperatures or harsh winds.
Outside chimneys will lead to cold back drafting when there is no fire in the fireplace, slow kindling of new fires, and smoke roll-out when the door is open for loading.
It is important that the venting system has the right characteristics. A bad system can have excessive draft, which can make the fire uncontrollable, creating very high temperatures in the unit as well as in the chimney and seriously damaging them. A reddish glow on the unit and on the chimney components indicates overheating. Excessive temperatures can cause a chimney fire.
Supply of Combustion Air
The safest and most reliable supply of combustion air for a fireplace is from the room in which it is installed. Room air is already preheated so it will not chill the fire, and its availability is not affected by wind pressures on the house. The only case in which the fireplace may not have adequate access to combustion air is if the operation of a powerful exhaust device (such as a kitchen range exhaust) causes the pressure in the house to become negative relative to outdoors.

Chimney Installation
The chimney manufacturer’s installation manual takes precedence over the following installation instructions. To ensure a safe installation, please refer to it. Some non-illustrated parts may be required.
General Advices
- This wood burning fireplace has optimum performance and efficiency when connected to a chimney with a 6″ (150 mm) diameter flue, only the chimneys listed in the ««Table 4 : Approved Chimneys» can be used.
- To insure a good draft, it is recommended to have a length of 18″ (457 mm) from the top of the unit to the first offset. However, starting using a 30° or 45° (Canada Only) elbow is also approved.
- A CHIMNEY VENTING A FIREPLACE SHALL NOT VENT ANY OTHER APPLIANCE.
- The minimum height of the chimney system is 15 feet (4.6 m) from the base of the appliance to the chimney cap. If only the minimum height of the chimney system is installed, the operating conditions must be optimal (interior chimney, minimum height of 18″ (457 mm) before any deviation, etc.).
- The chimney must have at least one support. The maximum chimney length that should be supported by the fireplace is 9 feet (2.75 m) for 2″ Solid Pack chimney (5 cm) and 12 feet (3.7 m) for 1″ Solid Pack chimney.
- The chimney must extend at least 3 ft. (92 cm) above its point of contact with the roof and at least 2 ft. (61 cm) higher than any wall, roof or building within 10 ft. (3.1 m) of it.
- WARNING : IF THE CHIMNEY IS INSTALLED IN A CHASE, IT MUST EXCEED THE TOP OF IT BY AT LEAST 3 FEET (92 CM) IF IT’S MADE OF COMBUSTIBLE MATERIALS OR AT LEAST 1.5 FEET (46 CM) WHEN IT IS MADE OF NON-COMBUSTIBLE MATERIALS.

- Avoid deviations as much as possible, especially the sharp ones. Each deviation adds restriction to the system and can lead to draft problems.
- If the chimney extends higher than 5 ft. (1.5 m) above its point of contact with the roof, it must be secured using a roof brace.
- A rain cap must be installed on top of the chimney.
- Cut and frame square holes in all floors, ceilings, and roof that the chimney will go through to provide a 2″ (50 mm) minimum clearance between the chimney and any combustible materials. Do not fill this 2″ (50 mm) space with insulation or any other combustible material.
- A clearance of 2″ (50 mm) between the chimney and any combustible material is required. This space must remain free, without insulation or other combustible material. The parts of the chimney that pass into inhabited spaces must be enclosed in an enclosure.
- For installations where more than one chimney is located in the same non-chase or within the same area, their terminations must be separated by at least 16″ (410 mm) horizontally, and 18″ (460 mm) vertically. This separation is to prevent smoke migrating from one chimney to another.

- Cut and frame square holes in all floors, ceilings, and roof that the chimney will go through to provide a 2″ (50 mm) minimum clearance between the chimney and any combustible materials. Do not fill this 2″ space with insulation or any other combustible material.
- In all cases, the chimney must start with a 6″ diameter anchor plate attached to the fireplace.
- If the male anchor plate nozzle exceeds 2″ (50 mm) in length (A), it must be cut above the lifting hooks welded inside the flue outlet so that it is sitting perfectly on the top of the fireplace.

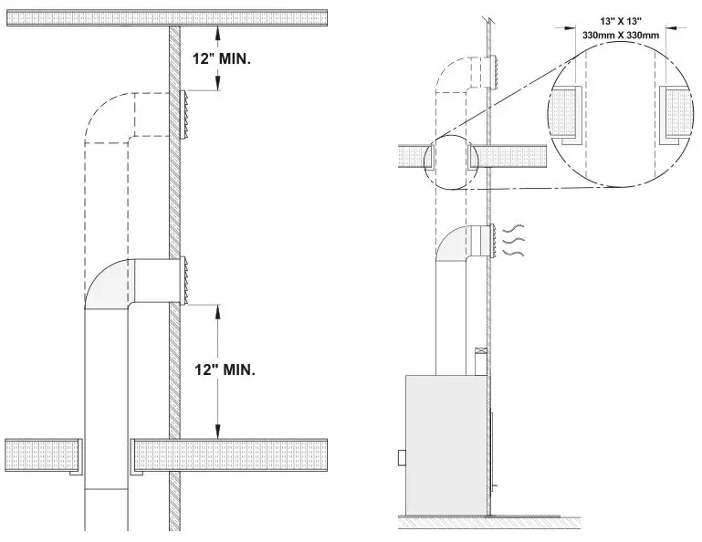
Ceiling Supported Installation

- Cut and frame square openings (C) in the ceiling, floor and roof where the chimney will pass. A 2″ clearance must be maintained between the chimney and any combustible materials. The 2″ space must remain empty, without insulation or any other combustible material. The size of the floor and ceiling holes must be in accordance with the chimney manufacturer’s instructions.
- From underneath the ceiling, install a ceiling support (B) in each floor where the chimney will pass. In the attic, install an attic radiation shield from above (D).
- Install an anchor plate (A) and a first chimney section on the fireplace. Install the number of chimney sections needed, making sure to lock each section in place.
- When the desired height of the chimney is reached, install a roof support (not shown).
- Put the roof flashing (E) in place and seal the joint between the roof and the flashing with roof sealant. For sloping roofs, place the flashing under the upper shingles and on top of the lower shingles. Nail the flashing to the roof, using roofing nails.
When a ventilated roof flashing is installed, precautions are to be taken not to caulk or seal the ventilating openings. - Place the storm collar (F) on the roof flashing and tighten it with the bolt. Seal the joint between the storm collar and the chimney, using silicone sealant.
- Install the chimney cap (G).
Offset Installation

- Follow the instructions for a ceiling supported installation until the first elbow.
- Install and turn the elbow in the right direction. Attach to the chimney using three ½” (12 mm) metal screws.
- Install the appropriate number of chimney sections to obtain the necessary deviation. Secure the chimney sections together with three ½” (12 mm) screws. If the offset section has two or more chimney sections, a bracket must be installed. If the chimney go through a wall, install a wall thimble.
- Install another elbow to bring the chimney back in a vertical position.
- Continue the installation following the instructions of the ceiling supported installation.
Table 3 : Minimum system height when using elbows

Masonry Chimney Installation
The masonry chimney must meet the minimum requirements of the local building code or equivalent for a safe installation. Contact a building inspector to learn about the requirements in the area.
Before starting the installation, the masonry chimney should be inspected for cracks, crumbling mortar, creosote layers, obstructions or other signs of deterioration. If signs of deterioration are noted, the chimney should be repaired and cleaned before installation.

- Position the fireplace in its location. Temporarily install the elbow or chimney section (A) on the top of the fireplace and, using a level, mark with an oval the location where the flue liner will enter the masonry chimney.
- Mark where the flue will pass through the masonry chimney. Drill a hole in the masonry chimney to insert an insulated liner adapter (B).
- Lower the liner (C) into the chimney to the level of the hole.
- Slide an insulated 45° or 30° liner adapter and connect it to the liner.
- Seal the opening around the liner with high temperature refractory cement.
- Then, follow the chimney manufacturer’s instructions to connect the extended liner section to the special chimney connector.
The liner must extend at least 12″ (30 cm) above the masonry chimney.
Angled Wall Pass-Thru Installation
When passing through a combustible wall with the chimney at a 30° or 45° angle (Canada only), an angled wall pass-thru must be installed. Follow the chimney manufacturer’s installation instructions.
In cold climate locations, it is recommended to use the insulated wall pass-thru to maintain the home’s thermal barrier.

A. Wall pass-thru
B. Interior wall
C. Exterior wall
Chimney Support Installation
Roof Support

The universal roof support can be used on:
- a roof to support the chimney;
- a floor, ceiling, or roof over an offset to support the chimney or;
- as additional support.
Always follow the manufacturer’s instructions for the maximum chimney height that can be supported by the support.
Offset Support
This support is used above a chimney offset. When the offset of the chimney pass through a wall, this support can be installed on the wall to support the chimney.

Approved Chimneys
Table 4 : Approved Chimneys

APPENDIX 1: INSTALLATION OF THE REQUIRED AIR INTAKE
- The air intake kit is mandatory and supply air must either be taken directly outside the fireplace enclosure/chase or outside the house.
- If the air inlet is installed in the room directly outside the enclosure/chase, follow the steps illustrated in the image below; No minimum pipe length is required with this configuration.
- If the air intake comes from outside the house, also follow the installation steps below;
- The insulated flexible pipe (D) should be of sufficient length (at least 10’) and of a configuration to prevent condensation.
- The outside wall register (E) must not be installed:
- More than 50% of the total height of the chimney;
- At more than 10’ (3 m) above the base of the fireplace;
- More than 3’ (0.9 m) below the base of the fireplace
- The fresh air must come from outside the house. The air intake should not take air in the attic, basement or garage.
- The duct and the air intake can be installed above or below the floor level.
- The air intake should be installed high enough not to be obstructed by snow. It should be protected from the wind, away from automobile exhaust, a gas meter or other air inlets or outlets.

The following items are included with the fireplace:
- One (1) 4» (76 mm) adapter (B);
- One (1) air intake plate;
- Four (4) screws.
The following items are not included:
- The outside wall register (E);
- The two (2) adjustable collars (C);
- Insulated duct length 4» (D). (Duct must be HVAC type and must comply with ULC S110 or UL 181, Class 0 or Class 1 and must withstand temperatures up to 250° F).
Note: Only remove the knockout that will be used to connect the fresh air intake assembly.
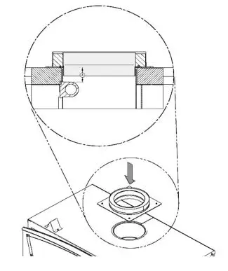
The fresh air intake can be installed in two different locations on the fireplace. On the right side (1) of the fireplace (the most common) or on the right side under the fireplace (2).

Installation

It is strongly recommended to wear gloves to complete the installation.
- To use the air intake on the right side, remove the knockout by cutting the micro-joints. Cut and remove the insulation and the other knockout inside the fireplace. To use the opening under the fireplace, only cut the knockout.
- Install the adapter included in the fireplace and align the notch of the adapter (T) with the one on the fireplace. Turn the adapter clockwise.

- If the air inlet installation is below the appliance, install the plate (F) with the supplied screw (G) on the opening on the right side of the appliance. The plate (F) and screws (G) are in the user manual.

- Install the flexible duct (D) on the fresh air inlet adapter (B) using one hose clamp (C). Fix the other end to the outer wall register (E) using the second hose clamp (C). The outer wall register (E) must be installed outside the house.
To properly install the flexible duct, gently remove the insulation and plastic wrap to expose the duct. Fix the duct using clamps. Stick aluminum tape around the joint between the duct and adapter to make the connection airtight. Carefully replace the insulation and plastic wrap on the duct. Secure the plastic with aluminum tape.
- To complete the installation, make a hole of ¼” to ½” (6 mm to 13 mm) bigger than the duct diameter on the outside wall of the house at the chosen location. From outside, place the outside wall register in the hole (open side down) and fasten the register to the wall, with screws.
Use the required length for the installation while respecting the maximum length of 30′ (9 m). To avoid condensation, it is recommended to use an insulated duct long enough and containing a «P-Trap» loop. This configuration can be done inside the chase, but must at all times maintain clearances to combustibles.
It is strongly recommended to install a mechanical shutter that closes the outside air inlet when the fireplace is not in use.
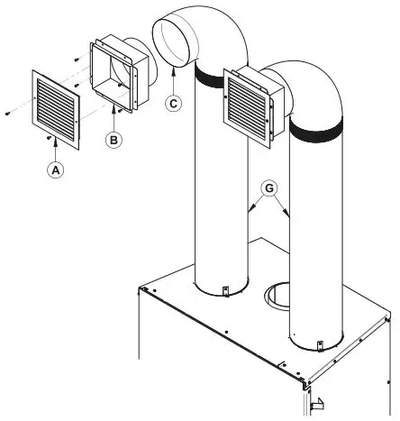
APPENDIX 2: OPTIONAL TRADITIONAL GRAVITY HOT AIR DISTRIBUTION KIT INSTALLATION
The kit includes:
- 2 hot air outlets (grilles (A) and frames (B));
- 2 90o elbows (C);
- 6 steel brackets (D) with fastening screws (E) and self-tapping screws (F)
Parts not included in the kit:
- 8″ rigid ducting (G), 26 ga, galvanized steel.

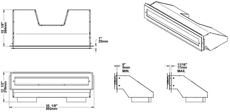
Dimensions of hot air outlet frame with elbow

Dimensions of hot air outlet decorative grille with elbow

Installation rules and advices
- The minimum height of the hot air duct is 68″ (1.7 m). It must be measured from the base of the fireplace to the top of the hot air outlets.
- Do not connect the hot air ducts to a central heating system. The malfunction of the heating system would overheat the fireplace.
- Do not use insulated flexible ducts as they may overheat.
- Do not use «T» fittings or anything other than those listed below.
- All ducts must be placed vertically or horizontally. Never route the ducting downwards.
- The flaps of the hot air outlet grills must point down to prevent overheating of the adjacent ceilings.
- Always install both hot air outlet grilles when the gravity air distribution kit is installed.
- The hot air outlets can be installed in the same room as the fireplace, or both can be installed in adjacent rooms or upstairs. If the outputs are installed at different heights, the higher output will draw more heat.
- When forced air kit is installed in conjunction with a gravity kit, the forced air device will draw some of the air from the gravity kit ducting, therefore reducing its efficiency.
Clearances
- Maximum length of pipes including elbows: 10′ (3 m)
- The maximum number of elbows allowed per duct is two.
- There shall be a clearance of at least 12″ (305 mm) between the hot air outlet frame and a ceiling, side wall or mantel made of flammable material.
- When the duct passes through a wall or floor made of flammable material, a firestop radiation shield (same as the one used for a class A chimney) must be installed in the opening of the wall or floor. There must be a clearance of at least 2″ (50 mm) between the ducts and the firestop.

Installation

It is strongly recommended to wear gloves to complete the installation.
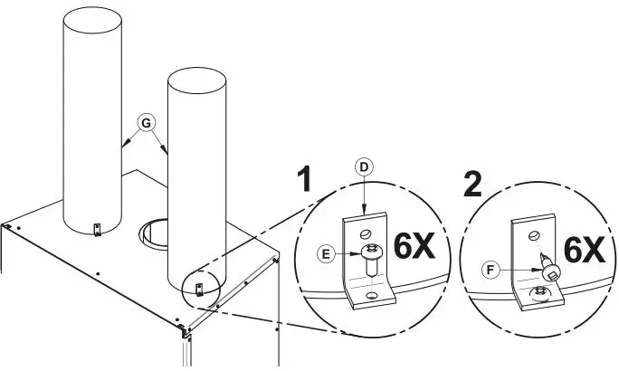
- Remove the knockouts that close the 8″ (20 cm) diameter holes on top of the fireplace. Then cut and remove the insulation and the other set of knockouts inside the fireplace.

- Screw the 6 steel brackets (D) with 6 screws (E) onto the top of the fireplace (3 per duct). Insert the ducts (G) (not supplied) into each opening and screw in place in the brackets (D) with 6 self- drilling screws (F).

- Fasten ducts (G) to 90 ° elbows (C) using self-drilling screws (3 per elbow). Insert the frames (B) into the elbow outlets (C). Press the frame on the back of the non-combustible wall and screw it in place. Screw the frame (B) to the outlet of the elbow (C) with 3 self-drilling screws in each. Attach the decorative grilles (A) to the frames with screws.

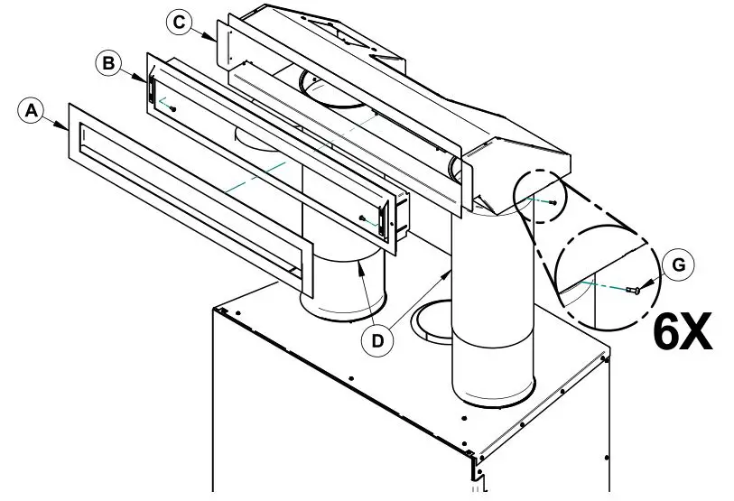
APPENDIX 3: OPTIONAL MODERN GRAVITY HOT AIR DISTRIBUTION KIT INSTALLATION
The kit includes :
- Decorative plate (A);
- Adjustable frame (B);
- Heat distribution box (C);
- Telescoping section (D);
- Anchor plates (E);
- All screws are included.

Not included in the kit:
- 8″ rigid ducting, 26 ga, galvanized steel. (if necessary according to the desired height).
Dimensions of heat distribution box

Dimensions of the decorative plate

Dimensions of assembled heat distribution box and adjustable decorative plate

Dimensions of telescoping section

Installation rules and advice
- The minimum height of the hot air duct is 68“ (1.7 m). It must be measured from the base of the fireplace to the top of the hot air outlets.
- Do not connect the hot air ducts to a central heating system. The malfunction of the heating system would overheat the fireplace.
- Do not use insulated flexible ducts as they may overheat.
- Do not use «T» fittings or anything other than those listed below.
- The hot air outlets can be installed in the same room as the fireplace or it can be installed in a room upstairs.
- When forced air kit is installed in conjunction with a gravity kit, the forced air device will draw some of the air from the gravity kit ducting, therefore reducing its efficiency.
Clearances
- There shall be a clearance of at least 12″ (305 mm) between the hot air outlet frame and a ceiling, side wall or mantle made of flammable material.
- When the duct passes through a wall or floor made of flammable material, a firestop radiation shield (same as the one used for a class A chimney) must be installed in the opening of the wall or floor. There must be a clearance of at least 2″ (50 mm) between the ducts and the firestop.

Installation

It is strongly recommended to wear gloves to complete the installation.
- Remove the knockouts that close the 8″ (20 cm) diameter holes on top of the fireplace. Then cut and remove the insulation and the other set of knockouts inside the fireplace.

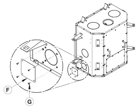
- Secure the 2 anchor plates (E) with 8 screws provided (F) on top of the fireplace (4 for each anchor plate). Insert the telescoping section (D) into each anchor plate and secure it with 6 other self-tapping screws provided (G).

- Secure the telescoping sections (D) to the heat distribution box (C) with self-tapping screws (G) (3 per telescoping section). Determine the needed height and secure the two parts of the telescoping sections together with 3 self-tapping screws. Insert the adjustable frame (B) in the heat distribution box (C), press it against the non-combustible material and secure with 4 screws into the heat distribution box. Set the decorative plate (A) to the adjustable frame (B).

APPENDIX 4: OPTIONAL FORCED AIR DISTRIBUTION KIT INSTALLATION
It is possible to connect a forced air distribution kit 18 on either sides of this fireplace. Installing the kit on the left side of the fireplace will provide better performances than on the right side.

This kit allows distributing heat to another room up to 50 feet (15 m) of the fireplace. The insulated flexible pipe (not included in the kit) must be HVAC type pipe and must comply with ULC S110 and/or UL 181, Class 0 or Class 1 Standards and must withstand temperatures up to 250°F. For the complete installation procedure, see the installation manual provided with the kit.

- The EPA standard states that it is necessary to perform certification testing with any ventilation that is likely to alter the units’ performance. For this reason, SBI has tested the effects of the forced air kit on the emissions of fine particles. Due to the design of the appliance and more specifically to the temperature sensor that is installed to control stops and starts, the forced ait kit does not affect the emission results. In fact, this option promotes the recovery of excess heat to later redistribute it to other rooms. During testing, it was noted that the convection blowers underneath the firebox had more of an effect on the fine particles emission due to the air being directed onto the firebox thus cooling the unit. However, this appliance has already been tested for emission with one or more convection blowers. The environmental requirements are then met efficiently.
APPENDIX 5: OPTIONAL FIRE SCREEN INSTALLATION
A fire screen door can be installed on the fireplace. For more details, refer to the installation manual supplied with the fire screen.
Warning: Never leave the fireplace unattended while in use with the firescreen.
- Open the door.

- Hold the firescreen and bring it close to the door opening.

- Lean the upper part of the firescreen against the top door opening making sure to insert the top firescreen bracket behind the primary air deflector.

- Lift the firescreen upwards and push the bottom part towards the fireplace then let the firescreen rest on the bottom of the door opening.
APPENDIX 6: REFRACTORY PANELS REPLACEMENT
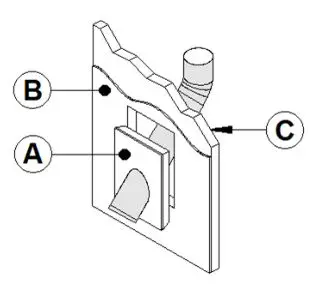
- Using a ratchet and a Torx (T-30) bit , unscrew the two screws (V) holding the andiron (U).

- Remove the floor refractory panel (W).

- Using a power driver, remove the refractory panels brackets (X) and the side refractory panels (Y), and front refractory protectors (AA).

- Remove the back refractory panel (Z).

APPENDIX 7: SECONDARY AIR TUBES AND BAFFLE INSTALLATION
- Starting with the rear tube, lean and insert the right end of the secondary air tube into the rear right channel hole. Then lift and insert the left end of the tube into the rear left channel.

- Align the notch in the left end of the tube with the key of the left air channel hole. Using a «Wise grip» hold the tube and lock it in place by turning the tube as shown. Make sure the notch reaches the end of the key way.

- Repeat for center back tube.
- Put the baffle in place.
- Repeat steps 1 and 2 for the two front tubes.
- To remove the tubes use the above steps in reverse order.
Note that secondary air tubes (A) can be replaced without removing the baffle board (B).

APPENDIX 8: EXPLODED DIAGRAM AND PARTS LIST

IMPORTANT: THIS IS DATED INFORMATION. When requesting service or replacement parts for your unit, please provide the model number and the serial number. We reserve the right to change parts due to technology upgrades or availability. Contact an authorized dealer to obtain any of these parts. Never use substitute materials. Use of non-approved parts can result in poor performance and safety hazards.


VENTIS LIMITED LIFETIME WARRANTY
The warranty of the manufacturer extends only to the original retail purchaser and is not transferable. This warranty covers brand new products only, which have not been altered, modified nor repaired since shipment from the factory. Proof of purchase (dated bill of sale), model name and serial number must be supplied when making any warranty claim to the VENTIS dealer.
This warranty applies to normal residential use only. This warranty is void if the unit is used to burn material other than cordwood (for which the unit is not certified by EPA) and void if not operated according to the owner’s manual. Damages caused by misuse, abuse, improper installation, lack of maintenance, over firing, negligence or accident during transportation, power failures, downdrafts, venting problems or underestimated heating area are not covered by this warranty. The recommended heated area for a given appliance is defined by the manufacturer as its capacity to maintain a minimum acceptable temperature in the designated area in case of a power failure.
This warranty does not cover any scratch, corrosion, distortion, or discoloration. Any defect or damage caused by the use of unauthorized or other than the original parts voids this warranty. An authorized qualified technician must perform the installation in accordance with the instructions supplied with this product and all local and national building codes. Any service call related to an improper installation is not covered by this warranty.
The manufacturer may require that defective products be returned or that digital pictures be provided to support the claim. Returned products are to be shipped prepaid to the manufacturer for investigation. Transportation fees to ship the product back to the purchaser will be paid by the manufacturer. Repair work covered by the warranty, executed at the purchaser’s domicile by an authorized qualified technician requires the prior approval of the manufacturer. All parts and labour costs covered by this warranty are limited according to the table below.
The manufacturer, at its discretion, may decide to repair or replace any part or unit after inspection and investigation of the defect. The manufacturer may, at its discretion, fully discharge all obligations with respect to this warranty by refunding the wholesale price of any warranted but defective parts. The manufacturer shall, in no event, be responsible for any uncommon, indirect, consequential damages of any nature, which are in excess of the original purchase price of the product. A one-time replacement limit applies to all parts benefiting from lifetime coverage. This warranty applies to products purchased after March 1 st 2019.

Labour cost and repair work to the account of the manufacturer are based on a predetermined rate schedule and must not exceed the wholesale price of the replacement parts. Shall your unit or a component be defective, contact immediately your VENTIS dealer. To accelerate processing of your warranty claim, make sure to have on hand the following information when calling:
- Your name, address and telephone number;
- Bill of sale and dealer’s name;
- Installation configuration;
- Serial number and model name as indicated on the nameplate fixed to the back of your unit;
- Nature of the defect and any relevant information.
Before shipping your unit or defective component to our plant, you must obtain an Authorization Number from your VENTIS dealer. Any merchandise shipped to our plant without authorization will be refused automatically and returned to the sender.
This document is available for free download on the manufacturer’s website. It is a copyrighted document. Resale is strictly prohibited. The manufacturer may update this document from time to time and cannot be responsible for problems, injuries, or damages arising out of the use of information contained in any document obtained from unauthorized sources.

Stove Builder International inc.
250, De Copenhague street,
St-Augustin-de-Desmaures (Québec), Canada
G3A 2H3
418-908-8002
https://www.valcourtinc.com/en/
[email protected]
Ventis HE275CF Wood Fireplace VB00017 User Manual – Optimized PDF
Ventis HE275CF Wood Fireplace VB00017 User Manual – Original PDF





























![Pleasant Hearth Electric Fireplace User Manual [model: 24-900-002] Pleasant Hearth Electric Fireplace User Manual [model: 24-900-002]](https://static-data1.manualsee.com/1/img/253/68707/2021/02/Pleasant-Hearth-electric-fireplace-User-Manual-Model-24-900-002.jpg)








