HOMEdex 14040BK 50 Inch Electric Fireplace

Consumer Safety Information
- Read this manual before installing and operating this appliance.
- Failure to follow these instructions may result in electric shock, fire property, or personal injury.
- Do not store or use gasoline or other flammable liquids in the vicinity of this appliance.
Important Safety Information!
Warning:
- Read all instructions before using this heater!
- This heater is hot when in use. To avoid burns, DO NOT let bare skin touch hot surfaces.
The power cord and grounding instructions
Warning:
- The power cord supplied with the heater has a plug with two flat blades (live and neutral) and one round pin (ground).
- If a 3-slot receptacle is not available, an adapter can be used. The adapter must be connected to the outlet box.
- The adapter should not be used if a three-slot grounded receptacle is available.
- Adapters are NOT for use in Canada.
Preparation
This product includes a GLASS panel! Always use extreme caution when handling glass. Failure to do so could result in personal injury or property damage.
Remove all parts and hardware from the carton and place them on a clean, soft, dry surface. Parts and assembly steps are grounded for wall-hanging or recessing use. Check the parts list to make sure nothing is missing. Dispose of packaging materials properly. Please recycle whenever possible. You will need the following tools (not included): Phillips screwdriver; stud finder; level; tape measure; electric drill; 1/4 wood drill bit, and hammer.
Product Dimensions
| Model Number | A | B | C | D | E | F | G |
|---|---|---|---|---|---|---|---|
| 50 14040BK | 127CM | 19 48CM | 5.1 | 46.5 | 18 | 10.6 43.3 | 13CM 118CM 45.5CM 27CM 110CM |
Product Usage Instructions
Your appliance is a wall-hung, recessed, and/or mantel-installed appliance. Select a suitable location that is not susceptible to moisture and is away from drapes, furniture and high-traffic areas. Follow all National and local electrical codes.
Minimum Clearance to Combustibles
Measurements are taken from the glass front.
- Bottom: 0
- Top: 11.8(300mm) to mantel
- Sides: 0
- Back: 0
Minimum Mantel Clearances
Warning: When using paint or lacquer to finish the mantel, the paint or lacquer must be heat-resistant to prevent discoloration.
- Mantel: 11.8(300mm)
Recessed to Wall Installation
Warning: Only qualified persons can perform the installation.
- Step A: Select a drywall to open a hole for the fireplace box.
Size of the hole is as below chart.
| Model Number | W | H |
|---|---|---|
| 14040BK | 47.5(120.6cm) | 19(48.3cm) |
- Wall Anchors (4pcs)
- 47.5W hole size
- H: 19 (A)
WARNING
- Read all instructions before using this heater!
- This heater is hot when in use. To avoid burns, DO NOT let bare skin touch hot surfaces. If provided, use handles when moving this heater. Keep combustible materials, such as furniture, pillows, bedding, papers, clothes, and curtains at least 3 feet (0.9m) from the front of the heater, and keep them away from the sides and rear.
- Extreme caution is necessary when any heater is used by or near children or invalids and whenever the heater is left operating and unattended.
- DO NOT operate any heater with a damaged cord or plug or after the heater malfunctions, has been dropped or damaged in any manner, Discard heater, or return to an authorized service facility for examination and /or repair.
- DO NOT run the power cord under the carpeting. DO NOT cover the power cord with throw rugs, runners, or similar coverings. DO NOT route power cord under furniture or appliances. Arrange the power cord away from the traffic area, and where it will not be tripped over.
- Connect to properly grounded outlets ONLY.
- DO NOT insert or allow foreign objects to enter any ventilation or exhaust openings, as this may cause electric shock or fire, or damage the heater. To prevent a possible fire, DO NOT block air intakes or exhaust in any manner. Doing so could cause a fire. DO NOT use on soft surfaces, like a bed, where openings may become blocked.
- A heater has hot and arcing or sparking parts inside. DO NOT use it in areas where gasoline, paint, or flammable liquids are used or stored.
- Use this heater only as described in this manual. Any other use not recommended by the manufacturer may cause fire, electric shock, or injury to persons. ALWAYS plug heaters directly into a wall outlet/receptacle. Never use with an extension cord or relocatable power tap (outlet/power strip).
- DO NOT place the heater near a bed because objects such as pillows or blankets can fall off the bed and be ignited by the heater.
- NEVER use this heater in bathrooms, laundry rooms, or any other location where the heater could fall into a bathtub or pool, become damp or come in contact with water.
- AVOID FIRE! Regularly inspect all air vents to make sure they are free from dust, lint, or other Blockage.Unplug the unit and clean with a vacuum ONLY.
- DO NOT rinse or get wet.
- ALWAYS hung to wall bracket before use. DO NOT set on the floor, or other surface, to use.
- NEVER use a wall hung bracket from another manufacturer.
- This product is not intended to be a primary heat source.
- It is for supplemental heat only.
- INDOOR use only! NEVER use this heater outdoors! Doing so may result in electric shock!
- Risk of electric shock! DO NOT OPEN! No user-serviceable parts inside!ALWAYS turn this heater off before unplugging it from the outlet.
- ALWAYS disconnect this unit from the power supply before performing any assembly or cleaning, or before relocating the electric fireplace.
- NEVER leave this heater unattended. ALWAYS unplug this heater when not in use. ALWAYS store this heater in a dry location.NEVER use the fireplace if it has become wet.
- NEVER plug this heater into an outlet that is old, cracked, or has any loose wires or connections. Plugging this heater into a faulty outlet could result in electric arcing within the outlet that could cause the outlet to overheat or catch fire.
- ALWAYS check your heater cord and plug connections with each use!
- MAKE SURE the plug fits tight in the outlet! Faulty wall outlet connections or loose plugs can cause the outlet to overheat.
- Heaters draw more current than small appliances. Overheating may occur even if it has not occurred with the use of other appliances.
- During use check frequently to see if the plug outlet or face plate is HOT!
- If the outlet or face plate is HOT, discontinue use immediately and have a qualified electrician inspect and/or replace the faulty outlets.
- The power cord supplied with the heater has a plug with two flat blades (live and neutral) and one round pin (ground). If a 3-slot receptacle is not available,
an adapter MUST be used. The adapter MUST be properly grounded to the outlet box (see figure at right).
(Note: Adapter NOT INCLUDED.) - SAVE THESE INSTRUCTIONS!
Grounding instructions
This heater is for use on 120 volts. The cord has a plug as shown at A in Figure 60.1. An adapter as shown at C is available for connecting three-blade grounding-type plugs to two-slot receptacles.
The green grounding lug extending from the adapter must be connected to a permanent ground such as a properly grounded outlet box.
The adapter should not be used if a three-slot grounded receptacle is available.
NOTE: Adaptors are NOT for use in Canada
PARTS & HARDWARE

Specification and Dimension

MINIMUM CLEARANCE TO COMBUSTIBLES
| Measurements are taken from the glass front. | |||
| Bottom | 0” | Top | 11.8”(300mm) to mantel |
| Sides | 0” | Top | 11.8”(300mm) to mantel |
| Back | 0” | ||
MINIMUM MANTEL CLEARANCES
WARNING: WHEN USING PAINT OR LACQUER TO FINISH THE MANTEL, THE PAINT OR LACQUER MUST BE HEAT RESISTANT TO PREVENT DISCOLOURATION
RECESSED TO-WALL INSTALLATION
WARNING Only qualified person can perform the installation.
STEP A. Selection a dry wall to open a hole for fireplace box. Size of hole as below chat.
| Framing Hole Size | ||
| Model Number | W | H |
| 14040BK | 47.5”(120.6cm) | 19”(48.3cm) |
STEP B. Punch 4 holes around the wall and install 4 Drywall anchors (Part C), please drive C completely into the wall.
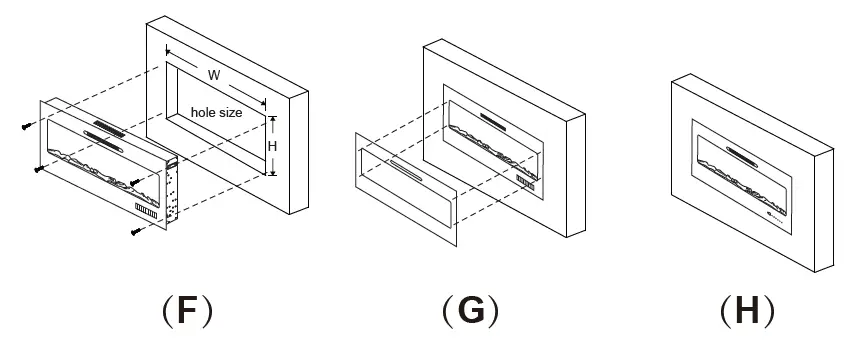
STEP C. Take off the screws (The fourth screw from top to bottom) in both sides of fireplace. Figure (C)
STEP D. Remove packaging attachments from the log set.
- Remove the front grass.
- Remove the pear cotton block.
- Remove the log set’s packaging bag.
STEP E. Have two person to take the glass panel out of the fireplace box. Place it to a soft and clean place. Figure (E)
STEP F. Take off the two screws in both sides of fireplace. Figure (C) If the appliance is fully recessed into the wall:
- Use the 4 screws(provided) to lock the appliance into wall with the existing two side flanges, see Figure(F)
- Install the media and re-install the glass front.
STEP G. Place the front panel locks on the appliance. See Figure (G)
STEP H. Fireplace will be like this after installation Figure (H)
Wall Hung Installation
WARNING
Only a qualified person can perform the installation.
Due to the many different materials used on different walls, it is highly recommended that you consult your local builder before you install this appliance on the wall.

Logset /Crystal Ember Installation
WARNING
Only qualified person can perform the installation.
- Remove the screws (The fourth screw from top to bottom) on both side of the device to remove the front grass.

- Take out the logs inside.
- Put the decorative crystals in.

- Install the glass plate.
Please Note
- When replacing the logset or d crystals, you need to turn off the power.
- When using log set, you need to take out the white shading plate inside.
- When using decorative crystals, suggest to
WARNING:
Read and understand this entire owner’s manual, including all safety information, before plugging in or using this product. Failure do to so could result in electric shock, fire, serious injury, or death.
OPERATION INSTRUCTION
Plug in a power plug hear a long buzzer and the electric fireplace is in standby mode. Press the POWER key on the keyboard to show red, and the rest of the display is not displayed. At this time, the electric fireplace is in standby mode.
Note: the ICONS on the keypad have the same function as the ICONS on the remote control.
| ICONS | FUNCTIONS |
![]() | Switch on/off Button: Switch On: Press the POWER button on keyboard or on remote control with a short buzzer sound,the electric fireplace starts to work, the POWER button on the keyboard with blue color, other keys with white color, the LED lights on the front and back start to light up, the display window shows the room temperature . When the input terminal of the controller is energized (that is, the power supply is 110V), only the power indicator of the touch panel lights up, and the digital tube and other lights are off. Self-check Function when plugged in: The fan and heating frame will run for 30 seconds and 10 seconds to dissipate heat after plugging in. All 9 flame colors will be on once, each frame color will last for 3 seconds, and the reflector motor and the light start synchronously, and keep rotating until the light goes out. Switch Off: Press the POWER button on keyboard or on remote control with a short buzzer sound, the LED light will be off/electric fireplace will be off/heating will be off. The POWER button on the keyboard will turn red to show all functions off.At the same time, the fan inside the fireplace will continue to last for 10 seconds after switching off, then the fireplace is in standby state. |
![]() |
High Temperature & Low Temperature Setting: Press “HEATER” button for 3 seconds to switch the temperature between °F and °C ( Note: The switch function is not available for different batches of fireplaces.) The initial default temperature is 72°F. If you need the fireplace runs the low temperature heating mode, press the HEAT button on the touch panel or remote control to switch your desired mode (Low temperature mode). (Press the button for the 1st time, the display window shows that the current heating mode, such as the default mode is high temperature heating, that is,”HH”. Press the button again, the display shows “LL”, that is low temperature heating mode. Press the button for the 3rd time, it displays OO, that is, the heating mode became OFF mode. The heating mode will be work on “HH-LL-OO” three modes in cycles. ) If you need to turn off the heating setting, you can also press the “DOWN” button. If the setting temperature is lower than room temperature, the heating function cannot be activated. When the heating is turned off, the fan inside the electric fireplace will work last for 10 seconds before totally stopped. |
![]() | Timer Setting: Timer can be set between 0-12 hours. The default timer is 0 hours. You can set it according needs with “TIMER” on touch panel or remote control. Press “TIMER” button when the display window shows “00” and flashes, then the timer will change ( From 0.5H-1.0H-1.5H-2H-…-11H-11.5H-12H) when you press. After setting to the required timer, the indicator light will flash for 10 seconds, then the setting is successful. Then the display window could back to show the room temperature. |
![]() | Temperature Increasing Button: The temperature can be set from 60°F (15°C) to 97°F (36°C) . The default temperature is 72°F (22°C). Press the “UP” button on touch panel or remote control each time, the temperature will add 1°F/1°C. Press the “UP” button for a long time, the number of temperature will continually increase until maximum temperature. After 10 seconds no operation on temperature setting, the display window will back to the room temperature. |
![]() | Temperature Decreasing Button: The temperature can be set from 60°F (15°C) to 97°F(36°C). The default temperature is 72°F (22°C). Press the “DOWN” button on touch panel or remote control each time, the temperature will decrease 1°F/1℃. Press the “DOWN” button for a long time, the number of temperature will continually decrease until minimum temperature (Long-time pressing is not suitable on the remote control). The red light flashes when setting. After 10 seconds no operation on temperature setting, the display window will back to the room temperature. |
![]() | Flame Brightness Setting: The flame brightness is on the brightest mode by default. There are 5 flame brightness levels. If you need to adjust the flame brightness, press the “DIMMER” button, the brightness of the LED lamp will become dark, and the display window of digital tube will show the level of the brightness. (In the middle of the digital tube will show the brightness level (5-4-3-2-1)). Every time pressing the DIMMER button, the number will minus 1, when the flame is in the darkest, then you press the DIMMER button, it will be back to the brightest flame again. |
|
| Flame Color Setting: The initial flame color is orange. Press the “COLOR MODE” button on the remote control, the display window will change from the temperature interface to the flame color setting interface. Each time you press, the flame color will change to: C-1 Orange; C-2 Green; C-3 Blue; C-4 White; C-5 Green + Orange; C-6 orange + blue; C-7 orange + white; C-8 Green + Blue; C-9 Green + White. |
![]() | Child Lock Setting: The remote control and touch panel have child lock function. After finished all functions settings, press the “UP”and “Down” button together for 3 seconds, or press “child lock” button on remote control, you will hear the short buzzer sound, then the fireplace is in locked function, and all the buttons can not be operated. In the middle of the display window is in a flickering state and shows “L” . After 10 seconds, the display window will be back to the room temperature display. If you want to operate the keyboard and the remote control again, you need to press the “UP” and “DOWN” button together on keypad for 3 seconds or “child lock” button on remote control for one second, and you will hear the short buzzer sound, then the child lock function is unlocked. |
Room temperature display error correction function:
When in use the heater, if the heater display the room temperature with the actual room temperature have error, you can use the temperature display error correction function to change the display window room temperature, through long time press TIME key on the keypad by 3 seconds, then the display window of room temperature normally light change to temperature correction display, The digital display is in the flashing display mode. When the first time used the temperature error correction function, Press the TIME button for 3 seconds, and the display window will be displayed as 0. At this time, every time you press the up or down key of the remote control, the display window will be up +1 or down -1 accordingly, and the correction range is between -9 and 9. If on the temperature error correction mode, 10S no operate of the keypad or remote control, then the display window will be turned back to the room temperature display mode.
Screen protection function
The heaters have a screen protection function, If the heaters after working without operation on the keypad or remote control after 30 seconds, the heater will be closed the keypad all display light expect the power on light. The heaters on normal work, if you need wake up the display again, then you only press any button on the keypad or on the remote control then it can be shown again.
NTC Error Alarm Function
The temperature can be adjusted when NTC plugged in. Unplug the NTC, the display window will display “E-1”, and the temperature touch button cannot be operated.
NOTICE When the heater is first turned on, a slight odor may be odor may be present. This is normal and should not occur again unless the heater is not used for a long period of time.
NOTICE To improve operation, aim the remote control at the front of the fireplace. DO NOT press the buttons too quickly.Give the unit time to respond to each command.
Temperature Limiting Control
This heater is equipped with a Temperature Limiting Control. Should the heater reach an unsafe temperature, the heater will automatically turn OFF. To reset:
- Turn the ON/OFF switch on the CONTROL PANEL to OFF. Wait 5 minutes.
- Unplug the power cord from the outlet.
- Inspect the fireplace to make sure no vents are blocked, or clogged with dust or lint. If they are, use a vacuum to clean the vent areas.
- With the POWER switch in the OFF position, plug the power cord back into the outlet.
- If the problem continues, have your outlet and wiring inspected by a professional.
Remote Control Battery Information
Small remote control uses one CR2025 battery(included)
NOTICE Remote control battery used depends on the remote control type which selected above.
NOTICE Remote control battery used depends on the remote control type which selected above.
NEVER dispose of batteries in fire. Failure to observe this precaution may result in an explosion. Dispose of batteries at your local hazardous material processing center.
CARE AND MAINTENANCE
Cleaning
ALWAYS turn the heater OFF and unplug the power cord from the outlet before cleaning, performing maintenance, or moving this fireplace. Failure to do so could result in electric shock, fire, or personal injury.
NEVER immerse in water or spray with water. Doing so could result in electric shock, fire, or personal injury.
Metal
- Buff using a soft cloth, slightly dampened with a citrus oil-based product.
- DO NOT use brass polish or household cleaners as these products will damage the metal trim.
Glass:
- Use a good quality glass cleaner and dry thoroughly with a paper towel or lint-free cloth.
- NEVER use abrasive cleansers, liquid sprays, or any cleaner that could scratch the surface.
Vents:
- Use a vacuum or duster to remove dust and dirt from the heater and vent areas.
- Clean the exterior of the fireplace with a slightly damp cloth or duster.
Maintenance
Risk of electric shock! DO NOT OPEN! No user-serviceable parts inside!
ALWAYS turn the heater OFF and unplug the power cord from the outlet before cleaning, performing maintenance, or moving this fireplace. Failure to do so could result in electric shock, fire, or personal injury.
Electrical and Moving Parts:
- The fan motors are lubricated at the factory and will not require lubrication.
- Electrical components are integrated in the fireplace and are not serviceable by the consumer.
Storage:
- Store the heater in a clean dry place when not in use.
WARNING! No other servicing should be performed by the consumer. Do not attempt to service the unit yourself.
Troubleshooting
WARNING
DISCONNECTED THE APPLIANCE COMPLETELY AND LET IT COOL PRIOR TO ANY SERVICE.
ONLY A QUALIFIED SERVICE PERSON SHOULD SERVICE AND PREPARE THIS ELECTRICAL APPLIANCE.
| Problem | Possible Cause | Solution |
| 1. Fireplace turns off and will not turn on. | 1. Fireplace has overheated and the safety devise has caused the thermal switch to disconnect or the home circuit breaker has opened. | 1. Pull the plug, wait 5 minutes to plug it back in and turn it on. |
| 2.Flame is not moving. | 1. Loose wiring. 2. Flame motor defective. | 1. Inspect wiring for loose connections. |
|
3. Flame is not visible. |
1. Wiring is loose. | 1. Disconnect from the power source and inspect the wiring for loose connections and repair or replace if necessary. 2. Push the flame button to high. |
| 4.Log set and/or is not glowing. | 1. Wiring is loose | 1. Disconnect from the power source and inspect the wiring for loose connections and repair or replace if necessary. |
| 5. Remote control does not work. | 1. Low batteries. 2. Not aiming control correctly. 3. Defective remote control and/or sensor | 1. Replace the batteries in the remote control. 2. Aim control at the sensor located directly behind the glass screen in the center of the unit just above logs. |
HOMEdex 14040BK 50 Inch Electric Fireplace

























