FESTIVO F36-20B Electric Fireplace
SAFETY INFORMATION
Please read and understand this entire manual before attempting to assemble, operate or install the product.
Any use of this appliance other than that recommended be the manufacturer in this owner manual may cause fire, burns, electric shock and/or other serious injuries or death.
When using electrical appliances, basic precautions should always be followed to reduce the risk of fire, electric shock and injury to persons including the following:
- Read the manufactures instructions completely before using this appliance.
- This appliance will become hot when in use. To avoid burns, do not let bare skin touch hot surfaces the grill at the top of this heater in particular will become hot when the heater is active. Take special care not to block the air intake or exhaust vents.
- Extreme caution is necessary when the appliance is used by or near children or invalids and whenever the heater is left operating and unattended.
- Do not operate the heater if the power cord or plug has been damaged or the heater has been damaged or malfunctioned in any way. Take the appliance to an authorized service facility for examination, electrical or mechanical adjustment or repair.
- Do not use in the outdoors. .
- This heater is not intended for use in bathrooms, laundry areas and similar indoor location. Never locate heater where is may fall into a bathtub or other water container.
- To disconnect the appliance, turn all control “OFF”, and remove the plug from the electrical outlet.
- The appliance comes equipped with a 3 prong-grounding plug. Do not cut the grounding prong. Connect to properly grounded 120 Voutlets only.
- Do not insert or allow foreign objects to enter any ventilation or exhaust openings as this may cause an electric shock or fire, or damage the appliance.
- To prevent a possible fire, do not block air intakes or exhausts in any manner. Do not use on soft surfaces, like a bed, where openings may become blocked.
- All electrical heaters have hot and arching or sparking parts inside. Do not use in areas where gasoline, paint, or flammable liquids are used or stored or where the appliance will be exposed to flammable vapors.
- Avoid using the appliance with an extension cord. Extension cords may overheat and cause a risk of fire. If an extension cord MUST be used, the cord must be No. 16AWG minimum size and rated not less than 1875 Watts. The extension cord must be a 3-prong cord with grounding type plug and cord connection and should not exceed 20″(6m) in Length.
- When transporting or storing the heater, take care to keep both the unit and power cord/plug dry, free from excessive vibration and away from heat sources.
- Use the heater only as described in this manual. Any other use not recommended by the manufacturer may cause fire, electric shock, or injury to persons.
- Do not attempt to burn wood or other materials in this heater.
- Always unplug the electric heater when not in use.
- Do not strike the glass panel.
- Always use a certified electrician if new circuits or outlets will be required.
- Always use properly grounded, fused and polarized.
- When cleaning the exterior of the electric fireplace, cut off the power first, do not spray with water, but wipe with a soft cloth.
- Do not put combustibles near the air outlet to avoid fire.
PREPARATION
CAUTION: This heater has front panel made of GLASS! Always use extreme caution when handling glass Failure to do so could result in personal injury or personal damage.
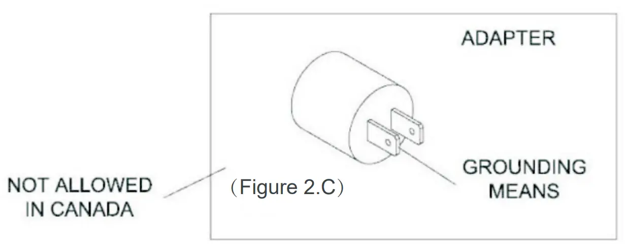
This heater is for use on 120 Volts. The heater has a 3-prong grounded plug (Figure 2.A). If your electrical outlet has only 2 slots (Figure 2.B), you will have to use an adapter (Figure 2.C) to convert from the 3-prong power cord to a 2-slot receptacle. The green grounding plug extending from the adapter must be securely connected to a permanent ground such as a properly grounded outlet box. The adapter should only be used if a proper 3-slot receptacle is not available.
NOTE: Adapters are not allowed for use in Canada.


A 15 AMP circuit is required to operate this appliance. If the breaker trips when the appliance is
running, you may need to move the appliance to another location or unplug other appliances that are on the same circuit.
Installation
Please assemble on soft and clean surface, prevent damage or scratch.
- Loosen the screws on both sides of the glass frame and take out the glass frame assembly:
Attention: The unscrewed glass frame would be easily dropped down. Please hold two sides of the frame.
- Put in glass beads or Faux logs:

- Install the glass frame into the product (Note: there are 3 snap positions at the bottom of the product, which need to be aligned with the 3 snap holes at the bottom of the glass frame):

- Tighten the screws on both sides of the glass frame:

OPERATING INSTRUCTION
Read all instructions and warming prior to operating the appliance. Ensure that all controls are in the “OFF” position before plugging the appliance in to a properly grounded electrical outlet.
Flame and heater can be presenting separately or at the same time.
The Fireplace control functions can be accessed in two ways.
- Using the control button, located on the upper right hand of the fireplace (Figure 4).
- Using the multi-function remote control (Figure 5), functions same as control button.
Attention: It would have a better performance when you try to adjust the temperature or timer using remote control pointing at the control button of the fireplace.
Figure 4
Figure 5
Using the Control Panel
Figure 6
Power(Figure 6.A)
Press the POWER button turn on the unit. Press again to turn off the unit. As long as the unit is powered on, the flame and log will be alight and all functions are accessible.
Flame button (Figure 6.B)
Flame button, there are four flame colors option. Pressing once, the flame change from Mix orange and blue to orange. Second press, flame change from orange to blue. The third pressing, flame would cycle from orange/blue/mix orange and blue. The fourth pressing, flame would change back to Mix orange and blue.
Long pressing this button for 3 seconds, it would change the temperature unit from℉ to ℃.
Ember bed button (Figure 6.C)
Ember bed button. There are four ember bed color options. Pressing once, the color would change from orange to blue. Secondly pressing, the color would change from blue to white. Thirdly pressing, the color would get into a cycle changing from green/ blue/ white. Fourthly pressing, the color would change back to orange.
Heat (Figure 6.D)
Heating button. Pressing once, lower level of heating power. Secondly pressing, high level heating power. Thirdly pressing, turn off heating. Long pressing this button for 3 seconds, it could change the temperature unit from ON/62℉/64℉……82℉. ON means high power heating. It would not be affected by the temperature sensor. If setting temperature, the unit would automatic heat up according to the environment temperature.
Timer (Figure 6.E)
Press once to activate the TIMER, use the Timer to have the unit turn off automatically after 0.5 H to 9 H, the display screen will display the setting shortly.
CARE AND MAINTENANCE
WARNING: Before attempting to perform any maintenance on this unit, turn all controls to the “OFF” position and unplug. Allow the unit to be “OFF” for at least 10 minutes before any maintenance applied in order to allow all components to cool down properly.
Cleaning:
- To remove dust, fingerprints or other marks from glass window, use clean damp cloth. Do not spray glass cleaner or other liquids directly onto the glass.
- Clean metal surfaces with a clean damp cloth making sure not to push dust or debris into any
air intake or exhaust vents. - Do not use abrasive cleaners or spray liquids on any part of the appliance.
- Periodic cleaning vacuuming of the fan/heater unit is strongly recommended to ensure that no dirt or foreign objects build up.
Replacing Remote Control Battery:
If the remote control stops functioning or operates poorly, the battery should be replaced with new one (model# CR2025):
- The battery compartment can be found on the back side of the remote control.
- Press and slide the battery door to open and remove the old battery.
- Insert a new CR2025 coin battery making sure that the polarity “+”and “-” attaches properly as illustration showing.
- Close the battery door.
Warning
Like with any other remote control unit, the remote control unit included with your fireplace may occasionally affect controlling other electric products such as TVs. If this occurs, you can change the encryption on your fireplace remote so that it will not affect other products. To change the settings on your fireplace remote, hold down the Timer button on the fireplace remote for 3 seconds. To testing, use your fireplace remote and see if your other products are still affected. If so, you may change your fireplace remote to a third encryption by again holding down the Timer button on the remote for 3 seconds. To test this third encryption setting, use your fireplace remote and see if your other products are still affected. To get back to the original encryption setting, hold down the Timer button on the fireplace remote for 3 seconds.
Zero Clearance Fireplace
The electric fireplace has zero clearance safety technology, with the advanced zero clearance safety sensor. If there is something covering or closing the slide outs, after about 20 seconds, the appliance will switch off power automatically. Then pull the plug out, Let the appliance cool down for 3 minutes, Plug the power cord again, the fireplace will be working again.
TROUBLESHOOTING
WARNING: Turn off the unit unplug and allow the unit to cool for at least 10 minutes before attempting to perform any service. Only a qualified professional should attempt to service or repair the unit.
| PROBLEM | POSSIBLE CAUSE | SOLUTION |
| Simulated flame is dim or not presenting. |
|
|
| The appliance turns off and will not turn back on. |
|
|
| The appliance does not turn on when the appliance setup to be “ON”. |
|
|
| Remote Control does not work. |
|
|
PRODUCT SPECIFICATIONS
| Voltage | 120VAC,60Hz |
| Amps | 12.5Amps |
| Watts | 1500Watts |
























