HOMEDEPOT WH200-23C1D-R ELECTRIC FIREPLACE-HEATER
Safety Information
IMPORTANT SAFETY INFORMATION
PLEASE READ ALL OF THE INFORMATION IN THIS OPERATING MANUAL, INCLUDING ALL SAFETY, OPERATING, AND MAINTENANCE INFORMATION. TO AVOID THE POTENTIAL RISK OF FIRE, ELECTRIC SHOCK, OR INJURY TO PERSONS, USERS SHOULD FOLLOW THE DIRECTIONS AND WARNINGS IN THIS MANUAL.
- Read all instructions before using this heater.
- Do not use this heater outdoors.
- This heater is not intended for use in bathrooms, laundry areas and similar indoor locations. Never locate the heater where it may fall into a bathtub or other water container.
- Do not run the power cord under carpeting. Do not cover the power cord with throw rugs, runners, or the like. Arrange the power cord away from traffic areas and where it will not be tripped over.
- To disconnect the heater, turn controls to off, then remove the plug from the outlet.
- Connect to properly grounded outlets only. Avoid the use of an extension cord because the extension cord may overheat and cause a risk of fire. However, if you have to use an extension cord, the cord shall be No.14 AWG minimum size and rated not less than 1875 watts.
- To prevent a possible fire, do not block firebox air intakes or the exhaust in any manner. Do not operate the firebox on soft surfaces, like a bed, where openings may become blocked.
- There is a thermostat limiter inside the heater. When the inner temperature over heats or abnormal heating occurs, the thermostat protective device cuts off the power supply to avoid fireplace damaged or risk of fire.
- Use this heater only as described in this manual. Any other use not recommended by the manufacturer may cause fire, electrical shock, or injury to persons.
WARNING
- There are no user serviceable parts inside the fireplace/heater. If the unit appears to malfunction, tum the unit off and unplug the unit from the wal immediately, and contact Customer Service at 1-877-527-0313
- This heater is hot when in use. To avoid burns, do not let bare skin touch hot surfaces. If provided, use handles when moving this heater. Keep combustible material, such as fumiture, pillows, bedding, papers, clothes and curtains at least 3 ft. (0.9 meters) from the front of the heater and keep them away from the sides and rear.
- Extreme caution is necessary when any heater is used by or near children or invalids and whenever the heater is left operating and unattended.
- Always unplug the heater when not in use.
- Do not operate any heater with a damaged cord or plug or after the heater maifunctions, has been dropped or damaged in any manner. Return the heater to an authorized service facility for examination, electrical or mechanical adjustment, or repair.
- Do not insert or allow foreign objects to enter any ventilation or exhaust openings as this may cause an electric shock or fire, or damage the heater.
- A heater has hot and arching or sparking parts inside. Do not use in areas where gasoline, paint, or flammable liquids are used or stored.
CAUTION: While the heater is in use, the top center of the fireplace can get hot to the touch and may cause severe injury or burns. Always supervise small children around the fireplace/heater. Do not place any cloth or decorations Over the heater outlet of the fireplace, or otherwise obstruct the heater outlet of the fireplace, as this may cause a fire and severe injury may result.
GROUNDING INSTRUCTIONS
DANGER: Improper connection of the equipment-grounding conductor can result in a risk of electric shock. Check with a qualified electrician or serviceman if you are in doubt as to whether the product is properly grounded. Do not modify the plug provided with the product. If it will not fit the outlet, have a proper outlet installed by qualified electrician.
This product must be grounded. If it should malfunction or breakdown, grounding provides a path of least resistance for electric current to reduce the risk of electric shock. This product is equipped with a cord having an equipment-grounding conductor and a grounding plug. The plug must be plugged into an appropriate outlet that is properly installed and grounded in accordance with all local codes and ordinances.
This heater is for use on 120 volt circuits and has a grounded plug. An adapter is available from your local electronics store or online supplier for connecting three-blade grounding type plugs to two-slot receptacles. The green grounding lug extending from the adapter must be connected to a permanent ground such as a properly grounded outlet box. The adapter should not be used if a three-slot grounded receptacle is available.
Warranty
We are confident that you will be delighted with this purchase. Should this product be defective in workmanship or materials, or fail under normal use, we will repair or replace it for a period of up to one (1) year from date of purchase.
This warranty gives you specific rights and you may also have other rights which vary from state to state.
Contact the Customer Service Team at 1-877-527-0313 or visit www.HomeDepot.com.
Pre-Installation
ELECTRICAL SPECIFICATIONS
- Voltage: 120 V AC, 60 Hz
- Watts: 1400 Watts
TOOLS REQUIRED
Phillips screwdriver (not provided)
HARDWARE INCLUDED
NOTE: Hardware not shown to actual size.
| Part | Description | Quantity |
| ZZ | Screw | 12 + 3 extra |
PACKAGE CONTENTS
| Part | Description | Quantity |
| V | Remote Control with Battery | 1 |
| W | Fireplace Insert | 1 |
| X | Top Trim | 1 |
| Y | Side Trim | 2 |
CAUTION: This insert has front panel made of GLASS! ALWAYS use extreme caution when handling glass. Failure to do so could result in personal injury or property damage.
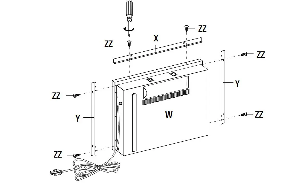
Assembly
Attaching the metal trims
- Fasten the top trim (X) to the top of the fireplace insert (W) with two screws (ZZ). Make sure that the right angle side points towards the front of the unit.
- Align and attach two side trims (Y) to both sides of the fireplace insert (W) respectively with the right angle side facing the front of the unit, using two screws (ZZ) per trim.

Installing the fireplace insert
Carefully set the fireplace insert (W) into the back of the mantel and center it in the opening. Use care not to scratch the wood. Check the alignment, and then attach the fireplace insert (W) to the mantel by inserting the screws (ZZ) through the drilled holes on the trims (X and Y) and securely screw into place using a Phillips screwdriver.
NOTE: DO NOT attempt to install the insert from the front of the mantel – it will not fit.
Operation
Identifying the control panel
- The control panel is located on the top right corner of the fireplace/heater unit.
- The control panel contains the main power (1), flames control (2) and heater control (3).

Using the main power button
Press the power button (1) to turn the fireplace/heater unit on and off. Press the power button (1) once to turn the unit on. Press again to turn the unit off.
Using the Demo Mode
- For Use in Retail Store.
- To turn Demo Mode on, press and hold the power button (1) for 10 seconds. The log lights flash several times to indicate that the Demo Mode is turned on. Demo Mode deactivates the heater and all front control panel buttons except the flame control button. To turn Demo Mode off, press and hold the power button (1) for 10 seconds. This fireplace is shipped with Demo Mode turned off for normal customer usage.

Using the heater control
- Press the heater button (3) to turn ON or OFF the heat function.
- If the heater is left on when the unit is turned off by the main power button (1), then the heater will come on automatically when the unit is turned back on. If the heater is off when the unit is turned off, then the heater will remain off with the unit is turned back on. Note that turning on the heater will require the flame lights to remain on at high, medium, or low. – There is no adjustable thermostat for controlling temperature settings in this unit.

Using the flame control
- Press the flame button (2) to set the flames for different levels of flame brightness. You can control the flame brightness as the table below:
Button Press Flame Level Fireplace Appearance 1st press Medium Flames Medium, Logs Glow Medium 2nd press Low Flames Low, Logs Glow Low 3rd press All Off Flames Off, Logs Off 4th press High Flames Highest, Logs Glow Highest - When the heater function turns on, the flame level will cycle through the 3 different level settings continuously
| Button Press | Flame Level | Fireplace Appearance |
| 1st press | Medium | Flames Medium, Logs Glow Medium |
| 2nd press | Low | Flames Low, Logs Glow Low |
| 3rd press | High | Flames Highest, Logs Glow Highest |
If the flame is off when the unit is turned off by the main power button, the flames will come on in highest mode when you turn the heater on.
Using the Remote Control
Installing the battery
The battery is supplied with the remote control. The first thing to do with the remote control is to remove the plastic sheet insulated the battery. For replacement battery, use lithium-based CR2025 battery. Please follow the sequence below to replace the battery.
- Take out the battery bracket. 1

- Insert the battery with the button side into the battery bracket, making sure the battery is firmly seated.

- Press the battery bracket into the remote control, making sure it snaps into position.

- Turn the remote over and aim it towards the fireplace/heater unit.
- Press the power button on the top and see if the flames on the fireplace/heater turn on or off.
- If nothing appears to happen, check to make sure the battery is installed correctly, and try again.
WARNING: Do not ingest batteries.
- Non-rechargeable batteries are not to be recharged.
- Batteries are to be inserted with the correct polarity.
- Exhausted batteries are to be removed from the product.
- Always purchase the correct size and grade of battery most suitable for the intended use.
- Clean the battery contacts and also those of the device prior to battery installation.
- Remove batteries from equipment when not used for an extended period of time.
NOTE:
Battery disposal
Please always dispose of batteries at a suitable recycling point.
Using the remote control
The operation of the remote control buttons work the same as the buttons on the front panel of the fireplace/heater. Review the operation section for more information on the functionality of these buttons.
Care and Maintenance
WARNING: Always disconnect from the power supply before cleaning the heater. First turn off the main power. Then remove the electrical plug from the wall outlet.Do not use this fireplace insert if any part of it has been under water. Immediately call a qualified service technician to inspect the firebox and replace any part of the electrical system which has been under water.
The blower motor and flame motor are pre-lubricated for a durable using time and need no further lubrication or maintenance. To remove any accumulation of dust or debris, the soft brush attachment of a vacuum cleaner should occasionally be used to clean the outlet grille of the fan heater.
- Use a soft, clean cloth that will not scratch the surface when dusting.
- Use a clean soft cloth dampened with warm water to clean the fireplace surface. DO NOT use household or abrasive cleaners, as these products may damage the surface.
- When cleaning the glass viewing screen use a non-abrasive damp cloth with liquid cleaner or soft soap if necessary; DO NOT use cleaning powders or any other substance with abrasives since these substances will scratch glass.
- Under no circumstances should this product be operated with a broken or chipped glass panel.
- Do not strike or slam the glass.
- In the event that your appliance is stained or otherwise damaged during use, we recommend that you call a professional to repair it.
- When not in use please unplug the cord from the outlet to prevent any damage or accidents.
Troubleshooting
| Problem | Solution |
| No heat, but flame works. | □ Heater is off, turn on the heater by pressing the Heater control button once. |
| No heat, and no way to power off the unit. Only the Flame button works properly. The Power and Heater buttons are disabled. | □ Fireplace is in Demo Mode. □ To deactivate Demo Mode, press and hold Power button for at least 10 seconds; then normal functions are activated. |
| Remote control is not working. | □ Change the remote battery. □ Operate remote transmitter at a slow measured pace. Press the remote control buttons with an even motion and gentle pressure. □ Repeatedly pressing buttons in rapid succession may cause the transmitter to malfunction. □ Stand closer to your fireplace. □ Remove objects that may block your remote control’s ability to communicate with your fireplace. |
| The unit does not turn on. | □ Check that the unit is fully plugged into a standard 120 V outlet. □ Press the Power button on the control panel. |
| Using the fireplace with the heater ON causes a trip in my power circuit. | □ Unplug other appliances from the same circuit and same outlet as the fireplace. Do not overload the circuit. □ Connect the fireplace to a properly grounded outlets with thicker cord. □ Replace with a qualified fuse-box with a heavy load. |
| The Heater automatically shut off, and pressing the Heater button causes no actions. Other control buttons are working as normal. | □ The fireplace shut itself off as a safety protocol to prevent overheating. □ Make sure that no objects are blocking the air vents on the front, top, or back of your fireplace. □ To reset the fireplace, unplug the unit from the wall outlet for 5 minutes, and let it cool down. After 5 minutes plug the unit back into the wall outlet. |
| When will the Heater turn off? | □ This heater does not have a thermostat with temperature adjustment or timer feature built in. It will stay on until turned off, or until it triggers automatic shut-down (if it’s beginning to overheat) for your safety protection. |



























