BOLDGETT ZEPHAIRE-200-E CONVECTION OVEN

Installation
Oven Description and Specifications
Cooking in a convection oven differs from cooking in a conventional deck or range oven since heated air is constantly recirculated over the product by a fan in an en-closed chamber. The moving air continually strips away the layer of cool air surrounding the product, quickly allowing the heat to penetrate. The result is a high quality product, cooked at a lower temperature in a shorter amount of time. Blodgett convection ovens represent the latest advancement in energy efficiency, reliability, and ease of operation. Heat normally lost, is recirculated within the cooking chamber before being vented from the oven: resulting in substantial reductions in energy consumption and enhanced oven performance.

| ELECTRICAL RATINGS | ||||||||
| VOLTAGE | HZ | KW | PHASE | MAX LOAD (AMPS) | ELECTRICAL CONNECTION AWG* | |||
| L1 | L2 | L2 | N | |||||
| 208 | 60 | 11 | 1 | 51 | 0 | 51 | — | 6 |
| 208 | 60 | 11 | 3 | 31 | 29 | 29 | — | 8 |
| 220-240 | 60 | 11 | 1 | 44 | 0 | 44 | — | 6 |
| 220-240 | 60 | 11 | 3 | 26 | 24 | 24 | — | 8 |
| 440 | 60 | 11 | 3 | 15 | 14 | 14 | — | 12 |
| 480 | 60 | 11 | 3 | 14 | 13 | 13 | — | 12 |
| 220/380 | 60 | 11 | 3 | 18 | 15 | 15 | 3 | Size per local code |
| 220/380 | 50 | 11 | 3 | 18 | 15 | 15 | 3 | Size per local code |
| 240/415 | 50 | 11 | 3 | 18 | 14 | 14 | 4 | Size per local code |
| 230/400 | 50 | 11 | 3 | 18 | 15 | 15 | 3 | Size per local code |
| * Electric connection wiring is sized for 90ºC copper wire at 125% of rated input. | ||||||||
DELIVERY AND INSPECTION
All Blodgett ovens are shipped in containers to prevent damage. Upon delivery of your new oven:
- Inspect the shipping container for external damage. Any evidence of damage should be noted on the delivery receipt which must be signed by the driver.
- Uncrate the oven and check for internal damage. Carriers will accept claims for concealed damage if notified within fifteen days of delivery and the ship-ping container is retained for inspection.
The Blodgett Oven Company cannot assume responsibil-ity for loss or damage suffered in transit. The carrier as-sumed full responsibility for delivery in good order when the shipment was accepted. We are, however, prepared to assist you if filing a claim is necessary.
OVEN LOCATION
The well planned and proper placement of your oven will result in long term operator convenience and satisfactory performance. The following clearances must be maintained between the oven and any combustible or non-combustible con-struction.
Zephaire-100-E
- Oven body right side – 0” (0 cm)
- Oven body left side – 0” (0 cm)
- Oven body back – 0” (0 cm)
- Single and stacked oven bottom – 4-1/2” (11.4 cm)
Zephaire-200-E
- Oven body right side – 1/2” (1.3 cm)
- Oven body left side – 1/2” (1.3 cm)
- Oven body back – 1/2” (1.3 cm)
- Single and stacked oven bottom – 1/2” (1.3 cm)
adequate clearances must be available for servicing.
- Keep the oven area free and clear of all combus-tibles such as paper, cardboard, and flammable liquids and solvents.
- Do not place the oven on a curb base or seal to a wall. This will restrict the flow of air and prevent proper ventilation resulting in damage to the oven.
Before making any utility connections to this oven, check the rating plate to be sure the oven specifications are compatible with the electrical services supplied for the oven. Pull out control panel. The rating plate attached to the inside of the control compartment.
- Do not place strong sources of heat such as open flame ranges, griddles, or charbroilers near the oven. If such an instance exists, it is highly recom-mended to purchase a heat shield, available from Blodgett.
- Note that if temperatures are too high, a safety shut-down may occur.
- Failure to comply may invalidate the oven warranty.
Utility Connections – Standards and Codes
THE INSTALLATION INSTRUCTIONS CONTAINED HEREIN ARE FOR THE USE OF QUALIFIED INSTAL-LATION AND SERVICE PERSONNEL ONLY. INSTAL-LATION OR SERVICE BY OTHER THAN QUALIFIED PERSONNEL MAY RESULT IN DAMAGE TO THE OVEN AND/OR INJURY TO THE OPERATOR. Qualified installation personnel are individuals, a firm, a corporation, or a company which either in person or through a representative are engaged in, and responsible for:
- the installation of electrical wiring from the electric meter, main control box or service outlet to the elec-tric appliance.
- Qualified installation personnel must be experienced in such work, familiar with all precautions required, and have complied with all requirements of state or local authorities having jurisdiction.
U.S. and Canadian installations
Installation must conform with local codes, or in the ab-sence of local codes, with the National Electrical Code, ANSI/NFPA 70-Latest Edition and/or Canadian National Electric Code C22.2 as applicable. Appliance is to be installed with backflow prevention in accordance with applicable federal, province and local codes.
General export installations
Installation must conform with Local and National instal-lation standards. Local installation codes and/or require-ments may vary. If you have any questions regarding the proper installation and/or operation of your Blodgett oven, please contact your local distributor. If you do not have a local distributor, please call the Blodgett Oven Company at 0011-802-658-6600.
ELECTRICAL CONNECTION
The electric motor, indicator lights and related switches are connected to the oven as follows: The service line will enter trough the rear of the oven and connected to the terminal block (see diagram).
- Remove the bottom trim and control panel. Removal of the body side is not necessary.
- Remove knock-out in the rear of the unit and run the supply power line to terminal block and connect the wires.
- Reinstall the control panel and the bottom trim.
The Blodgett Oven Company cannot assume responsibil-ity for loss or damage suffered as a result oF improper installation.

Oven Assembly
NSF BOLTS
These bolts are required by NSF to block any exposed hole on the back of an oven. This includes:
- any unit, single or stacked, without a back panel.
- any holes in stacked units not used for mounting stacking brackets.
- Locate the 5/16” bolts that were shipped with the oven.
- Install the bolts as shown

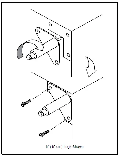
LEG ATTACHMENT
- Push the oven onto a lift with the bottom of the oven down.
- Align the threaded stud in each leg with the nut located inside each bottom corner of the oven frame. Turn the legs clockwise and tighten to the nearest full turn.
- Align the two leg plate holes in each leg with those in the oven bottom. Secure each leg using two 1/2” bolts.
NOTE: If using casters see CASTER ASSEMBLY before proceeding. - Level the oven by screwing the adjustable leg feet in or out as necessary.

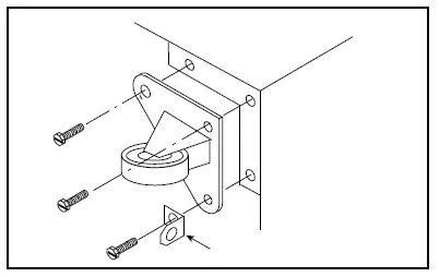
CASTER ASSEMBLY
NOTE: Install the locking casters on the front of the oven. Install the non-locking casters on the back of the oven.
Casters for Single and Double Stacked Ovens:
- Attach the legs as described.
- Pry the adjustable feet out of the legs.
- Insert one caster into each leg as shown. Tighten the large hex nut to secure the casters


Oven Assembly
- Secure the short legs to the bottom sections as described.
- Place the upper section in position on top of the lower oven.
- Attach the stacking brackets using the remaining 5/16” bolts shipped with the ovens.
- Attach the flue connector.
The following instructions apply to stacking a new style oven on an old style oven.
- Secure the short legs to the bottom sections as described.
- Place the upper section in position on top of the lower oven.
- Attach the stacking brackets using the remaining 5/16” bolts shipped with the ovens.
- Drill a clearance hole for a 5/16” bolt in the angle iron of the old style oven. Use the holes in the stacking brackets as a pilot.
- Attach the stacking brackets to the old style oven with the 5/16” bolts and nuts provided in the kit.
- Attach the flue connector.
After assembly, the oven should be leveled and moved to the operating location. The oven can be leveled by adjusting the feet or casters located on the bottom of each leg.

Operation
SSI-D Infinite Control w/Digital Timer

CONTROL DESCRIPTION
- CAVITY LIGHTS ON/OFF – Operates the oven cavity lights.
- BLOWER HI/LO/OFF SWITCH – Controls the operation of the blower. If the blower switch is in the OFF position the oven will be turned off.
- MODE SWITCH – When the switch is in the COOK position, the oven can be used to cook. When the switch is in the COOL DOWN position, the oven is cooling down for the next bake.
- OVEN READY LIGHT – When lit indicates burners are operating. When the light goes out the oven has reached operating temperature.
- SOLID STATE THERMOSTAT – allows an infinite selection of temperatures from 150-500°F (66-260°C).
- DISPLAY – displays cook time
- TIMER DIAL – used to enter desired cook time
- HEAT CUTOFF – circuit breaker
- Set the MODE switch (3) to the COOK position. Turn the SOLID STATE THERMOSTAT (5) to the desired operating temperature.
- Set BLOWER Switch (2) to the desired speed.
- Preheat until the OVEN READY LIGHT (4) goes out.
- Load product into the oven. Rotate the dial (7) to the desired time. The timer will begin to countdown after approximately 1 second. When the buzzer sounds, remove the product from the oven. Turn the TIMER dial (7) to silence the buzzer. If the next product requires a lower operating temperature, then the cool down mode can be used. Set the BLOWER switch (2) to the LO position. Turn the MODE SWITCH (3) to the COOL DOWN position. Make sure that the door is open.
- Turn the oven off by setting the BLOWER switch (2) to the OFF position.
SSI-M Infinite Control w/Manual Timer

CONTROL DESCRIPTION
- CAVITY LIGHTS ON/OFF – Operates the oven cavity lights.
- BLOWER HI/LO/OFF SWITCH – Controls the operation of the blower. If the blower switch is in the OFF position the oven will be turned off.
- MODE SWITCH – When the switch is in the COOK position, the oven can be used to cook. When the switch is in the COOL DOWN position, the oven is cooling down for the next bake.
- OVEN READY LIGHT – When lit indicates burners are operating. When the light goes out the oven has reached operating temperature.
- THERMOSTAT – Controls the temperature at which the oven will operate. Temperatures can range from 200-500ºF (93-260ºC).
- COOK TIMER – Used to time the length of the cooking operation. When the set time expires, a buzzer will sound.
- HEAT CUTOFF – circuit breaker
- Set the MODE switch (3) to the COOK position. Turn the THERMOSTAT (5) to the desired operating temperature.
- Set the BLOWER switch (2) to the HI position. When the OVEN READY light (4) goes out, load the product and set the COOK TIMER (6).
- When the timer sounds, remove the product. If the next product requires a lower operating temperature, then the cool down mode can be used. Set the BLOWER switch (2) to the LO position. Turn the MODE SWITCH (3) to the COOL DOWN position. Make sure that the door is open.
- Turn the oven off by setting the BLOWER switch (2) to the OFF position.
SSD Solid State Digital Control

CONTROL DESCRIPTION
- CAVITY LIGHTS ON/OFF – Operates the oven cavity lights.
- BLOWER ON/OFF SWITCH – Controls the operation of the blower. If the blower switch is in the OFF position the oven will be turned off.
- MODE SWITCH – When the switch is in the COOK position, the oven can be used to cook. When the switch is in the COOL DOWN position, the oven is cooling down for the next bake.
- DISPLAY – displays time or temperature and other information related to oven function.
- HEAT LAMP – lights when heater is on.
- PULSE LAMP – lights when Pulsed Fan Mode is turned on.
- HOLD LAMP – lights when Hold Mode is turned on.
- DIAL – used to enter set points in display
- START/STOP KEY – starts or stops the timer.
- TIME KEY – used to show time in the display.
- TEMP KEY – used to show set temperature in the display.
NOTE: Actual temperature is shown while the TEMP key is held down. - HOLD KEY – turns Hold Mode on or off.
- PULSE KEY – turns Pulse Mode on or off.
- HEAT CUTOFF – circuit breaker
PROGRAMMING
To set the cook temperature:
- Press TEMP (11) key.
- Rotate dial (8) to enter temperature.
To set the cook time:
- Press TIME (10) key.
- Rotate the dial (8) to enter time.
To set the hold time:
- Press HOLD key (12) to turn hold mode on.
NOTE: HOLD light is on. - Rotate dial (8) to enter the hold temperature.
- Press START/STOP key (9)
To set the pulse time:
- Press PULSE KEY (13) to turn pulse mode on.
NOTE: Pulse light is on. - Rotate DIAL (8) to enter the pulse time. Pulse time is a portion of the pre-set cook time.
OPERATION
Cook Only:
- Turn the BLOWER switch (2) to the desired position.
- Enter the cook time and temperature.
- Load product into the oven.
NOTE: The display reads LOAD when the oven is near the set temperature. - Press the START/STOP key (9). The timer begins to count down.
- When the cook timer reaches 00:00 the buzzer sounds and the display reads DONE.
- Press the START/STOP key (9) to silence the buzzer.
- Remove the product.
Cook with Hold
- Turn the BLOWER switch (2) to the desired position.
- Enter the cook time and temperature.
- Press the HOLD key (12). Enter the hold temperature.
- Load product into the oven.
NOTE: The display reads LOAD when the oven is near the set temperature. - Push the START/STOP (9) key. Timer begins to count down.
- When the cook timer reaches 00:00 the buzzer sounds and the display reads DONE. The buzzer turns off after a few seconds. The display reads HOLD until the oven reaches the hold temperature. Then the timer begins to count up.
- Push the START/STOP key (9) to stop timer.
- Remove the product.
- Push HOLD (12) key to turn off hold mode.
Cook with Pulse
- Turn the BLOWER switch (2) to the desired position.
- Enter cook time and cook temperature.
- Press PULSE KEY (13). Enter the pulse time.
NOTE: Pulse time is a portion of the cook time and does not increase the previously entered cook time. - Load product into the oven.
NOTE: The display reads LOAD when the oven is near the set temperature. - Push START/STOP KEY (9). The timer begins to count down the cook time. The oven will be in pulse mode for the set pulse time. Once the set time has expired, the unit will automatically switch to cook mode and continue counting down.
- When the cook timer reaches 00:00 the buzzer sounds and the display reads DONE.
- Push the START/STOP KEY (9) to turn the buzzer off.
- Remove the product.
WARNING!!
A complete five minute shutdown must be observed before the oven is delighted
COOK TIMES AND TEMPERATURES
Preheating the oven
Always preheat the oven before baking or roasting. We recommend preheating 50°F (28°C) above the cook temperature to offset the drop in temperature when the doors are opened and cold product is loaded into the oven. Setthe thermostat to the cook temperature after the product is loaded.
NOTE: For frozen product, preheat the oven 100°F (56°C) above the cook temperature.
Cook Temperatures
Generally, cook temperatures should be 50°F (28°C) lower than deck or range oven recipes. If the edges of the product are done but the center is raw, or if there is color variation, reduce the thermostat setting another 15-25°F (10-15°C). Continue to reduce the cook temperature on successive loads until the desired results are achieved.
NOTE: Cooking at excessive temperatures will not reduce cook time, it will produce unsatisfactory baking and roasting results.
Cook Time
Check the product in about half the time recommended for deck or range oven recipes. Record times and temperatures which provide best results for future reference.
NOTE: Cook time will vary with the amount of product loaded, the type of pan and the temperature.
Pans and Racks
Product or pan height determines how many racks are used. The oven holds up to ten 18” x 26” (45.7 x 66.0 cm) bun pans. Load the oven from the bottom, centering the pans on therack. Never place a pan or aluminum foil on the bottom of the oven. This obstructs the flow of air and results in uneven baking and roasting.
Roasting
To reduce shrinkage when roasting, place meat directly on the racks. Place a sheet pan one-half full of water in the bottom rack position. The water evaporates, increasing humidity in the oven chamber. The pan catches grease from the meat, making oven cleaning easier.
Baking
Weigh the product to ensure equal distribution in each pan. Varying amounts of product will cause uneven baking results.
Fans
The fan must be operating for the oven to heat. Use the Pulse Plus feature to allow light or liquid product to set in the pan and to avoid rippling towards the fan. If your oven is not equipped with this feature use the following procedure.
- Preheat the oven 25°F (15°C) above the baking temperature.
- Load the oven with product. Close the doors.
- Set the thermostat to the baking temperature.
- Turn the oven off.
- Allow the product to set for 5-7 minutes with the fan off. The residual heat in the oven sets the product.
- Turn the oven on for the remainder of the bake.
Lights
Turn the oven lights off when not viewing the product. Leaving the lights on for extended periods of time shortens the bulb life considerably
Suggested Times and Temperatures
| PRODUCT | TEMPERATURE | TIME | # SHELVES |
| Meats | |||
| Hamburger Patties (5 per lb) | 400°F (205°C) | 8-10 mins. | 10 |
| Steamship Round (80 lb. quartered) | 275°F (135°C) | 2 hrs 45 mins. | 2 |
| Standing Rib Choice (20 lbs, trimmed, rare) | 235°F (115°C) | 2 hrs 45 mins. | 2 |
| Banquet Shell Steaks (10 oz. meat) | 450°F (235°C) | 7-8 mins. | 5 |
| Swiss Steak after Braising | 275°F (135°C) | 1 hr. | 5 |
| Baked Stuffed Pork Chop | 375°F (190°C) | 25-30 mins. | 5 |
| Boned Veal Roast (15 lbs.) | 300°F (150°C) | 3 hrs. 10 mins. | 2 |
| Lamb Chops (small loin) | 400°F (205°C) | 7-8 mins. | 5 |
| Bacon (on racks in 18” x 26” pans) | 400°F (205°C) | 5-7 mins. | 10 |
| Poultry | |||
| Chicken Breast & Thigh | 350°F (175°C) | 40 mins. | 5 |
| Chicken Back & Wing | 350°F (175°C) | 35 mins. | 5 |
| Chicken (21/2 lbs. quartered) | 350°F (175°C) | 30 mins. | 5 |
| Turkey Rolled (18 lb. rolls) | 310°F (155°C) | 3 hrs 45 mins. | 3 |
| Fish and Seafood | |||
| Halibut Steaks, Cod Fish (frozen 5 oz) | 350°F (175°C) | 20 mins. | 5 |
| Baked Stuffed Lobster (21/2 lb.) | 400°F (205°C) | 10 mins. | 3 |
| Lobster Tails (frozen) | 425°F (220°C) | 9 mins. | 5 |
| Cheese | |||
| Macaroni & Cheese Casserole | 350°F (175°C) | 30 mins. | 5 |
| Melted Cheese Sandwiches | 400°F (205°C) | 8 mins. | 10 |
| Potatoes | |||
| Idaho Potatoes (120 ct.) | 400°F (205°C) | 50 mins. | 5 |
| Oven Roasted Potatoes (sliced or diced) | 325°F (165°C) | 10 mins. | 5 |
| Baked Goods | |||
| Frozen Berry Pies (22 oz) | 325°F (150°C) | 35 mins. | 5 (30 pies) |
| Fresh Apple Pie (20 oz.) | 350°F (175°C) | 25-30 mins. | 5 (30 pies) |
| Pumpkin Pies (32 oz.) | 300°F (150°C) | 30-50 mins. | 5 (20 pies) |
| Fruit Crisp | 300°F (150°C) | 25 mins. | 5 |
| Bread (24 – 1 lb. loaves) | 325°F (155°C) | 30 mins. | 3 |
| Southern Corn Bread | 375°F (190°C) | 15-20 mins. | 5 |
| Baking Soda Biscuits | 400°F (205°C) | 6 mins. | 5 |
| Brown & Serve Rolls | 350°F (175°C) | 15 mins. | 5 |
| Sheet Cakes (5 lb. mixed batter per pan) | 325°F (160°C) | 16-18 mins. | 5 |
| Chocolate Cake | 325°F (160°C) | 20 mins. | 5 |
| Brownies | 325°F (150°C) | 15 mins. | 5 |
| NOTE: Actual times and temperatures may vary considerably from those shown above. They are affected by weight of load, temperature of the product, recipe, type of pan and calibration of thermostat. Should your recipe vary, write in your proven time and temperature for ready reference. | |||
CLEANING THE OVEN
WARNING!!
Always clean the unit when it is cold.
WARNING!!
Be sure to read and follow the MSDS or safety instructions on the bottle for your oven cleaner.
Cleaning the Exterior
- Saturate a cloth with stainless steel cleaner and wipe down the exterior.
NOTE: Heat tint and heavy discoloration may be removed with any non-caustic commercial oven cleaner. - Dry the oven with a clean cloth.
Cleaning the Oven Interior
- Remove the racks, rack supports and blower wheel cover (back panel) from the oven. Soak the parts in a solution of ammonia and water.
NOTE: To remove the blower wheel cover loosen the screws in each corner. Then lift up and out. - The porcelain interior can be cleaned with any commercial oven cleaner. Be sure caustic cleaning compounds DO NOT come in contact with the temperature probe, heating element, and blower wheel. Let the cleaner sit for 10-20 minutes or the length of time recommended on your cleaner.
- Wipe out the cleaner with a wet cloth.
- Reinstall the racks, rack supports and blower wheel cover
Weekly Cleaning
Be sure the air intake (cooling fan) behind the oven is free of all lint, grease or other air flow inhibitors. Keeping the air intake free of obstructions will extend the life of the oven components
Cleaning and Preventative Maintenance

PREVENTATIVE MAINTENANCE
The best preventative maintenance measures are, the proper installation of the equipment and a program for routinely cleaning the ovens.
Annual Maintenance
This oven requires no lubrication, however, the venting system should be checked annually for possible deteriorationresulting from moisture and corrosive flue products. If maintenance or repairs are required, contact your local Blodgett service company, a factory representative or the Blodgett Oven company.
WARNING!!
Always disconnect the appliance from the power supply before servicing or cleaning
Troubleshooting Guide
| POSSIBLE CAUSE(S) | SUGGESTED REMEDY |
| SYMPTOM: Elements will not heat | |
| • Oven not plugged in. • Power switch on the control panel is off. • Control set below ambient temperature. • Doors are open. | • Plug in electrical supply cord. • Set the control panel to COOK or OVEN ON. • Set to desired cook temperature. • Close doors. |
| SYMPTOM: Oven does not come to ready. | |
| • The oven has not reached preheat temperature. • Internal problem with main temperature control. | • Wait for oven to reach preheat temperature. • * |
| SYMPTOM: Convection fan does not run. | |
| • Oven is not plugged in. • Circuit breaker tripped. • Doors are open | • Plug in electrical supply cord. • Reset the breaker. • Close doors. |
| SYMPTOM: General baking problems. | |
| • Thermostat out of calibration. | • x |
| *Denotes remedy is a difficult operation and should be performed by qualified personnel only. It is recommended, how- ever, that All repairs and/or adjustments be done by your local Blodgett service agency and not by the owner/operator. Blodgett cannot assume responsibility for damage as a result of servicing done by unqualified personnel. | |
WARNING!!
Always disconnect the power supply before cleaning or servicing the oven.




















