BLODGETT ZEPHAIRE-100-G Gas Convection Oven

Installation
Oven Description and Specifications
Cooking in a convection oven differs from cooking in a conventional deck or range oven since heated air is constantly recirculated over the product by a fan in an enclosed chamber. The moving air continually strips away the layer of cool air surrounding the product, quickly allowing the heat to penetrate. The result is a high quality product, cooked at a lower temperature in a shorter amount of time.
Blodgett convection ovens represent the latest advancement in energy efficiency, reliability, and ease of operation. Heat normally lost, is recirculated within the cooking chamber before being vented from the oven: resulting in substantial reductions in energy consumption and enhanced oven performance.
| GAS RATINGS – ZEPHAIRE-100-G AND ZEPHAIRE-200-G | ||||
| Natural Gas | Propane | |||
| US Units | SI Units | US Units | SI Units | |
| Heating Value | 1000 BTU/cu. ft. | 37.3 MJ/m3 | 2550 BTU/cu. ft. | 95.0 MJ/m3 |
| Specific Gravity (air=1.0) | 0.63 | 0.63 | 1.53 | 1.53 |
| Oven Input Zephaire-100-G Zephaire-200-G | 50,000 BTU/hr 60,000 BTU/hr | 14.6 kW 17.6 kW | 50,000 BTU/hr 60,000 BTU/hr | 14.63 kW 17.6 kW |
| Manifold Pressure | 3.5” W.C. | .87 kPa | 10” W.C. | 2.49 kPa |
| Main Burner Orifice Size Zephaire-100-G Zephaire-200-G | 42 MTD* 38 MTD* | 2.4 mm 2.6 mm | 54 MTD* 1.55 mm | 1.4 mm 1.55 mm |
| Pilot Burner Orifice Size | .021” dia. | .021” dia. | .014” dia. | 1.55 mm |
| Zephaire-200-G – Australia | ||||
| Oven Input | — | 63 MJ/h | — | 63 MJ/h |
| Main Burner Orifice Size | .1065” dia. | 2.7 mm | .0635” dia. | 1.6 mm |
| NOTE: * – Multiple Twist Drill | ||||
DELIVERY AND INSPECTION
All Blodgett ovens are shipped in containers to prevent damage. Upon delivery of your new oven:
- Inspect the shipping container for external damage.
Any evidence of damage should be noted on the delivery receipt which must be signed by the driver. - Uncrate the oven and check for internal damage. Carriers will accept claims for concealed damage if notified within fifteen days of delivery and the shipping container is retained for inspection.
The Blodgett Oven Company cannot assume responsibility for loss or damage suffered in transit. The carrier assumed full responsibility for delivery in good order when the shipment was accepted. We are, however, prepared to assist you if filing a claim is necessary. oven location The well planned and proper placement of your oven will result in long term operator convenience and satisfactory performance. The following clearances must be maintained between the oven and any combustible or non-combustible construction. Zephaire-100-G
- Oven body right side – 2″ (5cm)
- Oven body left side – 2″ (5cm)
- Oven body back – 0″ (0cm)
- Single and stacked oven bottom- 6″ (15cm) Zephaire-200-G
- Oven body right side – 6″ (15cm)
- Oven body left side – 6″ (15cm)
- Oven body back – 6″ (15cm)
- Single and stacked oven bottom – 6″ (15cm)
Delivery and Location
The following clearances must be available for servicing.
- Oven body sides – 12″ (30 cm)
- Oven body back – 12″ (30 cm)
NOTE: On gas models, routine servicing can usually be accomplished within the limited movement provided by the gas hose restraint. If the oven needs to be moved further from the wall, the gas must first be turned off and disconnected from the oven before removing the restraint. Reconnect the restraint after the oven has been returned to its normal position.
It is essential that an adequate air supply to the oven be maintained to provide a sufficient flow of combustion and ventilation air. - Place the oven in an area that is free of drafts.
- Keep the oven area free and clear of all combustibles such as paper, cardboard, and flammable liquids and solvents.
- NSF requires 6″ of clearance on the bottom and sides of the unit for cleaning. Do not place the oven on a curb base or seal to a wall.
- Do not place the oven on a curb base or seal to a wall. This will restrict the flow of air and prevent proper ventilation. Tripping of the blower motor’s thermal overload device is caused by an excessive ambient temperature on the right side of the oven. This condition must be corrected to prevent permanent damage to the oven.
- The location must provide adequate clearance for the air opening into the combustion chamber.
Before making any utility connections to this oven, check the rating plate to be sure the oven specifications are compatible with the gas and electrical services supplied for the oven.
1. Pull out control panel. The rating plate attached to the inside of the control compartment. - Do not place strong sources of heat such as open flame ranges, griddles, or char broilers near the oven. If such an instance exists, it is highly recommended to purchase a heat shield, available from Blodgett.
- Note that if temperatures are too high, a safety shutdown may occur.
- Failure to comply may invalidate the oven warranty.
Oven Assembly
NSF BOLTS These bolts are required by NSF to block any exposed hole on the back of an oven. This includes:
- any unit, single or stacked, without a back panel.
- any holes in stacked units not used for mounting stacking brackets.
- Locate the 5/16″ bolts that were shipped with the oven.
- Install the bolts as shown

Figure 2
LEG ATTACHMENT
- Push the oven onto a lift with the bottom of the oven down.
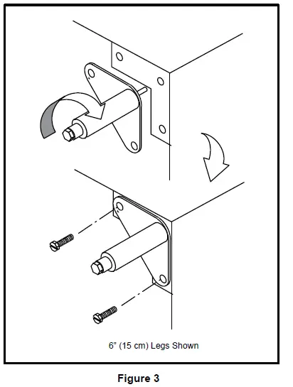
- Align the threaded stud in each leg with the nut located inside each bottom corner of the oven frame. Turn the legs clockwise and tighten to the nearest full turn.
- Align the two leg plate holes in each leg with those in the oven bottom. Secure each leg using two 1/2″ bolts.
NOTE: If using casters see CASTER ASSEMBLY before proceeding. - Level the oven by screwing the adjustable leg feet in or out as necessary.

CASTER ASSEMBLY NOTE:
Install the locking casters on the front of the oven. Install the non-locking casters on the back of the oven.
NOTE: Use a gas hose restraint on all units with casters. Casters for Single and
Double Stacked Ovens:
- Attach the legs as described.
- Pry the adjustable feet out of the legs.
- Insert one caster into each leg as shown. Tighten the large hex nut to secure the casters.

Figure 4
Low Profile Casters for Double Stacked Ovens:
- Align the three holes in each caster assembly plate with those in the oven bottom. Secure each caster using three 1/2″ bolts.

Figure 5
DOUBLE SECTION ASSEMBLY
NOTE: Old style ovens refer to units with painted exposed rear angle. New style ovens refer to units with rear angle iron enclosed in steel.
The following instructions apply to stacking two new style ovens.
- Secure the short legs to the bottom sections as described.
- Place the upper section in position on top of the lower oven.
- Attach the stacking brackets using the remaining 5/16″ bolts shipped with the ovens.
- Attach the flue connector.
The following instructions apply to stacking a new style oven on an old style oven.
- Secure the short legs to the bottom sections as de- scribed.
- Place the upper section in position on top of the lower oven.
- Attach the stacking brackets using the remaining 5/16″ bolts shipped with the ovens.
- Drill a clearance hole for a 5/16″ bolt in the angle iron of the old style oven. Use the holes in the stacking brackets as a pilot.
- Attach the stacking brackets to the old style oven with the 5/16″ bolts and nuts provided in the kit.
- Attach the flue connector.
WARNING!! When stacking ovens be sure to remove the single oven flue boxes prior to attaching three-piece connector.
OVEN LEVELING
After assembly, the oven should be leveled and moved to the operating location.
- The oven can be leveled by adjusting the feet or casters located on the bottom of each leg.
Figure 6
On gas models the installation of a proper ventilation system cannot be over emphasized. This system removes unwanted vapors and products of combustion from the operating area.
This oven may be vented using either:
- A mechanically driven, canopy type, exhaust hood, or
- A direct flue arrangement.
U.S. and Canadian installations
Refer to your local ventilation codes. In the absence of local codes, refer to the National ventilation code titled, “Standard for the Installation of Equipment for the Removal of Smoke and Grease Laden Vapors from Commercial Cooking Equipment”, NFPA-96-Latest Edition. Australia and general export installations Installation must conform with Local and National installation standards. Local installation codes and/or requirements may vary. If you have any questions regarding the proper installation and/or operation of your Blodgett oven, please contact your local distributor. If you do not have a local distributor, please call the Blodgett Oven Company at 0011-802-658-6600.
WARNING:
Failure to properly vent the oven can be hazardous to the health of the operator and may result in operational problems, unsatisfactory baking and possible damage to the equipment.
Damage sustained as a direct result of improper ventilation will not be covered by the manufacturer’s warranty.
CANOPY TYPE EXHAUST HOOD
A mechanically driven, canopy type exhaust hood is the preferred method of ventilation. The hood should be sized to completely cover the equipment plus an overhang of at least 6″ (15 cm) on all sides not adjacent to a wall. The distance from the floor to the lower edge of the hood should not exceed 7′ (2.1m). The total makeup and exhaust air requirements for hood capacity should be approximately 30 CFM (.85 m3) for each oven section. Installing the canopy hood draft diverter Ovens ordered for hood venting are supplied with a draft diverter. Install the draft diverter as follows:
- Place the diverter over the flue connector with the open area facing the front of the oven.
- Secure both ends with the sheet metal screws provided.

Figure 7
Ventilation
DIRECT FLUE ARRANGEMENT
When the installation of a mechanically driven exhaust hood is impractical the oven may be vented by a direct flue arrangement.
WARNING!!
It is essential that the direct flue be installed as follows. Incorrect installation will result in unsatisfactory baking and oven damage.
The flue must be class B or better. The height of the flue should rise 6-8 ft (2-2.5 m) above the roof of the building or any proximate structure. Never direct vent the oven into a hood. The flue should be capped with a UL Listed type vent cap to isolate the unit from external environmental conditions.
The direct vent cannot replace air consumed and vented by the oven. Provisions must be made to supply the room with sufficient make-up air. Total make-up air requirements for each oven section should be approximately 30 CFM (.85m3) per section. To increase the supply air entering the room, a ventilation expert should be consulted.
| FLUE DIAMETER | ||
| Oven | Single | Double |
| Zephaire-100-G | 6” (15cm) | 6” (15cm) |
| Zephaire-200-G | 6” (15cm) | 8” (20cm) |
Installing the draft hood Ovens ordered for direct venting are supplied with a draft hood. Install the draft hood as follows:
- Place the draft hood over the flue connector.
- Secure both ends with the sheet metal screws provided.
Utility Connections – Standards and Codes
THE INSTALLATION INSTRUCTIONS CONTAINED HEREIN ARE FOR THE USE OF QUALIFIED INSTALLATION AND SERVICE PERSONNEL ONLY. INSTALLATION OR SERVICE BY OTHER THAN QUALIFIED PERSONNEL MAY RESULT IN DAMAGE TO THE OVEN AND/OR INJURY TO THE OPERATOR.
Qualified installation personnel are individuals, a firm, a corporation, or a company which either in person or through a representative are engaged in, and responsible for:
- The installation or replacement of gas piping and the connection, installation, repair or servicing of equipment.
- The installation of electrical wiring from the electric meter, main control box or service outlet to the electric appliance.
Qualified installation personnel must be experienced in such work, familiar with all precautions required, and have complied with all requirements of state or local authorities having jurisdiction.
U.S. and Canadian installations
Installation must conform with local codes, or in the absence of local codes, with the National Fuel Gas Code, NFPA54/ANSI Z223.1-Latest Edition, the Natural Gas Installation Code CAN/CGA-B149.1 or the Propane Installation Code, CAN/CGA-B149.2 as applicable.
Installation must conform with local codes, or in the absence of local codes, with the National Electrical Code, ANSI/NFPA 70-Latest Edition and/or Canadian National Electric Code C22.2 as applicable.
Appliance is to be installed with backflow prevention in accordance with applicable federal, province and local codes.
Australia and general export installations
Installation must conform with Local and National installation standards. Local installation codes and/or requirements may vary. If you have any questions regarding the proper installation and/or operation of your Blodgett oven, please contact your local distributor. If you do not have a local distributor, please call the Blodgett Oven Company at 0011-802-658-6600.
Gas Connection
GAS PIPING
A properly sized gas supply system is essential for maximum oven performance. Piping should be sized to provide a supply of gas sufficient to meet the maximum demand of all appliances on the line without loss of pressure at the equipment.
Example:
NOTE: BTU values in the following example are for natural gas.
You purchase a Zephaire-100-G Plus to add to your existing cook line.
- Add the BTU rating of your current appliances.
Pitco Fryer 120,000 BTU
6 Burner Range 60,000 BTU
Deck Oven 50,000 BTU
Total 230,000 BTU - Add the BTU rating of the new oven to the total.
Previous Total 230,000 BTU
Zephaire-100-G 50,000 BTU
New Total 280,000 BTU - Measure the distance from the gas meter to the cook line. This is the pipe length. Let’s say the pipe length is 40′ (12.2 m) and the pipe size is 1″ (2.54 cm).
- Use the appropriate table to determine the total capacity of your current gas piping.
The total capacity for this example is 320,000 BTU. Since the total required gas pressure, 280,000 BTU is less than 320,000 BTU, the current gas piping will not have to be increased.
NOTE: The BTU capacities given in the tables are for straight pipe lengths only. Any elbows or other fittings will decrease pipe capacities. Contact your local gas supplier if you have any questions.
Maximum Capacity of Iron Pipe in Cubic Feet of Natural Gas Per Hour
(Pressure drop of 0.5 Inch W.C.)
| PIPE LENGTH (FT) | NOMINAL SIZE, INCHES | ||||
| 3/4” | 1” | 1-1/4” | 1-1/2” | 2” | |
| 10 | 360 | 680 | 1400 | 2100 | 3950 |
| 20 | 250 | 465 | 950 | 1460 | 2750 |
| 30 | 200 | 375 | 770 | 1180 | 2200 |
| 40 | 170 | 320 | 660 | 990 | 1900 |
| 50 | 151 | 285 | 580 | 900 | 1680 |
| 60 | 138 | 260 | 530 | 810 | 1520 |
| 70 | 125 | 240 | 490 | 750 | 1400 |
| 80 | 118 | 220 | 460 | 690 | 1300 |
| 90 | 110 | 205 | 430 | 650 | 1220 |
| 100 | 103 | 195 | 400 | 620 | 1150 |
| From the National Fuel Gas Code Part 10 Table 10-2 | |||||
Maximum Capacity of Pipe in Thousands of BTU/hr of Undiluted L.P. Gas at 11” W.C.
(Pressure drop of 0.5 Inch W.C.)
| PIPE LENGTH (FT) | OUTSIDE DIAMETER, INCHES | ||
| 3/4” | 1” | 1-1/2” | |
| 10 | 608 | 1146 | 3525 |
| 20 | 418 | 788 | 2423 |
| 30 | 336 | 632 | 1946 |
| 40 | 287 | 541 | 1665 |
| 50 | 255 | 480 | 1476 |
| 60 | 231 | 435 | 1337 |
| 70 | 215 | 404 | 1241 |
| 80 | 198 | 372 | 1144 |
| 90 | 187 | 351 | 1079 |
| 100 | 175 | 330 | 1014 |
| From the National Fuel Gas Code Part 10 Table 10-15 | |||
PRESSURE REGULATION AND TESTING
Zephaire-100-G ovens are rated at 50,000 BTU/Hr. (14.6 kW) (53 MJ) per section. Zephaire-200-G ovens are rated at 60,000 BTU/Hr. (17.6 kW) (63 MJ) per section. Each oven has been adjusted at the factory to operate with the type of gas specified on the rating plate.
| INLET PRESSURE | ||||
| Natural | Propane | |||
| Min | Max | Min | Max | |
| W.C. | 7.0 | 10.5 | 11.0 | 13.0 |
| kPa | 1.43 | 2.61 | 2.74 | 3.23 |
| MANIFOLD PRESSURE | ||||
| Natural | Propane | |||
| W.C. | 3.5 | 10.0 | ||
| kPa | .87 | 2.49 | ||
- Inlet Pressure – the pressure of the gas before it reaches the oven.
- Manifold Pressure – the pressure of the gas as it enters the main burner(s).
- Min – the minimum pressure recommended to operate the oven.
- Max – the maximum pressure at which the manufacturer warrants the oven’s operation.
Each oven is supplied with a regulator to maintain the proper gas pressure. The regulator is essential to the proper operation of the oven and should not be removed. It is preset to provide the oven with 3.5″ W.C. (0.87 kPa) for natural gas and 10.5″ W.C. (2.50 kPa) for Propane at the manifold.
DO NOT INSTALL AN ADDITIONAL REGULATOR WHERE THE OVEN CONNECTS TO THE GAS SUPPLY UNLESS THE INLET PRESSURE IS ABOVE MAXIMUM.
Prior to connecting the oven, gas lines should be thoroughly purged of all metal filings, shavings, pipe dope, and other debris. After connection, the oven should be checked for correct gas pressure.
The oven and its individual shutoff valve must be disconnected from the gas supply piping system during any pressure testing of that system at test pressures in excess of 1/2 psig (3.45kPa).
The oven must be isolated from the gas supply piping system by closing its individual manual shutoff valve during any pressure testing of the gas piping system at test pressures equal or less than 1/2 psig (3.45kPa).
Figure 9
GAS HOSE RESTRAINT
If the oven is mounted on casters, a commercial flexible connector with a minimum of 3/4″ (1.9 cm) inside diameter must be used along with a quick connect device. The restraint, supplied with the oven, must be used to limit the movement of the unit so that no strain is placed upon the flexible connector. With the restraint fully stretched the connector should be easy to install and quick connect. The restraint (i.e.: heavy gauge cable) should be 1,000 lb. (453 kg) test load and should be attached without damaging the building. DO NOT use the gas piping or electrical conduit for the attachment of the permanent end of the restraint! Use anchor bolts in concrete or cement block. On wooden walls, drive hi test wood lag screws into the studs of the wall.
- Mount the supplied bracket to the leg bolt just below the gas inlet.
- Attach the clip on restraining cable to the mounting bracket.
WARNING!!
If the restraint is disconnected for any reason it must be reconnected when the oven is returned to its original position.
U.S. and Canadian installations
The connector must comply with the Standard for Connectors for Movable Gas Appliances, ANSI Z21.69 or Connectors For Moveable Gas Appliances CAN/CGA-6.16M87 and a quick disconnect device that complies with the Standard for Quick-Disconnect Devices for Use With Gas Fuel, ANSI Z21.41 or Quick Disconnect For Use With Gas Fuel CAN 1-6.9. Adequate means must be provided to limit the movement of the appliance without depending on the connection and the quick disconnect device or its associated piping.
Australia and general export installations
The restraint and quick connect must conform with Local and National installation standards. Local installation codes and/or requirements may vary. If you have any questions regarding the proper installation and/or operation of your Blodgett oven, please contact your local distributor. If you do not have a local distributor, please call the Blodgett Oven Company at 0011-802-658-6600.
Figure 10
ELECTRICAL CONNECTION
Wiring diagrams are located in the control compartment and on the back of the oven.
This oven is supplied for connection to 115 volt grounded circuits. The electric motor, indicator lights and related switches are connected through the 6′ electric supply cord found at the rear of the oven.
Electrical Connection
WARNING!! This appliance is equipped with three prong grounding type plug for your protection against shock hazard and should be plugged directly into a properly grounded three prong receptacle. DO NOT cut or remove the grounding prong from this plug. The Blodgett Oven Company cannot assume responsibility for loss or damage suffered as a result of improper installation.
| ELECTRICAL SPECIFICATIONS | ||||
| Hz | Volts | Phase | Amps | Electrical Connection (minimum size) |
| U.S. and Canadian Installations | ||||
| 60 | 115 | 1 | 6 | Cord set provided |
| Australia and General Export Installations | ||||
| 50 | 220-240 | 1 | 3 | Size per local code |
Initial Startup
The following is a check-list to be completed by qualified personnel prior to turning on the appliance for the first time.
- Open the manual shut-off valve at the rear of the oven.
- Remove the control panel and combustion covers.
- Verify the combination valve’s manual shut-off is in the on position.
- Turn the selector switch to Cook, and the thermostat to 500ºF (260ºC).
The oven main burner lights, and the Oven Ready Light comes on. With the main burner on, check the following.
- Verify there are no gas leaks, by checking all gas connections with a soapy water solution.
- Verify that the inlet pressure is correct. The inlet pressure can be checked at the pressure tap located on the combination valve’s inlet side.
- Verify that the manifold pressure is correct. The manifold pressure can be checked at the pressure tap located on the combination valve’s outlet side.
- If the above pressure readings are set to the recommended pressure requirements, allow the oven to burn-off for 2 hours. If the pressure readings are not set correctly, turn off the oven and readjust accordingly.
WARNING The break in procedure burns off excess oils present in the metals during fabrication. Smoke may be produced. Proper ventilation is required.
ADJUSTMENTS ASSOCIATED WITH INITIAL INSTALLATION
Each oven, and its component parts, have been thoroughly tested and inspected prior to shipment. However, it is often necessary to further test or adjust the oven as part of a normal and proper installation. These adjustments are the responsibility of the installer, or dealer. Since these adjustments are not considered defects in material or workmanship, they are not covered by the Original Equipment Warranty. They include, but are not limited to:
- calibration of the thermostat
- Adjustment of the doors
- Burner adjustments
- Leveling
- Testing of gas pressure
- Tightening of fasteners.
No installation should be considered complete without proper inspection, and if necessary, adjustment by qualified installation or service personnel.
The information contained in this section is provided for the use of qualified operating personnel. Qualified operating personnel are those who have carefully read the information contained in this manual, are familiar with the functions of the oven and/or have had previous experience with the operation of the equipment described. Adherence to the procedures recommended herein will assure the achievement of optimum performance and long, trouble-free service.
Please take the time to read the following safety and operating instructions. They are the key to the successful operation of your Blodgett oven.
SAFETY TIPS
For your safety read before operating
What to do if you smell gas:
- DO NOT try to light any appliance.
- DO NOT touch any electrical switches.
- Use an exterior phone to call your gas supplier immediately.
- If you cannot reach your gas supplier, call the fire department.
What to do in the event of a power failure:
- Turn all switches to off.
- DO NOT attempt to operate the oven until the power is restored.
NOTE: In the event of a shut-down of any kind, allow a five (5) minute shut off period before attempting to restart the oven.
General safety tips:
- DO NOT use tools to turn off the gas control. If the gas cannot be turned off manually do not try to repair it. Call a qualified service technician.
- If the oven needs to be moved for any reason, the gas must be turned off and disconnected from the unit before removing the restraint cable. Reconnect the restraint after the oven has been returned to its original location.
- DO NOT remove the control panel cover unless the oven is unplugged.
Operation
SSI-D Infinite Control w/Digital Timer
CONTROL DESCRIPTION
- CAVITY LIGHTS ON/OFF – Operates the oven cavity lights.
- BLOWER HI/LO/OFF SWITCH – Controls the operation of the blower. If the blower switch is in the OFF position the oven will be turned off.
- MODE SWITCH – When the switch is in the COOK position, the oven can be used to cook. When the switch is in the COOL DOWN position, the oven is cooling down for the next bake.
- OVEN READY LIGHT – When lit indicates burners are operating. When the light goes out the oven has reached operating temperature.
- SOLID STATE THERMOSTAT – allows an infinite selection of temperatures from 150-500°F (66-260°C).
- DISPLAY – displays cook time
- TIMER DIAL – used to enter desired cook time
- HEAT CUTOFF – used to turn gas on or off.
OPERATION
- Set the MODE switch (3) to the COOK position. Turn the SOLID STATE THERMOSTAT (5) to the desired operating temperature.
- Set BLOWER Switch (2) to the desired speed.
- Preheat until the OVEN READY LIGHT (4) goes out.
- Load product into the oven. Rotate the dial (7) to the desired time. The timer will begin to countdown after approximately 1 second. When the buzzer sounds, remove the product from the oven. Turn the TIMER dial (7) to silence the buzzer. If the next product requires a lower operating temperature, then the cool down mode can be used. Set the BLOWER switch (2) to the LO position. Turn the MODE SWITCH (3) to the COOL DOWN position. Make sure that the door is open.
- Turn the oven off by setting the BLOWER switch (2) to the OFF position.
WARNING!! A complete five minute shutdown must be observed before the oven is relighted.
SSI-M Infinite Control w/Manual Timer
CONTROL DESCRIPTION
- CAVITY LIGHTS ON/OFF – Operates the oven cavity lights.
- BLOWER HI/LO/OFF SWITCH – Controls the operation of the blower. If the blower switch is in the OFF position the oven will be turned off.
- MODE SWITCH – When the switch is in the COOK position, the oven can be used to cook. When the switch is in the COOL DOWN position, the oven is cooling down for the next bake.
- OVEN READY LIGHT – When lit indicates burners are operating. When the light goes out the oven has reached operating temperature.
- THERMOSTAT – Controls the temperature at which the oven will operate. Temperatures can range from 200-500ºF (93-260ºC).
- COOK TIMER – Used to time the length of the cooking operation. When the set time expires, a buzzer will sound.
- HEAT CUTOFF – used to turn gas on or off
OPERATION
- Set the MODE switch (3) to the COOK position. Turn the THERMOSTAT (5) to the desired operating temperature.
- Set the BLOWER switch (2) to the HI position. When the OVEN READY light (4) goes out, load the product and set the COOK TIMER (6).
- When the timer sounds, remove the product. If the next product requires a lower operating temperature, then the cool down mode can be used. Set the BLOWER switch (2) to the LO position. Turn the MODE SWITCH (3) to the COOL DOWN position. Make sure that the door is open.
- Turn the oven off by setting the BLOWER switch (2) to the OFF position.
WARNING!!
A complete five minute shutdown must be observed before the oven is relighted.
SSD Solid State Digital Control
CONTROL DESCRIPTION
- CAVITY LIGHTS ON/OFF – Operates the oven cavity lights.
- BLOWER ON/OFF SWITCH – Controls the operation of the blower. If the blower switch is in the OFF position the oven will be turned off.
- MODE SWITCH – When the switch is in the COOK position, the oven can be used to cook. When the switch is in the COOL DOWN position, the oven is cooling down for the next bake.
- DISPLAY – displays time or temperature and other information related to oven function.
- HEAT LAMP – lights when heater is on.
- PULSE LAMP – lights when Pulsed Fan Mode is turned on.
- HOLD LAMP – lights when Hold Mode is turned on.
- DIAL – used to enter set points in display
- START/STOP KEY – starts or stops the timer.
- TIME KEY – used to show time in the display.
- TEMP KEY – used to show set temperature in the display.
NOTE: Actual temperature is shown while the TEMP key is held down. - HOLD KEY – turns Hold Mode on or off.
- PULSE KEY – turns Pulse Mode on or off.
- HEAT CUTOFF – used to turn gas on or off
PROGRAMMING
To set the cook temperature:
- Press TEMP (11) key.
- Rotate dial (8) to enter temperature.
To set the cook time:
- Press TIME (10) key.
- Rotate the dial (8) to enter time.
NOTE: Time is entered in hours : minutes or minutes : seconds.

Figure 13
To set the hold time:
- Press HOLD key (12) to turn hold mode on.
NOTE: HOLD light is on. - Rotate dial (8) to enter the hold temperature.
- Press START/STOP key (9)
To set the pulse time:
- Press PULSE KEY (13) to turn pulse mode on.
NOTE: Pulse light is on. - Rotate DIAL (8) to enter the pulse time. Pulse time is a portion of the pre-set cook time.
OPERATION Cook Only:
- Turn the BLOWER switch (2) to the desired position.
- Enter the cook time and temperature.
- Load product into the oven.
NOTE: The display reads LOAD when the oven is near the set temperature. - Press the START/STOP key (9). The timer begins to count down.
- When the cook timer reaches 00:00 the buzzer sounds and the display reads DONE.
- Press the START/STOP key (9) to silence the buzzer.
- Remove the product.
Cook with Hold:
NOTE: HOLD light is on when hold mode is on and off when hold mode is off.
- Turn the BLOWER switch (2) to the desired position.
- Enter the cook time and temperature.
- Press the HOLD key (12). Enter the hold temperature.
- Load product into the oven.
NOTE: The display reads LOAD when the oven is near the set temperature. - Push the START/STOP (9) key. Timer begins to count down.
- When the cook timer reaches 00:00 the buzzer sounds and the display reads DONE. The buzzer turns off after a few seconds. The display reads HOLD until the oven reaches the hold temperature. Then the timer begins to count up.
- Push the START/STOP key (9) to stop timer.3Remove the product.
- Push HOLD (12) key to turn off hold mode.
Cook with Pulse:
NOTE: PULSE light is on when pulse mode is on and off when pulse mode is off.
- Turn the BLOWER switch (2) to the desired position.
- Enter cook time and cook temperature.
- Press PULSE KEY (13). Enter the pulse time.
NOTE: Pulse time is a portion of the cook time and does not increase the previously entered cook time. - Load product into the oven.
NOTE: The display reads LOAD when the oven is near the set temperature. - Push START/STOP KEY (9). The timer begins to count down the cook time. The oven will be in pulse mode for the set pulse time. Once the set time has expired, the unit will automatically switch to cook mode and continue counting down.
- When the cook timer reaches 00:00 the buzzer sounds and the display reads DONE.
- Push the START/STOP KEY (9) to turn the buzzer off.
- Remove the product.
WARNING!! A complete five minute shutdown must be observed before the oven is relighted.
Operation
General Guidelines for Operating Personnel
COOK TIMES AND TEMPERATURES
Preheating the oven
Always preheat the oven before baking or roasting. We recommend preheating 50°F (28°C) above the cook temperature to offset the drop in temperature when the doors are opened and cold product is loaded into the oven. Set the thermostat to the cook temperature after the product is loaded.
NOTE: For frozen product, preheat the oven 100°F (56°C) above the cook temperature.
Cook Temperatures
Generally, cook temperatures should be 50°F (28°C) lower than deck or range oven recipes. If the edges of the product are done but the center is raw, or if there is color variation, reduce the thermostat setting another 15-25°F (10-15°C). Continue to reduce the cook temperature on successive loads until the desired results are achieved.
NOTE: Cooking at excessive temperatures will not reduce cook time, it will produce unsatisfactory baking and roasting results.
Cook Time
Check the product in about half the time recommended for deck or range oven recipes. Record times and temperatures which provide best results for future reference.
NOTE: Cook time will vary with the amount of product loaded, the type of pan and the temperature.
OPERATING TIPS
Pans and Racks
Product or pan height determines how many racks are used. The oven holds up to ten 18″ x 26″ (45.7 x 66.0 cm) bun pans.
Load the oven from the bottom, centering the pans on the rack. Never place a pan or aluminum foil on the bottom of the oven. This obstructs the flow of air and results in uneven baking and roasting.
Roasting
To reduce shrinkage when roasting, place meat directly on the racks. Place a sheet pan one-half full of water in the bottom rack position. The water evaporates, increasing humidity in the oven chamber. The pan catches grease from the meat, making oven cleaning easier.
Baking
Weigh the product to ensure equal distribution in each pan. Varying amounts of product will cause uneven baking results.
Fans
The fan must be operating for the oven to heat. Use the Pulse Plus feature to allow light or liquid product to set in the pan and to avoid rippling towards the fan. If your oven is not equipped with this feature use the following procedure.
- Preheat the oven 25°F (15°C) above the baking temperature.
- Load the oven with product. Close the doors.
- Set the thermostat to the baking temperature.
- Turn the oven off.
- Allow the product to set for 5-7 minutes with the fan off. The residual heat in the oven sets the product.
- Turn the oven on for the remainder of the bake.
Lights
Turn the oven lights off when not viewing the product. Leaving the lights on for extended periods of time shortens the bulb life considerably.
Suggested Times and Temperatures
| PRODUCT | TEMPERATURE | TIME | # SHELVES |
| Meats | |||
| Hamburger Patties (5 per lb) | 400°F (205°C) | 8-10 mins. | 10 |
| Steamship Round (80 lb. quartered) | 275°F (135°C) | 2 hrs 45 mins. | 2 |
| Standing Rib Choice (20 lbs, trimmed, rare) | 235°F (115°C) | 2 hrs 45 mins. | 2 |
| Banquet Shell Steaks (10 oz. meat) | 450°F (235°C) | 7-8 mins. | 5 |
| Swiss Steak after Braising | 275°F (135°C) | 1 hr. | 5 |
| Baked Stuffed Pork Chop | 375°F (190°C) | 25-30 mins. | 5 |
| Boned Veal Roast (15 lbs.) | 300°F (150°C) | 3 hrs. 10 mins. | 2 |
| Lamb Chops (small loin) | 400°F (205°C) | 7-8 mins. | 5 |
| Bacon (on racks in 18” x 26” pans) | 400°F (205°C) | 5-7 mins. | 10 |
| Poultry | |||
| Chicken Breast & Thigh | 350°F (175°C) | 40 mins. | 5 |
| Chicken Back & Wing | 350°F (175°C) | 35 mins. | 5 |
| Chicken (21/2 lbs. quartered) | 350°F (175°C) | 30 mins. | 5 |
| Turkey Rolled (18 lb. rolls) | 310°F (155°C) | 3 hrs 45 mins. | 3 |
| Fish and Seafood | |||
| Halibut Steaks, Cod Fish (frozen 5 oz) | 350°F (175°C) | 20 mins. | 5 |
| Baked Stuffed Lobster (21/2 lb.) | 400°F (205°C) | 10 mins. | 3 |
| Lobster Tails (frozen) | 425°F (220°C) | 9 mins. | 5 |
| Cheese | |||
| Macaroni & Cheese Casserole | 350°F (175°C) | 30 mins. | 5 |
| Melted Cheese Sandwiches | 400°F (205°C) | 8 mins. | 10 |
| Potatoes | |||
| Idaho Potatoes (120 ct.) | 400°F (205°C) | 50 mins. | 5 |
| Oven Roasted Potatoes (sliced or diced) | 325°F (165°C) | 10 mins. | 5 |
| Baked Goods | |||
| Frozen Berry Pies (22 oz) | 325°F (150°C) | 35 mins. | 5 (30 pies) |
| Fresh Apple Pie (20 oz.) | 350°F (175°C) | 25-30 mins. | 5 (30 pies) |
| Pumpkin Pies (32 oz.) | 300°F (150°C) | 30-50 mins. | 5 (20 pies) |
| Fruit Crisp | 300°F (150°C) | 25 mins. | 5 |
| Bread (24 – 1 lb. loaves) | 325°F (155°C) | 30 mins. | 3 |
| Southern Corn Bread | 375°F (190°C) | 15-20 mins. | 5 |
| Baking Soda Biscuits | 400°F (205°C) | 6 mins. | 5 |
| Brown & Serve Rolls | 350°F (175°C) | 15 mins. | 5 |
| Sheet Cakes (5 lb. mixed batter per pan) | 325°F (160°C) | 16-18 mins. | 5 |
| Chocolate Cake | 325°F (160°C) | 20 mins. | 5 |
| Brownies | 325°F (150°C) | 15 mins. | 5 |
| NOTE: Actual times and temperatures may vary considerably from those shown above. They are affected by weight of load, temperature of the product, recipe, type of pan and calibration of thermostat. Should your recipe vary, write in your proven time and temperature for ready reference. | |||
NOTE: Actual times and temperatures may vary considerably from those shown above. They are affected by weight of load, temperature of the product, recipe, type of pan and calibration of thermostat. Should your recipe vary, write in your proven time and temperature for ready reference.
Cleaning and Preventative Maintenance
CLEANING THE OVEN
Painted and stainless steel ovens may be kept clean and in good condition with a light oil.
- Saturate a cloth, and wipe the oven when it is cold.
- Dry the oven with a clean cloth.
On the stainless front or interiors, deposits of baked on splatter may be removed with any non-toxic industrial stainless steel cleaner. Heat tint and heavy discoloration may be removed with any non-toxic commercial oven cleaner.
- Apply cleaners when the oven is cold. Always rub with the grain of the metal.
The porcelain interior can be cleaned with any commercial oven cleaner. Be sure caustic cleaning compounds DO NOT come in contact with the blower wheel and the aluminized steel panel directly behind it.
- Remove the racks, rack supports and blower wheel from the oven.
- Soak the parts in a solution of ammonia and water.
- Reinstall after cleaning.
NOTE: If the oven is moved the restraint must be reconnected after the unit is returned to it’s regular position.
Weekly Cleaning
In addition to the daily cleaning it is necessary to clean the air intakes on a weekly basis. Air intakes provide necessary cooling air to the internal components. They are generally located on the rear and sides of the equipment.
PREVENTATIVE MAINTENANCE
The best preventative maintenance measures are, the proper installation of the equipment and a program for routinely cleaning the ovens.
Annual Maintenance
This oven requires no lubrication, however, the venting system should be checked annually for possible deterioration resulting from moisture and corrosive flue products. If maintenance or repairs are required, contact your local Blodgett service company, a factory representative or the Blodgett Oven company.
WARNING!!
Always disconnect the appliance from the power supply before servicing or cleaning.
Maintenance
Troubleshooting Guide
| POSSIBLE CAUSE(S) | SUGGESTED REMEDY |
| SYMPTOM: Oven will not fire. | |
|
|
| SYMPTOM: Oven does not come to ready. | |
|
|
| SYMPTOM: Convection fan does not run. | |
|
|
| SYMPTOM: General baking problems. | |
|
|
| *Denotes remedy is a difficult operation and should be performed by qualified personnel only. It is recommended, how- ever, that All repairs and/or adjustments be done by your local Blodgett service agency and not by the owner/operator. Blodgett cannot assume responsibility for damage as a result of servicing done by unqualified personnel. | |
WARNING!! Always disconnect the power supply before cleaning or servicing the oven.





























