
1415
ELECTRIC COMPACT DECK OVEN
INSTALLATION – OPERATION – MAINTENANCE

IMPORTANT
WARNING: Improper installation, adjustment, alteration, service, or maintenance can cause property damage, injury or death. Read the installation, operation, and maintenance instructions thoroughly before installing or servicing this equipment.
FOR YOUR SAFETY
Do not store or use gasoline or other flammable vapors or liquids in the vicinity of this or any other appliance. The information contained in this manual is important for the proper installation, use, and maintenance of this oven. Adherence to these procedures and instructions will result in satisfactory baking results and long, trouble-free service. Please read this manual carefully and retain it for future reference.
ERRORS: Descriptive, typographic or pictorial errors are subject to correction. Specifications are subject to change without notice.
Installation
Oven Description and Specifications
Blodgett Deck ovens have set industry-wide standards of excellence for baking characteristics, performance, and reliability. They remain unsurpassed in product quality. The simplicity of design and quality construction throughout assure years of trouble-free service when the equipment is properly installed and maintained.
| ELECTRICAL RATINGS- 1415 | |||||||
| VOLTAGE KW/SECTION PHASE | MAX LOAD (AMPS) | ELECTRICAL CONNECTIONAWG* | |||||
| L1 | L2 | L3 | |||||
| 60 HZ | |||||||
| 208 | 3.75 | 1 | 18 | 0 | 18 | 12 | |
| 208 | 3.75 | 3 | 11 | 11 | 11 | 14 | |
| 220-240 | 3.75 | 1 | 17 | 0 | 17 | 12 | |
| 220-240 | 3.75 | 3 | 10 | 10 | 10 | 14 | |
| 50 HZ | |||||||
| 220-240 | 3.75 | 1 | 17 | — | 17 | Size per local codes | |
NOTE: Double units can have phase loads partially equalized by matching lines during hook-up. Otherwise, load ratings are double the above data.
DELIVERY AND INSPECTION
All Blodgett ovens are shipped in containers to prevent damage. Upon delivery of your new oven:
- Inspect the shipping container for external damage. Any evidence of damage should be noted on the delivery receipt which must be signed by the driver.
- Uncrate the oven and check for internal damage. Carriers will accept claims for concealed damage if notified within fifteen days of delivery and the shipping container is retained for inspection.
The Blodgett Oven Company cannot assume responsibility for loss or damage suffered in transit. The carrier assumed full responsibility for delivery in good order when the shipment was accepted. We are, however, prepared to assist you if filing a claim is necessary.
Delivery and Location
OVEN LOCATION
The well-planned and proper placement of your oven will result in long-term operator convenience and satisfactory performance.
Be sure to place the oven in an area that is accessible for proper operation and servicing.
It is essential that ventilation air not be obstructed in any way if the proper operation is to be assured. A minimum of two inches (5 cm) must be maintained between both the sides and the rear of the unit and any wall.
Electrical Connection
Ovens are supplied for operation on 208 volts or 220-240 volt installation. The thermostat, indicator light, and related switches are interconnected through one power source supplied to the oven.
Before making any connection to this oven, check the rating plate attached to the body back to assure that the voltage, phase, and KW rating are compatible with the electrical supply. See diagram.
All ovens, when installed, must be connected and electrically grounded in accordance with local codes, or in the absence of local codes, with the National Electrical Code, ANSI/NFPA 70-Latest Edition, and/or Canadian Electric Code CSA C22.1 as applicable. Wiring diagrams are located on the body back.
The supply conduit enters through the rear of the oven and an electrical connection is made to the terminal block secured to the panel at the back of the control compartment. Electrical connection sizes for a double 1400 oven are shown in the “Electrical Connection AWG” column of the Electrical Specifications found on page 2 of this manual. The wiring is sized for 75_C copper wire at 125% of rated input. Reference is from the National Electric Code ANSI/ NFPA 70- Latest Edition.

PACKAGING
Before assembly and installation of the oven, check that all components have been received. In addition to the oven, legs, decks and/or other accessories may be required.
Single Sections
- 4” (10 cm) legs are shipped inside the oven, and packed in a separate carton.
- The decks are individually packaged and secured to the oven back.
Double Sections
- 4” (10 cm) legs are packed in lower sections.
- The spacer is shipped attached to the upper section.
- Securing plate to attach units together is located in the upper section.
- The decks are packaged with each section.
Oven Assembly
LEG ATTACHMENT
- Tip the bottom oven section backward.
- Attach each of the four legs to the nuts secured in the oven bottom.
- Tighten each leg and adjust the leg feet to approximately the same height.
NOTE: Final leg fee adjustment will be required during the leveling operation.

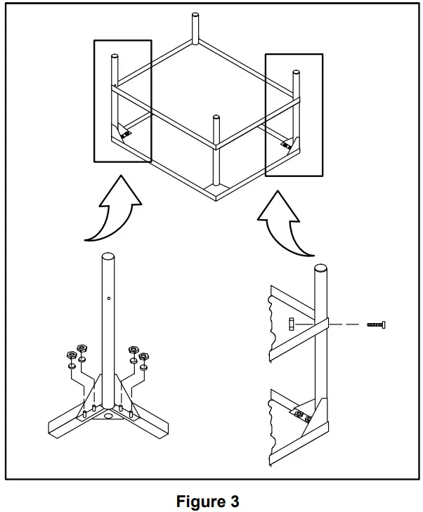
STAND ASSEMBLY
- Attach legs to stand frame. Secure with 5/16-18 nuts and lock washers (4 per leg). DO NOT TIGHTEN.
- Place shelf on legs. Holes in the legs should align with holes in shelf corner brackets. Legs should be loose enough to assist in this alignment. Place 1/4-20 x 2-1/4” bolts through legs and into shelf brackets. Bolts should fit the radius of the legs. Install 1/4-20 nuts after all four corners are in place. Tighten four nuts. Do not over-tighten these nuts, deformity of leg surface can occur.
- Tighten the sixteen 5/16-18 nuts installed in Step 1. DO NOT over-tighten.
- Optional Caster Assembly – Secure the caster by tightening it with a wrench. Prior to placing the oven section on the stand, check that locking casters are on the front of the stand assembly.
- Center oven on stand assembly.

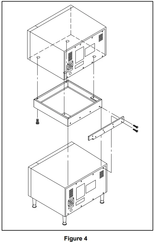
DOUBLE STACKING
- Connect the spacer assembly to the bottom of the upper unit using 4 hex bolts.
- Align and secure the spacer connecting plate to the lower unit using 4 sheet metal screws.
NOTE: First remove the 4 sheet metal screws along the top edge of the lower unit panel. - Stack the upper unit on top of the lower unit.
- Align and secure the spacer connecting to the spacer assembly using 4 sheet metal screws.

DECK INSTALLATION
- Remove the decks from the carton package.
NOTE: Handle cordierite shelves carefully to avoid damage. - Open the oven door and remove the center element assembly. The assembly is removed by pulling forward and unplugging.
- Install one of the decks in the bottom position. The deck should rest on the angles above the element and should be positioned in contact with the liner back.
- Install the other deck in the center element assembly on a flat surface. Reinstall the center deck and element assembly in the oven. The assembly is supported on four-angle supports.

LEVELING THE OVEN
1415 ovens are equipped with NSF-listed adjustable sanitary legs.
- Level the oven side to side and front to back by placing a spirit level on the base frame of the lower section.
- Adjust the leg feet in or out as necessary.
Operation
Oven Control

COMPONENT DESCRIPTION
- POWER SWITCH – Controls the power to the oven.
- DIGITAL DISPLAY – Displays the time, temperature, and controller-related information.
- DIAL – Turn to set the cooking time and temperature.
- START/STOP KEY – Press to start and stop the timing cycle.
- TIME KEY – Press to enter the cooking time.
- TEMP KEY – Press to enter the cooking temperature.
OPERATION
- Toggle the POWER SWITCH (1) to OVEN ON.
- Press the TEMP KEY (6) and turn the DIAL (3) to select the desired cook temperature.
- When the display reads LOAD, press the TIME KEY (5) and turn the DIAL (3) to select the desired cook time.
- Load the product into the oven.
- Press START/STOP KEY (4). The timer counts down the set time. Upon completion of the set time, the buzzer sounds and the display reads DONE.
- Press the START/STOP KEY (4) to silence the buzzer.
- To shut the oven off, toggle the POWER SWITCH (1) to OFF.
Maintenance
Cleaning and Preventative Maintenance
EXTERIOR SURFACE CLEANING
Stainless steel surface may be kept clean and in good condition with mineral oil:
- Allow the oven to cool.
- Saturate a cloth with mineral oil and wipe the oven.
- Wipe dry with a clean cloth.
Baked-on splatter on the stainless exterior may be removed with any non-toxic stainless steel cleaner:
- Follow the directions on your cleaning agent.
- Apply with a cloth, rubbing with the grain of the metal.
CAUTION!!
DO NOT use abrasive cleaning cloths as this will scratch the finish of the stainless steel.
INTERIOR CLEANING
Deck Surface
- Place the crumb tray on the oven door. See Figure 7.
- Using a scraper/brush (Figure 8), scrape the decks to remove the baked-on splatter.
- Using the brush, clean the deck until smooth.
- Using a damp cloth, lightly wipe down the surface of the deck.
CAUTION!!
Stones must be at room temperature.
CAUTION!!
Excessive water will be absorbed into the stone and the risk of cracking may result. In the event of water absorption, see Deck Stone Dry-Out Procedure on the following page to avoid cracking.


Oil Spills
If oil spills on deck, DO NOT WIPE:
- Pour Kosher salt on the spill.
- Allow absorbing.
Follow steps 1-4 under Deck Surface to remove the Kosher salt residue.
Maintenance
Cleaning and Preventative Maintenance
Interior Walls
The aluminized surface may be kept clean and in good condition with mineral oil:
- Allow the oven to cool.
- Large amounts of baked-on splatter may be removed with a brass scraper, and gently applied.
- Saturate a cloth with mineral oil and wipe the oven.
- Mild dish detergent and water may also be used to clean the interior walls but be careful not to spill water on the stone decks.
- Wipe dry with a clean cloth.
- Remove residue from beneath the oven door with a small brush.
CAUTION!!
DO NOT use caustic solutions such as ammonia, lye or soda ash. DO NOT use domestic oven cleaners. Any of these products will damage the aluminum coating.
Deck Stone Dry-Out Procedure
If excess water is absorbed by the stone and then quickly heated, the boiling water expands and may crack the stone. To prevent cracking perform one of the following dry-out procedures:
- Dry stones overnight at room temperature with the door open.
- Set oven to 150ºF for 2 hours to slowly dry out the stone.
WEEKLY CLEANING
- Brush out the control area.
- In addition to the daily cleaning, it is necessary to clean the air intake on a weekly basis. Air intakes provide necessary cooling air to the internal components. They are generally located on the rear and sides of the equipment.
6 MONTH CLEANING
- Clean secondary air ducts and air entry ports.
Troubleshooting Guide
| POSSIBLE CAUSE(S) | SUGGESTED REMEDY |
| SYMPTOM: Strong bottoms on the bake | |
| · Too much bottom heat · Product left in the oven too long | · Reduce cook temperature and increase time · Shorten cook time |
| SYMPTOM: Uneven bakes | |
| · Oven doors left open too long · Improper scaling of dough · Warped pans · Uneven product loading | · Do not open door unnecessarily · Scale dough consistently · Change pans · Be sure to load the product evenly in pans |
| SYMPTOM: Product burning | |
| · Thermostat set too high · Product left in the oven too long · Thermostat out of calibration | · Reduce cook temperature · Shorten cook time · * |
| SYMPTOM: Product dried out | |
| · Oven temperature too low · Not using enough water in the mix · Thermostat out of calibration | · Increase cook temperature · Increase water in product mix · * |
| SYMPTOM: Extended baking times | |
| · Temperature setting too low · Excessive door openings | · Increase cook time · Do not open doors unnecessarily |
| *Denotes remedy is a difficult operation and should be performed by qualified personnel only. It is recommended, however, that All repairs and/or adjustments be done by your local Blodgett service agency and not by the owner/operator. Blodgett cannot assume responsibility for damage as a result of servicing done by unqualified personnel. | |
WARNING!!
Disconnect the oven from the power supply before servicing. It is not necessary to unplug the oven when cleaning.
BLODGETT OVEN COMPANY
www.blodgett.com
42 Allen Martin Drive, Essex Junction, VT 05452 USA Telephone: (802) 658-6600 Fax: (802)864-0183
PN 23326 Rev L (11/17)
© 2017 – G.S. Blodgett Corporation















