LOCKEY USA 2830 Knob/2835 Lever Mechanical Keyless Lock Instruction Manual

IMPORTANT INFORMATION ABOUT YOUR LOCK
- When the door is closed, the system locks automatically.
- From the inside, unlock using the knob/lever handle.
- From the outside, unlock by pressing `C’ (CLEAR), followed by your User Code.
- Your lock is equipped with a PASSAGE FUNCTION, allowing you to leave the door unlocked.
**USING THE PASSAGE FUNCTION WILL COMPROMISE THE SECURITY OF THIS LOCK**
– To enable the passage function:
Press `C’ (CLEAR), then `Y’ (PASSAGE), then enter User Code.
– To disable the passage function:
Press `Y’ (PASSAGE), followed by `C’ (CLEAR).
– To disable the passage function PERMANENTLY:
Remove the `Y’ (PASSAGE) tumbler, leaving that slot empty.

IMPORTANT: Always press and hold the `C’ Button when removing and inserting Tumblers. Refer to `How to Change Code’ instructions on reverse side.

Step 1: Change User Code/Combination (OPTIONAL)
To change user code/combination, see instructions on reverse side.
Step 2: Prep Door for Installation with Template
Place template (supplied) on door and fold along door’s edge.
Mark holes for 2 3/8″ or 2 3/4″ backset. Drill holes as instructed.
Note: For pre-prepped 2 1/8″ doors, you only need to drill top hole.
Step 3: Identify Door Handing
Right-Hand Doors From exterior of door, hinges are on right-side (Fig. 1).
Le-Hand Doors From exterior of door, hinges are on le-side (Fig. 2).
For Right-Hand Doors: Install Support Pin (#15) in position `A’.
For Le-Hand Doors: Install the Support Pin (#15) in position `B’.
Now, install/screw Hex Bolts (#17) into the top and boom as shown.

Step 4: Install Handles (2835 Levers or 2830 Knobs)
Using Allen Wrench (#8), install handles to the inside and outside bodies.
Secure with set screws.
Note: For 2835, levers should point towards the door hinges.
Note: The 2835 is equipped with a built-in slip clutch lever handle to prevent damage in the event of an attempted forced entry. If lever handle is in position shown (far right), pull lever back to desired position.

Step 5: Adjust Latch (if necessary) and Install
Adjustable Latch (#14) is preset to 2 3/8″ backset.
To adjust: Remove plastic plug, slide to 2 3/4″, and replace plastic plug as shown (Fig. 5).
Insert Adjustable Latch (#14) into the door.
Secure with two (2) Wood Screws (#11).

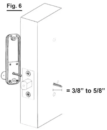
Step 6: Verify Correct Spindle Length (Fig. 6)
With Adjustable Latch (#14) installed, hold the Inside Body (#2) and Rubber Trim Plate (#3) to the door. Place Spindle (#7) through Latch, into the Inside Body, as far as possible. Spindle should extend from exterior of door 3/8″ min. to 5/8″ max. If Spindle (#7) is too long, cut it to the correct length using Pliers.
*IMPORTANT:
If spindle extends less than 3/8″ it may not engage the lock.
If spindle extends more than 5/8″, it will cause the lock to bind.

Step 7: Install the lock
Place the Rubber Trim Plate (#4) on the backside of the Outside Body (#1).
Place the Outside Body on the door. The hex bolts (#17) should extend into the top and bottom holes.
The Support Pin (#15) should extend through the hole in the Latch (#14). Insert the Spindle (#7) into the Outside Body (#1) ensuring it’s in the proper angled position.
*IMPORTANT: SPINDLE POSITION/ANGLE
RIGHT-HAND DOORS: From inside, place spindle through Latch, into the Outside Body in the 2:00/8:00 position (Fig. 7).
LEFT-HAND DOORS: From inside, place spindle through Latch, into the Outside Body in the 10:00/4:00 position (Fig. 8).

Place the Rubber Trim Plate (#4) and Inside Body (#2) on the inside of the door.
Using a screwdriver, secure the lock to the door with Screws (#9 or #10).
(Screw length is dependent on door thickness.)
Test the operation of the latch by turning the inside lever.
Locate position where latch strikes door frame and install Strike Plate (#5) and Mortised Striker (#4).
TEST YOUR LOCK: Press `C’ button (clear), followed by your combination. Push lever down and lock will open.
TEST PASSAGE: Press `C’, followed by `Y’, followed by combination. Lock will remain unlocked (passage).
TO LOCK: Push `Y’, followed by `C’. Lock will remain locked.
NOTE: If lever/knob must be turned up to unlock, change spindle position/angle (see figures 7 and 8).
If latch sticks: First, make sure Support Pin (#15) is in place. Second, verify correct spindle length (see step 6).
SAVE—————————————————————————————————–
How to Change User Code/Combination
- Using a #2 screwdriver, remove the four (4) Red Screws.
- Carefully remove cover plate.
WARNING: Springs are attached to plate.
- PRESS & HOLD `C’ BUTTON to release tumblers.
IMPORTANT: `C’ button MUST be pressed and held down when removing and inserting tumblers. Failure to do so will damage the lock and void the warranty.
WARNING: Do NOT force tumblers into position! - While holding the `C’ BUTTON, remove/add CODE (Red) and NONCODE (Blue) tumblers to create your desired code.
Ex: 3 Red = 3-Digit Code / 6 Red = 6-Digit Code - After changing your code, release the `C’ BUTTON to secure the tumblers in place.

- Replace the cover plate and secure with four (4) Red Screws, using a #2 screwdriver.
- TEST CODE before installing/re-installing lock.

For more helpful tips and installation instructions, visit www.LOCKEYUSA.com




















