
EasyKey
7300
Lever Smart Door Lock
User manual

Bluetooth Edition Please use the following URI to register your product and get support from us: www.phiLips.com/support
Important info
Security
- Before using Philips EasyKey, please read and understand all instructions. Damage caused by non-compliance with the instructions will not be covered by the warranty.
- Use only the manufacturer-specified accessories/components.
- Use only the alkaline batteries the product is equipped with, or use the same specification type of alkaline batteries.
- Do not forcibly disassemble this product to avoid triggering an alarm or damaging the product.
- Do not scrape the fingerprint sensor with sharp objects, otherwise, it may cause permanent damage.
- Do not expose products to environments where there is water leakage or splashing.
- Do not expose the product to corrosive substances to prevent damaging the protective cover.
- Do not hang objects on the handle, in case it might affect the normal use of the lock.
- Please clean the product with a soft cloth.
- Do not remove the battery during setting up and operating.
- Please let a professional technician to install the door lock and follow the installation guidelines provided. Do not disassemble the lock by yourself. Keep relevant sealed stickers properly. Do not easily disclose the password information
- Please modify the default master PIN code immediately after installation and configuration, and keep the mechanical key properly.
- Please replace all the batteries immediately if there is a low battery alarm. Please make sure to correctly match the poles (+/-) when installing the batteries.
Caution
- Do not place the battery near a fire to avoid an explosion.
- Do not use any emergency power supply that does not meet the safety requirements to power up the product.
- Do not connect the 2 poles of the batteries with metals to avoid a short circuit which may lead to an explosion.
- Please make sure any component replacement is executed by Philips, Philips authorized service center or professional technicians.
- Do not use accessories or parts that have been produced by other manufacturers or have not been specifically recommended by Philips. Use of such accessories and parts may void your warranty.
Disposal of used products and batteries
- You can have your locks reclaimed at Philips authorized service centers. You will receive corresponding compensation if your products meet our conditions.
- Please learn by yourself the local electronic product classification and collection system.
- Please abide by local regulations and do not mix used products with ordinary domestic waste.
- Proper disposal of used products can help to avoid potential negative impacts on the environment and human health.
- This product contains batteries that can not be disposed of together with domestic waste.
- Please learn the local regulations concerning battery classification and collection by yourself. Proper disposal of used batteries can help to avoid negative impacts on the environment and human health.
Install your EasyKey
Packaging list
This packaging list is for reference only. Please refer to the actual packaging contents.
Exploded Views

| 1. Inner escutcheon bottom part (x1) 2. Battery cover(x1) 3. M6 fixed screw (x2) 4. Inner escutcheon(x1) 5. Square shaft compressed spring (x2) 6. Square shaft (x2) | 7. Mortise(x1) 8. Fixed screw (x4) 9. M6 connecting screw tube (x2) 10. Outer escutcheon(x1) 11.M6 fixed screw (x1) 12.M5 fixed screw (x3) | 13. Mounting plate (x1) 14. M5 connecting screw tube (x3) |
Pre-installation instructions
Step 1 | Check the door opening direction
This product can be installed on doors of 4 types of opening directions: left-out pull, right-in push, right-out pull, and left-in push.
Step 2 | Change the handle direction

- Remove the 2 crosses recessed screws, 1 cross recessed set and 1 lever protective cover in the escutcheon.
- Rotate the lever to 180 degrees
- Put the 2 screws back and tighten them.
Step 3 | Change the latch bolt direction
You can change the direction of the latch bolt to adapt to doors of different opening directions. When the bolt bevel faces out the door, it is for outwards door opening; And when the bolt bevel faces in the door, it is for inwards door opening.
- Push the inverting tailpiece to the top.
- Press the latch bolt down to the mortise surface, then rotate it 180 degrees and pull it out.
- Push the tailpiece to the bottom.
- Change the direction of the directional screw according to your actual needs (the directional screw must be installed on the inside of the door, i.e. the inside escutcheon)
Attention
- Choose a proper installation kit based on the door thickness;
- The default tool kit is applicable to door thicknesses of 38-60mm. If your door thickness is out of this range, please contact us.
Installation steps
The following installation steps apply to right-open doors. For left-open doors, please read the [Pre-installation instructions] carefully and make needed adjustments.
- Use the drilling template to drill the needed holes on the door and mount the mortise into the door.
- Tighten up the 4 fixed screws when inserting the mortise.

- Install the connecting screw tube, and place the square shaft and compressed spring into the hole of the lever. (The square shaft compressed spring must be put towards the lever)

Attention
Please cut the key tailpiece according to your needs and use a square shaft and connecting screw tube with the proper length to fix the screw tube. - Pass the connection wire through the hole on the mortise. Align the cylinder key tailpiece and the square shaft with the 2 rotary holes on the mortise, and insert them to make sure the outside escutcheon is kept close to the outside of the door.

- Tighten up the mounting plate with 3 anchor screws against the inside of the door.

- Put the compressed spring, then the square shaft into the inside escutcheon. Insert the outside escutcheon connection wire and mortise wire into the corresponding sockets on the inside escutcheon. Align the square shaft to the rotary holes on the mortise and insert them to make the inside escutcheon close to the inside of the door.

Attention
Please make sure the extra connection wire is hidden in the door hole. - Tighten the 2 anchor screws.

- Install the batteries, then the battery cover, and the inside lower cover.

- Try the inside and outside levers,, the mechanical key, and check if all components are well connected.

Get to know your EasyKey
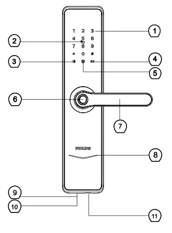
Outside escutcheon

| 1 | Keypad |
| 2 | Card reader |
| 3 | Mute button |
| 4 | Low battery indicator |
| 5 | Outside forced lock button |
| 6 | Fingerprint sensor |
| 7 | Lever |
| 8 | Door status indicator |
| 9 | Emergency power interface |
| 10 | Reset button |
| 11 | Mechanical keyhole |
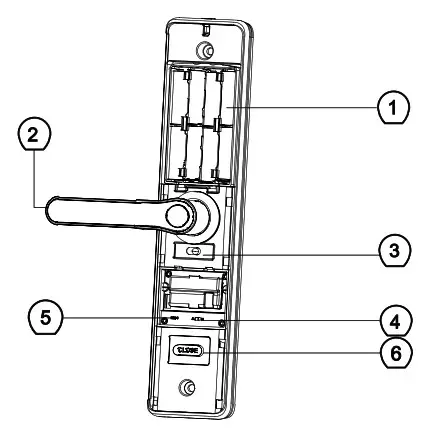
Inside escutcheon

| 1 | Battery cover |
| 2 | Lever |
| 3 | Safe handle switch |
| 4 | A/M mode switch |
| 5 | Reset button |
| 6 | Close button |
How to set up your EasyKey
Pre-setup Instructions:
- There are 2 operating modes in EasyKey: General mode and dual verification mode.
| General mode | Dual verification mode |
| Unlock with any registered identity information | Unlock with any two of PIN code, card and fingerprint |
- User Number
You can delete single user information by its user number without having to delete everything in the system. - You can record the user information in the following table for future query.
| Number | Name | Fingerprint | PIN Code | Card |
| 0 | ||||
| 1 | ||||
| 2 | ||||
| 3 | ||||
| 4 | ||||
| 5 | ||||
| 6 | ||||
| 7 | ||||
| 8 | ||||
| 9 |
- Icon annotation
![]()
Attention
- Press [*] key to return to the previous menu.
- The default master PIN code is 12345678.
- How to enter master mode:

- Press [#] key before inputting any other numbers. After hearing a voice prompt of “Enter master PIN code”, enter your master PIN code and confirm with [#]. Then you are in master mode.
Modify master PIN code
Press [#], enter master PIN code and confirm with [#].

Press [1] to modify master PIN code.

Enter the new master PIN code and confirm with [#]. Re-enter the new master PIN code and confirm with [#]. After hearing a voice prompt of “Succeeded”, press [*] several times until you exit master mode.
User settings
Register a user PIN code
Press [#], enter master PIN code and confirm with [#].

Press [2] to enter user registration, then press [1] to register a new user PIN code, which will be automatically numbered and broadcasted by the system. 
Enter a user PIN code of 6 to 12 digits,and confirm with [#]. Then reenter the user PIN code and confirm with [#]. After hearing a voice prompt of“Succeeded”, press [*] several times until you exit master mode.
Register a one-time user PIN code
Press [#], enter master PIN code and confirm with [#].
Press [2] to enter user settings, then press [2] again to enter one-time PIN code registration.

Enter a one-time user PIN code of 6 to 12 digits and confirm with [#]. Re-enter the user PIN code and confirm with [#]. After hearing a voice prompt of “Succeeded”, press [*] several times until you exit master mode.
Register a fingerprint
Press [#], enter master PIN code and confirm with [#].

Press [2] to enter user settings, then press [3] to enter fingerprint registration. The system will automatically number the fingerprint and broadcast the number.
Place your finger against the sensor. After hearing a voice prompt of “Take away your finger and enroll again”, please take away your finger and re-place it against the sensor. After hearing a voice prompt of “Succeeded”, press [*] several times until you exit master mode.
Register a card
Press [#], enter master PIN code and confirm with [#].
Press [2] to add a new user, then press [4] to enter card registration. The system will automatically number the card and broadcast the number.
Hold the card close to the card reader until you hear a beep. After hearing a voice prompt of “Succeeded”, press [*] several times until you exit master mode.
User Information Deletion
Delete a user PIN code
Press [#], enter master PIN code and confirm with [#].
Press [3] to enter user deletion, then press [1] tenter user PIN code deletion. Press [1] again to delete a single user PIN code.
Enter the 2-digit [user number] (00-09) of the user PIN code that is to be deleted and press [#] to confirm. After hearing a voice prompt of “Succeeded”, press [*] several times until you exit master mode.
Delete all user PIN codes
Press [#], enter master PIN code and confirm with [#].

Press [3] to enter user deletion, then press [1] to enter user PIN code deletion. Press [2] to delete all user PIN codes. After hearing a voice prompt of “Succeeded”, press [*] several times until you exit master mode.
Delete a one-time user PIN code
Press [#], enter master PIN code and confirm with [#].
Press [3] to enter user deletion, then press [2] to enter one-time user PIN code deletion.
After hearing a voice prompt of “Succeeded”, press [*] several times until you exit master mode.
Delete a fingerprint
Press [#], enter the master PIN code and confirm with [#].
Press [3] to enter user deletion, then press [3] again to enter fingerprint deletion. Press [1] to enter single fingerprint deletion.
Enter the 2-digit [user number] (00-99) of the fingerprint that is to be deleted and confirm with [#]. After hearing a voice prompt of “Succeeded”, press [*] several times until you exit master mode.
Delete all fingerprints
Press [#], enter master PIN code and confirm with [#].
Press [3] to enter user deletion, then press [3] again to enter fingerprint deletion. Press [2] to delete all fingerprints. After hearing a voice prompt of “Succeeded”, press [*] several times until you exit master mode.
Delete a card
Press [#], enter the master PIN code and confirm with [#].
Press [3] to enter user deletion, then press [4] to enter card deletion. Press [1] to delete a single card and then press [*] several times until you exit master mode.
Delete all cards
Press [#], enter master PIN code and confirm with [#].
Press [3] to enter user deletion, then press [4] to enter card deletion. Press [2] to delete all cards. After hearing a voice prompt of “Succeeded”, press [*] several times until you exit master mode.
System date initialization
Remove the inside lower cover and double click the [RES] button with a sharp object, until you hear a voice prompt of “Restored to factory settings”. All user information will be emptied.
Language Settings
Press [#], enter the master PIN code and confirm with [#].
Press [4] to enter system settings, then press [1] to enter language settings.
Adjust the language to needed: For Chinese, press [1]; for English, press [2]. After hearing a voice prompt of “Succeeded”, press [*] several times until you exit master mode.
Attention
The default language is English.
Volume settings
Press [#], enter the master PIN code and confirm with [#].
Press [4] to enter system settings, then press [2] to enter volume settings.
Adjust the volume as needed: For higher volume, press [1]; for lower volume, press [2]; for mute mode, press [3]. After hearing a voice prompt of “Succeeded”, press [*] several times until you exit master mode.
Attention
The default volume is “higher volume”.
System settings
Switch to dual verification mode
Press [#], enter master PIN code and confirm with [#].
Press [4] to enter system settings, then press [3] to choose the verification method.

For single verification, press [1]; for dual verification, press [2]. After hearing a voice prompt of “Succeeded”, press [*] several times until you exit master mode.
Extended Functions
Press [#], enter master PIN code and confirm with [#].
Press [5] to enter extended functions. 
To join a network, press [1]. To exit a network, press [2]. Before setting up the extended functions, please download and open the Philips EasyKey APP via your mobile phone.
Attention
The extended functions are optional.
System Query
Anti-fake code query
Press [#], enter the master PIN code and confirm with [#].
Press [6] to enter system query, then press [1] to get the serial number (anti fake code) automatically broadcasted.
Attention
Enter 400# is a shortcut to start system query.
Local Query
Press [#], enter master PIN code and confirm with [#].
Press [6] to enter system query, then press [2] to get the software version automatically broadcasted.
Attention
Enter 114# is a shortcut to start local query.
Bluetooth Settings

Press [#] and input master Pin code, then press [#] to confirm.
Press [7] to enter Bluetooth settings.
To disable Bluetooth, press [3]. After hearing a voice prompt of “Settings succeeded”, press [*] back to the previous menu until you exit master mode.
Attention
- Bluetooth switch shortcut, directly input 403# to open the Bluetooth module, input 404# to turn off the Bluetooth module.
- When the Bluetooth is off, please press [1] to enable Bluetooth.
How to use your EasyKey
Unlock | Unlock from outside

- Touch the keypad to wake up the system.
- Enter the registered user PIN code and confirm with [#].
- After hearing a voice prompt of “Door opened”, press down the handle to open the door.

- Place your registered finger properly on the sensor.
- After hearing a voice prompt of “Door opened”, press down the handle to open the door.

- Place your registered card on the card reader.
- After hearing a voice prompt of “Door opened”, press the handle to open the door.
Unlock | Unlock from inside
With handle
Philips EasyKey employs an indoor fast opening mortise allowing you to directly press down the handle to unlock.
Attention
When you want to open the door from inside, please make sure the safe handle switch is toggled to green scale and the safe handle function is disabled.
Lock | Lock from outside/inside
Lock from outside
The sensor bolt can detect the signal when you close the door, and the motor will drive the main deadbolt to let it automatically pop up and lock the door.
Lock from inside
The sensor bolt can detect the signal when you close the door, and the motor will drive the main deadbolt to let it automatically pop up and lock the door.
Deadlock from inside

After the door is locked, long-press the [CLOSE] button until the button flashes in red and there is a voice prompt of “Inside deadlock enabled”.
Attention
Under inside deadlock mode, all functions of the outside escutcheon will be locked. If you try to wake up the system manually, the keypad area will display the combination of “15937(X)” and there will be a voice prompt of “Inside deadlock enabled”
reminding you that the door has been deadlocked from inside.
Under deadlock mode, all operations on the outside escutcheon are disabled. Master PIN code verification or mechanical key opening is required to unlock the door from deadlock mode.
Auto and manual modes

[A] represents Auto mode. The deadbolt will pop up automatically after closing the door and the door will be locked.
[M] represents Manual mode. The deadbolt will not pop up automatically after closing the door and the door will stay open.
Lock from outside the door
![]() | Under Auto Mode, shutting the door will make the deadbolt automatically pop up and there will be a voice prompt of “Door closed”. |
![]() | Under Manual Mode, the deadbolt won’t pop up automatically after shutting the door. Only fingerprint, card or PIN code verification can make it automatically pop up. After the door is locked, you will hear a voice prompt of “Door closed”. You can wake up the outside escutcheon to unlock and open the door after the door is closed. |
Lock from inside the door
![]() | Under Auto Mode, shutting the door will make the deadbolt automatically pop up and there will be a voice prompt of “Door closed”. |
![]() ![]() | Under Manual Mode, the deadbolt won’t pop up automatically after shutting the door. Only after you double-click the [CLOSE] button within a second can the deadbolt pop up and lock the door. After the door is locked, you will hear a voice prompt of “Door closed”. |
Mechanical key opening

- Cut the box with scissors and take out the key shell. Push the cover aside and reveal the key itself.
- Insert the key into the keyhole and keep the key and key shell vertical to each other. Rotate the key shell towards the handle for 90° until it becomes close to the door surface.
- Rotate the key shell downwards for 180°to to make the key shell parallel to the ground. Then rotate the key shell horizontally towards the handle to unlock the door.
Attention
It is suggested that not to use the mechanical key for daily unlocking. Use the key for emergencies, i.e. when the battery has been running out of, when you forget the PIN code, or when the system fails to work properly.
Other functions
Safe handle function: Lock up the handle from inside

Function:
When the safe handle function is enabled you could lock up the handle from inside and doors can’t be unlocked from inside
How to use:
- Enable safe handle function: Toggle the switch to red scale.
- Disable safe handle function: Toggle the switch to green scale.
Function:
Empty all user information and restore to factory settings.
How to use:
Double click the [RES] button with a sharp object, and all the user information will be emptied. The lock will be restored to factory settings.

Function:
Use only one button to mute the lock by turning off the voice guide. Applicable to the scenes where you don’t want to disturb your family.
How to use:
- Mute: When the system is awake, long-press the [Mute] button for 2 seconds to enter one-time mute mode. The button will glow green.
- Unmute: When the system is awake, long-press the [Mute] button for 2 seconds to restore the voice guide. The button will glow white.
Outside forced lock function

Function:
Unlocking from inside will trigger an alarm. How to use:
After the door is successfully locked, long press the function button for 2 seconds to enter the outside forced lock mode.
Attention
Enabling the outside forced lock function will not affect normal unlocking from outside.
Meaning and use of indicators
Lock status indicator

Colors of the light and the corresponding meanings:
Blue: After the system wakes up, the light will glow blue, indicating that you can operate the lock.
Green: After the door is unlocked, the light will glow green, indicating that the door has been opened.
Red: After the door is locked, the light will glow red, indicating that the door has been closed.
Low battery indicator

Colors of the light and the corresponding meanings:
After waking up, the system will run an automatic examination on the battery voltage. If the voltage is too low, the light will flash in red and there will be a voice prompt of “Low battery. Please replace all batteries” when the door is open.
Outside forced lock indicator
Colors of the light and the corresponding meanings:
White:

- When the door is locked, the light will light up alone, indicating that you can enable the outside forced lock function.
- If you have enabled the outside forced lock function, the light will light up after the system wakes up, indicating this function is in use.
Mute mode indicator
Colors of the light and the corresponding meanings:

- White: Indicates the mute mode is off.
- Green: Indicates the mute mode is on.
System lock indicator
If there are 5 consecutive incorrect inputs of any of the 3 types of verification methods (fingerprint/PIN code/card), the system will be locked for 3 minutes.
Attention
Only when touching the keyboard panel will the system appears the prompt of the system is locked.
Colors of the light and the corresponding meanings:
- Red light with 2 flashes: Indicates the door has been locked.
- Greenlight with 2 flashes: Indicates the door has been unlocked.
- Red light with 1 flash: Indicates the door has been deadlocked.
Troubleshooting
Types of alarms and alarm modes
Low battery alarm, reminding you to replace the batteries in time

Triggering: After waking up, the system will run an automatic examination on the battery voltage. If the voltage is too low, the lock give an alarm and a voice prompt of “Low battery.
Please replace all batteries”.
Alarm mode:A voice prompt of “Low battery.
Please replace all batteries” during unlocking. Turning off: The alarm will be automatically turned off.
Anti-dismantle alarm

Triggering 1: The door is pried open and the sensor bolt pops up.
Alarm mode: Continuously repeated alarms.
Turning off: The alarm can be turned off automatically or by any one of the successful verification methods.
Triggering 2: Outside escutcheon is pried open and does not tightly fit with the door.
Alarm mode: Continuously repeated alarms. Turning off: Auto-close, or close after one of the successful verification methods, or
close after the normal indoor unlocking.
Abnormal latch bolt alarm

Triggering: The latch bolt performs abnormally and cannot unlock or lock properly.
Alarm mode: Continuously repeated alarms
Turning off: Automatically turned off.
Outside forced unlock mode: inside unlocking alarm

Triggering:If the lock is under outside forced lock mode, unlocking from inside will trigger an alarm.
Alarm mode: Continuously repeated alarms
Turning off: The alarm can be turned off by a successful verification method of any type
How to use an emergency power

When the battery voltage is insufficient, and the door cannot be opened from the outside, you can power up the lock through the Micro USB interface by using a 5V power bank as an emergency power supply. After opening the door lock, please replace the batteries immediately.
In case of a system crash and it’s unable to open the door from outside, please press the Reset button and then release to let it restart automatically.
How to replace batteries
The lock is powered by 4pcs AA alkaline batteries. There are two sets of working power stations inside the battery case.
Eight batteries can be put in to extend the battery life and reduce battery replacement frequency. The battery case is located at the upper end of the inside escutcheon. By pushing the button at the top of the inside escutcheon, you could take out the battery
cover and the batteries inside.

Philips and the Philips Shield Emblem have registered trademarks of Koninklijke Philips N.V. and are used under license. This product has been manufactured by and is sold under the responsibility of Shenzhen Conex Intelligent Technology Co., Ltd., and Shenzhen Conex Intelligent Technology Co., Ltd. is the warrantor in relation to this product.
Version:2.0





























